патент
№ RU 119605
МПК A61C13/00
Номер заявки
2012104957/14
Дата подачи заявки
13.02.2012
Опубликовано
27.08.2012
Страна
RU
Как управлять
интеллектуальной собственностью
Чертежи 
1
Реферат

Накусочная пластинка для лечения синдрома зубоальвеолярного удлинения при отсутствии зубов-антагонистов, включающая основу, отличающаяся тем, что накусочная пластинка дополнительно снабжена съемной платформой, а основа накусочной пластинки выполнена в виде балки, на боковой поверхности основы накусочной пластинки выполнены канавки-направляющие, а на боковой поверхности платформы-выступы, соответствующие канавкам-направляющим, причем накусочная пластинка выполнена из металла.

Формула изобретения

Накусочная пластинка для лечения синдрома зубоальвеолярного удлинения при отсутствии зубов-антагонистов, включающая основу, отличающаяся тем, что накусочная пластинка дополнительно снабжена съемной платформой, а основа накусочной пластинки выполнена в виде балки, на боковой поверхности основы накусочной пластинки выполнены канавки-направляющие, а на боковой поверхности платформы-выступы, соответствующие канавкам-направляющим, причем накусочная пластинка выполнена из металла.

Описание

[1]

Полезная модель относится к области медицины, а именно стоматологии и может использоваться при лечения синдрома зубоальвеолярного удлинения при отсутствии зубов антагонистов с целью дальнейшего протезирования.

[2]

Зубочелюстной аппарат способен правильно функционировать лишь при непрерывности зубных рядов. В результате отсутствия одного или нескольких зубов челюсти искривляются, оставшиеся зубы перемещаются вертикально и горизонтально. Вертикальное перемещение зубов в область отсутствующих зубов-антагонистов называется синдромом зубоальвеолярного удлинения.

[3]

Известен способ лечения вертикального зубоальвеолярного удлинения при включенных дефектах зубных рядов (Патент РФ №2288670, 2006 г.) Сущностью изобретения является изготовление каппы на верхнюю и/или нижнюю челюсти, в области проекции (корней зубоальвеолярного удлинения на капле создают перлы - выступы и в период лечения с периодичностью 1-2 раза в 1-2 недели на внутреннюю поверхность каппы в области бугров удлиненных зубов наслаивают биоэнертный материал.

[4]

Недостатками данной каппы являются:

[5]

- каппа изготовлена из пластмассы, что повышает ломкость каппы, а также увеличивает риск сколов наслаиваемого материала;

[6]

- каппа съемная, при снятии каппы на длительный срок и последующей ее фиксации пациентом, зубы перемещаются в исходное положение, в результате срок лечения удлиняется;

[7]

- возможность применения только в случае включенных дефектов зубных рядов, так как каппе необходима дистальная опора.

[8]

Для коррекции зубоальвеолярной деформации, а именно экструзии зубов переднего отдела верхней челюсти при глубоком дистальном прикусе, используется пластинка Катца, представляющая собой частичный съемный акриловый протез, фиксирующийся на боковой группе зубов нижней челюсти, а также на слизистой оболочке полости рта и имеющий окклюзионную площадку в переднем отделе для смыкания с верхними передними зубами. Лечение основано на наслоении пластмассы в области окклюзионной площадки, высота разобщения 0,5 - 1 мм, разобщение повторяется через каждые 2-4 недели до завершения лечения.

[9]

Недостатками пластинки Катца являются:

[10]

- ее можно использовать только для коррекции зубоальвеолярного удлинения в переднем отделе;

[11]

- травматизация слизистой;

[12]

- перемещение опорных зубов.

[13]

В качестве прототипа по наиболее близкой технической сущности нами выбрана накусочная пластинка, представляющая собой частичный съемный пластиночный акриловый протез, замещающий дефект зубных рядов в области зубоальвеолярного удлинения и на который наслаивается пластмасса для интрузии зубов с периодичностью 2-3 недели с созданием уровня разобщения 0,5-1 мм.

[14]

С помощью данной накусочной пластинки проводят интрузию зубов, находящихся в области зубоальвеолярного удлинения, на 2 мм.

[15]

Однако накусочной пластинке, выбранной нами в качестве прототипа, присущи следующие недостатки:

[16]

- смещение опорных зубов, связанное тем, что в качестве опоры для накусочной пластинки используются опорные зубы;

[17]

- травматизация слизистой оболочки полости рта;

[18]

- неудобство для пациента, связанное с большими размерами накусочной пластинки, вследствие чего пациент может самостоятельно отказаться от лечения, сняв ее;

[19]

- накусочная пластинка является съемной, и при каждом ее снятии пациентом на длительное время и последующей фиксации результаты проведенного лечения исчезают, что происходит вследствие экструзии перемещаемых зубов;

[20]

- нестабильность установленной накусочной пластинки;

[21]

- состоит из пластмассы, что снижает прочность накусочной пластинки, что, в свою очередь, приводит к ее ломкости, а также увеличивает риск сколов наслаиваемого материала.

[22]

Техническим результатом, достигаемым с помощью полезной модели, является:

[23]

- исключение смещения опорных зубов;

[24]

- исключение травматизации слизистой оболочки полости рта;

[25]

- повышение стабильности установленной накусочной пластинки;

[26]

- исключение поломки накусочной пластинки и сколов материала;

[27]

- снижение дискомфорта пациента в период лечения, связанного с большими размерами накусочной пластинки.

[28]

Технический результат достигается тем, что основа накусочной пластинки для лечения синдрома зубоальвеолярного удлинения при отсутствии зубов-антагонистов выполнена в виде балки. Накусочная пластинка дополнительно снабжена съемной платформой. На боковой поверхности основы накусочной пластинки выполнены канавки-направляющие. На боковой поверхности платформы - выступы, соответствующие канавкам-направляющим. Накусочная пластинка выполнена из металла.

[29]

Оличительными существенными признаками заявляемой полезной модели являются:

[30]

- Основа накусочной пластинки для лечения синдрома зубоальвеолярного удлинения при отсутствии зубов антагонистов выполнена в виде балки.

[31]

- Полезная модель дополнительно снабжена съемной платформой.

[32]

- На боковой поверхности балки выполнены канавки-направляющие, на боковой поверхности платформы - выступы, соответствующие канавкам-направляющим.

[33]

- Накусочная пластинка выполнена из металла.

[34]

Причинно-следственная связь между существенными отличительными признаками и достигаемым результатом:

[35]

- Основа накусочной пластинки выполнена в виде балки для распределения нагрузки между дентальными имплантатами, использующимися в качестве опоры.

[36]

При установке накусочной пластины, выполненной в виде балки, на дентальные имплантаты, не происходит смещения зубов, так как они не являются опорой для накусочной пластинки, что позволяет снять нагрузку на опорные зубы и слизистую оболочку полости рта, повышая тем самым стабильность установленной накусочной пластинки и исключая травматизацию слизистой оболочки полости рта.

[37]

Форма выполнения накусочной пластинки в виде балки для установки ее на дентальные имплантаты, то есть только в область отсутствующих зубов, позволяет уменьшить размер накусочной пластинки, что повышает комфорт пациента в период лечения, а также исключает перерывы в ношении накусочной пластинки, так как накусочная пластинка является несъемной, тем самым, сокращает время лечения и повышает его эффективность.

[38]

- Дополнительное снабжение полезной модели съемной платформой необходимо для возможности ее съема и последующего нанесения на ее дно материала толщиной 200-400 микрон, что позволяет увеличить разобщение зубного ряда.

[39]

- На боковой поверхности основы накусочной пластинки выполнены канавки-направляющие, а на боковой поверхности съемной платформы - выступы, соответствующие канавкам-направляющим.

[40]

Выступы съемной платформы фиксируются в канавках-направляющих на балке для дополнительной стабилизации съемной платформы после перемещения ее по балке.

[41]

Каждое периодическое наслоение материала на дно съемной платформы выдвигает ее по канавкам-направляющим балки на толщину наслоенного материала, что позволяет увеличить разобщение зубного ряда.

[42]

- Накусочная пластинка выполнена из металла, что повышает ее прочность. Наслаиваемый материал укладывают на дно съемной платформы, а не на окклюзионную площадку, как в устройстве прототипе. В результате невозможна поломка накусочной пластинки и сколы материала.

[43]

Совокупность существенных отличительных признаков позволяет, по сравнению с прототипом, исключить смещение опорных зубов и травматизацию слизистой оболочки полости рта при использовании устройства, повысить стабильность установленной накусочной пластинки, исключить поломки накусочной пластинки и сколов материала, а также уменьшить размер накусочной пластинки, что, в свою очередь, снижает дискомфорт пациента в период лечения, а также исключает перерывы в ношении накусочной пластинки и, тем самым, сокращает время лечения и повышает его эффективность.

[44]

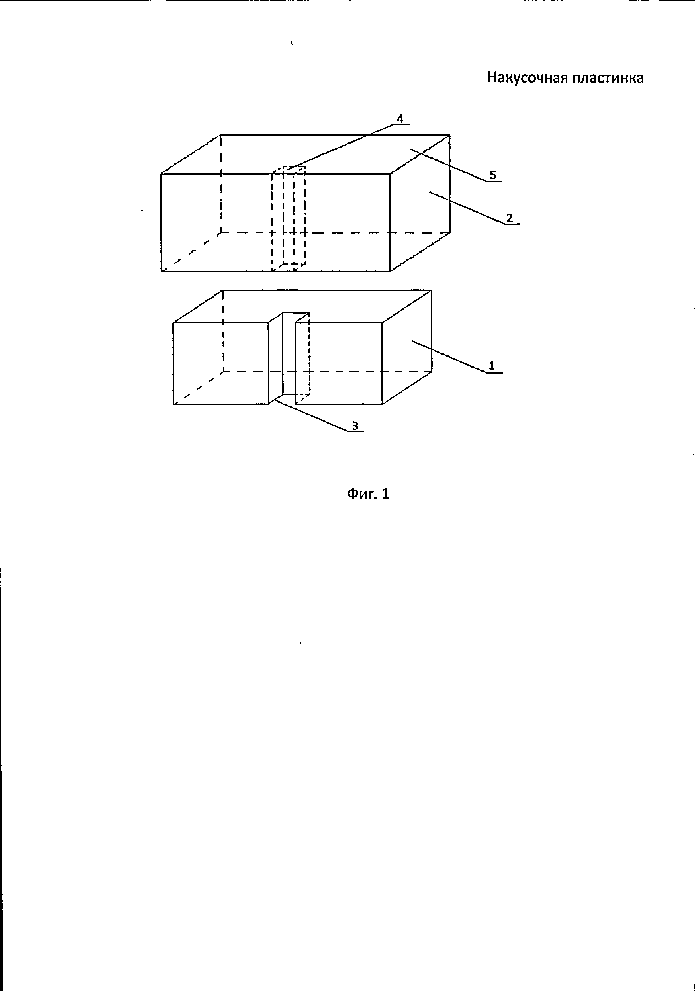
Для понимания сущности заявляемой полезной модели приводим ее схематичное изображение на Фиг.1, где:

[45]

1 - основа накусочной пластинки;

[46]

2 - съемная платформа;

[47]

3 - канавки-направляющие;

[48]

4 - выступы;

[49]

5 - дно съемной платформы;

[50]

Заявляемая полезная модель работает следующим образом:

[51]

1. Устанавливают дентальные имплантаты в области дефектов зубных рядов, являющихся причиной зубоальвеолярного удлинения. Через 3 месяца, после завершения остеинтеграции дентальных имлантатов, их раскрывают и устанавливают формирователи десны.

[52]

2. Через 2 недели после этого снимают оттиски и изготавливают гипсовые модели челюстей с аналогами дентальных имплантатов.

[53]

3. В зуботехнической лаборатории фрезеруют абатменты и изготавливают на них металлическую основу накусочной пластинки (1) в виде балки с канавками-направляющими (3), причем высота балки должна быть ниже окклюзионной поверхности зубов-антагонистов не менее чем на 1 мм.

[54]

4. Врач-стоматолог в полости рта пациента фиксирует абатменты и основу накусочной пластинки (1) на них, затем моделирует из воска съемную платформу (2). Верхняя часть съемной платформы повторяет окклюзионные контуры перемещаемых зубов и создает разобщение зубного ряда на 0,5 мм.

[55]

5. После этого в зуботехнической лаборатории завершают моделировку съемной платформы (2), создавая выступы (4).

[56]

6. Врач в полости рта пациента устанавливает абатменты, закручивая винты, соединяющие абатмент и дентальный имплантат на 35 Н/ м, на абатменты с помощью временного цемента (например, Temp Bond) фиксируется основа (1), на которую с помощью временного цемента устанавливают съемную платформу (2), причем выступы (4) съемной платформы (2) располагаются в канавках-направляющих (3) основы (1).

[57]

7. Нанесение материала на дно съемной платформы накусочной пластинки проводят через 3-5 недель. Для этого снимают съемную платформу (2) и на ее дно (5) укладывают материал толщиной 180-200 микрон, затем с помощью временного цемента фиксируют съемную платформу (2) на балке (1). Нанесение материала на дно накусочной пластинки проводят с интервалом 2-4 недели в течение 2-3 месяцев до завершения коррекции синдрома зубоальвеолярного удлинения.

[58]

Лечение зубоальвеолярного удлинения с использованием металлической накусочной пластинки позволяет провести интрузии зуба на 2 мм в течение 2-3 месяцев.

[59]

При использовании прототипа внедрение зуба на 2 мм проводится в течение 12 месяцев.

[60]

Заявляемая накусочная пластинка для лечения синдрома зубоальвеолярного удлинения при отсутствии зубов антагонистов позволяет, по сравнению с прототипом, исключить смещение опорных зубов и травматизацию слизистой оболочки полости рта, повысить стабильность установленной накусочной пластинки, исключить ее поломки и сколов материала, а также уменьшить размер накусочной пластинки, что, в свою очередь, снижает дискомфорт пациента в период лечения, а также исключает перерывы в ношении накусочной пластинки и, тем самым, сокращает время лечения и повышает его эффективность.

Как компенсировать расходы
на инновационную разработку
Похожие патенты