Штуцер для фонтанной арматуры нефтяных скважин, содержащий сквозной корпус с устройствами фиксации на фонтанной арматуре, размещенные в нем регулирующие элементы, выполненные в виде золотников, имеющих форму полых цилиндров, снабженных сквозными радиальными отверстиями с заданным шагом и диаметрами, каждый из которых связан с возможностью вращения со своим установочным валом, выведенным наружу через корпус и снабженным указателем со шкалой, отличающийся тем, что золотники установлены на вертикальной оси корпуса один над другим, причем нижний золотник имеет отверстия диаметром от 2 мм до 14 мм, а верхний золотник имеет два калибровочных отверстия диаметром 14 мм и 34 мм, при этом установочный вал верхнего золотника снабжен фиксатором, выполненным в виде втулки, который соединен с валом штифтом, прижат к корпусу пружиной и имеет выступы, входящие в прорези крышки корпуса.
Штуцер для фонтанной арматуры нефтяных скважин, содержащий сквозной корпус с устройствами фиксации на фонтанной арматуре, размещенные в нем регулирующие элементы, выполненные в виде золотников, имеющих форму полых цилиндров, снабженных сквозными радиальными отверстиями с заданным шагом и диаметрами, каждый из которых связан с возможностью вращения со своим установочным валом, выведенным наружу через корпус и снабженным указателем со шкалой, отличающийся тем, что золотники установлены на вертикальной оси корпуса один над другим, причем нижний золотник имеет отверстия диаметром от 2 мм до 14 мм, а верхний золотник имеет два калибровочных отверстия диаметром 14 мм и 34 мм, при этом установочный вал верхнего золотника снабжен фиксатором, выполненным в виде втулки, который соединен с валом штифтом, прижат к корпусу пружиной и имеет выступы, входящие в прорези крышки корпуса.
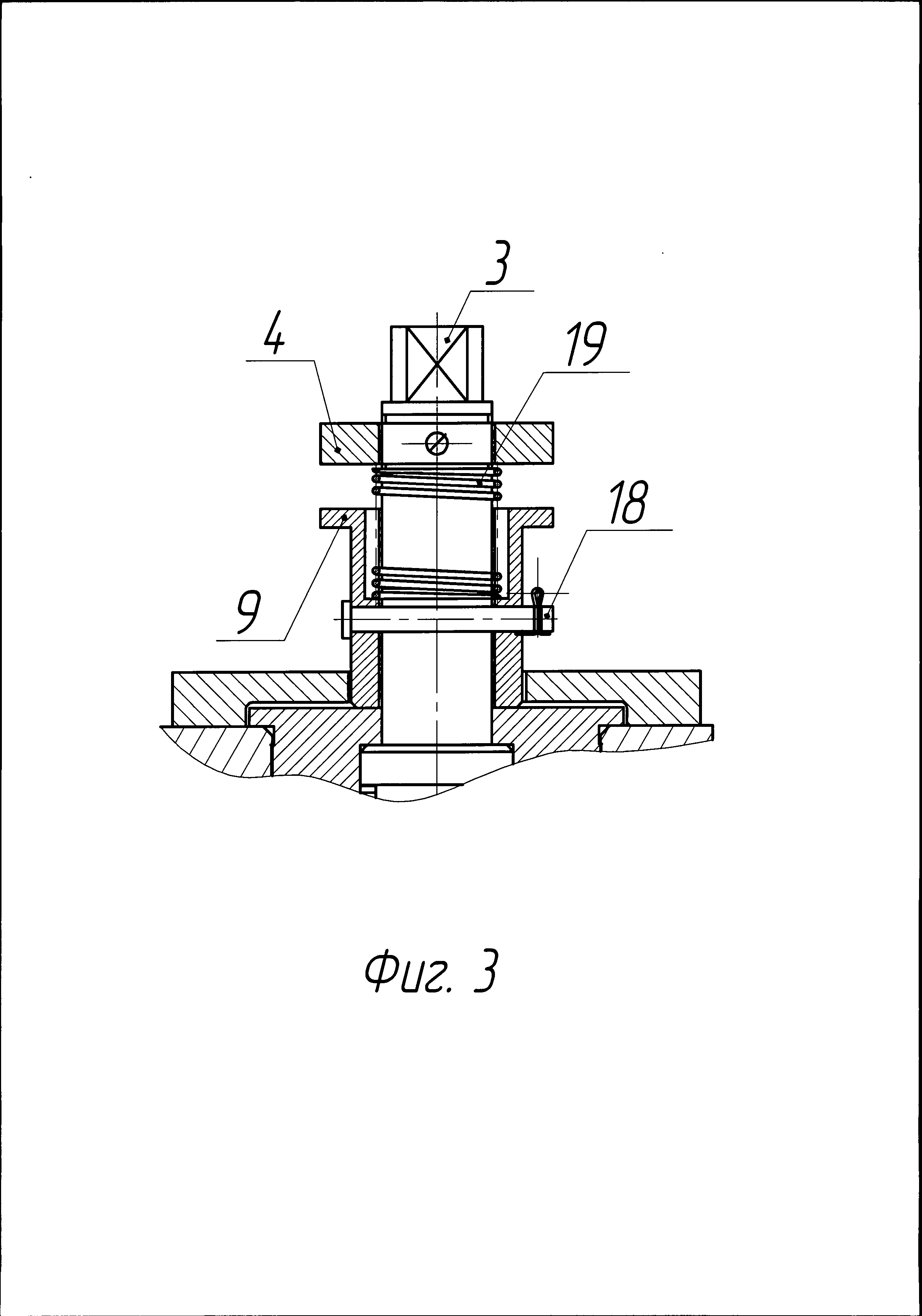
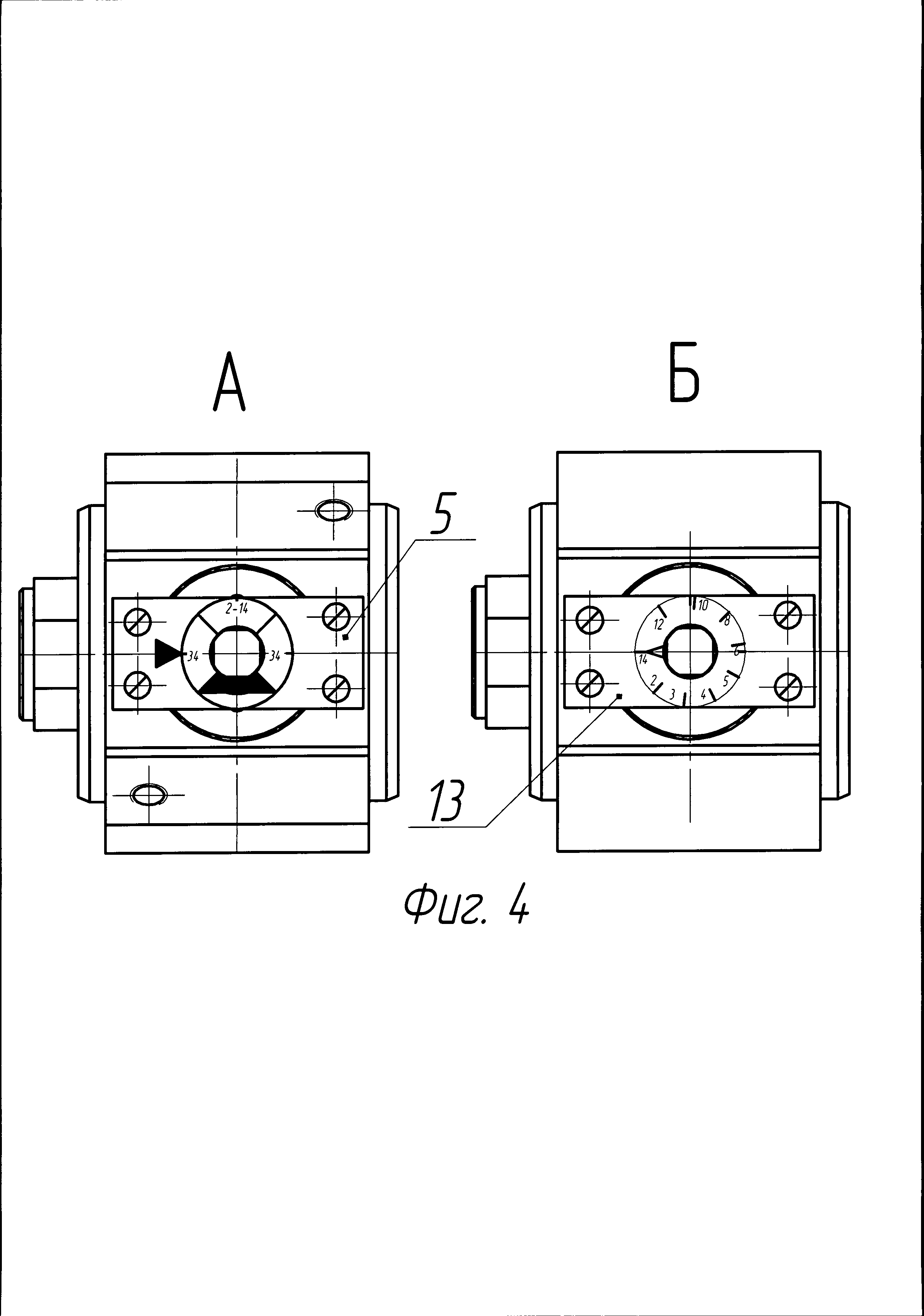
Полезная модель относится к нефтедобывающей промышленности, а именно к средствам регулирования расхода жидкости (газа) и может быть использована в нефтедобывающей промышленности для вывода нефтяной скважины на заданный режим эксплуатации без ее остановки путем дискретного изменения диаметра проходного отверстия штуцера. Известен штуцер для фонтанной арматуры нефтяных скважин, содержащий сквозной корпус, размещенный в нем регулирующий элемент, образующий в корпусе полости, выполненный в виде золотника, имеющего форму полого цилиндра, по образующей которого выполнен ряд сквозных радиальных отверстий, и связанный через кулачковый диск с установочным валом, при этом золотник поджат седлом усилием избыточного давления и имеет возможность вращательного движения для совмещения его сквозных отверстий с отверстием седловины (патент RU №54443, МПК G05D 7/01, опубл. 18.04.2005). Недостатком известного штуцера является то, что регулирующий элемент имеет ограниченное количество отверстий для регулирования потока жидкости, которое не может быть увеличено механическим путем, что ограничивает его технические возможности. Наиболее близким к заявляемой полезной модели по технической сущности является штуцер для фонтанной арматуры нефтяных скважин, содержащий сквозной корпус с устройствами фиксации на фонтанной арматуре, размещенные в нем регулирующие элементы, выполненные в виде золотников, имеющих цилиндрическую форму, по образующей которых выполнены радиальные отверстия разного диаметра и каждый из которых связан с установочным валом, снабженным указателем и втулкой со шкалой, при этом один золотник установлен внутри другого золотника (патент RU №87274, МПК G05D 7/01, опубл. 27.09.2009). Это устройство выбрано в качестве прототипа. Недостатком прототипа является то, что золотники не могут работать автономно, так как один золотник установлен внутри другого золотника. Регулирование расхода жидкости, протекающей через штуцер, осуществляется направлением ее через отверстия в золотнике. В прототипе жидкость сначала проходит через радиальные отверстия во внешнем (большом) золотнике, а затем - через отверстия во внутреннем (малом) золотнике. При вращении внутреннего золотника поворачивается и наружный золотник, что приводит к перекрытию входных (радиальных) отверстий. Отверстиями, лимитирующими расход жидкости, в прототипе являются отверстия во внутреннем (малом) золотнике. В случае, когда необходимо, чтобы лимитирующими расход жидкости отверстиями были отверстия наружного (большого) золотника, придется остановить работу скважины, перекрыть трубопровод перед штуцером, произвести частичную его разборку и извлечь (демонтировать) внутренний золотник. Это приводит к росту трудоемкости работ и увеличению времени, необходимого для вывода скважины на заданный режим эксплуатации. Технической задачей, на решение которой направлена полезная модель, является устранение указанного недостатка и создание конструкции штуцера, удобного в эксплуатации, обеспечивающего автономную работу каждого золотника без остановки оборудования, демонтажа и разборки устройства, что позволит сократить время наладки оборудования, снизить трудоемкость работ, расширить эксплуатационные возможности устройства. Технический результат достигается тем, что в штуцере для фонтанной арматуры нефтяных скважин, содержащем сквозной корпус с установленными в нем регулирующими элементами, выполненными в виде золотников, имеющих форму полых цилиндров, снабженных сквозными радиальными отверстиями разного диаметра с заданным шагом, каждый из которых через кулачковый диск связан с возможностью вращения со своим установочным валом, выведенным наружу через корпус и снабженным указателем со шкалой, золотники установлены на вертикальной оси корпуса один над другим, причем нижний, регулирующий золотник, имеет отверстия диаметром от 2 мм до 14 мм, а верхний золотник - золотник-кран, имеет два калиброванных отверстия: одно диаметром 14 мм для направления потока жидкости через регулирующий золотник, и второе диаметром 34 мм для обеспечения максимального проходного сечения штуцера, при этом валик привода золотника-крана снабжен фиксатором, выполненным в виде втулки, соединенным с валом шпилькой, прижат к корпусу пружиной и имеет выступы, входящие в прорези крышки корпуса, который обеспечивает фиксацию валика относительно корпуса штуцера во время работы нижнего, регулирующего золотника. Когда в работе задействован нижний регулирующий золотник, верхний золотник, золотник-кран, зафиксирован (заперт) в нерабочем положении, а диапазон проходного сечения регулируется отверстиями нижнего, регулирующего золотника. При необходимости установить максимально возможное проходное сечение, золотник-кран выводят в рабочее положение. При таком взаимном расположении золотников каждый из них может работать автономно без остановки и демонтажа оборудования, обеспечивая диапазон регулирования проходного сечения от 2-х до 34-х мм. Каждый валик привода золотников снабжен указателем со шкалой диаметров отверстий, соответствующих определенным проходным отверстиям, имеющимся на золотниках, выполненной в виде поворотного лимба. Полезная модель поясняется чертежами, где: фиг.1 - штуцер в сборе, общий вид с фланцами; фиг.2 - штуцер в сборе, вид без фланцев; фиг.3 - фиксатор валика привода золотника-крана; фиг.4 - лимб поворотный. Штуцер содержит сквозной корпус 1 с крышкой 5, в котором размещены золотник-кран 2, имеющий два калиброванных отверстия диаметром 14 мм и 34 мм, валик привода 3 золотника-крана 2, снабженный лимбом поворотным 4, указателем, выполненным в виде стрелки на крышке 5 корпуса 1, и фиксатором 9, выполненным в виде втулки, который соединен с валиком привода 3 штифтом 18, прижат к корпусу 1 пружиной 19 и имеет выступы, входящие в прорези крышки 5 корпуса 1, золотник регулирующий 10, имеющий радиальные отверстия диаметром от 2-х до 14 мм, валик привода 11 золотника регулирующего 10, снабженный указателем 12 и лимбом поворотным 13, разрядную пробку 6, вентиль 7, технологическую пробку 8, пробку 14, прокладку 15, переходник 16, фланец воротниковый 17. Устройство работает следующим образом. Штуцер устанавливают на фонтанной арматуре за линейной задвижкой и фиксируют между двумя фланцами 17, уплотнение соединения осуществляют через выступы на корпусе 1 штуцера. После установки штуцера на арматуру открывают линейную задвижку и жидкость дросселируется через отверстия в золотнике-кране 2. Выбор необходимого дроссельного отверстия осуществляют поворотом золотника-крана 2 вокруг своей оси через валик привода 3 с помощью гаечного ключа до совмещения указателя 5 с необходимым делением на лимбе 4, при этом указатель 5 показывает на поворотном лимбе 4 расположение отверстий золотника-крана 2. При помощи фиксатора 9, который вручную вытягивают вверх, фиксируют нужное положение золотника-крана 2. Положение указателя 5 относительно лимба 4 указывает выбранный диаметр проходного сечения золотника-крана 2. Указатель 12 показывает на лимбе 13 расположение отверстий золотника регулирующего 10, стрелка на корпусе 1 - направление движения среды. При работе штуцера в полнопроходном режиме (максимальный диаметр проходного сечения - 34 мм) фиксатор 9 отжимают до упора в поворотный лимб 4, устанавливают валик привода 3 в положение «34», отпускают фиксатор 9, убедившись, что он зафиксировал положение валика привода 3. Если валик привода 3 зафиксирован в положении «14», то поток жидкости направляется через регулирующий золотник 2, который осуществляет работу штуцера в диапазоне от 2-14 мм. В этом случае фиксатор 9 отжимают до упора в поворотный лимб 4, устанавливают валик привода 3 в одно из положений от 2 до 14, отпускают фиксатор 9, убедившись, что он зафиксировал положение валика привода 3, затем устанавливают указатель 12 на требуемый размер отверстия по лимбу 13 и производят замеры. Отверстия «В» служат для установки манометров через переходники 16, прокладки 15 и вентили 7. При использовании штуцера без манометров отверстия «В» в корпусе 1 заглушают пробками 14. Расход жидкости, проходящей через штуцер, определяют в зависимости от среднего установившегося перепада давления Рср (разность давлений на входе и выходе, полученная после проведения 4-5 замеров в час), коэффициента расхода К и от соответствующего, установленного по лимбу, значения диаметра (площади) проходного сечения золотника. Предлагаемое устройство удобно в эксплуатации, оно обеспечивает возможность автономной работы каждого золотника без демонтажа и разборки устройства, что позволяет сократить время наладки оборудования, снизить трудоемкость работ, улучшить эксплуатационные возможности устройства. Предлагаемый штуцер имеет широкий диапазон регулирования проходного сечения при сохраненной компактности габаритов, он выполнен полнопроходным, в открытом положении образует сквозное отверстие диаметром 34 мм.