1. Надрессорная балка тележки грузового вагона повышенной грузоподъемности, представляющая собой тонкостенную коробчатого типа конструкцию, в вертикальной плоскости близкую по форме к брусу равного сопротивления изгибу, а противоположные концы ее прямоугольной в вертикальной плоскости формы снизу оборудованы устройствами для фиксации пружин центрального рессорного подвешивания и в боковых стенах имеющие углубления - карманы для размещения клиньев фрикционных гасителей колебаний, образованные вертикальными стенками, расположенными поперек продольной оси балки, наклонной под углом α к горизонтали стенки, состоящей из трех сегментов, а в нижнем поясе балки, образующем основание кармана, выполнено продольное со скруглением к середине балки отверстие, на верхнем поясе по его центру расположен подпятник с плоской опорной поверхностью и упорным кольцевым буртом и смещенные друг от друга в боковом направлении опорные площадки под скользуны, отличающаяся тем, что по всей длине балки, вдоль ее продольной оси симметрии, выполнено вертикальное ребро с технологическими отверстиями, соединяющее верхний и нижний пояса, в том числе и в зоне подпятника. ! 2. Надрессорная балка тележки грузового вагона повышенной грузоподъемности по п.1, отличающаяся тем, что верхний пояс балки в зонах перехода от площадок под скользуны к концевым частям с внутренней стороны подкреплен ребрами ограниченной высоты, расположенными симметрично относительно продольной оси балки на расстоянии а от нее. ! 3. Надрессорная балка тележки грузового вагона повышенной грузоподъемности по п.1, отличающаяся тем, что на верхнем поясе с каждой сто
1. Надрессорная балка тележки грузового вагона повышенной грузоподъемности, представляющая собой тонкостенную коробчатого типа конструкцию, в вертикальной плоскости близкую по форме к брусу равного сопротивления изгибу, а противоположные концы ее прямоугольной в вертикальной плоскости формы снизу оборудованы устройствами для фиксации пружин центрального рессорного подвешивания и в боковых стенах имеющие углубления - карманы для размещения клиньев фрикционных гасителей колебаний, образованные вертикальными стенками, расположенными поперек продольной оси балки, наклонной под углом α к горизонтали стенки, состоящей из трех сегментов, а в нижнем поясе балки, образующем основание кармана, выполнено продольное со скруглением к середине балки отверстие, на верхнем поясе по его центру расположен подпятник с плоской опорной поверхностью и упорным кольцевым буртом и смещенные друг от друга в боковом направлении опорные площадки под скользуны, отличающаяся тем, что по всей длине балки, вдоль ее продольной оси симметрии, выполнено вертикальное ребро с технологическими отверстиями, соединяющее верхний и нижний пояса, в том числе и в зоне подпятника. 2. Надрессорная балка тележки грузового вагона повышенной грузоподъемности по п.1, отличающаяся тем, что верхний пояс балки в зонах перехода от площадок под скользуны к концевым частям с внутренней стороны подкреплен ребрами ограниченной высоты, расположенными симметрично относительно продольной оси балки на расстоянии 3. Надрессорная балка тележки грузового вагона повышенной грузоподъемности по п.1, отличающаяся тем, что на верхнем поясе с каждой стороны между подпятником и площадкой под скользуны образованы симметрично расположенные относительно продольной и поперечной осей балки технологические ромбовидной формы со скругленными углами отверстия, усиленные буртами. 4. Надрессорная балка тележки грузового вагона повышенной грузоподъемности по п.1, отличающаяся тем, что центральный сегмент наклонной стенки кармана для клина фрикционного гасителя колебаний углублен к продольной оси балки по отношению к боковым сегментам и имеет плоскую поверхность, параллельную продольной оси, а боковые сегменты имеют плоские поверхности, направленные навстречу друг другу под углом β к плоскости, параллельной продольной оси балки. 5. Надрессорная балка тележки грузового вагона повышенной грузоподъемности по п.1, отличающаяся тем, что опорные площадки под скользуны сопряжены с верхним поясом балки сегментами поверхностей переменного радиуса. 6. Надрессорная балка тележки грузового вагона повышенной грузоподъемности по п.1, отличающаяся тем, что подпятник с внутренней стороны балки подкреплен системой ребер ограниченной высоты параллельных продольной оси и ребер ограниченной высоты, расположенных под углом к ней, между боковыми стенами и вертикальным ребром, а отверстие под шкворень вагона выполнено во втулке, имеющей форму перевернутого усеченного конуса, опирающейся на вертикальное ребро и с помощью ребер ограниченной высоты, соединенной с боковыми стенами по нормали к ним. 7. Надрессорная балка тележки грузового вагона повышенной грузоподъемности по п.1, отличающаяся тем, что верхние углы надрессорной балки в зоне перехода от опорных площадок под скользуны к концевым частям ограничены параллельными продольной оси балки наклонными плоскостями.
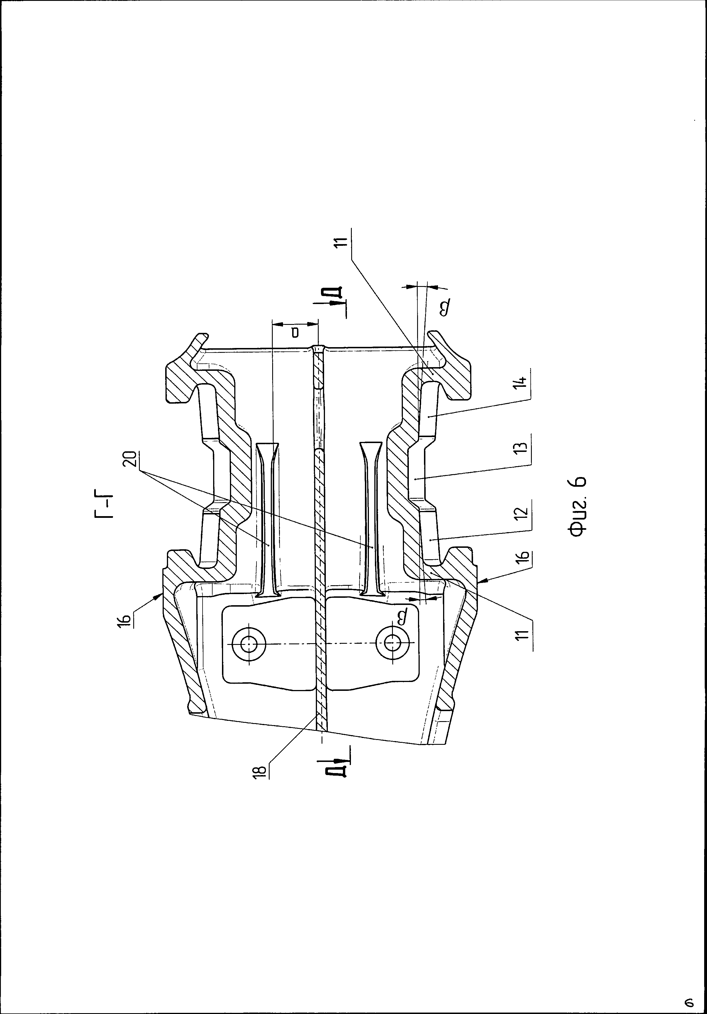
Полезная модель относится к железнодорожному транспорту и касается деталей двухосных тележек грузовых вагонов повышенной грузоподъемности. В грузовом железнодорожном транспорте в качестве ходовых частей вагонов широкое распространение получили трехэлементные тележки с центральным рессорным подвешиванием, рама которых состоит из надрессорной балки, содержащей верхний пояс с подпятниковым местом, и двух боковых рам, опирающихся на подшипниковые узлы колесных пар. К таким конструкциям относятся, например, тележка MotionControlM-976 TruckSystem (США), QCZ56 (Китай) ICFи MD 45/52 (Германия), 18-100, 18-131, 18-578, 18-597 (Россия) и 18-7020, 18-755, 18-781, 18-4129 (Украина) и др. Простые по конструкции и в обслуживании, трехэлементные тележки имеют ряд характерных недостатков. Так, например, в надрессорных балках тележек для вагонов повышенной грузоподъемности проблемными в отношении прочности являются подпятниковая зона и зоны перехода основного тела балки, имеющего форму бруса «равного сопротивления изгибу», в концевые части, содержащие карманы для клиньев фрикционных гасителей колебаний и опорные поверхности на пружины центрального рессорного подвешивания. Известна конструкция тележки грузовых вагонов, в том числе надрессорной балки, (Вагоны под ред. Л.А.Шадура и И.И.Челнокова. - М: Транспорт, 1965 - 440 с.) и описание аналогичной по устройству тележки товарного вагона (Описание изобретения к патенту RU 2392146 С1 от 20.04.2009 г.), включающие в себя раму, состоящую из надрессорной балки и двух рам боковых. Известны технические решения, направленные на повышение прочности надрессорных балок. Так, например, надрессорная балка [1] по патенту RU №79 509 от 22.07.2008 г., [2] по патенту RU №2373091 С2 от 04.10.2007 г., [3] по патенту RU №104 523 U1 от 27.10.2010 г.,[4] по патенту UA №63361 U от 23.02.2011 г., [5] по патенту UA №49696 U от 03.11.2009 г. и многие другие. Все известные технические решения сводятся к тому, что балка надрессорная представляет собой тонкостенную коробчатого типа конструкцию в вертикальной плоскости близкую по форме к брусу равного сопротивления изгибу. Концевые ее части снизу оборудованы устройствами для фиксации пружин центрального рессорного подвешивания, на которые она опирается, а в боковых стенах имеются углубления - карманы для размещения клиньев фрикционных гасителей колебаний. Предлагаются различные варианты внутреннего размещения элементов, подкрепляющих подпятниковую зону балки, зону перехода в концевые части и опорные площадки скользунов. Большое внимание уделяется защите трущихся поверхностей подпятниковой зоны и наклонных поверхностей карманов для фрикционных гасителей колебаний. Тем не менее, эксплуатация балок надрессорных в составе трехэлементных тележек грузовых вагонов, при всем многообразии известных технических решений, не гарантирует высокую эксплуатационную надежность во время назначенного срока службы. Ближайшим аналогом полезной модели является надрессорная балка тележки вагона (патент RU 2388632 С1 от 18.08.2008 г.). Надрессорная балка этой тележки содержит верхний пояс, две боковые стенки и нижний лист, которые соединены между собой при помощи сварки, образуя несущее коробчатое сечение. В районе подпятника имеется два внутренних ребра жесткости, расположенных поперек продольной оси балки между продольными боковыми стенками и верхним поясом и соединены между собой косынкой с вертикально расположенной втулкой, образующих узел усиления средней части балки. По продольной оси балки между боковыми стенами по всей длине расположен вертикальный лист, нижняя кромка которого соединена с нижним листом, повторяя его конфигурацию, а верхняя кромка установлена по отношению к верхнему поясу с зазором. Прямоугольный вырез, выполненный в вертикальном листе, охватывает два вертикальных ребра жесткости, образуя неразъемное соединение. Недостатком данного технического решения (сварной вариант конструкции) применительно к надрессорной балке тележки грузового вагона является ограниченная несущая способность, наряду с высокой трудоемкостью сварочных операций и необходимостью применения неразрушающих методов контроля сварных швов. При создании полезной модели решалась задача увеличения несущей способности и повышения надежности в эксплуатации надрессорной балки тележки грузового вагона повышенной грузоподъемности, а так же упрощения способа изготовления путем литья в земляные формы. Основной технический результат, на достижение которого направлена полезная модель, - повышение прочностных и усталостных характеристик надрессорной балки тележки грузового вагона повышенной грузоподъемности, достигается путем введения в конструкцию дополнительного элемента жесткости - вертикального ребра по всей длине балки вдоль ее продольной оси симметрии, соединенного как с нижним, так и с верхним поясом, в том числе и в зоне подпятника. В заявляемой полезной модели задача повышения надежности и повышения коэффициента запаса сопротивления усталости решается за счет совокупности следующих существенных признаков. Балка надрессорная 1 представляет собой тонкостенную коробчатого типа конструкцию в вертикальной плоскости близкую по форме к брусу равного сопротивления изгибу (Фиг.1). Противоположные концы ее 2, прямоугольной в вертикальной плоскости формы, снизу оборудованы устройствами 3 (Фиг.2) для фиксации пружин центрального рессорного подвешивания, на которые она опирается, а в боковых стенах имеются углубления - карманы 4 (Фиг.3) для размещения клиньев фрикционных гасителей колебаний. По обеим сторонам карманов расположены упоры 5 в форме вертикально расположенных призм, ограничивающие поперечное перемещение балки надрессорной относительно вертикальных колонн боковых рам тележки. На верхнем поясе по его центру расположен подпятник с плоской опорной поверхностью 6 и упорным кольцевым буртом 7 и смещенные друг от друга в боковом направлении плоские опорные площадки 8 под скользуны, сопряженные с верхним поясом 9 балки сегментами поверхностей 10 переменного радиуса. Каждый карман для клина фрикционного гасителя колебаний образован вертикальными стенками 11 (Фиг.6), расположенными поперек продольной оси балки, и наклонной стенкой, состоящей из трех сегментов (12, 13 и 14), наклоненной под углом α к горизонтали (Фиг.12). В нижнем поясе 19 балки, образующем основание кармана, выполнено продольное со скруглением к середине балки отверстие 15 (Фиг.3) для размещения поддерживающих клин пружин центрального рессорного подвешивания. Центральный сегмент 13 кармана углублен к продольной оси балки по отношению к боковым сегментам 12 и 14 и имеет плоскую поверхность. Каждый боковой сегмент 12 и 14 имеет плоскую поверхность, направленную навстречу друг другу под углом β к плоскости, параллельной продольной оси балки (Фиг.6). Верхние углы надрессорной балки в зоне перехода опорных площадок 8 под скользуны к концевым частям 2 ограничены параллельными продольной оси балки наклонными плоскостями 16 (Фиг.9), обеспечивающими взаимозаменяемость заявляемой балки надрессорной с надрессорной балкой тележки конструкции АМСТЕД Рэйл Компани, Инк (US). На верхнем поясе 9 балки с каждой стороны между подпятником и площадками 8 под скользуны образованы симметрично расположенные относительно продольной и поперечной осей балки технологические ромбовидной формы со скругленными углами отверстия 17 (Фиг.3), усиленные буртами. По всей длине балки, вдоль ее продольной оси симметрии, выполнено вертикальное ребро 18 (Фиг.6 и 8), соединяющее верхний 9 и нижний 19 пояс балки, в том числе и в зоне подпятника. В ребре 18 выполнены технологические окна 21, 22 и 23 (Фиг.8). Верхний пояс 9 в зоне перехода от площадок 8 под скользуны к концевым частям 2 балки с внутренней стороны подкреплен ребрами 20 (Фиг.6 и 7), расположенными симметрично относительно продольной оси балки на расстоянии а от нее. Подпятник с внутренней стороны балки опирается на боковые стены 24 и ребро 18 (Фиг.4). А прочность его плоской опорной поверхности 6 обеспечивается системой ребер 25 ограниченной высоты, расположенных параллельно продольной оси балки посередине между боковыми стенами 24 и вертикальным ребром 18, а также ребрами 26 ограниченной высоты, расположенных под углом к продольной оси балки. Из условий прочности отверстие 27 под шкворень вагона выполнено во втулке 28 (Фиг.5), имеющей форму перевернутого усеченного конуса опирающегося на ребро 18 и, с помощью ребер 29, соединенной с боковыми стенами 24 по нормали к ним. Приведенные особенности конструкции надрессорной балки нашли применение в тележке модели 18-9786. Эта двухосная тележка предназначена для грузовых вагонов железных дорог колеи 1520 мм с максимальной статической нагрузкой на ось 245 кН и конструкционной скоростью 120 км/час. Краткое описание чертежей Фиг.1 - вид в изометрии надрессорной балки тележки грузового вагона повышенной грузоподъемности. Фиг.2 - вид сбоку на надрессорную балку. Фиг.3 - вид по стрелке А на фиг.2. Фиг.4 - сечение Б-Б фиг.2. Фиг.5 - сечение В-Вфиг.2. Фиг.6 - сечение Г-Г фиг.2. Фиг.7 - сечение Д-Д фиг.6. Фиг.8 - сечение Е-Е фиг.5. Фиг.9 - сечение Ж-Ж фиг.2. Источники информации 1 Надрессорная балка тележки для грузовых вагонов. Описание полезной модели к патенту RU №79 509 от 22.07.2008 г. 2 Тележка железнодорожного вагона, боковая рама и надрессорная балка тележки железнодорожного вагона. Описание изобретения к патенту RU №2373091 С2 от 04.10.2007 г. 3 Надрессорная балка тележки грузового вагона. Описание полезной модели к патенту RU №104 523 от 27.10.2010 г. 4 Надресорна балка вiзка вантажного вагона. Опис до патенту на корисну модель UA №63361 Uвiд 23.02.2011 р. 5 Надресорна балка вiзка залiзничного вантажного вагона. Опис до патенту на корисну модель UA №49696 Uвiд 03.11.2009р.