патент
№ RU 116429
МПК B61D3/00

КРЫШКА ЛЮКА ПОЛУВАГОНА

Авторы:
Жовтобрюх Григорий Демьянович (UA)
Номер заявки
2011138170/11
Дата подачи заявки
16.09.2011
Опубликовано
27.05.2012
Страна
RU
Как управлять
интеллектуальной собственностью
Чертежи 
2
Реферат

1. Крышка люка полувагона, включающая прямоугольный настил, запорные кронштейны, несущие поперечные и продольные элементы, усиливающий П-образный в сечении продольный элемент и содержащая шарнирные петли с удлиненными хвостовиками, соединенные с помощью сварки с прямоугольным настилом и с усиливающим П-образным продольным элементом, отличающаяся тем, что шарнирные петли с удлиненными хвостовиками выполнены со ступенчатым основанием и наложены последним на прямоугольный настил и на усиливающий П- образный продольный элемент, при этом сварные швы, соединяющие шарнирную петлю с прямоугольным настилом и с усиливающим П-образным продольным элементом, выполнены по наружному контуру прилегания ступенчатого основания шарнирной петли к прямоугольному настилу и к усиливающему П-образному продольному элементу. ! 2. Крышка люка полувагона по п.1, отличающаяся тем, что усиливающий П-образный продольный элемент своими торцами сварен с несущими поперечными элементами, которые смещены к краям прямоугольного настила для создания дистанционных зазоров, обеспечивающих возможность наложения сварных швов для соединения крайних шарнирных петель с усиливающим П-образным продольным элементом. ! 3. Крышка люка полувагона по пп.1 и 2, отличающаяся тем, что в углах соединений усиливающего П-образного продольного элемента с несущими поперечными элементами установлены горизонтальные ребра-накладки, перекрывающие углы соединений и зоны установки (приварки) крайних шарнирных петель.

Формула изобретения

1. Крышка люка полувагона, включающая прямоугольный настил, запорные кронштейны, несущие поперечные и продольные элементы, усиливающий П-образный в сечении продольный элемент и содержащая шарнирные петли с удлиненными хвостовиками, соединенные с помощью сварки с прямоугольным настилом и с усиливающим П-образным продольным элементом, отличающаяся тем, что шарнирные петли с удлиненными хвостовиками выполнены со ступенчатым основанием и наложены последним на прямоугольный настил и на усиливающий П- образный продольный элемент, при этом сварные швы, соединяющие шарнирную петлю с прямоугольным настилом и с усиливающим П-образным продольным элементом, выполнены по наружному контуру прилегания ступенчатого основания шарнирной петли к прямоугольному настилу и к усиливающему П-образному продольному элементу.

2. Крышка люка полувагона по п.1, отличающаяся тем, что усиливающий П-образный продольный элемент своими торцами сварен с несущими поперечными элементами, которые смещены к краям прямоугольного настила для создания дистанционных зазоров, обеспечивающих возможность наложения сварных швов для соединения крайних шарнирных петель с усиливающим П-образным продольным элементом.

3. Крышка люка полувагона по пп.1 и 2, отличающаяся тем, что в углах соединений усиливающего П-образного продольного элемента с несущими поперечными элементами установлены горизонтальные ребра-накладки, перекрывающие углы соединений и зоны установки (приварки) крайних шарнирных петель.

Описание

[1]

Полезная модель относится к железнодорожному транспорту, в частности к магистральным универсальным полувагонам с люками в полу кузова, и касается крышек люков, образующих пол кузова и предназначенных для разгрузки сыпучих грузов, загружаемых сверху. Предлагаемая полезная модель может быть использована при серийном выпуске магистральных универсальных полувагонов всех типоразмеров с люками в полу кузова и при изготовлении крышек люков в качестве запасных частей для замены при капитальных ремонтах полувагонов.

[2]

В Российской Федерации, в странах СНГ, Латвии, Литве и Эстонии распространены и широко используются известные из уровня техники крышки люков полувагонов [1, 2], которые шарнирно прикреплены на петлях к хребтовой балке, перекрывают прямоугольные разгрузочные люки кузова и фиксируются с помощью запорных устройств.

[3]

Известные современные крышки люков [2] универсального полувагона включает в себя прямоугольный настил, запорные кронштейны, предназначенные для взаимодействия с запорными устройствами кузова, и несколько несущих продольных и поперечных элементов, усиливающих прямоугольный настил. Крышка люка [2] содержит шарнирные петли с удлиненными хвостовиками, жестко соединенные заклепками с прямоугольным настилом и с усиливающим его продольным П-образным элементом, наложенным на удлиненные хвостовики шарнирных петель, с выходом шарниров наружу. На крышке люка, снизу, установлены опоры для торсиона. Указанная крышка люка трудоемка и имеет высокую себестоимость, ввиду наличия заклепочных соединений.

[4]

Более эффективной (дешевой) в изготовлении является известная крышка люка [3] аналогичной конструкции, но со сварочным креплением шарнирных петель с удлиненными хвостовиками. Ее шарнирные петли приварены удлиненными хвостовиками к прямоугольному настилу, удлиненные хвостовики накрыты усиливающим продольным П-образным в сечении элементом и дополнительно сварены с последним точечной сваркой (контактной или по контуру отверстий, выполненных в усиливающем продольном П-образном элементе).

[5]

Известная конструкция крышки люка [3] со сварочным креплением шарнирных петель не достаточно технологична в сборке-сварке и при серийном изготовлении имеет следующие недостатки:

[6]

- наличие предварительных установочных, сварочных и контрольных операций при закреплении на прямоугольный настил шарнирных петель с удлиненными хвостовиками, для выполнения которых требуется специальный стенд и рабочие места для установки петель (на сварочных прихватках), последующей приварки и контроля сварных швов, что повышает себестоимость и сдерживает производительность общей сборки и сварки крышек люка.

[7]

- требуются технологические операции по накрытию удлиненных хвостовиков шарнирных петель усиливающим продольным П-образным элементом и дополнительной приварке последнего к удлиненным хвостовикам шарнирных петель, что увеличивает трудоемкость изделия;

[8]

- наличие сложной и трудоемкой в изготовлении детали - усиливающего П-образного элемента с тремя вырезами для выхода шарниров петель и рядом отверстий для наложения дополнительных сварочных швов для крепления удлиненных хвостовиков шарнирных петель.

[9]

Несмотря на отсутствие сверлильных и клепальных работ по установке креплении шарнирных петель, отмеченные конструктивные и технологические недостатки известной крышки люков [3] вызывают повышенную ее трудоемкость, соответственно себестоимость, и препятствуют высокопроизводительному серийному выпуску таких крышек люков.

[10]

Задачей предлагаемой полезной модели является дальнейшее совершенствование конструкции крышки люка со сварным креплением шарнирных петель, повышение технологичности ее сборки, сварки и изготовления деталей.

[11]

Техническим результатом предлагаемой полезной модели «Крышка люка полувагона» является повышение производительности сборочно-сварочных работ при серийном изготовлении, снижение трудоемкости и себестоимости изготовления изделия.

[12]

Для достижения технического результата, в предлагаемой крышке люка полувагона, включающей прямоугольный настил, запорные кронштейны, несущие поперечные и продольные элементы, усиливающий П-образный в сечении продольный элемент и содержащей шарнирные петли с удлиненными хвостовиками, соединенные с помощью сварки с прямоугольным настилом и с усиливающим П-образным продольным элементом, шарнирные петли с удлиненными хвостовиками выполнены со ступенчатым основанием и наложены этим основанием на прямоугольный настил и на усиливающий П-образный продольный элемент. При этом сварные швы, соединяющие шарнирную петлю с прямоугольным настилом и с усиливающим П-образным продольным элементом, выполнены по наружному контуру прилегания ступенчатого основания шарнирной петли к прямоугольному настилу и к усиливающему П-образному продольному элементу. Последний своими торцами сварен с несущими поперечными элементами, которые смещены к краям прямоугольного настила для создания дистанционных зазоров, обеспечивающих возможность наложения сварных наружных швов для приварки крайних шарнирных петель к усиливающему П-образному продольному элементу. В углах соединений усиливающего П-образного продольного элемента с несущими поперечными элементами установлены горизонтальные ребра-накладки, перекрывающие углы этих соединений, а также зоны установки и приварки крайних шарнирных петель.

[13]

В конструкции предлагаемой крышки люка полувагона применяется унифицированный для всех конструкций крышек люков листовой настил с гофрами, штампованный или получаемый путем порезки специального прокатного листа с периодическими гофрами, несущие элементы (детали) выполнены из стандартных гнутых швеллеров, а продольный усиливающий элемент - в виде простой гнутой детали без вырезов и отверстий. Оригинальными деталями являются три шарнирные петли со ступенчатым основанием, привариваемые на металлоконструкцию крышки люка наружными швами.

[14]

Краткое описание чертежей

[15]

Фиг.1 - Общий вид крышки люка (в функциональном положении), аксонометрическое изображение. Показаны прямоугольный настил, шарнирные петли с удлиненными хвостовиками, несущие продольные и поперечные элементы.

[16]

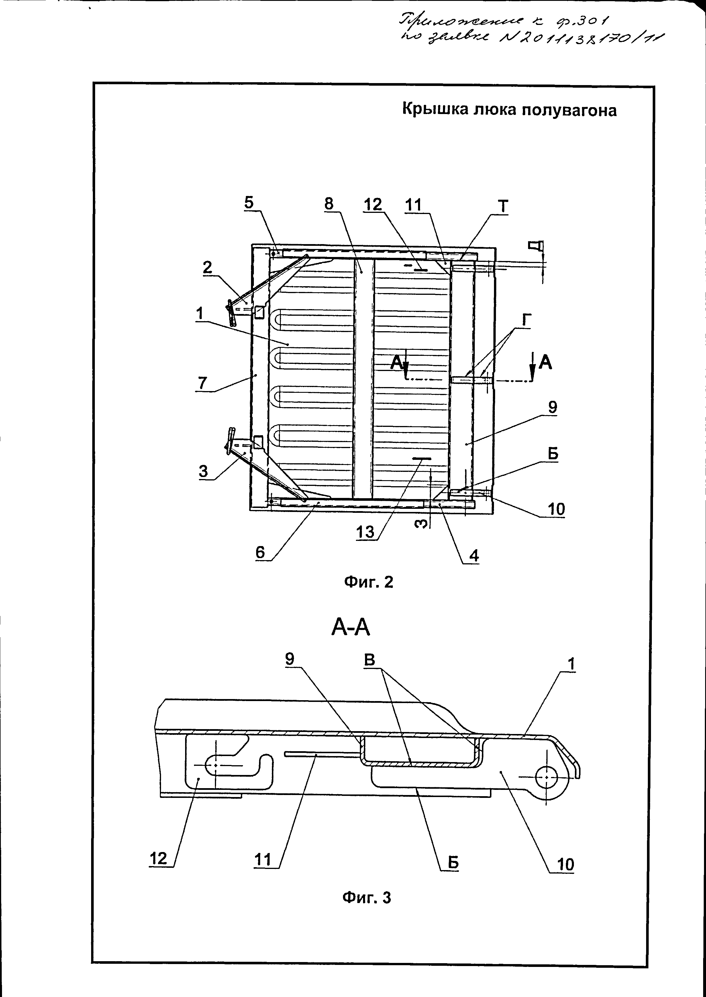
Фиг.2 - Общий крышки люка (в перевернутом положении), вид снизу, плоское изображение. Показаны прямоугольный настил, усиливающие продольные и поперечные элементы настила, установленные шарнирные петли со ступенчатым основанием и ребра-накладки в углах соединений усиливающих элементов;

[17]

Фиг.3 - Разрез по А-А на фиг.2. Показано поперечное сечение крышки люка в месте установки и приварки шарнирной петли с удлиненным хвостовиком и ступенчатым основанием.

[18]

Осуществление полезной модели (устройство и принцип действия)

[19]

Крышка люка, фиг.1 и 2, является 1/14 частью плоского металлического пола кузова универсального полувагона. Плоский пол полувагона выполнен из 14 крышек люков (по семь с каждой стороны хребтовой балки). В опущенном (открытом) состоянии каждая крышка люка опирается на приваренные к поперечным балкам рамы упоры, располагаясь под углом ~33° к горизонтали для выгрузки сыпучих грузов.

[20]

Предлагаемая крышка люка состоит из гофрированного прямоугольного настила 1, фиг.1 и 2, двух запорных кронштейнов 2 и 3 (левого и правого исполнений), несущих поперечных элементов 4 и 5, выполненных из узких гнутых швеллеров с накладками 6, несущих продольных элементов 7 и 8 и усиливающего, П-образного в сечении, продольного элемента 9. Крышка люка содержит шарнирные петли 10 с удлиненными хвостовиками «Б». Шарнирные петли с удлиненными хвостовиками выполнены со ступенчатым основанием «В» и наложены этим основанием на прямоугольный настил 1 и на усиливающий П-образный продольный элемент 9. При этом сварные швы, соединяющие шарнирную петлю 10 с прямоугольным настилом 1 и с усиливающим П-образным продольным элементом 9, наложены по наружному контуру «Г» прилегания ступенчатого основания шарнирной петли к прямоугольному настилу и к усиливающему П-образному продольному элементу 9. Последний своими торцами «Т» сварен с несущими поперечными элементами 4 и 5, которые смещены к краям «К» прямоугольного настила 1 для создания дистанционных зазоров «Д», обеспечивающих возможность выполнения сварных швов для соединений крайних шарнирных петель 10 с усиливающим П-образным продольным элементом 9. В углах соединений усиливающего П-образного продольного элемента 9 с несущими поперечными элементами 4 и 5 установлены горизонтальные ребра-накладки 11, перекрывающие углы этих соединений, а также зоны «З» установки и приварки крайних шарнирных петель 10.

[21]

Наличие дистанционных зазоров «Д», фиг.2, позволяет без затруднений произвести приварку удлиненных хвостовиков «Б» крайних шарнирных петель 10 к усиливающему П-образному продольному элементу 9 наружной полуавтоматической сваркой. Сборка всех составляющих элементов крышки люка производится на прямоугольном настиле, установленном в одном стенде, с установкой и приваркой всех элементов в прижатом состоянии. Предварительная сборка и сварка составляющих сборочных единиц крышки люка не требуется. Контроль сварных швов производится на полностью собранной и сваренной крышке люка. Установка торсиона (на чертежах не показан) обеспечивается кронштейнами 12 и 13 и производится при монтаже крышки люка на полувагон.

[22]

Предприятием-заявителем разработаны рабочие чертежи и изготовлены опытные образцы крышки люка, предлагаемой в качестве полезной модели. Предлагаемая рышка люка успешно прошла ударные испытания, освоение ее выпуска планируется на двух смежных предприятиях для комплектации серийных полувагонов моделей 12-9790 и полувагонов нового поколения модели 12-9791 производства ПАО «Дизельный завод».

[23]

Источники информации:

[24]

1. Монография «Вагоностроительные конструкции. Изготовление, модернизация, ремонт» под редакцией Б.Г.Цыгана, издательство «Кременчуг», 2005 г., стр.161, рис.2-40, УДК 625.23/24.002: 621.791.

[25]

2. Сборочный чертеж №119.45.020-0 «Крышка люка полувагона» предприятия «УралТрансМаш, http://www.utransmash.ru.

[26]

3. Патент Российской Федерации №99408 на полезную модель «Крышка люка универсального полувагона», МПК B61D 17/00, МПК B61D 17/04.

Как компенсировать расходы
на инновационную разработку
Похожие патенты