Термостат для системы охлаждения двигателя автомобиля, содержащий корпус, выполненный из двух выполненных из полимерного материала соединяемых между собой частей с фланцем, предназначенным для крепления его к рубашке охлаждения двигателя, и с патрубками для сообщения с радиатором и насосом, а также расположенный внутри одной из частей корпуса перепускной клапан седлового типа с термочувствительным элементом, предназначенный для изменения направления потока охлаждающей жидкости от двигателя к насосу на направление потока жидкости от двигателя к насосу через радиатор и выполненный с плоским опорным элементом для закрепления этого клапана в корпусе от осевого перемещения, отличающийся тем, что на стенке части корпуса, в которой размещен перепускной клапан, напротив друг друга выполнены выступы с пазом каждый, выполненным в окружном направлении и имеющим дно и стенки, а плоский опорный элемент этого клапана выполнен с ушками, предназначенными для размещения в указанных пазах при вводе этого клапана своими ушками в пространство части корпуса между выступами и поворота опорного элемента в окружном направлении до размещения ушек в пазах.
Термостат для системы охлаждения двигателя автомобиля, содержащий корпус, выполненный из двух выполненных из полимерного материала соединяемых между собой частей с фланцем, предназначенным для крепления его к рубашке охлаждения двигателя, и с патрубками для сообщения с радиатором и насосом, а также расположенный внутри одной из частей корпуса перепускной клапан седлового типа с термочувствительным элементом, предназначенный для изменения направления потока охлаждающей жидкости от двигателя к насосу на направление потока жидкости от двигателя к насосу через радиатор и выполненный с плоским опорным элементом для закрепления этого клапана в корпусе от осевого перемещения, отличающийся тем, что на стенке части корпуса, в которой размещен перепускной клапан, напротив друг друга выполнены выступы с пазом каждый, выполненным в окружном направлении и имеющим дно и стенки, а плоский опорный элемент этого клапана выполнен с ушками, предназначенными для размещения в указанных пазах при вводе этого клапана своими ушками в пространство части корпуса между выступами и поворота опорного элемента в окружном направлении до размещения ушек в пазах.
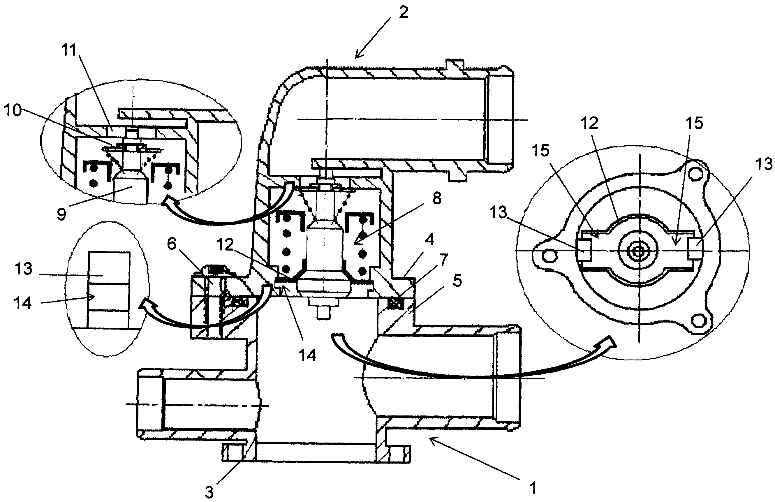
Полезная модель относится к приборам контроля и регулирования температуры движущейся жидкой среды, а именно к термостатам системы охлаждения автомобильных двигателей. Известен термостат для автомобильных двигателей (Автомобили ВА3-2108 - ВАЗ 21099. Руководство по ремонту, эксплуатации и обслуживанию. Издательство г.Москва, «РусьАвтокнига», 2001 г., составители: Яметов В.А., и др., стр.47, рис.2-72), состоящий из корпуса с входным патрубком (от двигателя) и выходным патрубком (к насосу) и крышки с входным патрубком (от радиатора) и патрубком (от расширительного бачка). Корпус и крышка завальцованы вместе с седлом основного клапана, поджимаемого пружиной. Основной клапан напрессован на стакан, в котором завальцована резиновая вставка. В резиновой вставке находится стальной полированный поршень, закрепленный одним концом в гайке неподвижного держателя. Между стенками стакана и резиновой вставкой имеется твердый термочувствительный наполнитель. На стержне, являющемся продолжением стакана, закреплен перепускной клапан с возвратной пружиной. Принято в качестве прототипа для заявленного объекта. Недостатком рассмотренной конструкции термостата, содержащей перепускной клапан для изменения направления потока охлаждающей жидкости (по малому или большому контуру системы охлаждения) с термочувствительным датчиком с твердым термореактивным наполнителем, является то, что в процессе эксплуатации этот клапан с датчиком часто выходит из строя, что приводит к замене нефункционирующего термостата на новый работающий. Такая замена обусловлена тем, что датчик неразъемно зафиксирован между частями корпуса и не подлежит изъятию. Сам термостат представляет собой, в общем виде, два узла: корпус и перепускной клапан с встроенным в него термочувствительным датчиком. Корпус не выходит из строя, легко демонтируется с двигателя и может быть разобран на две части путем вывинчивания болтов. Перепускной клапан с термочувствительным датчиком представляет собой неразборный узел. Поэтому целесообразно было бы, чтобы конструкция термостата позволяла бы производить замену клапана, что позволило бы существенно повысить ремонтопригодность термостата и обеспечила бы возможность проведения ремонта вне условий сервиса. Таким образом, известный термостат имеет недостаточно высокие технико-эксплуатационные показатели. Настоящая полезная модель направлена на достижение технического результата, заключающегося в повышении технико-эксплуатационных показателей и повышении ее ремонтопригодности. Технический результат достигается за счет того, что в термостате для системы охлаждения двигателя автомобиля, содержащем корпус, выполненный из двух соединяемых между собой частей с фланцем, предназначенным для крепления его к рубашке охлаждения двигателя, и с патрубками для сообщения с радиатором и насосом, а так же расположенный внутри одной из частей корпуса перепускной клапан седлового типа с термочувствительным элементом, предназначенный для изменения направления потока охлаждающей жидкости от двигателя к насосу на направление потока жидкости от двигателя к насосу через радиатор и выполненный с плоским опорным элементом для закрепления этого клапана в корпусе от осевого перемещения, на стенке части корпуса, в которой размещен перепускной клапан, напротив друг друга выполнены выступы с пазом каждый, выполненным в окружном направлении и имеющим дно и стенки, а плоский опорный элемент этого клапана выполнен с ушками, предназначенными для размещения в указанных пазах при вводе этого клапана своими ушками в пространство части корпуса между выступами и поворота опорного элемента в окружном направлении до размещения ушек в пазах. Полезная модель поясняется конкретным примером исполнения, который, однако, не является единственно возможным, но наглядно демонстрирует возможность достижения требуемого технического результата. На фиг.1 представлен общий вид термостата с продольным разрезом. Термостат состоит из двух частей корпуса 1 и 2. Эти детали могут быть выполнены металлическими, но целесообразно, чтобы эти детали были выполнены из полимерного материала, например, стеклонаполненного, в частности, полиамида, со степенью наполнения стеклонаполнителем 30-65%, являющегося материалом стойким к воздействию агрессивных сред (в том числе и тосола), поэтому не происходит разрушение поверхностей, по которым происходит уплотнение при закрытии. На части 1 корпуса расположены фланец 3 для соединения с рубашкой охлаждения двигателя и патрубки для сообщения с радиатором (не показан) (для подсоединения отводящего шланга радиатора) и для сообщения с системой отопления (не показана). На части 2 корпуса расположены патрубки для подсоединения подводящего шланга радиатора и шланга к «водяному» насосу соответственно. Эта часть 2 выполнена с фланцем 4, посредством которого эта часть корпуса присоединяется к фланцу 5 части 1 корпуса и скрепляется болтами 6. Между фланцами размещается уплотнительное кольцо 7 для герметизации стыка. Крепление посредством соединяемых фланцев является одним из примеров разъемного соединения элементов термостата, что позволяет разъединить обе части корпуса термостата и обеспечить доступ к полости, в которой размещен перепускной клапан, выполненный со встроенным термочувствительным элементом. В одной из частей корпуса, например в части 2, выполнено седло для перепускного клапана 8, который съемно закреплен в этой части корпуса. Перепускной клапан выполнен седлового типа с термочувствительным элементом и предназначен для изменения направления потока охлаждающей жидкости от двигателя к насосу на направление потока жидкости от двигателя к насосу через радиатор путем перекрытия канала сообщения полости части 1 корпуса с полостью части 2 корпуса. Перекрытие осуществляется посадкой тарелки 10 перепускного клапана в седло 11 в корпусе. Перепускной клапан полностью располагается в полости части 2 корпуса. Перепускной клапан выполнен с плоским опорным элементом 12 для закрепления этого клапана в части 2 корпуса от осевого перемещения. А на стенке части 2 корпуса, в которой размещен перепускной клапан, напротив друг друга выполнены радиально направленные выступы 13 (два напротив друг друга расположенных выступа) с пазом 14 каждый, выполненным в окружном направлении и имеющим дно и стенки. Плоский опорный элемент этого клапана выполнен с ушками 15, предназначенными для размещения в указанных пазах 14 при вводе этого клапана своими ушками в пространство части корпуса между выступами и поворота опорного элемента в окружном направлении до размещения ушек в пазах. Таким образом, для установки перепускного клапана на посадочное место в части корпуса, в которой предусмотрено седло (отверстие), необходимо ввести этот клапан в полость части корпуса стороной, на которой расположена тарелка 10, так, чтобы ушки 15 опорного элемента 12 были размещены между выступами 13. Затем оказывают давление на опорный элемент 12 так, чтобы сжать упругий элемент перепускного клапана и расположить ушки напротив пазов в выступах. Затем в окружном направлении при сохранении приложенного усилия перемещают ушки и заводят их в пазы, отпускают усилие на опорный элемент, и опорный элемент своими ушками упирается в стенку паза в каждом выступе. Демонтаж перепускного клапана осуществляется в обратном порядке. Заявленный термостат работает таким же образом, как и в прототипе и в любом другом известном устройстве, которое используется в качестве термостата для двигателя автомобиля в системе его жидкостного охлаждения. Предлагаемая конструкция термостата имеет высокие потребительские свойства за счет повышения его ремонтопригодности, обусловленной тем, что возможно в случае несрабатывания клапана произвести его замену с установкой в старый корпус и без необходимости замены всего термостата в целом.