патент
№ RU 110772
МПК E04B1/38

УЗЕЛ СОЕДИНЕНИЯ РИГЕЛЯ С КОЛОННОЙ

Авторы:
Бобошко Владимир Иванович Семченков Алексей Степанович Манцевич Антон Юрьевич
Все (4)
Правообладатель:
Все (4)
Номер заявки
2011128881/03
Дата подачи заявки
13.07.2011
Опубликовано
27.11.2011
Страна
RU
Как управлять
интеллектуальной собственностью
Чертежи 
5
Реферат

1. Узел соединения ригеля с колонной, включающий колонну заводского изготовления с отверстием на уровне ригеля, ригель, выполненный в сборно-монолитном исполнении в виде верхней монолитной и нижней сборной частей с горизонтальными углублениями в торцевой части, включающий опорную арматуру, проложенную через отверстие колонны, и выпуски поперечной арматуры петлевидного очертания на верхней грани сборной части ригеля, отличающийся тем, что в колонне на уровне верхней монолитной части ригеля через вертикально вытянутое овального сечения отверстие с фасками пропущено не менее двух вертикально объединенных стержней, образующих жесткое коромысло, к которому через выпуски поперечной арматуры крепится сборная часть ригеля прямоугольного или трапециевидного сечения, а на торцах сборной части ригеля, наклонных к вертикали или нет, и на гранях колонны выполнены вертикально вытянутые трапециевидные пазы, в которых путем омоноличивания образуют шпонки-смятия, при этом арматурный каркас колонны вокруг отверстия усилен дополнительной арматурой в виде хомутов или сеток косвенного армирования, а в нижней части торцов сборной части ригеля в выемках размещены закладные пластины для связи смежных ригелей затяжками. ! 2. Узел соединения ригеля с колонной по п.1, отличающийся тем, что петлевидными выполнены крайние расчетные выпуски поперечной арматуры сборной части ригеля, а последующие выпуски включены в состав вертикальных каркасов монолитной части ригеля. ! 3. Узел соединения ригеля с колонной по пп.1 и 2, отличающийся тем, что при ширине по низу сборной части ригеля, большей ширины колонны, затяжки и закладные пласти

Формула изобретения

1. Узел соединения ригеля с колонной, включающий колонну заводского изготовления с отверстием на уровне ригеля, ригель, выполненный в сборно-монолитном исполнении в виде верхней монолитной и нижней сборной частей с горизонтальными углублениями в торцевой части, включающий опорную арматуру, проложенную через отверстие колонны, и выпуски поперечной арматуры петлевидного очертания на верхней грани сборной части ригеля, отличающийся тем, что в колонне на уровне верхней монолитной части ригеля через вертикально вытянутое овального сечения отверстие с фасками пропущено не менее двух вертикально объединенных стержней, образующих жесткое коромысло, к которому через выпуски поперечной арматуры крепится сборная часть ригеля прямоугольного или трапециевидного сечения, а на торцах сборной части ригеля, наклонных к вертикали или нет, и на гранях колонны выполнены вертикально вытянутые трапециевидные пазы, в которых путем омоноличивания образуют шпонки-смятия, при этом арматурный каркас колонны вокруг отверстия усилен дополнительной арматурой в виде хомутов или сеток косвенного армирования, а в нижней части торцов сборной части ригеля в выемках размещены закладные пластины для связи смежных ригелей затяжками.

2. Узел соединения ригеля с колонной по п.1, отличающийся тем, что петлевидными выполнены крайние расчетные выпуски поперечной арматуры сборной части ригеля, а последующие выпуски включены в состав вертикальных каркасов монолитной части ригеля.

3. Узел соединения ригеля с колонной по пп.1 и 2, отличающийся тем, что при ширине по низу сборной части ригеля, большей ширины колонны, затяжки и закладные пластины защищают омоноличиванием по сеткам, а при равной ширине затяжки пропускают мимо колонны или в устроенных в колонне нишах с последующим омоноличиванием по спиралям и/или по сеткам.

4. Узел соединения ригеля с колонной по пп.1-3, отличающийся тем, что арматура коромысла на участке длины отверстия дополнительно защищена антикоррозионными покрытиями, а с обеих сторон от отверстия дополнительно установлены вытянутые замкнутые хомуты и вертикальные арматурные стержни.

5. Узел соединения ригеля с колонной по пп.1-4, отличающийся тем, что в верхней части овального отверстия дополнительно к фаскам выполнен уклон в одну или в две стороны так, что верх отверстия может выступать над монолитной частью ригеля.

Описание

[1]

Техническое решение относится к области строительства и может быть использовано в рамных стыках сборных многоэтажных колонн заводского изготовления и сборно-монолитных длинномерных ригелей в железобетонном каркасе здания.

[2]

Известно сборно-монолитное гладкое перекрытие, в котором многопустотные плиты перекрытий опираются пустотами на шпонки монолитного плоского главного ригеля и дополнительно соединяются с ним арматурными выпусками из торцов ребер плит, при этом в швах между плитами устроены монолитные прогоны, продольная арматура которых заходит в ригели, а в створе колонн устроены монолитные связевые ригели, верхняя и нижняя арматура которых, как и у главных ригелей проходит сквозь колонну через проем с оголенной арматурой на высоту перекрытия (Рекомендации по проектированию конструкций плоского сборно-монолитного перекрытия «Сочи». - М, Стройиздат, 1975 г.).

[3]

Недостатком этого решения является большой объем монолитного бетона в ригелях и сложность контролирования его качества в проемах колонн.

[4]

Известен рамный стык ригеля с колонной в сейсмостойком каркасе, в котором в колоннах при изготовлении устанавливают арматурные выпуски и скрытые консоли из уголков, на которые опирают нижними торцевыми выпусками ригели таврового сечения с нижней полкой и верхними выпусками, свариваемыми с соосно расположенными выпусками в колоннах, на торцах ригелей и на боковых гранях колонн предусмотрены треугольные пазы для образования после омоноличивания стыка шпонок среза, воспринимающих часть вертикальной сдвигающей силы (Отчет ФГУП НТЦСС по теме «Проведение научно-исследовательских и опытно-конструкторских работ по оценке уровня сейсмической опасности территории Сахалинской области», СПб, 2009 г.).

[5]

Недостатками данного решения являются: выступающие из колонны арматурные выпуски и уголки, требующие большого парка форм при изготовлении длинных колонн с различной высотой этажей; из-за сложности обеспечения соосности верхних выпусков из колонн и ригелей в последних выпуски оголены на значительную длину, чтобы можно было их подгибать; выступающие из торцов ригеля арматурные выпуски разрезают форму, а верхние выпуски еще и существенно усложняют конструкцию формы и затрудняют бетонирование опорных зон ригелей; треугольные шпонки-среза при сдвиге имеют невысокую прочность и разрушаются хрупко от среза при небольших деформациях.

[6]

Наиболее близким техническим решением является узел соединения ригеля с колонной, в котором длинные многоэтажные колонны в месте стыка имеют сквозные отверстия на высоту сборно-монолитного ригеля с напрягаемой нижней арматурой, который опирается между оголенной вертикальной арматурой в проемах колонны нижними торцевыми выпусками длиной менее половины ширины колонны. На торцевых гранях ригеля устроено по две треугольные шпонки-среза. Верхняя опорная арматура состоит из трех, горизонтально расположенных на одном уровне стержней, при этом только средний стержень охватывается вертикальными петлевыми выпусками, выступающими из верхней грани сборной части ригеля, а два других проходят снаружи выпусков (Патент RU 2184816 С1, МПК Е04В 1/20, опуб. 10.07.2002, бюл. №19).

[7]

Недостатками данного технического решения являются: крупные сквозные отверстия с обнаженной продольной арматурой, сложные в изготовлении и значительно снижающие жесткость и прочность наиболее ответственного элемента каркаса - колонн при складировании, транспортировании, монтаже и эксплуатации; трудности с обеспечением проектной плотности и прочности монолитного бетона колонн в стыке и контролем его качества, особенно в холодное время года; удлинение сроков строительства из-за ожидания набора прочности монолитным бетоном в стыке колонн; не схватывание вертикальными выпусками двух крайних опорных стержней снижает прочность опорной зоны и огнестойкость сборно-монолитного ригеля; малая длина анкеровки нижних опорных выпусков из торцов ригелей не позволяет их учитывать для восприятия моментов в стыке, продольного растяжения ригеля и вертикального сдвига сопряжения поперечной силой; торцевые выпуски арматуры из ригелей усложняют оснастку (формы) и монтаж ригелей, допуская их установку в проемы, только в наклонном положении; натяжение нижней арматуры в сборных элементах ригелей с рамными стыками мало эффективны, но требуют жестких дорогостоящих силовых металлических форм, возможное количество формовок в которых в два-три раза меньше, чем в простых и легких формах для ненапрягаемых чисто прямоугольных ригелей или трапециевидных с минимальным технологическим уклоном на боковых гранях; отверстие выполнено без фасок и не выступает над монолитной частью ригеля.

[8]

Предлагаемое техническое решение направлено на достижение технического результата, заключающегося в сокращении сроков монтажа, стоимости, материалоемкости, трудоемкости узла, и одновременно расширяющего его конструктивно-планировочные возможности за счет применения многоэтажных колонн, большепролетных ригелей и плит, изготавливаемых в имеющихся на заводах металлических формах и/или по существующим технологиям и на существующем оборудовании. При этом техническими задачами является увеличение прочности и жесткости ствола колонны в зоне вертикального сопряжения по контакту ригеля с колонной при различных воздействиях моментов, продольных и поперечных сил обоих знаков.

[9]

Для достижения технического результата в узле соединения ригеля с колонной, включающем колонну заводского изготовления, ригель, выполненный в сборно-монолитном исполнении в виде верхней монолитной и нижней сборной частей, с горизонтальными углублениями в торцевой части, опорную арматуру, проложенную через отверстие колонны, и выпуски поперечной арматуры петлевидного очертания на верхней грани сборной части ригеля, в колонне на уровне верхней монолитной части ригеля через вертикально вытянутое овального сечения отверстие с фасками пропущено не менее двух вертикально объединенных стержней, образующих жесткое коромысло, к которому через выпуски поперечной арматуры крепится сборная часть ригеля прямоугольного или трапециевидного сечения, а на торцах сборной части ригеля, наклонных к вертикали или нет, и на гранях колонны выполнены вертикально вытянутые трапециевидные пазы, в которых путем омоноличивания образуют шпонки-смятия, при этом арматурный каркас колонны вокруг отверстия усилен дополнительной арматурой в виде хомутов или сеток косвенного армирования, а в нижней части торцов сборной части ригеля в выемках размещены закладные пластины для связи смежных ригелей затяжками. При этом петлевидными выполнены крайние расчетные выпуски поперечной арматуры сборной части ригеля, а последующие выпуски включены в состав вертикальных каркасов монолитной части ригеля. Если ширина по низу сборной части ригеля больше ширины колонны, затяжки и закладные пластины защищают омоноличиванием по сеткам, а при равной ширине затяжки пропускают мимо колонны или в устроенных в колонне нишах с последующим омоноличиванием по спиралям и/или по сеткам. Арматура коромысла на участке длины отверстия дополнительно защищена антикоррозионными покрытиями, а с обеих сторон от отверстия дополнительно установлены вытянутые замкнутые хомуты и вертикальные арматурные стержни. Для обеспечения качества омоноличивания отверстия в верхней части овального отверстия дополнительно к фаскам выполнен уклон в одну или в две стороны так, что верх отверстия может выступать над монолитной частью ригеля.

[10]

Отличительными признаками заявляемого узла соединения ригеля с колонной от прототипа являются: размеры, форма, армирование и размещение отверстий в колонне для прокладки жесткого коромысла; конструкция жесткого коромысла в виде не менее двух вертикально объединенных стержней; наличие на колонне и торцах сборной части ригеля горизонтальных углублений трапециевидного сечения для создания монолитной шпонки-смятия; наклоном в вертикальной плоскости торцевой грани сборной части ригеля; наличие жесткой связи нижних частей смежных ригелей между собой стяжками; конструкцией выпусков на верхней грани сборной части ригеля.

[11]

Благодаря наличию этих признаков в заявляемом техническом решении достигается повышение прочности колонны в стыке до существенно больших значений за счет установки дополнительного армирования вокруг отверстия. Достижение высокой прочности стыка ригеля с колонной на вертикальный сдвиг по контакту ригеля и колонны обеспечивается одновременной совместной работой всех составляющих стыка: колонны, шпонок, арматуры ригеля, стяжек и коромысла. Одновременно сокращаются сроки монтажа, трудоемкость каркаса и расширяются его конструктивно-планировочные возможности за счет применения многоэтажных колонн, большепролетных ригелей и плит, изготавливаемых в имеющихся на заводах металлических формах по существующим технологиям и на существующем оборудовании.

[12]

Сущность заявляемого технического решения поясняется следующими чертежами:

[13]

фиг.1 - общий вид стыка ригеля с колонной (сбоку);

[14]

фиг.2 - то же, вид спереди - сечение 1-1 на фиг.1;

[15]

фиг.3 - армирование ствола колонны хомутами вокруг отвествия (вид сбоку);

[16]

фиг.4 - то же, вид сверху - сечение 1-1 на фиг.3;

[17]

фиг.5 - усиленное армирование сетками ствола колонны вокруг отверстия;

[18]

фиг.6 - сечение 1-1 на фиг.5;

[19]

фиг.7 - сечение 2-2 на фиг.5;

[20]

фиг.8 - стык при ширине ребра ребра ригеля больше ширины колонны;

[21]

фиг.9 - сечение 1-1 на фиг.8;

[22]

фиг.10 - стык при одинаковой ширине ребра ригеля и колонны;

[23]

фиг.11 -сечение 1-1 на фиг.10;

[24]

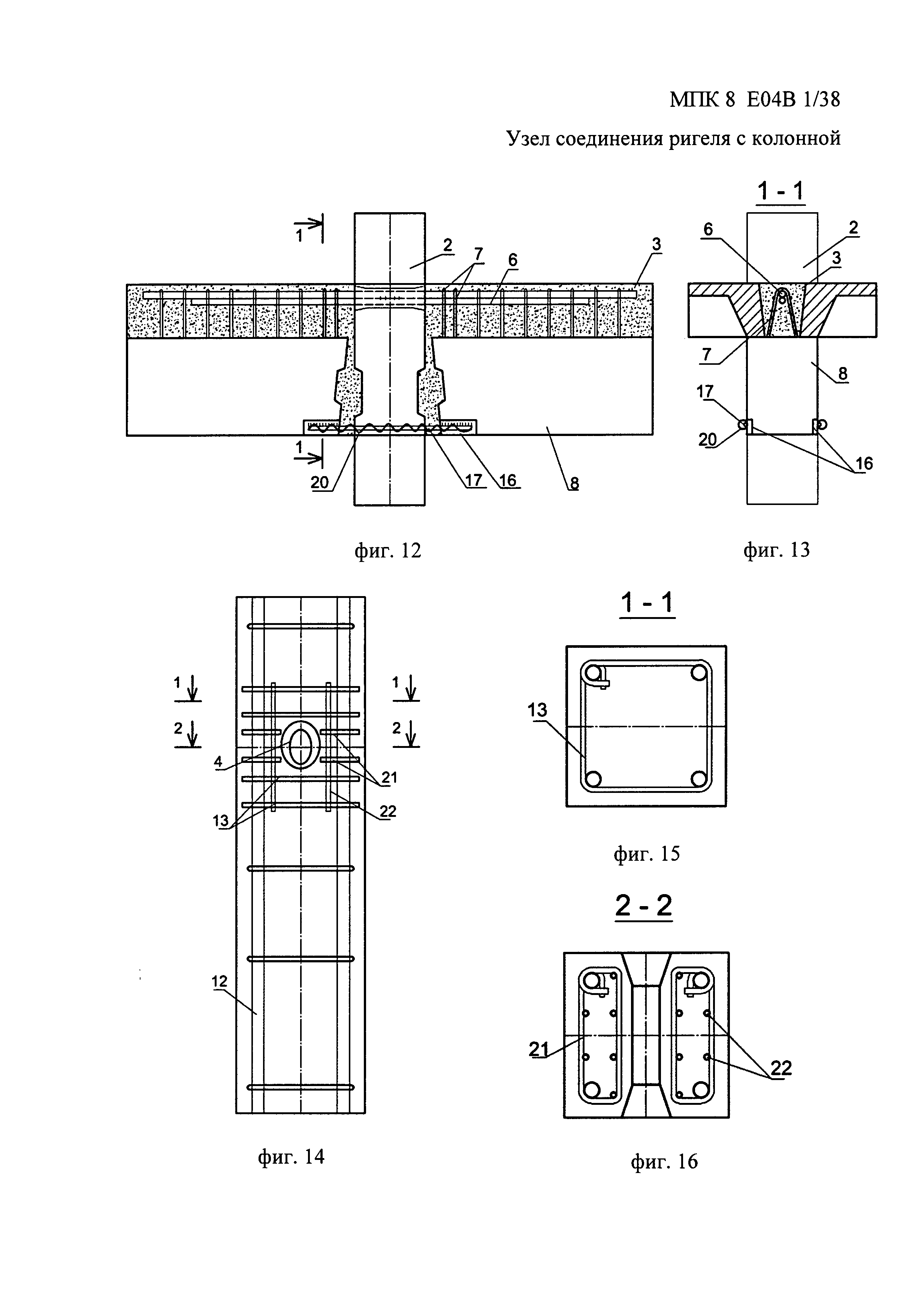
фиг.12 - стык при отсутствии ниш в ребре ригеля;

[25]

фиг.13 - сечение 1-1 на фиг.12;

[26]

фиг.14 - усиленное армирование хомутами и вертикальными стержнями ствола колонны с боков отверстия;

[27]

фиг.15 - сечение 1-1 на фиг.14;

[28]

фиг.16 - сечение 2-2 на фиг.14;

[29]

фиг.17 - разрез колонны с двусторонними уклонами и фасками в отверстии;

[30]

фиг.18 - сечение 1-1 на фиг.17;

[31]

фиг.19 - разрез колонны с односторонним уклоном и фасками в отверстии;

[32]

фиг.20 - сечение 1-1 на фиг.19;

[33]

фиг.21 - разрез колонны с двусторонними уклонами отверстия без фасок;

[34]

фиг.22 - сечение 1-1 на фиг.21;

[35]

фиг.23 - разрез колонны с односторонним уклоном отверстия без фасок;

[36]

фиг.24 - сечение 1-1 на фиг.23.

[37]

В заявляемом узле соединения ригеля 1 с колонной 2 (фиг.1), в колонне 2 на уровне верхней монолитной части 3 ригеля через вертикально вытянутое овального сечения отверстие 4 с фасками 5 пропущено коромысло 6. Коромысло 6 выполнено в виде не менее двух вертикально объединенных стержней арматуры. К коромыслу 6 через выпуски поперечной арматуры 7 крепится сборная часть 8 ригеля 1 прямоугольного или трапециевидного сечения. На торцах 9 сборной части 8 ригеля 1, наклонных к вертикали или нет, и на гранях колонны 2 выполнены вертикально вытянутые трапециевидные пазы 10, в которых путем омоноличивания образуют шпонки-смятия 11. Арматурный каркас 12 колонны 2 вокруг отверстия 4 усилен дополнительной арматурой в виде хомутов 13 (фиг.3-4) или сеток косвенного армирования 14 (фиг.5-7). В нижней части торцов 9 сборной части 8 ригеля 1 в выемках 15 размещены закладные пластины 16 для связи смежных ригелей 1 затяжками 17 (фиг.2). Петлевидными выполнены только крайние расчетные выпуски 7 поперечной арматуры сборной части 8 ригеля 1, а последующие выпуски 7 включены в состав вертикальных каркасов монолитной части 3 ригеля 1. Если ширина по низу сборной части 8 ригеля 1 больше ширины колонны 2, затяжки 17 и закладные пластины 16 защищают омоно-личиванием по сеткам 18 (фиг.8-9). При равной ширине, затяжки 17 пропускают мимо колонны 2 (фиг.12-13) или в устроенных в колонне 2 нишах 19 (фиг.10-11) с последующим омоноличиванием по спиралям 20 и/или по сеткам 18. Арматура коромысла 6 на участке длины отверстия 4 дополнительно защищена антикоррозионными покрытиями. С обеих сторон от отверстия 4 могут быть дополнительно установлены вытянутые замкнутые хомуты 21 и вертикальные арматурные стержни 22 (фиг.14-16). Для обеспечения качества омоноличивания отверстия в верхней части овального отверстия 4 дополнительно к фаскам 5 выполнен уклон 23 (фиг.17-24) в одну или в две стороны так, что верх отверстия может выступать над монолитной частью 3 ригеля 1.

[38]

Узел соединения ригеля с колонной собирают следующим образом. К колонне 2 подводят и выставляют ригель 1 в проектном положении. Через отверстие 4 колонны 2 и выпуски поперечной арматуры 7 сборной части 8 ригеля 1 пропускают коромысло 6. В этом положении закрепляют ригель 1, опирая его на коромысло 6 с помощью выпусков поперечной арматуры 7 и последующими монтажом плит и омоноличиванием отверстия 4, монолитной части 3 ригеля 1 и пространства между ригелем 1 и колонной 2.

[39]

Смежные ригели 1 соединяют между собой с помощью затяжек 17 с последующим омоноличиванием стяжек по сеткам 18 и/или спиралям 20.

[40]

Проведенные исследования по патентным и научно-техническим источникам свидетельствуют, что предлагаемое техническое решение неизвестно и не следует явным образом из изученного уровня техники, а, следовательно, соответствует критерию «новизна».

[41]

Заявляемый узел соединения ригеля с колонной с технологичен, может быть изготовлен в условиях предприятия, выпускающего железобетонные изделия, с использованием стандартного отечественного или импортного оборудования, известных технологий и материалов. Таким образом, заявляемый узел соединения ригеля с колонной соответствует критерию «промышленная применимость».

Как компенсировать расходы
на инновационную разработку
Похожие патенты