патент
№ RU 10737
МПК E01F5/00

ГОФРИРОВАННАЯ ВОДОПРОПУСКНАЯ ТРУБА ПОД НАСЫПЬЮ

Авторы:
Михайловский Леонид Ефимович (CA)
Номер заявки
99101497/20
Дата подачи заявки
25.01.1999
Опубликовано
16.08.1999
Страна
RU
Как управлять
интеллектуальной собственностью
Чертежи 
2
Реферат

Гофрированная водопропускная труба под насыпью, включающая тело трубы, оголовок, грунтовую подушку, размещенную в котловане, и грунтовую засыпку, причем тело трубы состоит из верхней арочной части, образованной из имеющих общую опорную площадку гофрированной металлической арки и объединенной с ней железобетонной арки и нижней гофрированной металлической части - лотка, уложенной на грунтовую подушку и соединенной с опорной площадкой верхней арочной части посредством упругоскользящего соединения, отличающаяся тем, что оголовок снабжен портальными стенками, жестко соединенными с торцами верхней и нижней арочных частей трубы, при этом каждая портальная стенка разделена на расположенные в смежных параллельных плоскостях с возможностью вертикального перемещения друг относительно друга верхнюю часть, соединенную с верхней арочной частью, и нижнюю часть, соединенную с нижней арочной частью, а между плоскостями соприкосновения верхней и нижней частей портальной стенки выполнен деформационный шов, представляющий собой зазор шириной 15 - 20 мм, заполненный пластичным гидроизоляционным материалом, причем длина верхней части портальной стенки равнаB = S + mh/tgα, м,длина нижней части портальной стенки равнаb = S - 6 м,где B, b - длина соответственно верхней и нижней частей портальной стенки, м;S - ширина отверстия трубы, м;0,8 ≅ m ≅ 1 - коэффициент условий работы;h - высота верхней части портальной стенки до уровня проезда, м;α - угол наклона откоса в направлении продольной оси насыпи, град.

Формула изобретения

Гофрированная водопропускная труба под насыпью, включающая тело трубы, оголовок, грунтовую подушку, размещенную в котловане, и грунтовую засыпку, причем тело трубы состоит из верхней арочной части, образованной из имеющих общую опорную площадку гофрированной металлической арки и объединенной с ней железобетонной арки и нижней гофрированной металлической части - лотка, уложенной на грунтовую подушку и соединенной с опорной площадкой верхней арочной части посредством упругоскользящего соединения, отличающаяся тем, что оголовок снабжен портальными стенками, жестко соединенными с торцами верхней и нижней арочных частей трубы, при этом каждая портальная стенка разделена на расположенные в смежных параллельных плоскостях с возможностью вертикального перемещения друг относительно друга верхнюю часть, соединенную с верхней арочной частью, и нижнюю часть, соединенную с нижней арочной частью, а между плоскостями соприкосновения верхней и нижней частей портальной стенки выполнен деформационный шов, представляющий собой зазор шириной 15 - 20 мм, заполненный пластичным гидроизоляционным материалом, причем длина верхней части портальной стенки равна
B = S + mh/tgα, м,
длина нижней части портальной стенки равна
b = S - 6 м,
где B, b - длина соответственно верхней и нижней частей портальной стенки, м;
S - ширина отверстия трубы, м;
0,8 ≅ m ≅ 1 - коэффициент условий работы;
h - высота верхней части портальной стенки до уровня проезда, м;
α - угол наклона откоса в направлении продольной оси насыпи, град.

Описание

[1]

[2]

ГОФРИРОВАННАЯ ВОДОПРОПУСКНАЯ ТРУБА

[3]

Полезная модель относится к строительству искусственных сооружений, в частности, водопропускных труб под насыпями железных и автомобильных дорог.

[4]

Известна одноочковая металлическая гофрированная труба, включащая тело трубы, уложенное либо на фундамент, либо на грунтовую подушсу. и оголовок. Янковский О.Я. Водопропускные трубы под насыпями, М., Транспорт, 1982 г., с.42-53.

[5]

Недостаток этой трубы заключается в том, что она имеет ограниченное (до 8 м) отверстие и, кроме того, возникает необходимость большой строительной высоты насыпи (если труба круглого сечения). При эллиптической трубе с замкнутым контуром возникааот большие напряжения и, как следствие, опасность потери устойчивости нижней части ( лотка) гофрированной трубы.

[6]

Наиболее близким по технической сущности и достигаемому результату к заявляешй является бетонный арочный мост-труба, включающий гофрированную металлическую трубу составного по высоте сечения, оголовок, грунтовую подушку, размещенную в котловане и грунтовую засыпку. Труба состоит из нижней гоФриПОД НАСЫПЬЮ

[7]

рованной металлической арочной части - лотка, уложенной на грунтовую подушку, и верхней арочной гофрированной части, состоящей из железобетонной арки и соединенной с ней арки из гофрированного металла, имеющих общую опорную площадку. Верхняя арочная часть и низшяя арочная часть - лоток соединены между собой посредством упруго-скользящего соединения. Труба содержит оголовок коридорного типа. Упруго-скользящее соединение позволяет снизить сжимающие силы на нижнюю часть - лоток и предотвратить потерю его устойчивости. Патент Канады N И89332, кл. E01F 5/00, опубл. 25.06.85г.).

[8]

Недостаток трубы такой конструкции заключается в повышенной материалоемкости оголовка коридорного типа и повышенных трудозатратах при сооружении трубы.

[9]

Технический результат предлагаемой полезной модели заключается в снижении материалоемкости и трудозатрат при сооружении водопропускной трубы.

[10]

Сущность предлагаемой полезной модели состоит в том, что в гофрированной водопропускной трубе под насыпью, включающей тело трубы, оголовок, грунтовую подушку, размещенную в котловале , и грунтовую засыпку, причем тело трубы состоит из верхней арочной части, образованной из имеющих общую опорную площадку - гофрированной металлической арки и объединенной с ней железобетонной арки и нижней гофрированной металлической части - лотка, уложенной на грунтовую подушку выпуклостью вниз и соединенной с опорной площадкой верхней арочной части посредством упруго-скользящего соединения, оголовок снабжен портальными стенками., жестко соединенными с торцами верхней и нижней арочных частей трубы, при этом каждая портальная стенка разделена на расположенные в шедаых параллельных плоскостях с возмотоостью вертикального перемещения друг относительно друга верхнюю часть, соединенную с верхней арочной частью, и нижнюю часть, соединенную с нижней арочной частью, а мааду плоскостями соприкосновения верхней и нишей частей портальной стенки выполнен деформационный вюв, представляющий собой зазор шириной 15-20 мм. заполненный пластичным гидроизоляционным материалом, при этом длина верхней части портальной стенки равна В - S + mh/tgd, м, длина ниадей части портальной стенки равна Ь S + 6 м, где

[11]

В,Ь - длина соответственно верхней и нижней частей портальной стенки:

[12]

h - высота верхней части портальной стенки до уровня проезда;

[13]

а - угол наклона откоса в направлении продольной оси насыпи;

[14]

О,8 ш 1 - коэффициент условий работы;

[15]

S - ширина отверстия трубы.

[16]

Сущность полезной модели поясняется чертежами, где

[17]

на фиг.1 представлено поперечное сечение I-I (фиг.4) трубы по продольной оси насыпи;

[18]

на фиг. 2 - схематическое изображение узла А на фиг.1;

[19]

на фиг. 3 - поперечный разрез III-III на фиг. 4;

[20]

на фиг. 4 - продольный разрез П-П на фиг. 3.

[21]

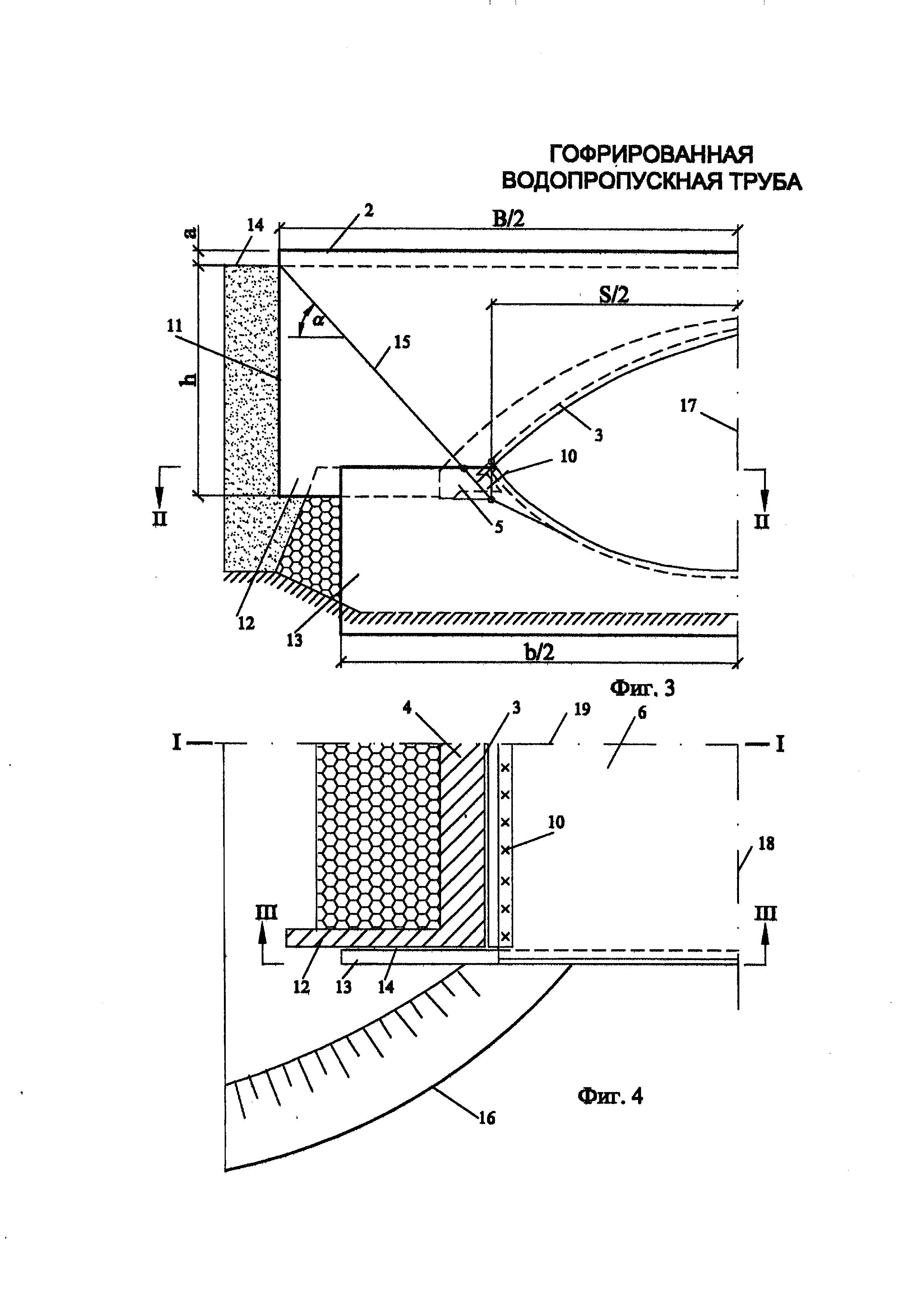
Гофрированная водопропускная труба под насыпью содержит тело трубы 1, оголовок 2, грунтовую подушку 3, размещенную в котловане 4 и грунтовую засыпку 5. Тело трубы в поперечном сечении состоит из верхней арочной части, образованной из

[22]

гофрированной металлической арки 6 и объединенной с ней железобетонной арки 7. Они имеют общую опорную площадку 8. В нижней своей части тело трубы содержит арку 9 из гофрированного металла, уложенную на грунтовую подушу выпуклостью вниз. Нижняя арочная часть соединена с верхней арочной частью посредством упруго скользящего соединения - узел А (фиг.2). Конструктивно этот узел может быть выполнен, например, в виде болтового соединения, при этом болты 10 в опорной площадке 8 закрепляются жестко, а через арку 9 проходят сквозь удлиненные вырезы, позволяющие относительное смещение арки 9 и опорной площадки 8, причем упругость соединения создается за счет прижатия гайками. Усилие F, возникающее в арке 9 нижней части трубы, не может превышать усилия P-f; F P-f, где Р - усилие растяжения в болтах 10, создаваеше прижимными гайками, f коэффициент трения между элементами 8 и 9 после указанного прижатия гайками.

[23]

Тело трубы укладывается нижней арочной частью в грунтовую подушку. В предлагаемой водопропускной трубе предусмотрен оголовок портального типа, включающий вертикальную стенку 11, установленную перпендикулярно к оси трубы.

[24]

Портальная вертикальная стенка И разделена на две части верхнюю 12, жестко присоединенную к железобетонной арке 7, (фиг.4) и нижнюю 13 часть, жестко присоединенную к арке 9 из гофрированного металла. Верхняя часть 12 портальной стенки возвышается над уровнем проезда 14 на величину а, обеспечивающую безопасность движения. Нижняя часть 13 портальной стенки заглубляется в недренирующий грунт для предотвращения фильтрации под трубой. Верхняя 12 и нижняя 13 части портальной стенки расположены в смедаых параллельных плоскостях с возможностью вертикального перемещения относительно друг друга посредством упруго скользящего соединения (фиг.2). Меаду плоскостями соприкосновения верхней 12 и нишей 13 частей портальных стенок выпо/мен деформационный шов U, представляющий собой зазор шириной 15-20 тл, заполненный пластичным гидроизоляционным материалом.

[25]

Длина верхней части 12 портальной стенки определяется из выражения

[26]

а длина нижней части 13 портальной стенки при этом равна b S+6 м, причем В Ь, где

[27]

В.Ь длина соответственно верхней и нижней частей портальной стенки, м;

[28]

h - высота верхней части портальной стенки до уровня проезда, м;

[29]

S - ширина отверстия трубы, м;

[30]

и угол наклона откоса в направлении продольной оси насыпи , град.;

[31]

О,8 m 1 коэффициент условий работы.

[32]

Граница откосов насыпи у трубы показана линиями 15 и 16, оси симметрии трубы показаны линиями 17, 18 и 19.

[33]

Особенности работы предлагаемого технического решения следующие. В водопропускной трубе эллиптического поперечного сечения имеют место следующее недостатки: в лотке (нижней

[34]

в о , М,

[35]

части эллипса) возникают повышенные напряжения, что приводит к потере его устойчивости. В техническом решении, принятом нами за прототип эти недостатки были устранены устройством составного сечения верхней и нижней арочных частей трубы и соединением этих частей посредством упруго-скользящего соединения . Однако в этой конструкции был применен оголовок коридорного типа, где нет поперечных элементов, препятствующих относительным перемещениям верхней и нижней арочных частей. Но использование оголовка коридорного типа требует повышенных затрат материалов и трудозатрат на разработку котлованов и обустройство грунтовой подушки, изоляции и т.д.

[36]

При использовании оголовка портального типа предлагаемой конструкции появляются поперечные к оси трубы элементы, пре пятствуюпше относительным смещениям верхней и нишей частей трубы. Этот недостаток в предлзугаемом техническом решении был устранен применением портального оголовка раздельного типа, что сделало конструкцию трубы более экономичной.

Как компенсировать расходы
на инновационную разработку
Похожие патенты