патент
№ RU 105343
МПК E21B3/00
Номер заявки
2011106264/03
Дата подачи заявки
21.02.2011
Опубликовано
10.06.2011
Страна
RU
Как управлять
интеллектуальной собственностью
Чертежи 
4
Реферат

1. Ручная буровая установка, содержащая нижнюю и верхнюю рамы, соединенные между собой направляющими стойками, каретку, установленную с возможностью перемещения посредством лебедки, вертлюг, закрепленный к каретке и соединенный с мотор-редуктором, и бур, отличающаяся тем, что верхняя и нижняя рамы соединены тросовыми растяжками, а на нижней раме смонтированы подставки. ! 2. Буровая установка по п.1, отличающаяся тем, что вертлюг жестко закреплен к каретке при помощи пластин. ! 3. Буровая установка по п.1, отличающаяся тем, что направляющие стойки имеют болтовое соединение с нижней рамой. ! 4. Буровая установка по п.1, отличающаяся тем, что тросовые растяжки состоят из троса ⌀12 и талрепа. ! 5. Буровая установка по п.1, отличающаяся тем, что подставки состоят из уголка №5 и направляющих труб ⌀48.

Формула изобретения

1. Ручная буровая установка, содержащая нижнюю и верхнюю рамы, соединенные между собой направляющими стойками, каретку, установленную с возможностью перемещения посредством лебедки, вертлюг, закрепленный к каретке и соединенный с мотор-редуктором, и бур, отличающаяся тем, что верхняя и нижняя рамы соединены тросовыми растяжками, а на нижней раме смонтированы подставки.

2. Буровая установка по п.1, отличающаяся тем, что вертлюг жестко закреплен к каретке при помощи пластин.

3. Буровая установка по п.1, отличающаяся тем, что направляющие стойки имеют болтовое соединение с нижней рамой.

4. Буровая установка по п.1, отличающаяся тем, что тросовые растяжки состоят из троса ⌀12 и талрепа.

5. Буровая установка по п.1, отличающаяся тем, что подставки состоят из уголка №5 и направляющих труб ⌀48.

Описание

[1]

Полезная модель относится к ручной буровой установке и предназначена для бурения бытовых скважин на воду, глубиной до 50 метров методом гидробурения. Буровая установка позволяет бурить в труднодоступных местах, на садовых участках, а также в подвалах домов, гаражах на различных грунтах (песок, глина, суглинок, песчаник, известняк и тп).

[2]

В настоящее время ручные буровые установки пользуются широким спросом из-за их малогабаритности и мобильности, возможности бурения скважин в стесненных условиях и на благоустроенных территориях без привлечения большегрузных машин.

[3]

Из уровня техники известна буровая установка БУР-50, состоящая из разборной рамы, мотора-редуктора, буровых штанг с держателем, буров, системы электрооборудования с реверсом, лебедки для отпускания и подъема рабочих органов (http://www.vologdabur.ru/gallery/index.php). Недостатком данной установки является ее неустойчивость при буровых работах, особенно на неровных поверхностях, что приводит к ее вибрации и как следствие перекосу каретки, а в некоторых случаях и к опрокидыванию всей установки. К недостаткам можно отнести и неудобство монтажа и демонтажа установки, в частности верхней части каркаса буровой установки.

[4]

Этими же недостатками, по мнению заявителя, обладают и портативные буровые установки по патенту РФ №68575 (дата публикация 27.11.2007 г, МПК 21В 3/02) и патенту РФ №76673 (дата публикации 27.09.2008 г. МПК 21В 3/02). Из-за недостаточно жесткого крепления каркаса в известных установках возможно биение бура, что повышает опасность опрокидывания установки в процессе бурения. Монтаж/демонтаж установки также является небезопасным, поскольку высота направляющих стоек составляет 2,2 м и 2,15 м соответственно, а установка и разборка верхней рамы осуществляется в вертикальном положении, что неизбежно вызывает необходимость иметь предмет заменяющий подставку (ящик, табурет и т.д.).

[5]

Наиболее близкой по совокупности существенных признаков является буровая установка компании «Технолог» (патент РФ №101075, дата публикации 10.01.2011, МПК 21В 3/02). Буровая установка содержит каркас, образованный нижней и верхней рамами, соединенными между собой стойками, каретку, установленную с возможностью перемещения посредством лебедки, вертлюг, соединенный с выходным валом мотор-редуктора, и присоединенную к вертлюгу колонну буровой штанги. Буровая установка содержит дополнительную лебедку, смонтированную на каркасе, что повышает эффективность работы установки на сложных грунтах. Но недостатки указанные выше, присущи и данной установке.

[6]

Заявленная полезная модель направлена на решение задачи по созданию буровой установки, конструкция которой позволяла бы уменьшить риски опрокидывания установки при бурении, и обеспечивала бы более удобный и безопасный монтаж/демонтаж установки.

[7]

Технический результат при использовании полезной модели заключается в повышении надежности и безопасности при эксплуатации, монтаже/демонтаже буровой установки.

[8]

Данный технический результат достигается за счет того, что в ручной буровой установке, содержащей нижнюю и верхнюю рамы, соединенные между собой направляющими стойками, каретку, установленную с возможностью перемещения посредством лебедки, вертлюг, закрепленный к каретке и соединенный с мотор-редуктором и бур, верхняя и нижняя рамы соединены тросовыми растяжками, а на нижней раме смонтированы подставки. Кроме того, тросовые растяжки состоят из троса ⌀12 и талрепа; подставки состоят из уголка №5 и направляющих труб ⌀48; вертлюг жестко закреплен к каретке при помощи пластин; направляющие стойки имеют болтовое соединение с нижней рамой.

[9]

Сущность полезной модели поясняется чертежами.

[10]

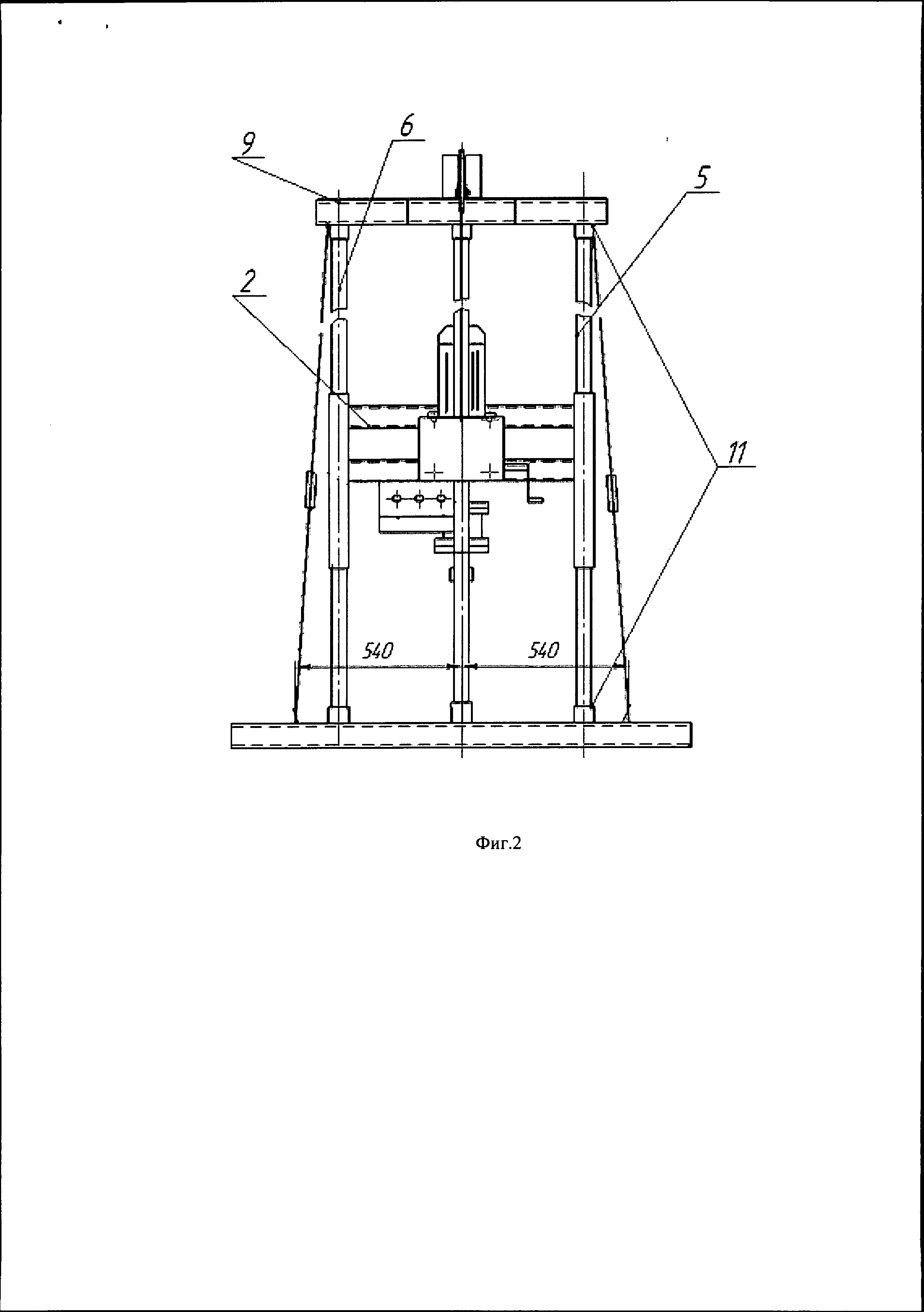
На фиг.1 представлен общий вид буровой установки, где 1-нижняя рама, 2 - каретка, 3 - вертлюг, 4 - мотор-редуктор, 5, 6, 7 - направляющие стойки, 8 - лебедка, 9 - верхняя рама, 10 - подставка 11 - направляющие втулки, 12 - тросовые растяжки, 13 - блоки, 14 - бур.

[11]

на фиг.2 - вид А на фиг.1

[12]

на фиг.3 - вид Б

[13]

на фиг.4 - общий вид подставки

[14]

на фиг.5, 6 - крепления троса

[15]

Заявленная буровая установка транспортируется к месту бурения скважины в виде отдельных модулей и монтируется непосредственно на рабочем месте. Нижнюю раму 1 устанавливают на участке бурения. Каретку 2 с жестко закрепленным при помощи пластин вертлюгом 3 и мотор-редуктором 4 устанавливают на направляющие стойки 5 и 6, которые крепят к нижней раме 1 при помощи болтового соединения. Затем аналогичным образом укрепляют к нижней раме 1 третью направляющую стойку 7 с ручной лебедкой 8. Высота направляющих стоек 5, 6, 7 - 2100-2500 мм, диаметр - 48 мм.

[16]

В отличие от прототипа для удобства и безопасности монтажа верхней рамы 9 в заявленной полезной модели предусмотрены подставки 10, которые устанавливают в направляющие втулки 11, приваренные к нижней раме 1. Подставки 10 состоят из уголка №5 и направляющих труб ⌀48. Опираясь на подставки 10, устанавливают верхнюю раму 9.

[17]

Верхнюю 9 и нижнюю 1 рамы соединяют тросовыми растяжками 12, которые позволяют из-за жесткого крепления рам 1, 9 устранить биение бура и, таким образом, уменьшить вероятность опрокидывания буровой установки. Тросовые растяжки 12 состоят из троса ⌀12 и талрепа. Крепление тросовых растяжек 12 осуществляется при помощи крюков, закрепленных на концах троса и колец, приваренных к верхней 9 и нижней раме 1.

[18]

На верхней раме 9 предусмотрены блоки, через которые запасовывают трос лебедки 8 к верхней части каретки 2, позволяющий перемещать каретку 2 вверх-вниз по направляющим стойкам 5, 6. В вертлюг 3 устанавливают бур 14.

[19]

Мобильная буровая установка готова к работе.

[20]

Перед началом бурения возле установки выкапывают две небольшие ямы (зумфы) и заполняют водой (примерно 0,5 м3). В одну из них устанавливают насос (помпа), шланг которого (на чертеже не указан) присоединяют к вертлюгу 3. Мотор-редуктор 4 включают на вращение вертлюга 3. С помощью лебедки 8 опускают каретку 2 с вертлюгом 3 и вращающимся буром 14, осуществляя процесс бурения. Вода или буровой раствор подается насосом в зону бурения через буровые штанги, которые наращиваются по мере заглубления. Скорость бурения зависит от твердости разбуриваемой породы.

[21]

Демонтаж установки осуществляется в обратной последовательности.

Как компенсировать расходы
на инновационную разработку
Похожие патенты