патент
№ RU 105160
МПК A61F5/44

КЛАПАН ДЛЯ МОЧЕПРИЕМНИКА

Авторы:
ХУАНГ Тзу-Чен (TW)
Правообладатель:
Все (2)
Номер заявки
2010148480/14
Дата подачи заявки
26.11.2010
Опубликовано
10.06.2011
Страна
RU
Как управлять
интеллектуальной собственностью
Чертежи 
6
Реферат

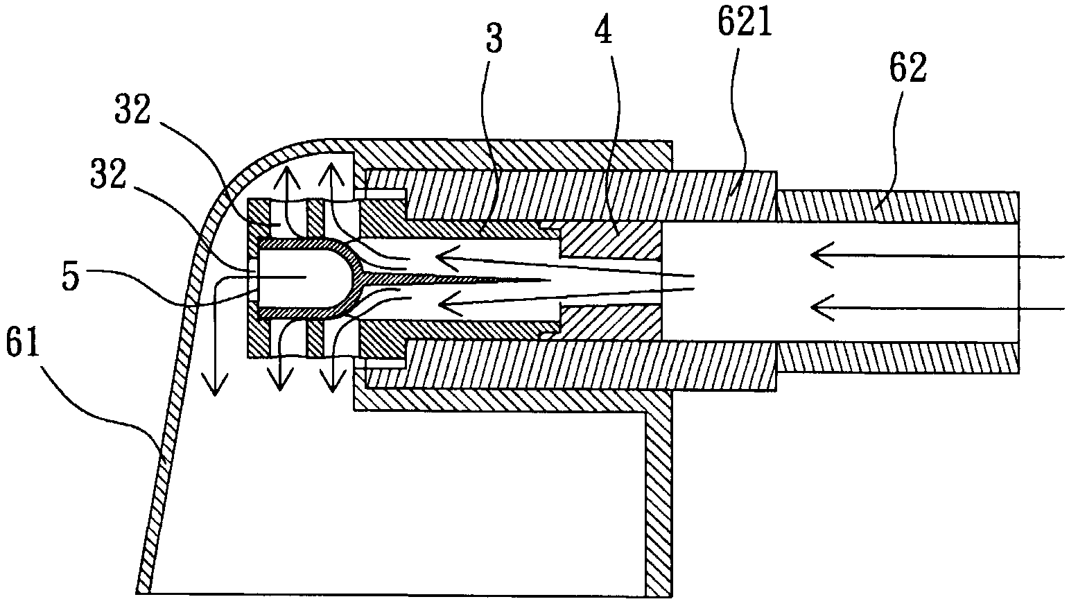
1. Клапан для мочеприемника, включающий подвижный элемент, выполненный с возможностью предотвращения вытекания мочи из мочеприемника в направлении пользователя через шланг для поступления мочи в мочеприемник, отличающийся тем, что дополнительно включает: ! направляющий элемент, имеющий присоединительный конец на одном из его концов и несколько отверстий, выполненных в стенке направляющего элемента; ! втулку, присоединенную к присоединительному концу направляющего элемента; ! при этом подвижный элемент размещен в направляющем элементе с возможностью движения внутри него и включает в себя золотник и направляющий стержень, выступающий из конца золотника, причем золотник выполнен с возможностью отодвигаться от втулки, когда моча проходит сквозь направляющий элемент в мочеприемник, и передвигаться в направлении втулки до вхождения с ней в контакт, когда моча начинает вытекать из мочеприемника в обратном направлении. ! 2. Клапан по п.1, отличающийся тем, что втулка выполнена из мягкого материала. ! 3. Клапан по п.1, отличающийся тем, что конец золотника, из которого выходит направляющий стержень, выполнен с полусферической поверхностью. ! 4. Клапан по п.1, отличающийся тем, что направляющий стержень расположен во втулке, когда золотник контактирует с втулкой.

Формула изобретения

1. Клапан для мочеприемника, включающий подвижный элемент, выполненный с возможностью предотвращения вытекания мочи из мочеприемника в направлении пользователя через шланг для поступления мочи в мочеприемник, отличающийся тем, что дополнительно включает:

направляющий элемент, имеющий присоединительный конец на одном из его концов и несколько отверстий, выполненных в стенке направляющего элемента;

втулку, присоединенную к присоединительному концу направляющего элемента;

при этом подвижный элемент размещен в направляющем элементе с возможностью движения внутри него и включает в себя золотник и направляющий стержень, выступающий из конца золотника, причем золотник выполнен с возможностью отодвигаться от втулки, когда моча проходит сквозь направляющий элемент в мочеприемник, и передвигаться в направлении втулки до вхождения с ней в контакт, когда моча начинает вытекать из мочеприемника в обратном направлении.

2. Клапан по п.1, отличающийся тем, что втулка выполнена из мягкого материала.

3. Клапан по п.1, отличающийся тем, что конец золотника, из которого выходит направляющий стержень, выполнен с полусферической поверхностью.

4. Клапан по п.1, отличающийся тем, что направляющий стержень расположен во втулке, когда золотник контактирует с втулкой.

Описание

[1]

Настоящая полезная модель относится к клапану для мочеприемника, в частности, к клапану, присоединенному к клапану, который предотвращает вытекание мочи из мочеприемника в направлении пользователя.

[2]

Обычный мочеприемник 1, показанный на фиг.1, в общем случае включает соединительный узел 11, прикрепленный к одной стороне мочеприемника 1, и шланг 12, присоединенный одним концом к соединительному узлу 11. Другой конец шланга 12 соединен с телом пользователя так, чтобы направлять мочу в мочеприемник 1 через шланг 12. Моча накапливается и выливается при полном наполнении мочеприемника 1. Однако, в обычной конструкции мочеприемник 1 не имеет клапана, который мог бы предотвратить вытекание мочи из мочеприемника 1 в сторону пользователя. Поэтому мочеприемник 1 нельзя наклонять или переворачивать, при этом соединительный узел 11 должен быть направлен вертикально, а мочеприемник 1 должен располагаться ниже мочевого пузыря пользователя, в противном случае моча сможет течь обратно в направлении пользователя и вызывать различные проблемы.

[3]

Из предшествующего уровня техники известны конструкции клапанов для мочеприемников, используемые предотвращения вытекания мочи из мочеприемника в направлении пользователя. Один из таких клапанов, выбранный в качестве прототипа, включает два подвижных лепестка, позволяющих моче затекать внутрь мочеприемника через шланг, присоединенный другим концом к пользователю, и предотвращающих вытекание мочи в обратном направлении [заявка JP2004363A, опубл. 09.01.1990]. Однако, такой лепестковый клапан имеет относительно низкую надежность и не может использоваться в обычных мочеприемниках, например в мочеприемнике, описанном выше и показанном на фиг.1.

[4]

Настоящая полезная модель нацелена на создание клапана для мочеприемника, имеющего высокую надежность предотвращения вытекания мочи из мочеприемника в направлении пользователя, и который может использоваться в существующих конструкциях мочеприемников без их переделки и без использования большого числа дополнительных деталей.

[5]

Главной технической задачей настоящей полезной модели является обеспечение клапана для мочеприемника, предотвращающего вытекание мочи из мочеприемника в направлении пользователя через шланг для поступления мочи в мочеприемник с высокой надежностью.

[6]

Другой технической задачей настоящей полезной модели является обеспечение клапана для мочеприемника, который может легко устанавливаться в существующих мочеприемниках.

[7]

Предлагаемый по настоящей полезной модели клапан для мочеприемника включает направляющий элемент, имеющий присоединительный конец на одном из его концов и несколько отверстий, выполненных в стенке направляющего элемента. Имеется втулка, присоединенная к присоединительному концу направляющего элемента, и подвижный элемент, подвижно размещенный в направляющем элементе. Подвижный элемент включает золотник и направляющий стержень, выступающий из конца золотника. Золотник отодвигается от втулки, когда моча проходит сквозь направляющий элемент в мочеприемник. Золотник передвигается в направлении втулки до вхождения с ней в контакт, когда моча начинает вытекать из мочеприемника в обратном направлении. Золотник при этом закупоривает втулку, останавливая течение мочи в направлении пользователя.

[8]

Настоящая полезная модель будет более понятной из нижеследующего описания со ссылками на прилагаемые чертежи, которые исключительно в качестве примера иллюстрируют предпочтительный вариант осуществления настоящей полезной модели.

[9]

Краткое описание фигур чертежей:

[10]

фиг.1 - иллюстрация конструкции обычного мочеприемника;

[11]

фиг.2 - вид в перспективе, иллюстрирующий клапан по настоящей полезной модели;

[12]

фиг.3 - вид в разобранном состоянии, иллюстрирующий клапан по настоящей полезной модели;

[13]

фиг.4 - вид в поперечном разрезе клапана по настоящей полезной модели;

[14]

фиг.5 - вид в поперечном разрезе, показывающий как шланг и соединительная трубка присоединяются к соединительному узлу мочеприемника;

[15]

фиг.6 - вид в поперечном разрезе, показывающий как клапан по настоящей полезной модели присоединяется к соединительной трубке мочеприемника;

[16]

фиг.7 - вид в поперечном разрезе, показывающий как клапан по настоящей полезной модели присоединен к соединительной трубке, которая соединена с соединительным узлом мочеприемника;

[17]

фиг.8 - вид, иллюстрирующий, как моча затекает в мочеприемник;

[18]

фиг.9 - вид в поперечном разрезе, иллюстрирующий как моча толкает подвижный элемент и затекает в мочеприемник;

[19]

фиг.10 - вид, иллюстрирующий полный мочеприемник; и

[20]

фиг.11 - вид в поперечном разрезе, иллюстрирующий как моча толкает подвижный элемент, запирая мочеприемник.

[21]

Как показано на фиг.2-4, клапан 2 для мочеприемника 6 по настоящей полезной модели включает направляющий элемент 3, имеющий присоединительный конец 31 на одном конце и несколько отверстий 32, выполненных в стенке направляющего элемента 3 у другого конца. Втулка 4, выполненная из мягкого упругого материала, присоединяется к присоединительному концу 31. Подвижный элемент 5 размещен с возможностью движения внутри полости в направляющем элементе 3 и включает в себя золотник 51 и направляющий стержень 52, который выступающий из конца золотника 51. Конец золотника 51, из которого выходит направляющий стержень 52, выполнен с полусферической поверхностью так, чтобы иметь возможность запирать отверстие во втулке 4, когда золотник 51 входит в контакт со втулкой 4, как показано на фиг.4.

[22]

Как показано на фиг.5-7, мочеприемник 6 включает соединительный узел 61 и соединительную трубку 621, прочно соединяемую с соединительным узлом 61. Соединительная трубка 621 снабжается шлангом 62, присоединенной к нему при закреплении на теле пользователя. Клапан 2 вставляется в соединительную трубку 621, как показано на фиг.7, при этом соединительная трубка 621 имеет буртик, в который упирается направляющий элемент 3.

[23]

Как показано на фиг.8 и 9, когда моча 63 течет от пользователя через шланг 62 и далее через клапан 2, давление мочи 63 толкает золотник 51 в направлении от втулки 4 так, что моча 63 может протекать сквозь образовавшийся зазор между концом золотника 51 и внутри полости направляющего элемента 3 и далее через отверстия 32 в направляющем элементе 3, накапливаясь в мочеприемнике 6.

[24]

Как показано на фиг.10 и 11, когда мочеприемник 6 заполнен или наклонен, моча 63 входит в направляющий элемент 3 через отверстия 32, и золотник 51 перемещается, входя в контакт с втулкой 4, тем самым закупоривая отверстие во втулке 4 так, что моча 63, находящаяся в мочеприемнике 6, не может вытекать из него обратно.

[25]

Необходимо упомянуть, что направляющий стержень 52 располагается в отверстии втулки 4, в том числе когда золотник 51 входит в контакт с втулкой 4, при этом направляющий стержень 52 эффективно направляет движение золотника 51 для надлежащего осуществления им требуемой функции.

[26]

Клапан 2 по настоящей полезной модели может быть присоединен к соединительной трубке 621 обычного мочеприемника 6 существующей конструкции без использования дополнительных деталей или технологических операций.

[27]

Хотя был показан и описан вариант осуществления настоящей полезной модели, должно быть понятно, что возможны другие варианты осуществления этой полезной модели, не отходя от сущности и объема охраны по настоящей полезной модели.

Как компенсировать расходы
на инновационную разработку
Похожие патенты