патент
№ RU 104380
МПК H01J31/50

ВРЕМЯАНАЛИЗИРУЮЩИЙ ЭЛЕКТРОННО-ОПТИЧЕСКИЙ ПРЕОБРАЗОВАТЕЛЬ С МНОГОКАНАЛЬНЫМ ОПТИЧЕСКИМ ВХОДОМ

Авторы:
Шувалов Виктор Михайлович
Номер заявки
2011104420/07
Дата подачи заявки
09.02.2011
Опубликовано
10.05.2011
Страна
RU
Как управлять
интеллектуальной собственностью
Чертежи 
2
Реферат

Времяанализирующий электронно-оптический преобразователь с многоканальным оптическим входом, содержащий вакуумную трубку с плоским фотокатодом и люминесцентным экраном, между которыми последовательно расположены электронная фокусирующая линза, отклоняющие пластины, группа оптических волокон, между фотокатодом и электронной фокусирующей линзой расположена ускоряющая сетка, отличающийся тем, что на входе и выходе отклоняющих пластин расположены щелевые диафрагмы, размеры которых точно соответствуют размерам электронного пучка в плоскости расположения диафрагм, в волоконно-оптическую пластину внедрен массив линейно расположенных вдоль прямой, проходящей через центр волоконно-оптической пластины, оптических волокон, световедущие сердцевины одних концов волокон соединены с фоточувствительным слоем фотокатода, другие концы волокон оконцованы оптическими разъемами.

Формула изобретения

Времяанализирующий электронно-оптический преобразователь с многоканальным оптическим входом, содержащий вакуумную трубку с плоским фотокатодом и люминесцентным экраном, между которыми последовательно расположены электронная фокусирующая линза, отклоняющие пластины, группа оптических волокон, между фотокатодом и электронной фокусирующей линзой расположена ускоряющая сетка, отличающийся тем, что на входе и выходе отклоняющих пластин расположены щелевые диафрагмы, размеры которых точно соответствуют размерам электронного пучка в плоскости расположения диафрагм, в волоконно-оптическую пластину внедрен массив линейно расположенных вдоль прямой, проходящей через центр волоконно-оптической пластины, оптических волокон, световедущие сердцевины одних концов волокон соединены с фоточувствительным слоем фотокатода, другие концы волокон оконцованы оптическими разъемами.

Описание

[1]

Полезная модель относится к области электронно-оптической техники и может быть использовано при построении многоканального хронографического электронно-оптического (ЭО) регистратора с N волоконно-оптическими входами для исследования в динамике с пикосекундным временным разрешением одним ЭО регистратором N физических процессов нано- пикосекундного диапазона в тех случаях, когда источник процесса удален от места регистрации на расстояние до 3-5 км.

[2]

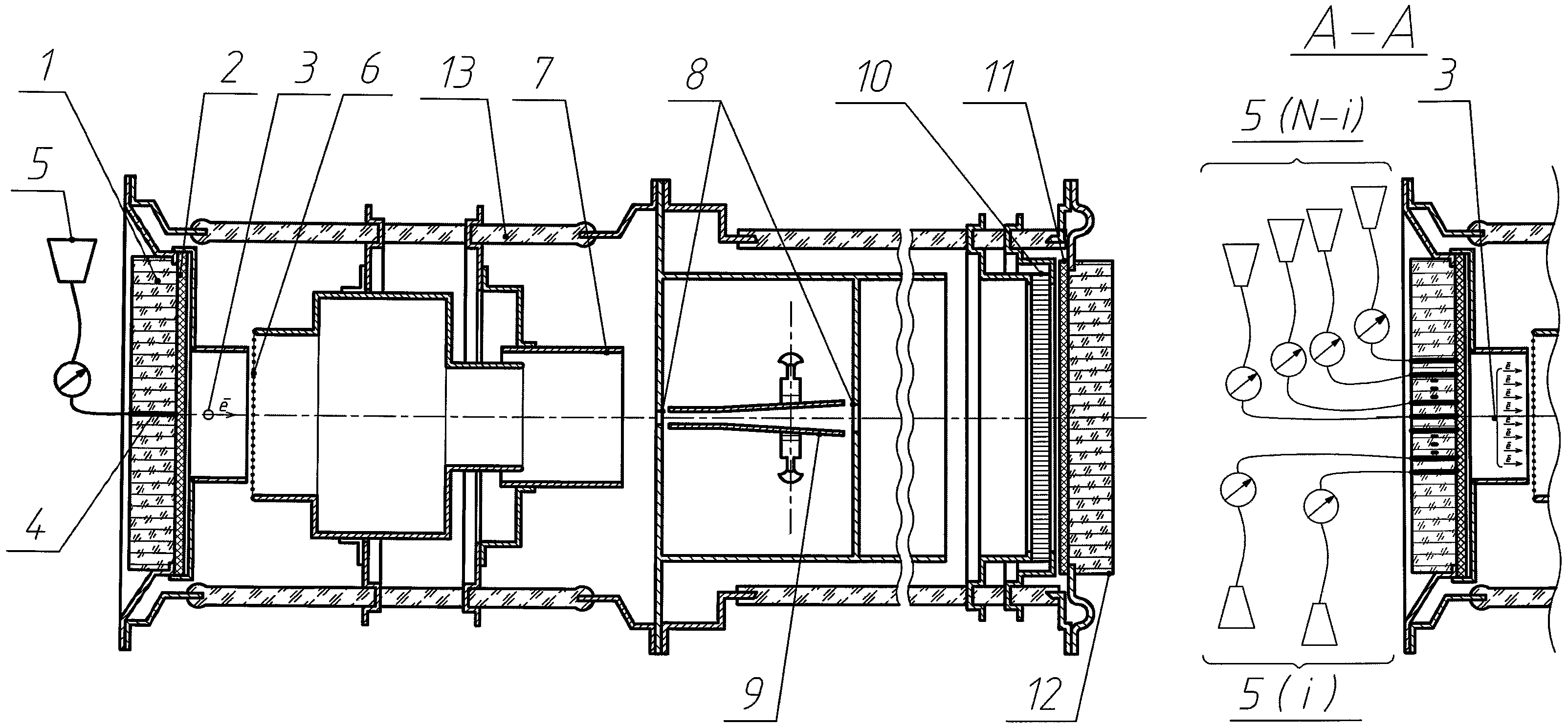
Исследуемые процессы должны допускать преобразование регистрируемого процесса с помощью, например волоконно-оптических датчиков, на длину волны диапазона 1,3 мкм с целью передачи полученного аналога процесса по стандартному одномодовому (SM) волоконно-оптическому кабелю, позволяющему передавать с малыми искажениями импульсные сигналы-эквиваленты исследуемых процессов с характерными временами в 30-50 пс при длине оптической линии до 3-5 км. При этом в одном оптическом кабеле может быть уложено до 12 модулей по 16 волокон в каждом (до 192 волокон), для организации многоканальной схемы измерений на одном оптическом кабеле.

[3]

Известны следующие технические решения в области электронно-оптических преобразователей (ЭОП) с многоканальным входом.

[4]

Известен многоканальный хронографический ЭО-регистратор одиночных импульсов ионизирующего излучения, содержащий электронно-оптический преобразователь с фотокатодом, конверторы, расположенные в зоне воздействия ионизирующего излучения оптически связанные посредством волоконно-оптических линий связи (ВОЛС) с фотокатодом ЭОП, волокна которых пристыкованы к фотокатоду контактно прижимным способом. «В.В.Борисов и др. «Многоканальный хронографический ЭО регистратор одиночных импульсов ионизирующего излучения», патент РФ №1294123 опубликовано 27.08.1996 г».

[5]

Недостатки этого аналога заключаются во-первых в больших контактных потерях на стыке волокно - волоконно-оптическая пластина (ВОП) фотокатода, по оценке с помощью формул из «М.М.Бутусов и др. «Волоконно-оптические системы передачи» М. Радио и связь, 1992 г» до 3-6 дБ и во-вторых в значительном разбросе потерь между каналами (до 3-4 дБ), что в многоканальных измерительных системах часто является недопустимым, так как искажает картину пространственного распределения интенсивностей исследуемого физического процесса.

[6]

Известна «Streak Tube» US Patent number №5719623, Feb. 17 1998» хронографическая электронно-лучевая трубка укороченной длины, в которой оптическое изображение объекта разбивается на множество раздельных электронных изображений, причем в одном из вариантов такая разбивка осуществляется на множестве оптоволоконных кабелей, размещенных вблизи оговариваемого объекта, причем эмитирующие концы этих кабелей присоединяются контактно прижимным способом к фотокатоду.

[7]

Недостатки этого аналога заключаются во-первых в больших контактных потерях на стыке волокно - волоконно-оптическая пластина (ВОП) фотокатода, и во-вторых в значительном разбросе потерь между каналами (до 3-4 дБ), что в многоканальных измерительных системах часто является недопустимым, так как искажает картину пространственного распределения интенсивностей исследуемого физического процесса.

[8]

Наиболее близким техническим решением к полезной модели (прототипом) является «Photonic cathode ray tube» US Patent №5142193 от 25.08.1992, фотонная электронно-лучевая трубка содержащая:

[9]

- устройство вакуумной трубки с двумя противоположными концами;

[10]

- устройство фотокатода в указанном устройстве трубки на первом конце устройства трубки;

[11]

- устройство фотокатода является по существу плоским;

[12]

- указанное устройство фотокатода имеет диаметр от 0,2 до 1 см;

[13]

- указанное устройство фотокатода покрыто кристаллическим веществом содержащим арсенид галлия;

[14]

- устройство люминесцентного экрана в указанном устройстве трубки на втором конце устройства трубки;

[15]

- устройство электронной фокусирующей линзы, расположенное в указанном устройстве трубки вблизи фотокатода;

[16]

- устройство отклоняющих пластин находящихся между устройством линзы и вторым концом трубки;

[17]

- не менее одного волоконно-оптического элемента в связи по входу с устройством фотокатода;

[18]

- группу волоконно-оптических элементов в связи по входу с устройством фотокатода;

[19]

- группу волоконно-оптических элементов равномерно распределенных вокруг центральной оси фотокатода;

[20]

- группа волоконно-оптических элементов расположенных вдоль горизонтальной линии;

[21]

- ширина указанной горизонтальной группы не превышает приблизительно 2 мм.

[22]

Недостатком прототипа является недостаточная точность измерения пространственного распределения и временных параметров исследуемых процессов, большие контактные потери и разброс этих потерь при передаче светового информационного сигнала с излучающих световой сигнал торцев оптических волокон на фоточувствительный слой фотокатода.

[23]

Техническим результатом, обеспечиваемым полезной моделью является повышение точности измерения пространственного распределения и временных параметров исследуемых процессов за счет существенного снижения контактных потерь и разброса этих потерь при передаче светового информационного сигнала с излучающих световой сигнал торцев оптических волокон на фоточувствительный слой фотокатода при регистрации множеств N исследуемых процессов на одном ЭО-регистраторе, сделанном на одном входном узле ЭОП.

[24]

Технический результат достигается тем, что времяанализирующий электронно-оптический преобразователь с многоканальным оптическим входом содержащий вакуумную трубку с плоским фотокатодом и люминесцентным экраном, между которыми последовательно расположены электронная фокусирующая линза, отклоняющие пластины, группа оптических волокон, между фотокатодом и электронной фокусирующей линзой расположена ускоряющая сетка, на входе и выходе отклоняющих пластин расположены щелевые диафрагмы размеры которых точно соответствуют размерам электронного пучка в плоскости расположения диафрагм, в волоконно-оптическую пластину внедрен массив линейно расположенных вдоль прямой, проходящей через центр волоконно-оптической пластины оптических волокон, световедущие сердцевины одних концов волокон соединены с фоточувствительным слоем фотокатода, другие концы волокон оконцованы оптическими разъемами.

[25]

Существо полезной модели заключается в такой организации и конструкции фотокатода, электронно-оптической и отклоняющей систем, оптимизированных под заданное число входных каналов N и требуемое временное и пространственное разрешение, которая позволит максимально использовать информационную емкость фотокатода, резко уменьшить контактные потери на стыке волокно - ВОП фотокатода и снизить до минимума неравномерность контактных потерь по входным каналам; внедрение в ВОП фотокатода стандартных одно или многомодовых волокон, оконцованных вне вакуумного объема ЭОП стандартными оптическими разъемами, позволит организовать достаточное количество информационных каналов с временным разрешением менее 100 пикосекунд при длине передающей волоконно-оптической линии связи (ВОЛС) до 3-5 км. Указанное временное разрешение информационного канала определяется в большой степени временем нарастания ВОЛС, которое в свою очередь определится коэффициентом дисперсии стандартного SM кабеля (~3,5 пс/км*нм). Проведенные на предприятии-заявителе исследования показали, что при длине 1 км время нарастания в ВОЛС составит порядка 20 пс, при длине 3,7 км порядка 50 пс. Таким образом, конструкция ЭОП в целом, должна обеспечить временное разрешение порядка 10-15 пс, чтобы не ограничивать временное разрешение всего канала регистрации в целом.

[26]

На фигуре 1 изображен эскиз времяанализирующего электронно-оптического преобразователя (ЭОП) с многоканальным оптическим входом, содержащий следующие элементы:

[27]

1 - вакуумная трубка, 2 - ВОП фотокатода, 3 - фоточувствительный слой фотокатода S1 типа, 4 - внедренные в ВОП оптические волокна, 5 - стандартные оптические разъемы, например FC/PC типа, 6 - ускоряющая мелкоструктурная сетка, 7 - блок электронных линз, 8 - диафрагмы с щелевыми прорезями, 9 - отклоняющая система (ОС), 10 - микроканальная пластина (МКП), 11 - экран с люминесцентным слоем, 12 - выходной ВОП, 13 - электронный поток.

[28]

На фигуре 2 изображен разрез ВОП фотокатода, состоящего из ВОП 2 и фоточувствительного слоя 3 с внедренными волокнами 4. Условно показаны часть из N внедренных волокон 4, для одного волокна показаны размеры оболочки и световедущей сердцевины 125/62,5 мкм, так же условно показана часть мирковолокон диаметром 6 мкм из которых образован ВОП 2.

[29]

Времяанализирующий ЭОП содержит вакуумную трубку 1 и в ее объеме плоский фотокатод 2, 3, 4 на ВОП 2 с фоточувствительным в диапазоне длин волн до 1,32 мкм слоем 3, имеющим спектральную характеристику S1 и с внедренными в ВОП 2 оптическими многомодовыми волокнами 125/62,5 мкм 4 (N волокон), оконцованными на другом конце вне вакуумного объема ЭОП стандартными оптическими разъемами, например типа FC/PC 5 (N разъемов), ускоряющий электрод 6, например, в виде мелкоструктурной сетки расположенный на расстоянии ~2-3 мм от поверхности фотокатода 2, 3, 4, блок электронных линз 7, диафрагму со щелевой прорезью 8, расположенную в кроссовере электронного потока 13, широкополосную отклоняющую систему 9, например меандрового типа или по патенту предприятия заявителя «В.М.Шувалов, И.Г.Прянишников, Л.Н.Зюзин «Отклоняюще-замедляющая система для времяанализирующего ЭОП» патент РФ №2228562», экран с люминесцентным слоем 11, микроканальную пластину 10, выходной ВОП 12. Фотокатод 2, 3, 4 изготовлен на ВОП 2, его поперечное сечение в разрезе показано на фигуре 2. ВОП 2 сформирован из волокон диаметром 6 мкм, в массив которых внедрена группа из N стандартных многомодовых волокон 4 наружным диаметром d=125 мкм, расположенных в один ряд с шагом t~0,13 мм по всей активной высоте фотокатода Laf, которая и определит диаметр ВОП D для заданного числа каналов N:

[30]

.

[31]

Непосредственно ВОП 2 выполнятся в форме диска с диаметром D≥Laf и толщиной H, которая определяется возможностью герметизации ВОП в вакуумную трубку 1 по торцу трубки. С целью улучшения технологичности конструкции желательно использовать плоскую форму ВОП. При этом некоторое снижение временного и пространственного разрешения по сравнению со сферической формой ВОП фотокатода, может быть скомпенсировано введением катодной насадки в соответствии с патентом предприятия заявителя «Л.В.Бадьин и др. «Катодный узел времяанализирующего ЭОП изображения», патент РФ №2374719». Поверхность диска с внедренными волокнами 4 полируется со стороны фоточувствительного слоя 3 и затем наносится сам фоточувствительный слой, причем в отличие от прототипа, согласно рекомендациям «Веретенников А.И., Даниленко К.Н. «Средства диагностики импульсного излучения», сб. трудов НИИИТ, изд.. Ат, 1999 г.», «М.Я.Щелев «Пикосекундная электронно-оптическая диагностика», труды ИОФАН, том №155» материал фоточувствительного слоя для ЭОП с пикосекундным временным разрешением должен быть со спектральной характеристикой S1 (Ag-O-Cs), имеющий малый, но нормированный квантовый выход вплоть до λ=1,315 мкм, составляющий в среднем по формуле: , где S(λ)~1-5 мкА/Вт Y=2.35×10-4% при λ=1,315 мкм.

[32]

Электронно-оптическая система, состоящая из фокусирующей 7 и отклоняющей 9 систем, оптимизирована под заданное число каналов и требуемое временное разрешение таким образом, что диаметр D фотокатода 2, 3, 4 пропорциональный требуемому числу каналов N по формуле (1), определит размеры электронного пучка 13, что в свою очередь определит тип и размеры фокусирующей и отклоняющей систем а также размеры щелей диафрагм 8, параметры которых непосредственно влияют на пространственное и техническое временное разрешение ЭОП, экранируя поле отклоняющей и фокусирующей систем друг от друга. Фокусирующая система 7 состоит из блока электронных линз, оптимизированного по составу и размерам под размер электронного пучка 13 и диафрагмы 8 с щелевыми прорезями прямоугольной формы, размеры которых точно соответствуют размерам электронного пучка в плоскостях расположения диафрагмы. Тип и размеры отклоняющей системы 9 так же оптимизируются под размеры электронного пучка.

[33]

Ниже приводятся расчеты, подтверждающие возможность получения заявленных параметров временного разрешения и числа каналов, а также динамического диапазона.

[34]

1. Проверка возможности получения требуемого временного разрешения.

[35]

Согласно «Веретенников А.И., Даниленко К.Н. «Средства диагностики импульсного излучения», сб. трудов НИИИТ, изд. Ат, 1999 г.» временное разрешение ЭОП в общем случае составляет:

[36]

,

[37]

где τф - физическое временное разрешение, τт - техническое временное разрешение. Физическое временное разрешение можно оценить по формуле

[38]

,

[39]

где E - напряженность поля у фотокатода в ед. CGSE, α находится в диапазоне 1-5 в зависимости от геометрии фотокатода и длины волны. Напряженность поля , где Uуск ускоряющий потенциал сетки, d - расстояние между фотокатодом и ускоряющей сеткой, и при типичных значениях этих параметров получаем в системе СИ E~0,3×103 В/мм, что составит в системе CGSE величину ~10 ед. напряженности электрического поля CGSE. Таким образом по формуле (3) получаем, τф=1-5 пс. Техническое временное разрешение в свою очередь:

[40]

,

[41]

где Nэ пространственное разрешение по экрану, принимаем Nэ=10 штр/мм; Vр - максимальная скорость развертки на экране мм/с, в свою очередь

[42]

[43]

и при длительности развертки Tр=400 пс (на экран) и длине экрана в направлении временной развертки ~20 мм (типичное значение) получаем Vр=0,5×1011 мм/с и τт=2,0 пс. По формуле (2) получаем верхнюю оценку суммарного временного разрешения ЭОП τΣ~5,4 пс, что существенно лучше требуемых 10 пс. В то же время полоса пропускания ОС Fh должна быть выше активной ширины спектра пилообразного импульса развертки: Fh>fsp, где fsp - ширина активного спектра пилообразного импульса развертки. При указанной длительности развертки Тр=400 пс, fsp [ГГц]~0,4/Тр[нс]≥1 ГГц, таким образом полоса пропускания ОС должна быть не менее 1 ГГц.

[44]

2. Размер активной части фотокатода определится требуемым числом каналов N в соответствии с формулой (1), например для N=100 каналов получаем Laf≥(N+1)×t=13,3 мм тогда фотокатод на основе ВОП будет иметь следующие размеры:

[45]

диаметр диска d~15 мм, толщина диска h~5-7 мм; ширина активной области фотокатода, то есть прямоугольной области, на которую нанесен фоточувствительный слой захватывающий торцы всех N внедренных в ВОП ММ волокон, составляет Laf×taf, где taf>0,125 мм и с учетом погрешности нанесения фоточувствительного слоя taf~(0,15-0,25) мм.

[46]

3. Обоснование выбора шага расположения внедренных волокон проводится исходя из следующих соображений: на вход хронографического ЭОП регистратора на основе заявляемого времяанализирующего ЭОП, информационные сигналы подаются по стандартному оптическому одномодовому (SM) кабелю с диаметром световедущей жилы одного волокна 125/10 мкм, где 10 мкм диаметр непосредственно световедущий сердцевины. При этом кабель может содержать до 192 волокон, каждое из которых заканчивается стандартным оптическим разъемом, например вилкой FC/APC типа. На входе ЭО-регистратора эти разъемы должны быть состыкованы с оптическими волокнами, внедренными в ВОП фотокатода, которые могут быть как одномодовыми (SM) 125/10 мкм с розеткой FC/APC типа, так и многомодовыми (ММ) с розеткой FC/PC типа, причем ММ волокна могут иметь размеры оболочки и сердцевины 125/50 мкм и 125/62,5 мкм. Диаметр сердцевины волокна выбирается исходя из данных работы «М.Я.Щелев «Пикосекундная электронно-оптическая диагностика», труды ИОФАН, том №155», где приведен размер минимального элемента разрешения фотокатода ЭОП 100×100 мкм, то есть смысл иметь это значение максимальным, 62,5 мкм. Шаг расположения волокна выбирается исходя из разрешающей способности по полю фотокатода; обозначив электронно-оптическое увеличение m, получаем для типичного значения пространственного разрешения Nэ=10 штр/мм, m=1,1 размер разрешаемого элемента на фотокатоде 90 мкм, а следовательно шаг расположения волокон должен быть больше 90 мкм. Таким образом, в качестве интегрированного в фотокатод волокна целесообразно использовать ММ волокно с максимальным диаметром световедущий сердцевины 62,5 мкм с шагом между волокнами не менее 130 мкм, оконцованное входной розеткой FC/PC типа.

[47]

4. Оценку динамической чувствительности в диапазоне 1,3 мкм можно получить исходя из выводов работы «М.Я.Щелев «Пикосекундная электронно-оптическая диагностика», труды ИОФАН, том №155» о том, что предельная динамическая чувствительность в ближнем ИК диапазоне σ>102 Вт/см2 и при площади сердцевины волокна 125/62,5 мкм, s=30.7 10-6 см2 получаем оценку входной мощности соответствующей нижней границе динамического диапазона Pмин1=σ*s~3 мВт, а сам динамический диапазон составляет ~102. Следует заметить, что указанная оценка дается при длительности импульсов на входе ЭОП τвх~1 пс, при требуемом же в данном случае значении длительности импульсов не менее

[48]

10 пс, исходя из равенства энергий импульса E~Pмин×τвх на нижней границе динамического диапазона значение Pмин1 составит: Pмин1>0,3 мВт.

[49]

5. Оценка входной мощности Pмин2, соответствующей нижней границе динамического диапазона при регистрации изображения на ПЗС матрицу зависит от параметров матрицы. Приведенное к фотокатоду значение Pмин2 можно вычислить по формуле (для приемника ПЗС матрицы ISD017):

[50]

где

[51]

Nmin - минимальное число электронов ПЗС матрицы;

[52]

Sэкр - площадь элемента разрешения экрана;

[53]

τ - заданное временное разрешение ЭОП по фотокатоду ЭОП (10 пс);

[54]

θ - безразмерный коэффициент преобразования ЭОП на заданной длине волны (1,315 мкм);

[55]

σ - коэффициент преобразования ПЗС матрицы

[56]

k - коэффициент преобразования размера экрана ЭОП в размер ПЗС матрицы.

[57]

Подставляя в (6) параметры ЭОП и ПЗС матрицы ISD017: Nmin=10 электронов; θ=10-3; Sэкр=2,6×10-6 см2; σ=1,1*106 электрон/мкДж/см2, получаем Pмин2=2 мВт. Для расширения динамического диапазона по этой составляющей в ЭОП на выходе люминесцентного экрана 10 применена микроканальная пластина (МКП) 11 с регулируемым коэффициентом усиления. Для более четкого переноса изображения с МКП на ПЗС матрицу в ЭОП применен выходной ВОП 12. При типичном значении коэффициента усиления МКП k~10 коэффициент преобразования ЭОП соответственно повышается на порядок и Pмин2 составит величину Pмин2=0,2 мВт, что близко к оценке этого параметра приведенной выше - Pмин1~0,3-1 мВт, которое и принимается за оценку мощности входного оптического сигнала, соответствующей нижней границе динамического диапазона предлагаемого ЭОП.

[58]

Предлагаемый времяанализирующий ЭОП показанный на фигуре 1, работает следующим образом. Входной информационный оптический сигнал каждого из исследуемых каналов на длине волны λ=1,31±0,01 мкм подается через входные оптические разъемы и отрезки оптических волокон 4 на ВОП 2, и попадают на фоточувствительную (активную) область фотокатода 3, где и происходит преобразование импульсной световой мощности исследуемого временного процесса в модулированный по интенсивности электронный пучок 13, ускоряющийся внутри вакуумной трубки 1 в электрическом поле с высокой напряженностью E~0,3×103 В/мм, создаваемом ускоряющим электродом в виде мелкоструктурной сетки 6 в промежутке между фоточувствительной областью фотокатода 3 и поверхностью мелкоструктурной сетки 6, что способствует получению высокого временного и пространственного разрешения. Предложенная конструкция фотокатода 2, 3, 4 обеспечивает малые потери преобразования оптического сигнала в фототок и снижает до минимума разброс потерь в каналах. Разрез конструкции фотокатода 2, 3, 4 с торцами внедренных волокон 4 показан на фигуре 2. Входные отрезки оптического кабеля 4 с оптическими разъемами 5 используются как информационные входы, передача информации по которым производится на рабочей длине волны λ=1310 нм. Часть входных волокон используется для подачи на фотокатод калибровочных сигналов на длине волны от 800 до 1300 нм по отрезкам оптического кабеля 4 с разъемами 5, аналогичным используемым для информационных входов. Для калибровочных сигналов выгодней передавать их на длине волны 800-1000 нм, так как чувствительность фотокатода в этом диапазоне на 3-4 порядка выше чем на 1300 нм и следовательно не нужно формировать сигналы калибровки на высокой оптической мощности. Например для временной калибровки используются электрические гармонические сигналы с периодом Тк~0,1×Тр, где Тр - длительность временной развертки, которые модулируют на оптическом модуляторе оптический сигнал малой мощности (10-100 мкВт) на заданной длине волны. Далее плоский электронный пучок 13, несущий информацию о N входных сигналах, фокусируется в блоке электронных линз 7, проходит через щель в диафрагме ЭОС 8, так что размер щели отсекает «лишние» электроны создающие шумовой поток и попадает в широкополосную ОС 9 «бегущей волны», где и отклоняется по временной оси отклоняющим линейно нарастающим, обычно парафазным, напряжением развертки, подаваемым на ОС 9 через входные разъемы. Щель в диафрагме 8 на выходе ОС 9 соответствует размеру электронного пучка на выходе ОС с учетом отклонения пучка на весь люминесцентный экран 11. Длительность развертки и полоса пропускания ОС должны обеспечивать регистрацию на экране ЭОП по всем информационным каналам исследуемых импульсных сигналов с заданными временными параметрами, такими как фронт, длительность и спад импульсов и заданное техническое временное разрешение согласно формулам (4, 5). Далее плоский электронный пучок 13, несущий информацию о всех входных сигналах, развернутых во времени, приходит на люминесцентный экран 11 на котором прочерчиваются N яркостных треков, модулированных по яркости, которые и несут информацию о регистрируемых информационных и калибровочных сигналах нано- пикосекундного диапазона в масштабно-преобразованном (во временной области) виде, пригодном для регистрации, передачи и обработки в ПК. Информационные и калибровочные треки могут быть прописаны на люминесцентном экране 11 в разные временные отрезки. Описанные яркостные треки могут быть при необходимости усилены на МКП 10 с предварительно установленным внешними схемными элементами коэффициентом усиления и далее с люминесцентного экрана 11 через выходной ВОП 12 изображение треков попадает на ПЗС матрицу ПЗС камеры, с которой оцифрованный сигнал о яркостных треках попадает в ПК для обработки (внешние схемные элементы, ПЗС камера и ПК не относятся к существу полезной модели и на фигуре 1 не показаны).

[59]

Предлагаемый времяанализирующий ЭОП даст наибольший экономический эффект (не менее 10 раз), в системах, где имеется большое (до 192) число оптических каналов регистрации нано- пикосекундных импульсных процессов информация о которых приходит на регистрирующую аппаратуру по стандартным волоконно-оптическим кабелям при значительном удалении источника сигнала от места регистрации, например в установках для термоядерного синтеза. В этом случае вместо, например 100 хронографических ЭОП регистраторов, стоимость каждого из которых может составлять десятки тысяч долларов, может быть использован один ЭО - регистратор на основе заявляемого времяанализирующего ЭОП. В десятки - сотни раз уменьшается энергопотребление и занимаемое регистрирующей аппаратурой место. Другой эффект заключается в повышении точности измерений пространственного распределения и временных параметров исследуемых процессов в связи с отсутствием разброса потерь в каналах и наличием калибровочных сигналов, калибрующих ЭО регистратор как по амплитуде так и по времени.

Как компенсировать расходы
на инновационную разработку
Похожие патенты