патент
№ RU 101141
МПК F16L55/00

ПРОТИВОФИЛЬТРАЦИОННЫЙ ЭКРАН ДЛЯ МЕТАЛЛИЧЕСКИХ ГОФРИРОВАННЫХ ТРУБ

Авторы:
Балахонов Алексей Викторович Ерофеев Михаил Николаевич Николаевский Владимир Евстафьевич
Все (6)
Номер заявки
2010140400/03
Дата подачи заявки
04.10.2010
Опубликовано
10.01.2011
Страна
RU
Как управлять
интеллектуальной собственностью
Чертежи 
1
Реферат

Противофильтрационный экран для металлических гофрированных труб, выполненный в виде двух армированных листов, закрепленных на входной и выходной частях металлической гофрированной трубы, отличающийся тем, что он выполнен из армированных углепластиковых листов с отогнутыми под тупым углом боковыми частями, при этом ширина отогнутых боковых частей составляет не менее 0,5 диаметра металлической гофрированной трубы, при этом армированные углепластиковые листы выполнены с высотой над металлической гофрированной трубой не превышающей высоты насыпи над трубой, а под трубой - с высотой, равной сумме расчетной глубины сезонного промерзания грунта и дополнительного заглубления с учетом местных гидрологических условий, причем высота армированных углепластиковых листов под трубой не должна превышать 3 диаметров металлической гофрированной трубы, а общая высота каждого армированного углепластикового листа не превышает 5 диаметров металлической гофрированной трубы, при этом в каждом армированном углепластиковом листе выполнено отверстие для пропуска и крепления металлической гофрированной трубы и монтажные проушины.

Формула изобретения

Противофильтрационный экран для металлических гофрированных труб, выполненный в виде двух армированных листов, закрепленных на входной и выходной частях металлической гофрированной трубы, отличающийся тем, что он выполнен из армированных углепластиковых листов с отогнутыми под тупым углом боковыми частями, при этом ширина отогнутых боковых частей составляет не менее 0,5 диаметра металлической гофрированной трубы, при этом армированные углепластиковые листы выполнены с высотой над металлической гофрированной трубой не превышающей высоты насыпи над трубой, а под трубой - с высотой, равной сумме расчетной глубины сезонного промерзания грунта и дополнительного заглубления с учетом местных гидрологических условий, причем высота армированных углепластиковых листов под трубой не должна превышать 3 диаметров металлической гофрированной трубы, а общая высота каждого армированного углепластикового листа не превышает 5 диаметров металлической гофрированной трубы, при этом в каждом армированном углепластиковом листе выполнено отверстие для пропуска и крепления металлической гофрированной трубы и монтажные проушины.

Описание

[1]

Полезная модель относится к области строительства водопропускных сооружений из металлических гофрированных труб и может использована, например, при строительстве и восстановлении разрушенных малых и средних мостов и водопропускных систем.

[2]

Известна конструкция противофильтрационного экрана для предотвращения подмыва основания металлической гофрированной трубы и скопления воды под ней, при этом противофильтрационный экран предусматривается по концам металлической гофрированной трубы и выполняется преимущественно из цементно-грунтовой или глинощебеночной смесей, либо железобетона, бетона или гофрированного металла (см. напр. «Рекомендации по проектированию и строительству водопропускных сооружений из металлических гофрированных структур на автомобильных дорогах общего пользования с учетом региональных условий», РОСАВТОДОР, М. - 2009 г., п.6.3, стр.45-50).

[3]

Недостатком известной конструкции является невысокая надежность в части исключения предотвращения подмыва основания металлической гофрированной трубы и скопления воды под ней, а также недостаточная сопротивляемость металлической гофрированной трубы к нагрузкам, деформациям передаваемых от грунта и сил морозного пучения, от возможных карчеходов и ледоходов, длительные сроки строительства и высокие затраты по содержанию водопропускных сооружений в виде металлических гофрированных труб. При кажущейся простоте технологии изготовления известной конструкции, а именно, железобетонных и бетонных экранов, с небольшими отклонениями от технологии производства работ и попадания в тело конструкции противофильтрационного экрана различных технических продуктов (строительный мусор, элементы конструкций и т.д.), происходит изменение свойств, что приводит к частичному разрушению, и в дальнейшем полному разрушению задолго до окончания проектного срока эксплуатации. Также, разрушения железобетонных и бетонных экранов происходят из-за не правильной укладки арматуры, вследствие, чего происходит неравномерное распределение нагрузок и разрушение защитного слоя, появление грибков, высолов, коррозия арматуры на поверхностях данных экранов.

[4]

В основу полезной модели поставлена задача создания конструкции армированного углепластикового противофильтрационного экрана для предотвращения подмыва основания металлической гофрированной трубы и скопления воды под ней, обеспечения надежности, долговечности армированного углепластикового противофильтрационного экрана и металлической гофрированной трубы, сопротивляемости металлической гофрированной трубы к нагрузкам, деформациям передаваемых от грунта и сил морозного пучения, от возможных карчеходов и ледоходов, обеспечивая устойчивость при напорном или полунапорном режиме протекания водного потока с расчетным и максимальным расходом, снижения сроков строительства и затрат по эксплуатационному содержанию металлической гофрированной трубы.

[5]

Поставленная задача решается тем, что противофильтрационный экран для металлических гофрированных труб выполнен в виде двух армированных углепластиковых листов с отогнутыми под тупым углом боковыми частями, при этом ширина отогнутых боковых частей составляет не менее 0,5 диаметра металлической гофрированной трубы, при этом армированные углепластиковые листы выполнены с высотой над металлической гофрированной трубой не превышающей высоту насыпи над трубой, а под трубой с высотой равной сумме расчетной глубины сезонного промерзания грунта и дополнительного заглубления с учетом местных гидрологических условий, причем высота армированных углепластиковых листов под трубой не должна превышать 3 диаметров металлической гофрированной трубы, а общая высота каждого армированного углепластикового листа не превышает 5 диаметров металлической гофрированной трубы, при этом в каждом армированном углепластиковом листе выполнено отверстие для пропуска и крепления металлической гофрированной трубы и монтажные проушины.

[6]

Поскольку противофильтрационный экран для металлических гофрированных труб выполнен из армированных углепластиковых листов с отогнутыми под тупым углом боковыми частями, а ширина отогнутых боковых частей составляет не менее 0,5 диаметра металлической гофрированной трубы, при этом армированные углепластиковые листы выполнены с высотой над металлической гофрированной трубой не превышающей высоту насыпи над трубой, а под трубой с высотой равной сумме расчетной глубины сезонного промерзания грунта и дополнительного заглубления с учетом местных гидрологических условий, причем высота армированных углепластиковых листов под трубой не должна превышать 3 диаметров металлической гофрированной трубы, а общая высота каждого армированного углепластикового листа не превышает 5 диаметров металлической гофрированной трубы, при этом в каждом армированном углепластиковом листе выполнено отверстие для пропуска и крепления металлической гофрированной трубы и монтажные проушины, обеспечивается предотвращение подмыва основания металлической гофрированной трубы и скопления воды под ней, обеспечения надежности, долговечности армированного углепластикового противофильтрационного экрана и металлической гофрированной трубы, сопротивляемости металлической гофрированной трубы к нагрузкам, деформациям передаваемых от грунта и сил морозного пучения, от возможных карчеходов и ледоходов, обеспечивая устойчивость при напорном или полунапорном режиме протекания водного потока с расчетным и максимальным расходом, снижения сроков строительства и затрат по эксплуатационному содержанию металлической гофрированной трубы.

[7]

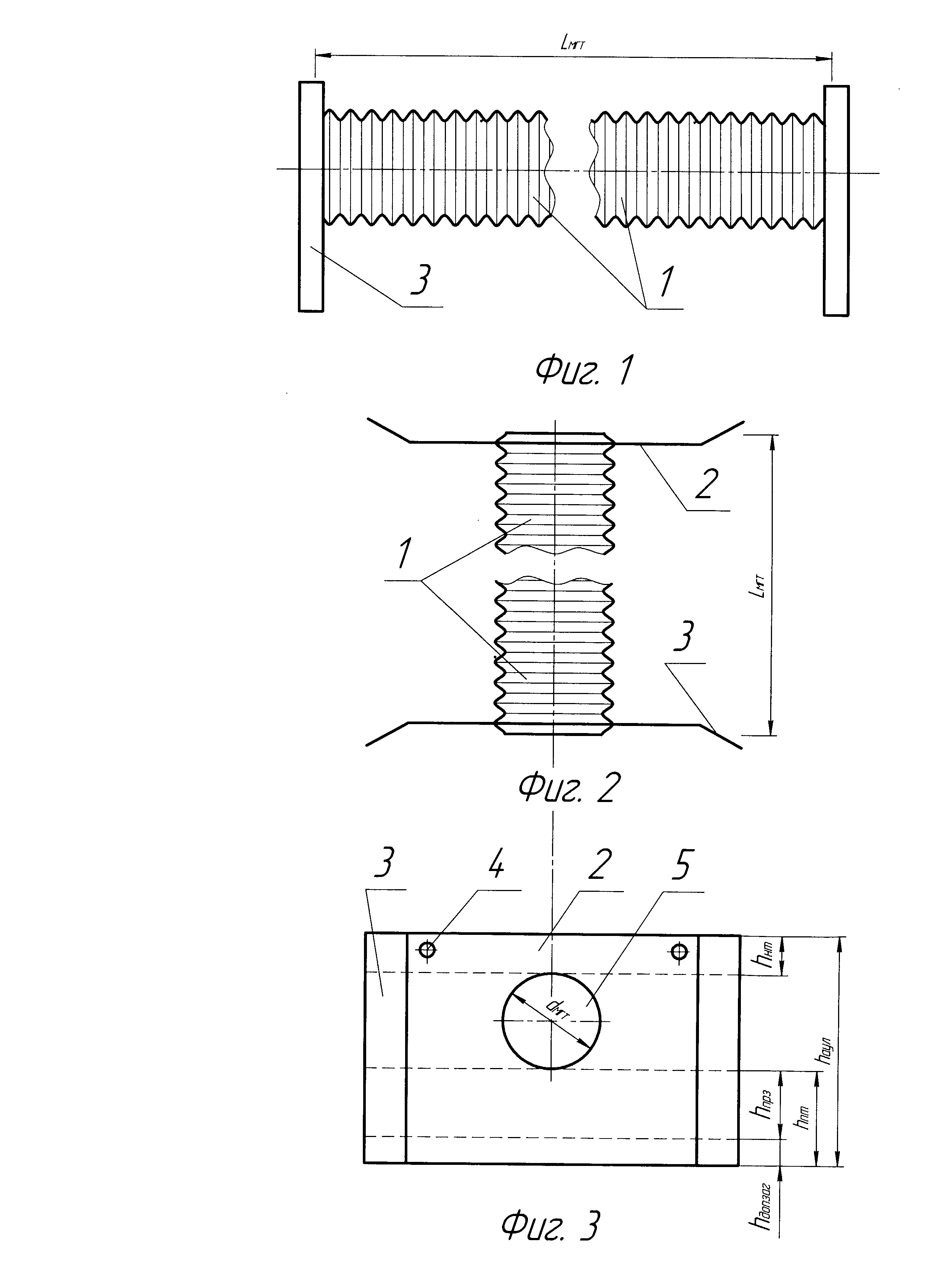
На графическом материале изображен противофильтрационный экран для металлических гофрированных труб: фиг.1 вид экрана и металлической гофрированной трубы сбоку, фиг.2 вид экрана и трубы сверху и фиг.3 вид армированного углепластикового листа.

[8]

Противофильтрационный экран для металлической гофрированной трубы 1 состоит из двух армированных углепластиковых листов 2 с отогнутыми под тупым углом боковыми частями 3, при этом в каждом армированном углепластиковом листе 2 выполнено отверстие 5 для пропуска и крепления металлической гофрированной трубы 1 и монтажные проушины 4.

[9]

Противофильтрационный экран для металлической гофрированной трубы устанавливается и работает следующим образом.

[10]

Перед началом установки, производится инженерно-геологические и гидрологические изыскания для расчета высоты hаул армированных углепластиковых листов 2 противофильтрационного экрана. Для этого суммируются высота hнт листа над металлической гофрированной трубой 1, диаметр металлической гофрированной трубы dMГT и высота hпт листа под металлической гофрированной трубой 1. При определении hпт суммируются расчетная глубина сезонного промерзания грунта hпрз и дополнительное заглубление с учетом местных гидрологических условий hдопзаг. Расчетная глубина сезонного промерзания грунта hпрз определяется согласно СНиП 2.02.04-88 «Основания и фундаменты», а дополнительное заглубление hдопзаг с учетом местных гидрологических условий зависит от фактического расположения металлической гофрированной трубы 1 на местности согласно проекта, и учитывает, имеются ли рядом болота, открытые и подземные ручьи и т.д. После получения проектного решения изготавливают углепластиковые листы 2 высотой hаул, а также производятся работы по устройству котлована под армированные углепластиковые листы 2. Далее за монтажные проушины 4 устанавливают готовые армированные углепластиковый листы 2 в котлованы так, чтобы ось отверстия 5 в листах 2 совпадала с осью металлической гофрированной трубы 1 длиной LМГТ. Зафиксировав армированные углепластиковые листы 2 производится обратная засыпка противофильтрационного экрана. Далее, через отверстие 5 армированных углепластиковых листов 2 производится пропуск и крепление элементов металлической гофрированной трубы 1.

[11]

Параметры элементов конструкции армированного углепластикового противофильтрационного экрана для металлической гофрированной трубы выбраны экспериментальным путем и обеспечивают работоспособность водопропускного сооружения.

[12]

Диапазон применения данного армированного углепластикового противофильтрационного экрана для водопропускных гофрированных конструкций широк и может быть применяться в разных регионах Российской Федерации, за исключением районов с наличием вечномерзлых грунтов.

Как компенсировать расходы
на инновационную разработку
Похожие патенты