патент
№ RU 2310815
МПК G01B11/24

УСТРОЙСТВО ДЛЯ НАСТРОЙКИ КОМПЛЕКСА БЕСКОНТАКТНЫХ ИЗМЕРЕНИЙ

Авторы:
Бабичев Георгий Сафронович
Номер заявки
2006104299/28
Дата подачи заявки
14.02.2006
Опубликовано
20.11.2007
Страна
RU
Как управлять
интеллектуальной собственностью
Реферат

[28]

Изобретение относится к измерительной технике и направлено на повышение точности настройки комплекса бесконтактных измерений при возможности учета перспективных искажений в процессе обработки результатов измерений. Этот технический результат обеспечивается за счет того, что устройство для настройки комплекса бесконтактных измерений включает платформу и закрепленные на ней шесть объектов, каждый из которых выполнен в виде усеченного конуса с диаметром D в своем основании, причем основания четырех усеченных конусов размещены в одной плоскости, а основания двух других - расположены на расстоянии Н от упомянутой плоскости, причем платформа выполнена с возможностью размещения в поле освещения по меньшей мере одного проекционного оптического устройства и в поле зрения по меньшей мере одного регистрирующего оптического устройства, входящих в комплекс бесконтактных измерений. Четыре усеченных конуса, основания которых размещены в одной плоскости, расположены таким образом, что вершины их конических поверхностей образуют прямоугольник со сторонами А и В. A>2D и B>D для исключения взаимного затенения конических поверхностей усеченных конусов. 3 з.п. ф-лы, 1 ил.

Формула изобретения

1. Устройство для настройки комплекса бесконтактных измерений, включающее платформу и закрепленные на ней шесть объектов, каждый из которых выполнен в виде усеченного конуса с диаметром D в своем основании, причем основания четырех усеченных конусов размещены в одной плоскости, а основания двух других расположены на расстоянии Н от упомянутой плоскости, причем платформа выполнена с возможностью размещения в поле освещения по меньшей мере одного проекционного оптического устройства и в поле зрения по меньшей мере одного регистрирующего оптического устройства, входящих в комплекс бесконтактных измерений.

2. Устройство по п.1, отличающееся тем, что четыре усеченных конуса, основания которых размещены в одной плоскости, расположены таким образом, что вершины их конических поверхностей образуют прямоугольник со сторонами А и В.

3. Устройство по п.2, отличающееся тем, что A>2D и B>D для исключения взаимного затенения конических поверхностей усеченных конусов.

4. Устройство по п.1, отличающееся тем, что комплекс бесконтактных измерений дополнительно содержит информационно-вычислительную систему.

Описание

[1]

Изобретение относится к измерительной технике и может быть применено для настройки оптических комплексов бесконтактных измерений.

[2]

Известно устройство для настройки комплекса бесконтактных измерений (US 5612786, 18.03.1997, G01B 11/24) в который входят, по меньшей мере, две оптические изображающие системы, по меньшей мере, одна из которых является регистрирующим устройством. В качестве оптических систем в данном комплексе бесконтактных измерений использованы камера и проектор. Устройство представляет собой специально изготовленную конструкцию, содержащую усеченные пирамиды, положение вершин которых предварительно определено с достаточно высокой точностью. Поверхности пирамид полагаются плоскими, и при калибровке используются вершины каждой из пирамид, которые определяются как точки пересечения их плоских граней. По этим данным находятся параметры, позволяющие связать непосредственные результаты измерений (положение точки на изображении, фаза полосы) с пространственными координатами соответствующей точки поверхности измеряемого объекта.

[3]

Недостатком данного устройства является то, что опорные точки находятся как результат пересечения трех поверхностей, поэтому отклонения от плоскостности при изготовлении каждой из поверхностей влияют на точность калибровки. При этом если одна из трех поверхностей расположена под неудачным ракурсом по отношению к камере или проектору, точность настройки снижается, что налагает дополнительные требования на расположение устройства для настройки.

[4]

Технический результат заявленного изобретения - повышение точности настройки комплекса бесконтактных измерений при возможности учета перспективных искажений в процессе обработки результатов измерений.

[5]

Для получения заявленного технического результата устройство для настройки комплекса бесконтактных измерений, в который входят, по меньшей мере, две оптические изображающие системы, по меньшей мере, одна из которых является регистрирующим устройством, содержит платформу и закрепленные на ней шесть объектов, выполненных в виде усеченных конусов с диаметром D в своем основании, причем основания четырех из них размещены в одной плоскости, а основания двух других - расположены на расстоянии Н от упомянутой плоскости.

[6]

При этом четыре усеченных конуса, основания которых размещены в одной плоскости, расположены таким образом, что вершины их конических поверхностей образуют прямоугольник со сторонами А и В.

[7]

Причем для прямоугольника со сторонами А и В должны быть соблюдены следующие соотношения: А>2D и В>D для исключения взаимного затенения конических поверхностей усеченных конусов.

[8]

Комплекс бесконтактных измерений может содержать информационно-вычислительную систему.

[9]

Под оптической изображающей системой в данном случае понимается устройство, содержащее оптическую систему, позволяющую получить или спроецировать изображения из одной плоскости в другую, например проектор, видеопроектор, камера, фотоаппарат и т.д.

[10]

Под регистрирующей системой понимается оптическая изображающая система, формирующая изображения в плоскости, в которой расположена фоточувствительная среда, с помощью которой данное изображение может быть зарегистрировано. К таким устройствам можно отнести видеокамеры (цифровые и пленочные), фотоаппараты и т.п.

[11]

Заявленное устройство может применяться для настройки оптических комплексов бесконтактных измерений, основанных на принципах параллакса при наблюдении и/или освещении объекта измерений с двух или более направлений в пространстве. Характерной чертой таких комплексов является возможность вычислений координат точек поверхностей при известном пространственном положении элементов (оптических изображающих систем) комплекса. Пространственное положение элементов комплекса определяется при настройке, которая может осуществляться с помощью заявленного устройства.

[12]

В качестве оптических изображающих систем комплекс бесконтактных измерений может включать, по меньшей мере, два регистрирующих устройства (например, две цифровые видеокамеры) или, может включать, по меньшей мере, одно регистрирующее устройство (например, цифровую видеокамеру) и, по меньшей мере, одно проекционное устройство (например, видеопроектор).

[13]

Использование предложенного устройства для настройки комплекса бесконтактных измерений позволяет построить итерационную схему вычислений, позволяющую установить пространственное положение для каждой из оптической изображающей системы, входящей в комплекс бесконтактных измерений, относительно устройства для настройки комплекса бесконтактных измерений. Пространственное положение оптической изображающей системы (например, видеопроектора или цифровой видеокамеры) в некоторой заданной системе координат определяется точкой, через которую проходят все лучи системы (центр объектива), двумя углами, характеризующими направление оптической системы, и углом, характеризующим поворот соответственно матрицы, формирующей изображение, или светочувствительной матрицы, вокруг оптической оси системы. До сих пор при использовании цифровых оптических изображающих систем точность получения параметров, необходимых для пересчета данных измерений в реальные размеры ограничивалась пикселом - минимальным элементом разрешения изображения. К тому же не все ранее применяемые схемы настройки позволяли учесть перспективные искажения, что соответствует принятию предположения о бесконечном удалении оптических изображающих систем от объекта измерения, а в реальности приводило к появлению искажений. Применяемые ранее методы не предполагали усреднение по большому количеству элементов изображения (пикселов) при настройке, что приводило к ограничению точности последующих измерений.

[14]

Выполнение устройства для настройки комплекса бесконтактных измерений содержащим платформу и закрепленные на ней шесть объектов, выполненных в виде шести усеченных конусов с диаметром D в своем основании, конические поверхности которых являются настроечными, причем основания четырех из них размещены в одной плоскости, а основания двух других - расположены на расстоянии Н от упомянутой плоскости, позволяет получить точки привязки на изображении, по которым производятся вычисления, с субпиксельным разрешением (в результате усреднения по большому массиву видимых (освещаемых) пикселов на конической поверхности каждого усеченного конуса), т.е. приводит к повышению точности настройки комплекса бесконтактных измерений. При этом приведенное выше расположение усеченных конусов позволяет:

[15]

- избежать их затенение друг другом при наблюдении и/или освещении устройства для настройки оптическими изображающими системами с разных точек пространства;

[16]

- построить итерационную схему вычислений, позволяющую с одной экспозиции провести всю необходимую настройку элементов комплекса бесконтактных измерений, используя в аппроксимации значительное количество элементов разрешения (пикселов) оптических изображающих систем.

[17]

К тому же при изготовлении конструктивных элементов заявленного устройства для настройки комплекса бесконтактных измерений может быть использовано стандартное оборудование, которое позволяет их точно выполнить и аттестовать, а для контроля точности изготовления конических поверхностей усеченных конусов можно применить традиционные методы контроля.

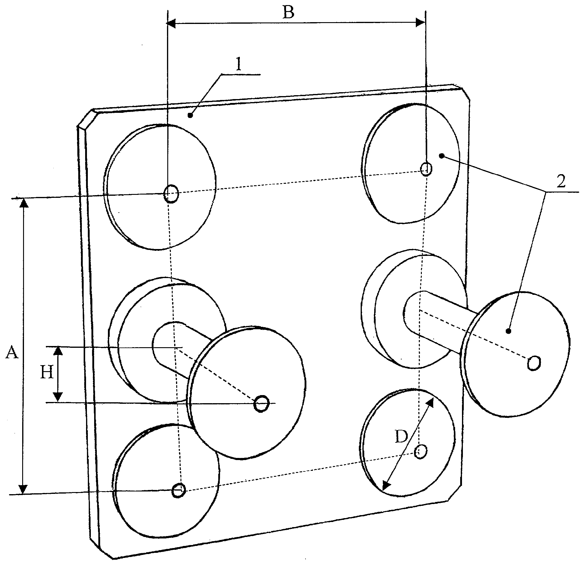
[18]

Изобретение поясняется схематичным чертежом, на котором изображен общий вид устройства для настройки комплекса бесконтактных измерений.

[19]

Устройство для настройки комплекса бесконтактных измерений, который включает, например, цифровую видеокамеру, видеопроектор и компьютер (не показаны), содержит плоскую платформу 1 (выполненную, например, в виде прямоугольника) и закрепленные на ней шесть объектов, выполненных в виде усеченных конусов 2 с диаметром D в своем основании, конические поверхности которых являются настроечными, причем основания четырех из них размещены в одной плоскости, а основания двух других - расположены на расстоянии Н от упомянутой плоскости.

[20]

Устройство для настройки комплекса бесконтактных измерений используют следующим образом (рассмотрено на примере настройки комплекса бесконтактных измерений, включающего один видеопроектор и одну цифровую видеокамеру).

[21]

Устройство для настройки комплекса бесконтактных измерений размещают в поле освещения проекционного оптического устройства, например видеопроектора, и в поле зрения регистрирующего устройства, например цифровой видеокамеры. Получаемые цифровой видеокамерой изображения устройства для настройки комплекса бесконтактных измерений вводят в информационно-вычислительную систему комплекса, например компьютер. С устройством для настройки комплекса бесконтактных измерений связана система координат пространства, в которой проводятся вычисления. Вычисления проводят как итерационный процесс.

[22]

Для получения первого приближения на полученном изображении устройства для настройки комплекса бесконтактных измерений задают приблизительные видимые положения вершин (в пикселах) конических поверхностей усеченных конусов 2 (допускается неточность в определении в 20 и более пикселов). По этим данным приблизительно оценивают и вычисляют усредненный масштаб изображения устройства для настройки комплекса бесконтактных измерений, исчисляемый в миллиметрах на пиксел (перспективными искажениями для формирования первого приближения пренебрегают, поскольку полагают, что видеопроектор и цифровая видеокамера расположены достаточно далеко). Далее, исходя из величины диаметров D конусов 2, выбираются для каждого конуса 2 массивы точек (пикселов) таким образом, чтобы все они принадлежали изображениям конических поверхностей усеченных конусов. Эти данные позволяют построить математическую модель пространственного положения видеопроектора и цифровой видеокамеры (элементов комплекса бесконтактных измерений) в первом приближении, в котором полагают, что цифровая видеокамера и видеопроектор находятся в бесконечности. Основываясь на этой модели, когда приближенное пространственное положение цифровой видеокамеры и видеопроектора известны, получают приближенные координаты пространственного положения массивов точек конических поверхностей каждого усеченного конуса 2, которые аппроксимируют идеальным конусом. При этом, например, с помощью метода наименьших квадратов, определяют, в числе других параметров аппроксимации, уточненное по отношению к первоначально заданным положение вершин конических поверхностей каждого конуса 2 на матрице пикселов цифровой видеокамеры и видеопроектора.

[23]

Начиная со второго приближения, учитывают перспективные искажения. По координатам (двумерным в плоскости изображения ПЗС-матрицы камеры и LCD-матрицы видеопроектора) вершин конических поверхностей конусов 2 определяют пространственное положение цифровой видеокамеры и видеопроектора в системе координат устройства для настройки комплекса бесконтактных измерений. В числе определяемых параметров снова получают уточненные направления на видеопроектор или цифровую видеокамеру относительно устройства для настройки комплекса бесконтактных измерений, которые определяются по смещению на изображении середины отрезка, соединяющего вершины конических поверхностей усеченных конусов 2, расположенных на расстоянии Н, по отношению к изображению точки пересечения диагоналей прямоугольника со сторонами А и В. Расстояния до центров проекции (центров объективов) определяют из сопоставления расстояния между серединами сторон прямоугольника и вершинами конических поверхностей усеченных конусов 2, расположенных на расстоянии Н.

[24]

На основании этих данных строится уточненная модель пространственного положения видеопроектора и цифровой видеокамеры, учитывающая перспективные искажения (возникающие из-за конечного расстояния между центрами проекции и устройством для настройки комплекса бесконтактных измерений).

[25]

Далее действия, описанные для второго приближения, циклически повторяются до достижения заданной точности настройки комплекса бесконтактных измерений.

[26]

В том случае, если при настройке комплекса бесконтактных измерений используют две цифровые видеокамеры, то применяют аналогичную схему итераций. При этом предполагают, что на конические поверхности усеченных конусов 2 нанесен любой узор, позволяющий идентифицировать отдельные точки на этих поверхностях аналогично тому, как это производится при дальнейших измерениях объектов.

[27]

В результате экспериментальных данных с заявленным устройством для настройки комплекса бесконтактных измерений установлено, что предложенная итерационная схема обладает устойчивой сходимостью, обеспечивая точность вычислений порядка 107 межпиксельного расстояния за несколько десятков итераций.

Как компенсировать расходы
на инновационную разработку
Похожие патенты