патент
№ RU 2523133
МПК A61B5/0205

УСТРОЙСТВО ДЛЯ РЕГИСТРАЦИИ СИГНАЛОВ ПУЛЬСОВОЙ ВОЛНЫ И ДЫХАТЕЛЬНОГО ЦИКЛА ЧЕЛОВЕКА

Авторы:
РУБИН Михаил Семенович
Номер заявки
2012158200/14
Дата подачи заявки
24.12.2012
Опубликовано
20.07.2014
Страна
RU
Как управлять
интеллектуальной собственностью
Чертежи 
11
Реферат

Изобретение относится к медицинской технике. Устройство (1) для регистрации сигналов пульсовой волны и дыхательного цикла человека содержит два токопроводящих электрода (2, 3) для размещения на теле человека, первый (4) и второй (6) операционные усилители, амплитудный детектор (5), переключаемый частотно-зависимый делитель напряжения (8) и микроконтроллер (7). Электроды (2, 3) включены в цепь отрицательной обратной связи первого операционного усилителя (4). Микроконтроллер (7) выполнен с возможностью генерирования на выходе первого порта (L) ввода-вывода высокочастотного несущего сигнала. Верхнее (10) и нижнее (11) плечи делителя напряжения (8) образованы двумя цепями, имеющими общий конец в средней точке делителя напряжения и два раздельных конца. Второй операционный усилитель (6) и делитель напряжения (8) образуют активный полосовой фильтр с верхней и нижней частотой среза, определяемой параметрами верхнего (10) и нижнего (11) плеча делителя напряжения (8) соответственно. Частотные характеристики такого фильтра при подключении второго порта (M) ввода-вывода микроконтроллера (7) к нулевому потенциалу обеспечивают регистрацию сигнала в полосе частот, соответствующей полосе частот сигнала пульсовой волны, а при подключении третьего порта (N) ввода-вывода микроконтроллера (7) к нулевому потенциалу - регистрацию сигнала в полосе частот, соответствующей полосе частот сигнала дыхательного цикла. Применение изобретения позволит регистрировать сигналы пульсовой волны и дыхательного цикла человека на основе измерения импеданса участка тела при помощи простой неперестраиваемой электрической схемы. 13 з.п. ф-лы, 12 ил.

Формула изобретения

1. Устройство для регистрации сигналов пульсовой волны и дыхательного цикла человека, включающее
два токопроводящих электрода, размещаемых на теле человека, первый и второй операционные усилители, амплитудный детектор, переключаемый частотно-зависимый делитель напряжения и микроконтроллер, при этом
упомянутые электроды включены в цепь отрицательной обратной связи первого операционного усилителя, неинвертирующий вход которого подключен к нулевому потенциалу, а инвертирующий вход через резистор подключен к первому порту ввода-вывода микроконтроллера, выполненного с возможностью генерирования на выходе первого порта ввода-вывода высокочастотного несущего сигнала,
выход первого операционного усилителя через амплитудный детектор подключен к неинвертирующему входу второго операционного усилителя, выход которого подключен ко входу аналого-цифрового преобразователя микроконтроллера,
переключаемый частотно-зависимый делитель напряжения имеет верхнее плечо и нижнее плечо, образованное двумя цепочками, имеющими общий конец в средней точке частотно-зависимого делителя напряжения и два раздельных конца, причем частотно-зависимый делитель напряжения подключен к выходу второго операционного усилителя, его верхнее плечо включено в цепь отрицательной обратной связи второго операционного усилителя, а раздельные концы нижнего плеча подключены соответственно ко второму и к третьему портам ввода-вывода микроконтроллера, выполненного с возможностью подключения второго или третьего порта ввода-вывода к нулевому потенциалу,
при этом второй операционный усилитель и переключаемый частотно-зависимый делитель напряжения образуют активный полосовой фильтр с верхней частотой среза, определяемой по существу параметрами верхнего плеча частотно-зависимого делителя напряжения, и нижней частотой среза, определяемой по существу параметрами нижнего плеча частотно-зависимого делителя напряжения, причем частотные характеристики такого фильтра при подключении второго порта ввода-вывода микроконтроллера к нулевому потенциалу обеспечивают регистрацию сигнала в полосе частот, соответствующей полосе частот сигнала пульсовой волны, а частотные характеристики фильтра при подключении третьего порта ввода-вывода микроконтроллера к нулевому потенциалу обеспечивают регистрацию сигнала в полосе частот, соответствующей полосе частот сигнала дыхательного цикла.

2. Устройство по п.1, характеризующееся тем, что частота несущего сигнала, генерируемая микроконтроллером на выходе первого порта ввода-вывода, составляет от 1 кГц до 4 МГц.

3. Устройство по п.1, характеризующееся тем, что упомянутая полоса частот, соответствующая полосе частот сигнала пульсовой волны, составляет от 1 Гц до 25 Гц.

4. Устройство по п.1, характеризующееся тем, что упомянутая полоса частот, соответствующая полосе частот сигнала дыхательного цикла, составляет от 0,1 Гц до 25 Гц.

5. Устройство по п.1, характеризующееся тем, что верхнее плечо частотно-зависимого делителя напряжения выполнено в виде параллельной RC цепочки, а цепочки нижнего плеча частотно-зависимого делителя напряжения образованы двумя отдельными последовательными RC цепочками, одни концы которых объединены и являются упомянутым общим концом цепочек нижнего плеча упомянутого делителя, а два других конца являются упомянутыми раздельными концами цепочек нижнего плеча упомянутого делителя.

6. Устройство по п.1, характеризующееся тем, что верхнее плечо частотно-зависимого делителя напряжения выполнено в виде параллельной RC цепочки, а цепочки нижнего плеча частотно-зависимого делителя напряжения образованы двумя последовательными RC цепочками, имеющими общий резистор, свободный конец которого является упомянутым общим концом цепочек нижнего плеча упомянутого делителя, а свободные концы конденсаторов являются упомянутыми раздельными концами цепочек нижнего плеча упомянутого делителя.

7. Устройство по п.1, характеризующееся тем, что верхнее плечо частотно-зависимого делителя напряжения выполнено в виде параллельной RC цепочки, а цепочки нижнего плеча частотно-зависимого делителя напряжения образованы двумя последовательными RC цепочками, имеющими общий конденсатор, свободный конец которого является упомянутым общим концом цепочек нижнего плеча упомянутого делителя, а свободные концы резисторов являются упомянутыми раздельными концами цепочек нижнего плеча упомянутого делителя.

8. Устройство по п.1, характеризующееся тем, что имеет держатель, в котором размещены компоненты электрической схемы устройства, включая упомянутые электроды, первый и второй операционные усилители, амплитудный детектор, переключаемый частотно-зависимый делитель напряжения и микроконтроллер, при этом держатель выполнен с возможностью закрепления вокруг запястья человека так, чтобы электроды примыкали к запястью, каждый из электродов выполнен секционным, причем секции одного и другого электродов расположены попеременно в один ряд на внутренней поверхности держателя.

9. Устройство по п.8, характеризующееся тем, что число секций каждого электрода составляет по меньшей мере три.

10. Устройство по п.8, характеризующееся тем, что каждая секция обоих электродов имеет контактную площадь по меньшей мере 1 см2.

11. Устройство по п.8, характеризующееся тем, что держатель выполнен в виде гибкой ленты, закрепляемой на запястье с помощью застежки.

12. Устройство по п.8, характеризующееся тем, что держатель выполнен в виде браслета, имеющего секции, шарнирно соединенные между собой.

13. Устройство по п.8, характеризующееся тем, что держатель выполнен в виде надеваемой на запястье манжеты.

14. Устройство по п.8, характеризующееся тем, что дополнительно снабжено приемо-передающим устройством для управления микроконтроллером и передачи регистрируемых сигналов пульсовой волны и дыхательного цикла, при этом приемо-передающее устройство размещено в держателе.

Описание

[2]

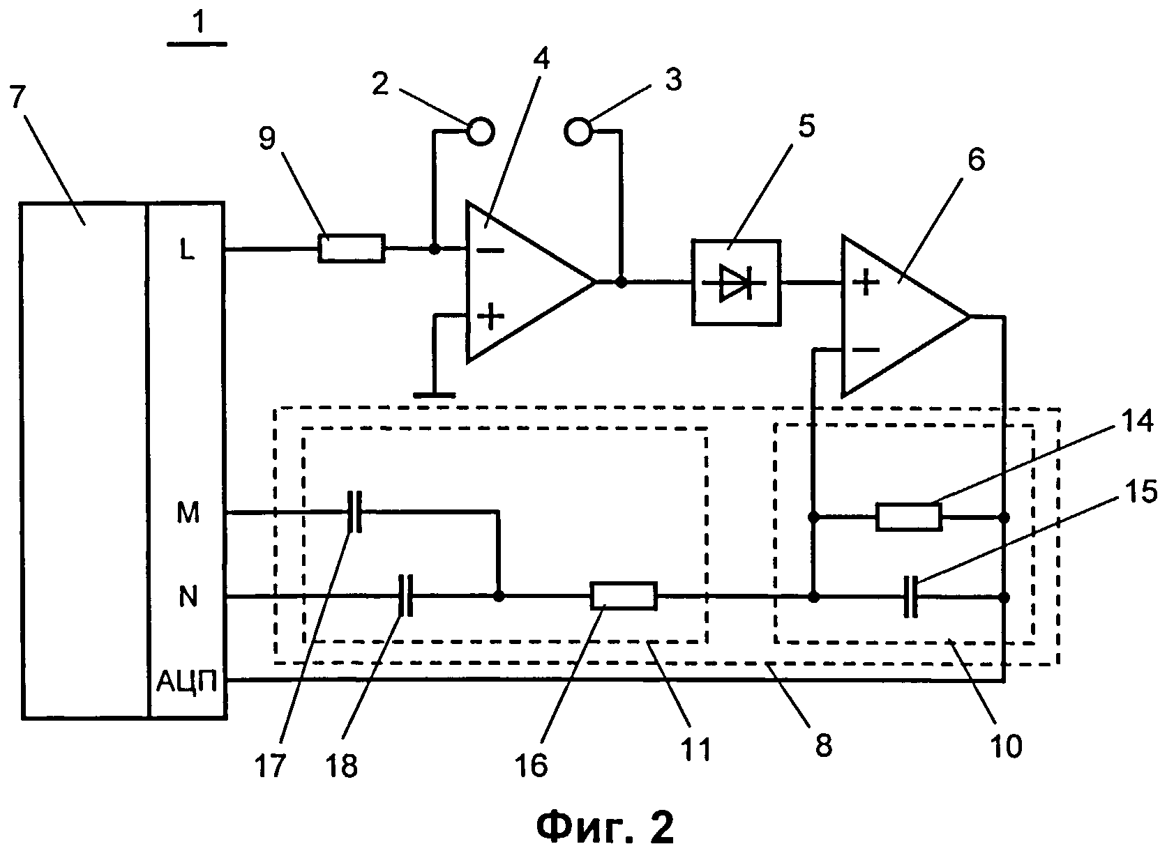
ОБЛАСТЬ ТЕХНИКИ

[3]

Изобретение относится к области измерений для диагностических целей, в частности с использованием измерения импеданса участка тела человека, и предназначено для регистрации сигналов пульсовой волны и дыхательного цикла. Изобретение может быть использовано в системах мониторинга жизнедеятельности человека.

[4]

УРОВЕНЬ ТЕХНИКИ

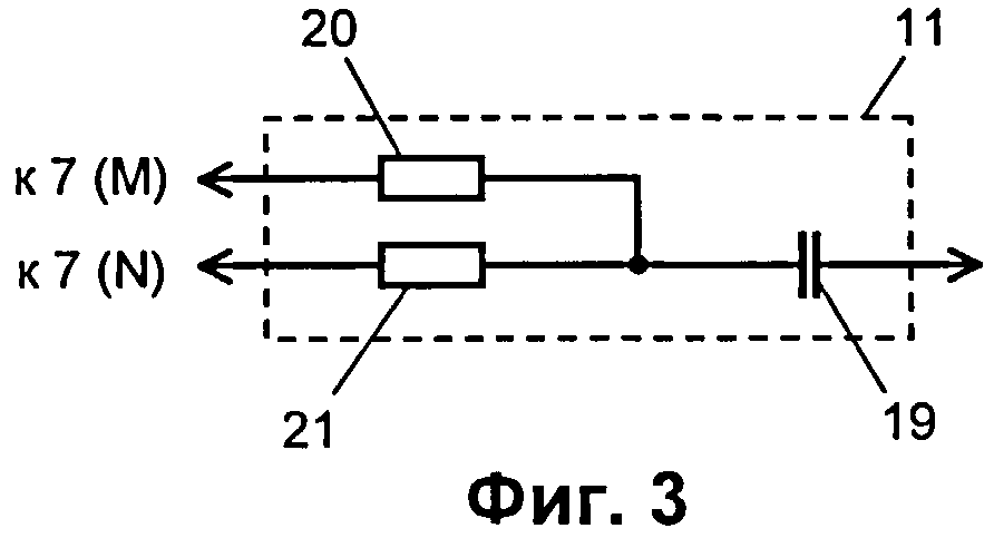
[5]

Известны различные технические решения, относящиеся к регистрации сигналов пульсовой волны и дыхательного цикла, осуществляемой на основе импедансометрии, то есть измерения импеданса участка тела человека.

[6]

Так, в заявке US 2010/0076328 (публ. 25.03.2010, МПК А61В 5/024) описано устройство для регистрации и измерения параметров сигнала пульсовой волны, включающее систему электродов, размещаемых на теле человека, в частности на запястье. Система электродов включает пару питающих электродов, подключенных к источнику тока, и пару измерительных электродов, расположенных между питающими электродами и предназначенных для регистрации разности потенциалов, вызванной протекающим по участку тела током и зависящей от импеданса участка тела. В свою очередь, импеданс участка тела прямо связан с кровенаполнением сосудов, поэтому регистрируемый измерительными электродами сигнал соответствует сигналу пульсовой волны. Однако данное устройство не позволяет регистрировать сигнал дыхательного цикла.

[7]

В заявке US 2008/0171946 (публ. 17.07.2008, МПК А61В 5/053, А61В 5/08) описано устройство для определения частоты дыхания пациента по сигналу дыхательного цикла, регистрируемого методом импедансной плетизмографии. Устройство включает систему электродов, размещаемых на теле человека. Система электродов включает пару питающих электродов, подключенных к источнику переменного тока частотой в диапазоне от 50 кГц до 100 кГц - частота несущей, и две пары измерительных электродов, расположенных между питающими электродами и предназначенных для регистрации разности потенциалов, вызванной протекающим по участку тела током и зависящей от импеданса участка тела. В свою очередь, импеданс участка тела прямо связан с кровенаполнением сосудов, поэтому регистрируемый измерительными электродами сигнал после детектирования и отделения его от несущей соответствует сигналу пульсовой волны и включает составляющую дыхательного цикла. В дальнейшем путем частотной фильтрации осуществляют разделение сигналов пульсовой волны и дыхательного цикла. Частота дыхания определяется по сигналу дыхательного цикла. Для получения устойчивого сигнала система электродов размещается в области ключицы вдоль артерии. Вторая пара измерительных электродов используется в сочетании с первой для измерения скорости распространения пульсовой волны. Данное устройство позволяет регистрировать как сигнал пульсовой волны, так и сигнал дыхательного цикла, однако предполагает использование достаточно сложной системы электродов разного типа, к которым предъявляются высокие требования по их взаимному расположению и размещению на теле человека.

[8]

Наиболее близким к настоящему изобретению является диагностическое оборудование, описанное в патенте US 6626842 (публ. 30.09.2003, МПК А61В 5/0205). Это оборудование включает устройство регистрации сигналов пульсовой волны и дыхательного ритма, также реализующее метод импедансной плетизмографии. Устройство включает два электрода, размещаемых на груди человека. К электродам от генератора подводится питающее напряжение частотой 50 кГц, на которой регистрируется импеданс грудного отдела. Электроды также подключены к усилителю, усиливающему сигнал с электродов, который после амплитудной демодуляции и аналого-цифрового преобразования поступает в вычислительный блок, в котом разделяется на сигнал пульсовой волны и сигнал дыхательного цикла. Данное устройство позволяет регистрировать как сигнал пульсовой волны, так и сигнал дыхательного цикла, однако оно достаточно сложно в технической реализации.

[9]

Технической задачей, на решение которой направлено настоящее изобретение, является создание простого устройства, обеспечивающего на основе измерения импеданса участка тела человека регистрацию сигнала пульсовой волны и сигнала дыхательного цикла человека.

[10]

РАСКРЫТИЕ ИЗОБРЕТЕНИЯ

[11]

В соответствии с настоящим изобретением устройство для регистрации сигналов пульсовой волны и дыхательного цикла человека включает два токопроводящих электрода, размещаемых на теле человека, первый и второй операционные усилители, амплитудный детектор, переключаемый частотно-зависимый делитель напряжения и микроконтроллер. Электроды включены в цепь отрицательной обратной связи первого операционного усилителя, неинвертирующий вход которого подключен к нулевому потенциалу, а инвертирующий вход через резистор подключен к первому порту ввода-вывода микроконтроллера, выполненного с возможностью генерирования на выходе первого порта ввода-вывода высокочастотного несущего сигнала. Выход первого операционного усилителя через амплитудный детектор подключен к неинвертирующему входу второго операционного усилителя, выход которого подключен ко входу аналого-цифрового преобразователя микроконтроллера. Переключаемый частотно-зависимый делитель напряжения имеет верхнее плечо и нижнее плечо, образованное двумя цепочками, имеющими общий конец в средней точке частотно-зависимого делителя напряжения и два раздельных конца, причем частотно-зависимый делитель напряжения подключен к выходу второго операционного усилителя, его верхнее плечо включено в цепь отрицательной обратной связи второго операционного усилителя, а раздельные концы нижнего плеча подключены соответственно ко второму и к третьему портам ввода-вывода микроконтроллера, выполненного с возможностью подключения второго или третьего порта ввода-вывода к нулевому потенциалу. Включенные таким образом второй операционный усилитель и переключаемый частотно-зависимый делитель напряжения образуют активный полосовой фильтр с верхней частотой среза, определяемой по существу параметрами верхнего плеча частотно-зависимого делителя напряжения, и нижней частотой среза, определяемой по существу параметрами нижнего плеча частотно-зависимого делителя напряжения, причем частотные характеристики такого фильтра при подключении второго порта ввода-вывода микроконтроллера к нулевому потенциалу обеспечивают регистрацию сигнала в полосе частот, соответствующей полосе частот сигнала пульсовой волны, а частотные характеристики фильтра при подключении третьего порта ввода-вывода микроконтроллера к нулевому потенциалу обеспечивают регистрацию сигнала в полосе частот, соответствующей полосе частот сигнала дыхательного цикла.

[12]

Включение электродов в цепь отрицательной обратной связи (ООС) операционного усилителя позволяет при заданном напряжении высокочастотного несущего сигнала на выходе первого порта ввода-вывода микроконтроллера, значении сопротивления резистора, через которые к выходу этого порта микроконтроллера подключен инвертирующий вход первого операционного усилителя, а также известных для операционных усилителей соотношениях сопротивлений во входной цепи, цепи ООС и токов в этих цепях, определять по значению выходного напряжения первого операционного усилителя значение импеданса участка тела между электродами на частоте этого несущего сигнала. Как известно, изменение импеданса участка тела человека связано с изменением кровенаполнения этого участка в соответствии с сердечным и дыхательными циклами, что может быть использовано для выделения из сигнала импеданса сигналов пульсовой волны и дыхательного цикла. Амплитудный детектор служит для выделения огибающей амплитудно-модулированного сигнала импеданса, поступающего через второй операционный усилитель на вход аналого-цифрового преобразователя (АЦП) микроконтроллера. Второй операционный усилитель вместе с переключаемым частотно-зависимым делителем образует оригинальный перестраиваемый активный полосовой фильтр, обеспечивающий усиление входного сигнала либо в полосе частот, соответствующей полосе частот сигнала пульсовой волны, либо в полосе частот, соответствующей полосе частот сигнала дыхательного цикла, что позволяет выделить эти сигналы из сигнала импеданса участка тела человека. Переключение полосы частот осуществляется микропроцессором путем подключения соответствующей цепочки нижнего плеча делителя напряжения к нулевому потенциалу.

[13]

Таким образом, устройство позволяет регистрировать сигналы пульсовой волны и дыхательного цикла человека на основе измерения импеданса участка его тела при помощи простой неперестраиваемой электрической схемы, управление которой также простое и осуществляется посредством микроконтроллера.

[14]

Частота, генерируемого микроконтроллером на выходе первого порта ввода-вывода несущего сигнала, на которой измеряется импеданс, составляет от 1 кГц до 4 МГц.

[15]

Учитывая спектры сигнала пульсовой волны и сигнала дыхательного цикла, полоса частот активного фильтра, образованного вторым операционным усилителем и переключаемым частотно-зависимым делителем напряжения, составляет от 1 Гц до 25 Гц и от 0,1 Гц до 25 Гц соответственно. То есть указанные значения частоты соответствуют нижней и верхней частотам среза такого фильтра.

[16]

Переключаемый частотно-зависимый делитель напряжения может быть выполнен известным образом с помощью RC- или LC-цепочек, схема включения и электрические параметры которых выбираются с учетом указанных значений верхней частоты среза и нижней частоты среза для активного полосового фильтра, построенного на втором операционном усилителе.

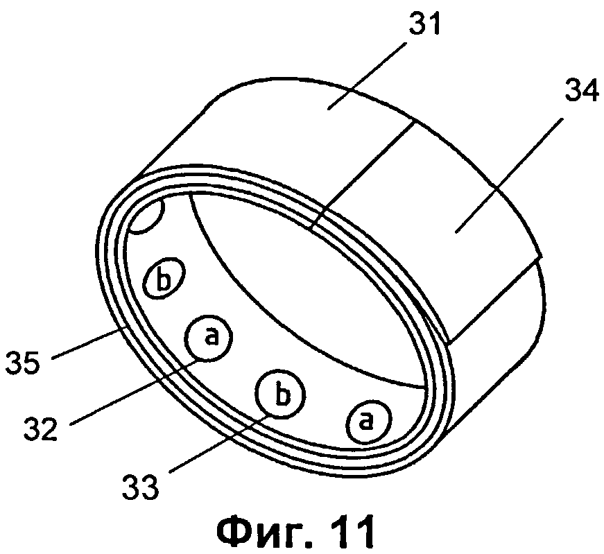
[17]

В частности, верхнее плечо частотно-зависимого делителя напряжения может быть выполнено в виде параллельной RC-цепочки. В этом случае цепочки нижнего плеча частотно-зависимого делителя напряжения могут быть образованы двумя отдельными последовательными RC-цепочками, одни концы которых объединены и являются упомянутым общим концом цепочек нижнего плеча упомянутого делителя, а два других конца являются упомянутыми раздельными концами цепочек нижнего плеча упомянутого делителя.

[18]

В другом случае, когда верхнее плечо частотно-зависимого делителя напряжения выполнено в виде параллельной RC-цепочки, цепочки нижнего плеча частотно-зависимого делителя напряжения могут быть образованы двумя последовательными RC-цепочками, имеющими общий резистор, свободный конец которого является упомянутым общим концом цепочек нижнего плеча упомянутого делителя, а свободные концы конденсаторов являются упомянутыми раздельными концами цепочек нижнего плеча упомянутого делителя.

[19]

В другом случае, когда верхнее плечо частотно-зависимого делителя напряжения выполнено в виде параллельной RC-цепочки, цепочки нижнего плеча частотно-зависимого делителя напряжения образованы двумя последовательными RC-цепочками, имеющими общий конденсатор, свободный конец которого является упомянутым общим концом цепочек нижнего плеча упомянутого делителя, а свободные концы резисторов являются упомянутыми раздельными концами цепочек нижнего плеча упомянутого делителя.

[20]

Кроме того, устройство может иметь держатель, в котором размещены компоненты электрической схемы устройства, включая упомянутые электроды, первый и второй операционные усилители, амплитудный детектор, переключаемый частотно-зависимый делитель напряжения и микроконтроллер. При этом держатель выполнен с возможностью закрепления вокруг запястья человека так, чтобы электроды примыкали к запястью. Каждый из электродов выполнен секционным с возможностью раздельного подключения секций, причем секции одного и другого электродов расположены попеременно в один ряд на внутренней поверхности держателя.

[21]

Такое выполнение устройства позволяет использовать его для регистрации сигналов пульсовой волны и дыхательного цикла на основе измерения импеданса области запястья. Выполнение электродов секционными и расположение их секций попеременно в один ряд позволяет повысить устойчивость регистрируемых сигналов и чувствительности устройства. Это связано с увеличением надежности контакта электродов с кожей человека, а также увеличением площади электродов и оптимизацией пути прохождения тока через участок тела между секциями электродов.

[22]

Кроме того, число секций каждого электрода может составлять по меньшей мере три, а каждая секция обоих электродов может иметь контактную площадь по меньшей мере 1 см2.

[23]

В частном случае держатель может быть выполнен в виде гибкой ленты, закрепляемой на запястье с помощью застежки, например застежки-липучки.

[24]

В другом частном случае держатель может быть выполнен в виде браслета, имеющего секции, шарнирно соединенные между собой.

[25]

В другом частном случае держатель может быть выполнен в виде обтягиваемой запястье манжеты.

[26]

Устройство может быть дополнительно снабжено приемо-передающим устройством для управления микроконтроллером и передачи регистрируемых сигналов пульсовой волны и дыхательного цикла, при этом приемо-передающее устройство размещено в держателе.

[27]

КРАТКОЕ ОПИСАНИЕ ЧЕРТЕЖЕЙ

[28]

Изобретение поясняется следующими графическими материалами.

[29]

На Фиг.1 представлена принципиальная схема устройства, иллюстрирующая сущность настоящего изобретения.

[30]

На Фиг.2 представлена принципиальная схема устройства с одним из вариантов выполнения переключаемого частотно-зависимого делителя напряжения.

[31]

На Фиг.3 представлен другой вариант выполнения нижнего плеча переключаемого частотно-зависимого делителя напряжения.

[32]

На Фиг.4 представлен еще один вариант выполнения нижнего плеча переключаемого частотно-зависимого делителя напряжения.

[33]

На Фиг.5 показана примерная амплитудно-частотная характеристика активного полосового фильтра, образованного вторым операционным усилителем и переключаемым частотно-зависимым делителем напряжения, в режиме регистрации сигнала пульсовой волны.

[34]

На Фиг.6 показана примерная амплитудно-частотная характеристика активного полосового фильтра, образованного вторым операционным усилителем и переключаемым частотно-зависимым делителем напряжения, в режиме регистрации сигнала дыхательного цикла.

[35]

На Фиг.7 показан в аксонометрии пример выполнения устройства в соответствии с настоящим изобретением с держателем в виде гибкой ленты с застежкой.

[36]

На Фиг.8 схематично показано закрепление на запястье устройства, изображенного Фиг.7.

[37]

На Фиг.9 показано расположение секций токопроводящих электродов на держателе и электрическое соединение секций первого и второго электродов устройства, изображенного на Фиг.7.

[38]

На Фиг.10 показан вид указанного на Фиг.9 сечения А-А держателя в области одной из секций электрода.

[39]

На Фиг.11 показан другой пример конструкции держателя с полостью для размещения компонентов электрической схемы устройства в соответствии с настоящим изобретением.

[40]

На Фиг.12 проиллюстрировано направление токов между секциями электродов устройства в соответствии с изобретением.

[41]

ОСУЩЕСТВЛЕНИЕ ИЗОБРЕТЕНИЯ

[42]

Устройство 1 для регистрации сигналов пульсовой волны и дыхательного цикла (Фиг.1) включает два - первый и второй - токопроводящих электрода 2 и 3, выполненных с возможностью размещения на теле человека, первый операционный усилитель 4, амплитудный детектор 5, второй операционный усилитель 6, микроконтроллер 7 и переключаемый частотно-зависимый делитель напряжения 8.

[43]

Электроды 2 и 3 включены в цепь ООС первого операционного усилителя 4, инвертирующий вход которого через резистор 9 подключен к первому порту ввода-вывода L микроконтроллера, генерирующего на выходе порта L несущий сигнал, на частоте которого измеряется импеданс участка тела человека, на котором размещены электроды 2 и 3. Частота несущего сигнала выбирается в диапазоне от 1 кГц до 4 МГц. Неинвертирующий вход первого операционного усилителя 4 подключен к нулевому потенциалу. Выход первого операционного усилителя 4 через амплитудный детектор 5 подключен к неинвертирующему входу второго операционного усилителя 6, выход которого подключен к входу аналого-цифрового преобразователя (АЦП) микроконтроллера 7.

[44]

Переключаемый частотно-зависимый делитель напряжения 8 включает верхнее плечо 10 и нижнее плечо 11, каждое из которых представляет собой комплексное (включающее активную и реактивную составляющие) сопротивление Z10 и Z11 соответственно. Делитель напряжения 8 подключен к выходу второго операционного усилителя 6, и его верхнее плечо 10 включено в цепь ООС второго операционного усилителя 6 так, что средняя точка делителя напряжения 8 соединена с инвертирующим входом второго операционного усилителя 6. Нижнее плечо 11 делителя напряжения 8 образовано двумя цепочками 12 и 13, каждая из которых также представляет собой комплексное сопротивление Z12 и Z13 соответственно. Цепочки 12 и 13 имеют общий конец в средней точке делителя напряжения 8 и соответствующие раздельные концы, подключенные ко второму порту ввода-вывода М и третьему порту ввода-вывода N микроконтроллера 7 соответственно. Переключение делителя напряжения 8 осуществляется микроконтроллером 7 путем подключения к нулевому потенциалу портов М или N.

[45]

Описанное включение второго операционного усилителя 6 и переключаемого частотно-зависимого делителя напряжения 8, управляемого микроконтроллером 7, образует активный полосовой фильтр с переключаемой амплитудно-частотной характеристикой (АЧХ). При этом верхняя частота среза такого полосового фильтра определяется по существу комплексным сопротивлением Z10, а нижняя - комплексными сопротивлениями Z12 или Z13, в зависимости от подключения к нулевому потенциалу портов М или N.

[46]

На Фиг.2 представлена принципиальная схема устройства 1 с одним из возможных вариантов выполнения переключаемого частотно-зависимого делителя напряжения 8. Верхнее плечо 10 делителя напряжения 8 выполнено в виде параллельной RC-цепочки, состоящей из резистора 14 и конденсатора 15. На частотах, превышающих верхнюю частоту среза, за счет конденсатора 15 выход второго операционного усилителя 8 оказывается коротко замкнут с инвертирующим входом, что превращает его в повторитель напряжения с коэффициентом усиления, равным "1". Нижнее плечо 11 делителя напряжения 8 образовано двумя отдельными последовательными RC-цепочками: первая включает резистор 16 и конденсатор 17, а вторая - резистор 16 и конденсатор 17. Несмотря па то, что обе цепочки имеют общий резистор 16, работают они независимо, поскольку их раздельные концы подключаются к нулевому потенциалу либо по порту М, либо по порту N микроконтроллером 7. На частотах, меньших нижней частоты среза, цепочка из резистора 16 и конденсатора 17 (или 18) оказывается разомкнутой, и второй операционный усилитель 6 оказывается охваченным глубокой ООС и также вырождается в повторитель напряжения с коэффициентом усиления, равным "1".

[47]

На Фиг.3 и Фиг.4 представлены другие варианты выполнения нижнего плеча 11 переключаемого частотно-зависимого делителя напряжения 8. Так, представленное на Фиг.3 нижнее плечо 11 делителя напряжения 8 образовано двумя отдельными последовательными RC-цепочками: первая включает конденсатор 19 и резистор 20, а вторая - конденсатор 19 и резистор 21. Так же, как и в предыдущем случае, несмотря на то, что обе цепочки имеют общий конденсатор 19, работают они независимо, поскольку их раздельные концы подключаются к нулевому потенциалу либо по порту М, либо по порту N микроконтроллером 7. Нижнее плечо 11 делителя напряжения 8, показанное на Фиг.4, образовано двумя физически отдельными последовательными RC-цепочками: первая включает резистор 22 и конденсатор 23, а вторая - конденсатор 24 и резистор 25.

[48]

На Фиг.5 и Фиг.6 показаны примерные АЧХ активного полосового фильтра, образованного вторым операционным усилителем 6 и переключаемым частотно-зависимым делителем напряжения 8, для устройства, представленного на Фиг.2. В качестве элементов принципиальной схемы были использованы:

[49]

- операционный усилитель 6: AD8044;

[50]

- резистор 14: 39 кОм;

[51]

- конденсатор 15: 100 нФ;

[52]

- резистор 16: 390 Ом;

[53]

- конденсатор 17: 4700 мкФ;

[54]

- конденсатор 18:470 мкФ.

[55]

В режиме регистрации сигнала пульсовой волны, когда выход второго порта ввода-вывода М микроконтроллера 7 подключен к нулевому потенциалу, АЧХ активного полосового фильтра, выполненного на базе операционного усилителя 6, определяется делителем напряжения 8, состоящим из параллельно включенных резистора 14, конденсатора 15 (верхнее плечо 10) и последовательно включенных резистора 16, конденсатора 17 (нижнее плечо 11). Соответствующая АЧХ показана на Фиг.5, где КОУ2 - коэффициент усиления второго операционного усилителя 6 с делителем напряжения 8. Видно, что нижняя частота среза составляет примерно 1 Гц, а верхняя - примерно 25 Гц, что обеспечивает усиление сигнала в полосе частот сигнала пульсовой волны.

[56]

В другом случае - режиме регистрации сигнала дыхательного цикла, когда выход третьего порта ввода-вывода N микроконтроллера 7 подключен к нулевому потенциалу, - АЧХ активного полосового фильтра, выполненного на базе операционного усилителя 6, определяется делителем напряжения 8, состоящим из параллельной включенных резистора 14, конденсатора 15 (верхнее плечо 10) и последовательно включенных резистора 16, конденсатора 18 (нижнее плечо 11). Соответствующая АЧХ показана на Фиг.6. Видно, что нижняя частота среза составляет примерно 0,1 Гц, а верхняя - примерно 25 Гц, что обеспечивает усиление сигнала в полосе частот сигнала дыхательного цикла.

[57]

Устройство для регистрации сигналов пульсовой волны и дыхательного цикла (Фиг.2) работает следующим образом. С выхода первого порта ввода-вывода L микроконтроллера 7 через резистор 9 на инвертирующий вход первого операционного усилителя 4 подается несущий сигнал с частотой, на которой предполагается измерять импеданс участка тела человека, используемый для последующей регистрации сигналов пульсовой волны и дыхательного цикла. Частота несущего сигнала может быть выбрана в диапазоне от 1 кГц до 4 МГц.

[58]

Учитывая известные свойства операционных усилителей (бесконечно большое входное сопротивление и соответственно нулевой входной ток и нулевое значение разности потенциалов на входах) и принимая во внимание, что неинвертирующий вход операционного усилителя 4 подключен к нулевому потенциалу, в данном включении переменный ток, протекающий через резистор 9, равен току, протекающему через участок тела человека между электродами 2 и 3. Это равенство может быть записано как:

[59]

Uвх/Rвх=Uвых/ZООС,

[60]

где Uвх - напряжение несущего сигнала с выхода порта L микроконтроллера 7;

[61]

Rвх - сопротивление резистора 9;

[62]

Uвых - напряжение на выходе первого операционного усилителя 4;

[63]

ZООС - комплексное сопротивление в цепи ООС операционного усилителя 4, соответствующее импедансу участка тела человека между электродами 2 и 3.

[64]

Соответственно, при известных Uвх и Rвх, получаем, что напряжение Uвых на выходе первого операционного усилителя 4 пропорционально ZООС или импедансу участка тела человека между электродами 2 и 3:

[65]

Uвых=ZООС(Uвх/Rвх).

[66]

С выхода первого операционного усилителя 4 сигнал поступает на вход амплитудного детектора 5, который выделяет огибающую - сигнал, соответствующий изменению во времени импеданса участка тела человека, и удаляет высокочастотный несущий сигнал.

[67]

Однако изменение импеданса, соответствующее изменению кровенаполнения участка тела человека, которое связано с сердечным ритмом и дыханием, составляет достаточно малую величину - в пределах от 0,1% до 1,0% от среднего значения импеданса. Поэтому последующая обработка сигнала включает его усиление в полосе частот, соответствующей полосе частот сигнала пульсовой волны, и в полосе частот, соответствующей полосе частот сигнала дыхательного цикла. Поэтому с выхода амплитудного детектора 5 сигнал поступает на неинвертирующий вход второго операционного усилителя 6, включенного за счет делителя напряжения 8, как было описано выше, в режим активного полосового фильтра, нижняя частота среза которого может меняться путем подключения к нулевому потенциалу второго (М) или третьего (L) портов ввода вывода микроконтроллера 7.

[68]

Как следует из АЧХ, представленных на Фиг.5 или Фиг.6, коэффициент усиления такого полосового фильтра в требуемой полосе частот для регистрации сигнала пульсовой волны или сигнала дыхательного цикла примерно равен "100", тогда как за пределами этой полосы частот - "1".

[69]

С выхода второго операционного усилителя 6 усиленный в заданной полосе частот сигнал поступает на вход АЦП микроконтроллера 7. После преобразования сигнала в цифровую форму микроконтроллер 7 осуществляет разделение постоянной составляющей сигнала и информационного сигнала пульсовой волны или сигнала дыхательного цикла. Таким образом, с помощью одной простой схемы можно па основе импеданса участка тела человека осуществить регистрацию сигналов пульсовой волны и дыхательного цикла.

[70]

На Фиг.7 показан в аксонометрии пример выполнения устройства для регистрации сигналов пульсовой волны и дыхательного цикла в соответствии с настоящим изобретением, включающего держатель в виде гибкой ленты с застежкой. Устройство 30 включает держатель 31 с установленными на нем первым электродом 2 и вторым электродом 3, которые выполнены в виде отдельных секций 32 и 33 соответственно (см. также Фиг.9). В данном примере держатель 31 выполнен в виде гибкой ленты с застежкой 34 типа застежки-липучки, что позволяет закрепить его плотно вокруг запястья 40, как это показано на Фиг.8. Держатель 31 может быть выполнен из пластмассы и других материалов, обеспечивающих его оборачивание вокруг запястья 40. Для специалиста понятно, что держатель может иметь различную конструкцию, например, может быть выполнен в виде браслета, имеющего секции, шарнирно соединенные между собой, или в виде манжеты, плотно надеваемой на запястье (на чертежах эти варианты не показаны).

[71]

Электроды 2 и 3, выполненные в виде отдельных секций 32 и 33 соответственно, размещены с внутренней стороны держателя 31, так что при надевании устройства 30 на запястье 40 секции 32 и 33 электродов 2 и 3 примыкают к запястью 40. Секции 32 и 33 обоих электродов 2 и 3 расположены на держателе 31 в ряд попеременно. То есть за секцией 32 электрода 2 следует секция 33 электрода 3, затем - снова секция 32 электрода 2, следом - секция 33 электрода 3, и т.д. На Фиг.7, Фиг.9, Фиг.11, Фиг.12 секции 32 электрода 2 обозначены буквой "а", а секции 33 электрода 3 - буквой "b".

[72]

Опытным путем установлено, что близкий к оптимальному вариант выполнения устройства 30 содержит по четыре секции каждого электрода 2 и 3. Контактная площадь каждой секции 32, 33 составляет по меньшей мере 1 см2. Форма секций 32 и 33 электродов 2 и 3 может быть разнообразной, например, прямоугольной, как показано на Фиг.7, или круглой, как показано на Фиг.11. Все секции 32 соединены между собой, как это показано на Фиг.9, образуя электрод 2, так же, как и все секции 33 электрически соединены между собой, образуя электрод 3.

[73]

Внутри держателя 31 устанавливаются компоненты электрической схемы устройства 30 в виде гибкой печатной платы 35 (Фиг.10 и Фиг.11), или печатная плата выполняется в виде отдельных секций (не показаны), соединенных гибкими проводниками. На печатной плате 35 также могут быть размещены элементы электропитания устройства.

[74]

Устройство может быть дополнительно снабжено приемо-передающим устройством с антенной для управления микроконтроллером и передачи во внешнее устройство регистрируемых сигналов пульсовой волны и дыхательного цикла, при этом приемо-передающее устройство также размещено в держателе (не показаны).

[75]

Благодаря выполнению держателя 31 в виде гибкой ленты и застежки 34 устройство 30 закрепляется вокруг запястья 40, при этом контактные поверхности секций 32 и 33 электродов 2 и 3 плотно прилегают к коже запястья 40. Выполнение электродов 2 и 3 секционными обеспечивает надежный контакт с кожей по меньшей мере двух секций 32 и 33 электродов 2 и 3 при любых движениях руки. Благодаря тому, что электроды выполнены секционными и каждая из секций имеет площадь по меньшей мере 1 см2, суммарная площадь каждого электрода, например, в случае, когда он выполнен из четырех секций, составляет по меньшей мере 4 см2, что повышает надежность контакта электродов 2 и 3 с кожей и чувствительность устройства.

[76]

Расположение секций 32 и 33 попеременно (Фиг.12) обеспечивает прохождение электрического тока (показан пунктирными стрелками 36) через мягкие ткани 41 запястья 40, при этом токи от отдельных секций 32 и 33 суммируются. При таком расположении секций 32 и 33 ток не проходит через кости 42 руки, которые обладают большим электрическим сопротивлением, чем кровенасыщенные мягкие ткани 41, что также повышает чувствительность устройства.

[77]

Таким образом, настоящее изобретение позволяет создавать простые устройства, обеспечивающие на основе измерения импеданса участка тела человека регистрацию сигнала пульсовой волны и сигнала дыхательного цикла человека.

Как компенсировать расходы
на инновационную разработку
Похожие патенты