Изобретение относится к многолучевым клистронам, используемым в качестве усилителей мощности электромагнитных волн сантиметрового и миллиметрового диапазонов длин волн. Технический результат - расширение полосы усиления без увеличения габаритов и массы входной и выходной резонаторных систем низковольтного многолучевого широкополосного клистрона. Конструкция низковольтного многолучевого широкополосного клистрона содержит n (n=1, 2, 3, …, n) пассивных настраиваемых по частоте резонаторов, расположенных за пределами вакуумной части клистрона в выводе СВЧ-энергии или во вводе и выводе СВЧ-энергии и содержащих: пассивный резонатор из вакуумно-плотного диэлектрического СВЧ-окна, выполненного в виде волноводно-диэлектрического резонатора, который образован отрезком волновода с диэлектрическим заполнением в виде диэлектрического стержня, герметично установленного в канале волновода, причем размеры волноводно-диэлектрического резонатора соответствуют условию примерного равенства его резонансной частоты верхней частоте полосы усиления клистрона ƒ; пассивный резонатор из прямоугольного волновода с диэлектрической неоднородностью в виде диэлектрического стержня, возбуждающего волновод и являющегося продолжением диэлектрического стержня, герметично установленного в канале волновода; пассивные резонаторы из настроечных штырей, один из которых установлен посредине широкой стенки прямоугольного волновода в непосредственной близости от торцевой части диэлектрического стержня, и по крайней мере еще один резонансный штырь, который установлен на расстоянии S от оси первого не менее четверти длины волны на частоте ƒ, причем штыри выполнены с возможностью изменения их длины, позволяющей настроить прямоугольный волновод с диэлектрической неоднородностью и настроечными штырями на резонансную частоту активного резонатора или с заданной отстройкой от этой частоты, что обеспечивает заданный перепад коэффициента передачи СВЧ-мощности в рабочей полосе частот клистрона из входного тракта во входной активный резонатор и из выходного активного резонатора в выходной тракт. 5 з.п. ф-лы, 4 ил.
1. Широкополосный многолучевой клистрон, содержащий входной, промежуточные и выходной активные резонаторы, узлы ввода и вывода СВЧ-энергии, в состав которых входят: диафрагмы с окнами связи с активными входным и выходным резонаторами, вакуумно-плотные диэлектрические СВЧ-окна, отрезки прямоугольных волноводов с диэлектрическими стержнями, возбуждающими волноводы, и настроечные штыри, расположенные по широким стенкам волноводов, отличающийся тем, что содержит n (n=1, 2, 3,…, n) пассивных настраиваемых по частоте резонаторов, расположенных за пределами вакуумной части клистрона в выводе СВЧ-энергии или во вводе и выводе СВЧ-энергии и содержащих: пассивный резонатор из вакуумно-плотного диэлектрического СВЧ–окна, выполненного в виде волноводно-диэлектрического резонатора, который образован отрезком волновода с диэлектрическим заполнением в виде диэлектрического стержня, герметично установленного в канале волновода, причем размеры волноводно-диэлектрического резонатора соответствуют условию примерного равенства его резонансной частоты верхней частоте полосы усиления клистрона 2. Широкополосный многолучевой клистрон по п. 1, отличающийся тем, что вывод СВЧ-энергии или ввод и вывод СВЧ-энергии содержат настроечные волноводные диафрагмы, обеспечивающие расширение полосы согласования волновых сопротивлений ввода и вывода СВЧ-энергии клистрона с внешними волноводными трактами, по крайней мере одну диафрагму, которая расположена на широкой стенке волновода между первым настроечным штырем, находящимся в непосредственной близости от торцевой части диэлектрического стержня, и последующими настроечными штырями. 3. Широкополосный многолучевой клистрон по п. 2, отличающийся тем, что настроечные волноводные диафрагмы, по крайней мере одна, которая расположена на широкой стенке волновода между первым настроечным штырем, находящимся в непосредственной близости от торцевой части диэлектрического стержня, и последующими настроечными штырями, имеет размер вдоль широкой стенки волновода меньше размера широкой стенки волновода и не имеет электрического контакта с узкими стенками волновода. 4. Широкополосный многолучевой клистрон по п. 1, или 2, или 3, отличающийся тем, что диэлектрический стержень, герметично установленный в канале волновода, и диэлектрический стержень, возбуждающий волновод и являющийся продолжением диэлектрического стержня, герметично установленного в канале волновода, имеют круглое поперечное сечение. 5. Широкополосный многолучевой клистрон по п. 1, или 2, или 3, или 4, отличающийся тем, что резонансные штыри, которые установлены на расстоянии S от оси первого не менее четверти длины волны на частоте 6. Широкополосный многолучевой клистрон по п. 1, или 2, или 3, отличающийся тем, что диэлектрический стержень, герметично установленный в канале волновода, и диэлектрический стержень, возбуждающий волновод и являющийся продолжением диэлектрического стержня, герметично установленного в канале волновода, имеют круглое поперечное сечение, соответствующее условиям: Dc≤0,8b, где Dc - диаметр диэлектрического стержня мм; εr - относительная диэлектрическая проницаемость стержня; b - размер узкой стенки прямоугольного волновода, мм.
; пассивный резонатор из прямоугольного волновода с диэлектрической неоднородностью в виде диэлектрического стержня, возбуждающего волновод и являющегося продолжением диэлектрического стержня, герметично установленного в канале волновода; пассивные резонаторы из настроечных штырей, один из которых установлен посредине широкой стенки прямоугольного волновода в непосредственной близости от торцевой части диэлектрического стержня, и по крайней мере еще один резонансный штырь, который установлен на расстоянии S от оси первого не менее четверти длины волны на частоте
, причем штыри выполнены с возможностью изменения их длины, позволяющей настроить прямоугольный волновод с диэлектрической неоднородностью и настроечными штырями на резонансную частоту активного резонатора или с заданной отстройкой от этой частоты, что обеспечивает заданный перепад коэффициента передачи СВЧ-мощности в рабочей полосе частот клистрона из входного тракта во входной активный резонатор и из выходного активного резонатора в выходной тракт.
, расположены со смещением от оси широкой стенки волновода.
- длина диэлектрического стержня в прямоугольном волноводе, мм;
- верхняя частота полосы усиления клистрона, ГГц;
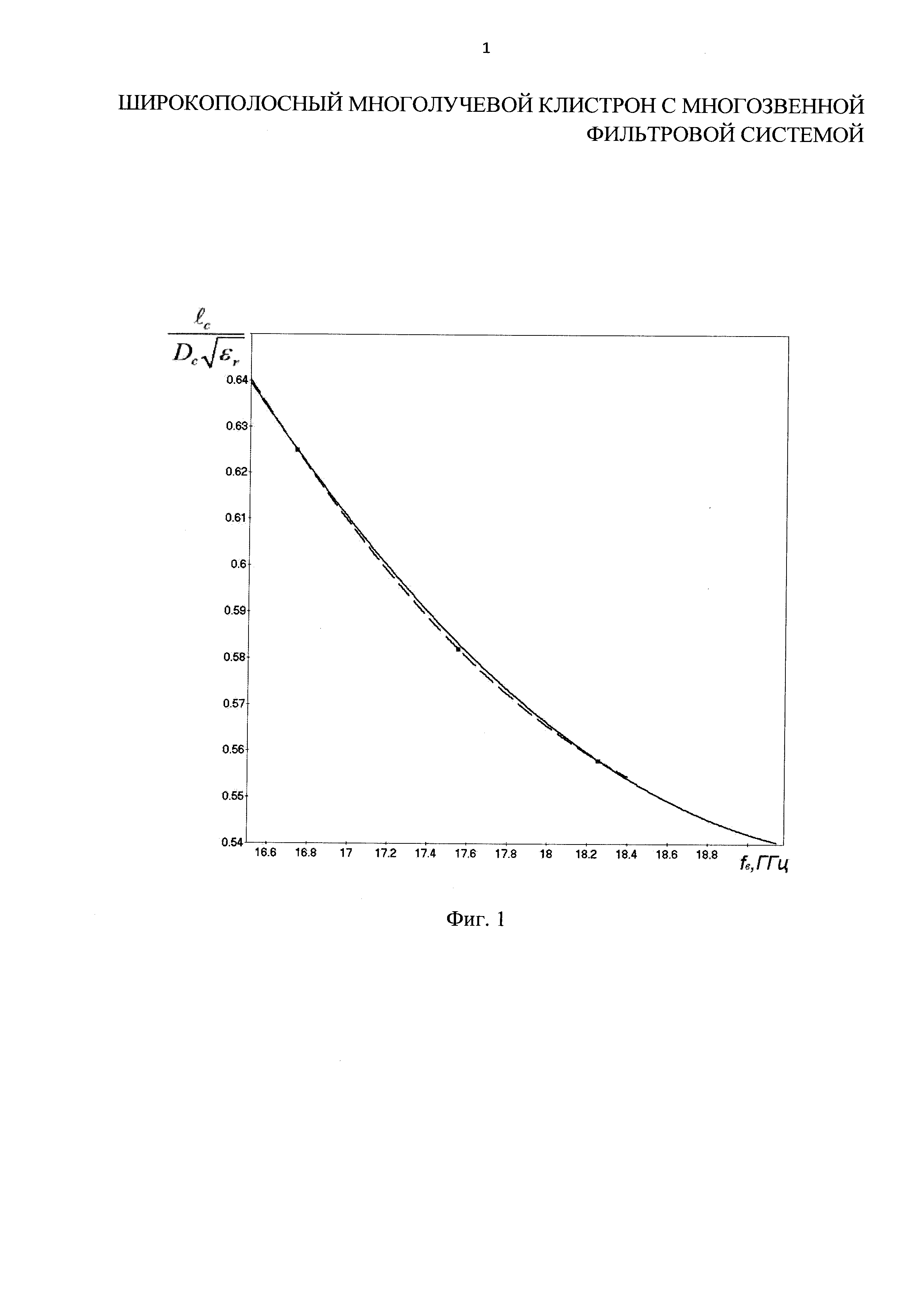
Изобретение относится к многолучевым клистронам, используемым в качестве усилителей мощности электромагнитных волн сантиметрового и миллиметрового диапазонов длин волн в передатчиках радиолокационных станций, систем связи и в источниках СВЧ-мощности другой радиотехнической аппаратуры, работающих в импульсном, квазиимпульсном или непрерывном режимах. Основной проблемой при создании СВЧ клистронных усилителей является получение максимальной полосы усиления при наибольшем кпд. Для решения этой противоречивой проблемы необходимо создать примерно одинаковую амплитуду первой гармоники наведенного тока в выходной колебательной системе клистрона на всех частотах рабочего диапазона, что осуществляется соответствующей настройкой резонансных частот промежуточных резонаторов. Кроме того, необходимо обеспечить минимальный или специально заданный перепад коэффициента передачи СВЧ-мощности из входного тракта в активный входной резонатор и из активного выходного резонатора в выходной тракт в заданной полосе частот. Выполнение последнего условия в выходной цепи клистронов достигается использованием дополнительных пассивных резонаторов, образующих единую фильтровую систему с активным однозазорным или многозазорным резонатором [Пасманник В.И. Системы связанных контуров. М.: Физматлит., 2005; Патент US 3484861 А, МПК H01J 25/16, (IPC1-7): H01J 25/02, опубл. 16.12.1969; Патент US 3299312 А, МПК H01J 25/12, опубл. 17.01.1967]. Для реализации этих условий в многорезонаторных клистронах необходимо введение в выходную часть фильтровой системы как минимум двух пассивных резонаторов [Авторское свидетельство SU 880158 А1, МПК H01J 25/10, опубл. 07.03.1992]. Известна конструкция широкополосного многолучевого клистрона, предназначенная для работы в длинноволновой части сантиметрового диапазона [Патент US 3484861 А, МПК H01J 25/16, (IPC 1-7): H01J 25/02, опубл. 16.12.1969]. Для расширения полосы на входе и выходе этого прибора установлены многозвенные фильтровые системы, расположенные в вакуумной части клистрона. Недостатками такого устройства являются большие габариты и масса, а также сложность настройки фильтровой системы, расположенной в вакуумной части этого прибора. Известен широкополосный многолучевой клистрон, предназначенный для работы в средневолновой части сантиметрового диапазона [Заявка на патент на полезную модель CN 203134747 U, МПК H01J 23/36, опубл. 14.08.2013]. Он содержит трехзвенную фильтровую систему, состоящую из выходного активного двухзазорного резонатора и двух пассивных резонаторов, расположенных в вакуумной части клистрона и выполненных в виде двух резонансных камер, разделенных диафрагмами и снабженных регулируемыми штырями. Причем эти камеры выполнены с возможностью настройки на ту же резонансную частоту, что и активный резонатор с помощью двух настроечных винтов. На выходе второго пассивного резонатора установлено вакуумно-плотное окно с диэлектрическим изолятором. Однако реализация такого устройства в коротковолновой части СВЧ-диапазона затруднена из-за его громоздкости, которая связана с большими габаритами фильтровой системы, содержащей дополнительные пассивные резонаторы в виде двух резонансных камер. Кроме того, эта система очень сложна в настройке, поскольку ее настроечные винты связаны с вакуумной частью прибора. Расширение полосы усиления в низковольтных многолучевых клистронах в области более высоких частот сдерживается тем, что размеры резонаторов и фильтровых систем уменьшаются пропорционально длине волны и величине ускоряющего напряжения. Поэтому при создании широкополосных многолучевых клистронов, предназначенных для работы в диапазоне частот 15-40 ГГц, возникают трудности изготовления малоразмерных деталей конструкции фильтровой системы с допусками 0,5-1,0 мкм. Известна конструкция многолучевого малогабаритного низковольтного клистрона 8 мм диапазона длин волн, в которой ввод и вывод энергии прибора выполнены из волноводов с толщиной стенок не более 1 мм, в которые для вакуумной плотности впаяны керамические пластины [Востров М.С., Закурдаев А.Д., Полевич Г.А. - Многолучевой малогабаритный клистрон 8 мм диапазона длин волн // ЭЛЕКТРОННАЯ ТЕХНИКА, СЕР. 1, СВЧ-ТЕХНИКА, ВЫП. 4(511), 2011, С. 3-5]. Волноводы присоединены пайкой к общему фланцу, в котором выполнены окна связи с входным и выходным резонаторами для ввода и вывода энергии. Вывод энергии совмещен с пассивным резонатором, который можно настраивать на холодных измерениях специальным настроечным винтом. Для расширения полосы усиления необходимо увеличивать число пассивных резонаторов. Однако при этом ухудшаются массогабаритные характеристики клистрона, а технологические трудности изготовления такой резонансной системы обуславливают низкий процент выхода годных приборов и их высокую стоимость. Таким образом, в известных конструкциях низковольтных многолучевых клистронов, работающих в диапазоне 15-40 ГГц, возможности расширения полосы усиления при сохранении малых габаритов и трудоемкости их изготовления, по сравнению с достигнутым уровнем, практически исчерпаны. Наиболее близкой к заявляемому изобретению является конструкция низковольтного многолучевого клистрона, предназначенного для работы в коротковолновой части сантиметрового и длинноволновой части миллиметрового диапазонов [Патент RU 2239256, МПК H01J 25/10, опубл. 27.10.2004]. Устройство имеет узлы ввода и вывода СВЧ-энергии, расположенные, соответственно, со стороны входного и выходного активных резонаторов. Эти узлы выполнены в виде волноводов, электромагнитно связанных с активными резонаторами через вакуумно-плотные диэлектрические СВЧ-окна и резонансные диафрагмы, которые могут быть размещены в электродинамических элементах связи в виде отрезков волноводов. Однако в электродинамических элементах связи не содержится элементов, обеспечивающих изменение их резонансных частот и получение настраиваемых по ширине полосы фильтровых систем, совмещенных с СВЧ-вводом и выводом. Поэтому такие клистроны являются существенно узкополосными. Следовательно возникает потребность создания многолучевых низковольтных клистронов, имеющих фильтровую систему на входе и выходе прибора, которую можно было бы сравнительно просто перестроить в диапазоне частот (равном или больше, чем полоса усиления прибора) в процессе измерения электрических параметров клистрона и его узлов. Задачей изобретения является расширение полосы усиления без увеличения габаритов и массы входной и выходной резонаторных систем низковольтного многолучевого широкополосного клистрона. Это достигается тем, что предложенная конструкция низковольтного многолучевого широкополосного клистрона содержит n (n=1, 2, 3, …, n) пассивных настраиваемых по частоте резонаторов, расположенных за пределами вакуумной части клистрона в выводе СВЧ-энергии или во вводе и выводе СВЧ-энергии и состоящих: пассивный резонатор из вакуумно-плотного диэлектрического СВЧ-окна, выполненного в виде волноводно-диэлектрического резонатора, который образован отрезком волновода с диэлектрическим заполнением в виде диэлектрического стержня, герметично установленного в канале волновода, причем размеры волноводно-диэлектрического резонатора соответствуют условию примерного равенства его резонансной частоты верхней частоте полосы усиления клистрона ƒв; пассивный резонатор из прямоугольного волновода с диэлектрической неоднородностью в виде диэлектрического стержня, возбуждающего волновод и являющегося продолжением диэлектрического стержня, герметично установленного в канале волновода; пассивные резонаторы из настроечных штырей, один из которых установлен посредине широкой стенки прямоугольного волновода в непосредственной близости от торцевой части диэлектрического стержня, и по крайней мере еще один резонансный штырь, который установлен на расстоянии S от оси первого не менее четверти длины волны на частоте ƒв, причем штыри выполнены с возможностью изменения их длины, позволяющей настроить прямоугольный волновод с диэлектрической неоднородностью и настроечными штырями на резонансную частоту активного резонатора или с заданной отстройкой от этой частоты, что обеспечивает заданный перепад коэффициента передачи СВЧ-мощности в рабочей полосе частот клистрона из входного тракта во входной активный резонатор и из выходного активного резонатора в выходной тракт. Клистрон также содержит входной, промежуточные и выходной активные резонаторы; узлы ввода и вывода СВЧ-энергии, в состав которых входят: диафрагмы с окнами связи, расположенные во входном и выходном активных резонаторах и предназначенные для осуществления электромагнитной связи этих резонаторов с элементами узлов ввода и вывода СВЧ-энергии, вакуумно-плотные диэлектрические СВЧ-окна, отрезки прямоугольных волноводов с диэлектрическими стержнями, возбуждающими волноводы, и настроечными штырями, расположенными по широким стенкам волноводов. Кроме этого, в наиболее широкополосном исполнении, вывод СВЧ-энергии или ввод и вывод СВЧ-энергии низковольтного многолучевого широкополосного клистрона содержат также настроечные волноводные диафрагмы, обеспечивающие расширение полосы согласования волновых сопротивлений ввода и вывода СВЧ-энергии клистрона с внешними волноводными трактами, по крайней мере одну диафрагму, которая расположена между первым настроечным штырем, находящимся в непосредственной близости от торцевой части диэлектрического стержня, и последующими настроечными штырями. В предложенной конструкции критические частоты ƒcr электродинамических элементов связи, которые представляют собой отрезки волноводов с диэлектрическим заполнением и отрезки прямоугольных волноводов с диэлектрической неоднородностью, настроечными штырями и настроечными волноводными диафрагмами, ниже чем нижняя граничная частота области рабочих частот клистрона ƒн. В предложенном устройстве, содержащем вводы/выводы СВЧ-энергии, наличие элементов связи в виде отрезков заполненных диэлектриком волноводов с резонансной частотой равной верхней частоте полосы усиления клистрона и прямоугольных волноводов с диэлектрической неоднородностью, настроечных штырей, настроенных на резонансную частоту активного резонатора или с заданной отстройкой от этой частоты, представляющих собой последовательно расположенные настраиваемые пассивные резонаторы, и настроечных волноводных диафрагм приводит к созданию во входной и выходной резонансных системах компактных широкополосных волноводно-диэлектрических фильтров с запредельными связями, настраиваемых на заданный перепад коэффициента передачи СВЧ-мощности в рабочей полосе частот клистрона из входного тракта во входной активный резонатор и из выходного активного резонатора в выходной тракт. Первым из этих пассивных резонаторов, со стороны активного резонатора, как в устройстве ввода, так и в устройстве вывода энергии, является резонатор в виде отрезка заполненного диэлектриком волновода. Конструктивная настройка этого резонатора на верхнюю (или близкую к ней) частоту полосы усиления клистрона обеспечивается выбором параметров волновода и диэлектрического стержня, при этом должно выполняться условие ƒcr<ƒн. Размеры волноводов выбраны таким образом, чтобы рабочий диапазон клистрона лежал в одномодовых областях рабочих частот волноводов. Критическая частота прямоугольного волновода определяется формулой: где с - скорость света; m, n - номера мод колебаний; b - размер узкой стенки волновода. Так как используемый тип колебаний есть Н10, то m=1, n=0. Критическая частота круглого (в качестве частного случая) волновода, заполненного диэлектриком, определяется формулой: где χmk - k-й корень производной функции Бесселя первого рода порядка m; n - показатель преломления среды (диэлектрика). Так как данный волновод работает на типе Н11, имеющем наибольшую длину волны, то m=1 и k=1. Ни один из волноводов не является запредельным. Для уменьшения нагруженной добротности входного и выходного активных резонаторов один конец диэлектрического стержня расположен непосредственно вблизи резонансной диафрагмы. Таким образом, резонаторы оказываются нагруженными на волноводы с диэлектрическим заполнением. Вторым пассивным резонатором, как в устройстве ввода, так и в устройстве вывода СВЧ-энергии, является прямоугольный волновод с диэлектрической неоднородностью в виде диэлектрического стержня, возбуждающего волновод. Конструктивная настройка этого резонатора на резонансную частоту активного резонатора или с заданной отстройкой от этой частоты обеспечивается выбором параметров диэлектрического стержня в прямоугольном волноводе. При использовании в прямоугольном волноводе диэлектрической неоднородности в виде круглого диэлектрического стержня максимальное расширение рабочей полосы клистрона достигается при условии: Dc≤0,8b, где Dc - диаметр диэлектрического стержня мм; εr - относительная диэлектрическая проницаемость стержня; ƒв - верхняя частота полосы усиления клистрона, ГГц; b - размер узкой стенки прямоугольного волновода, мм. Расчет длины круглого стержня по предложенной формуле для ƒв=17,7 ГГц, Dc=4 мм; εr=9; b=6,5 мм дает результат lc=6.91 мм (очень близкий к экспериментальным данным - lc=6,92 мм). На фиг. 1 видно, что теоретическая и экспериментальная зависимости относительной длины круглого диэлектрического стержня от верхней частоты полосы усиления клистрона хорошо совпадают. Окончательная настройка этого «волноводно-диэлектрического» резонатора на резонансную частоту активного резонатора или с заданной отстройкой от этой частоты на стадии технологических испытаний клистрона в рабочем режиме осуществляется с помощью изменения длины настроечного штыря, установленного по центру широкой стенки прямоугольного волновода и расположенного в непосредственной близости от торцевой части диэлектрического стержня. Третьим пассивным резонатором в этой фильтровой системе является резонансный настроечный штырь, установленный по центру широкой стенки прямоугольного волновода и расположенный в непосредственной близости от торцевой части диэлектрического стержня, который предназначен для настройки «волноводно-диэлектрического» резонатора на резонансную частоту активного резонатора или с заданной отстройкой от этой частоты на стадии технологических испытаний клистрона в рабочем режиме. Четвертым пассивным резонатором в этой фильтровой системе является резонансный штырь, который для достижения оптимальной связи между пассивными резонаторами устанавливают на расстоянии не менее четверти длины волны на частоте ƒв от настроечного штыря. Диапазон и точность настройки пассивной фильтровой системы на заданные частоты повышаются, если в конструкцию пассивной фильтровой системы дополнительно введен второй резонансный штырь. При этом эти резонансные штыри установлены со смещением х1, х2 относительно центра прямоугольного волновода и одинаково удалены от торцевой части диэлектрического стержня, что обеспечивает синфазный вид колебаний этих резонансных элементов при их возбуждении волной Н10 в прямоугольном волноводе. Диапазон согласования волновых сопротивлений ввода и вывода СВЧ-энергии клистрона с внешними волноводными трактами расширяется, если в конструкцию пассивной фильтровой системы дополнительно введены настроечные волноводные диафрагмы, по крайней мере одна, которая располагается между первым настроечным штырем, находящимся в непосредственной близости от торцевой части диэлектрического стержня, и последующими настроечными штырями. Так как упомянутые выше пассивные резонаторы фильтровой системы включены последовательно, то их настройка на заданные частоты и подбор связи между ними может быть осуществлен как за счет варьирования их места расположения относительно друг друга, так и за счет изменения длины резонансных элементов (штырей). Как во входной, так и в выходной фильтровых системах настраиваемые пассивные резонаторы и настроечные волноводные диафрагмы находятся вне вакуума и связаны с активным резонатором через вакуумно-плотное диэлектрическое СВЧ-окно в виде отрезка заполненного диэлектриком волновода, выполняющего также функции первого пассивного резонатора, и через резонансную диафрагму, расположенную со стороны соответствующего активного резонатора. Применение волноводно-диэлектрических структур в качестве вакуумно-плотных диэлектрических СВЧ-окон, являющихся одновременно базовыми элементами фильтровых систем многолучевых клистронов, позволяет совместить конструкцию многозвенной фильтровой системы с малогабаритными волноводно-диэлектрическими устройствами ввода/вывода энергии стержневого типа в сантиметровом и миллиметровом диапазонах частот и позволяет расширить полосу усиления клистрона, не увеличивая габариты и массу этих устройств. Сказанное позволяет сделать вывод о наличии в заявляемом изобретении "изобретательского уровня". Изобретение поясняется чертежами, где на фиг. 1 изображены теоретическая (штриховая линия) и экспериментальная (сплошная линия) зависимости относительной длины круглого диэлектрического стержня от верхней частоты полосы усиления клистрона. На фиг. 2 приведен общий вид многолучевого клистрона. На фиг. 3 изображено поперечное сечение клистрона в сечении А-А (повернуто) без настроечной волноводной диафрагмы. На фиг. 4 изображено поперечное сечение клистрона в сечении А-А (повернуто) с настроечной волноводной диафрагмой. Позициями на фиг. 2, фиг. 3 и фиг. 4 обозначены: 1 - катодно-сеточный узел, 2 - входной активный резонатор, 3 - выходной активный резонатор, 4 - узел ввода энергии; 5 - узел вывода энергии; 6 - промежуточный резонатор; 7 - коллектор; 8 - каналы для пролета электронных лучей; 9 - резонансная диафрагма; 10 - отрезки входного и выходного прямоугольных волноводов; 11 - отрезки заполненных диэлектриком волноводов; 12 - диэлектрические стержни; 13 - каналы окон связи по СВЧ-полю в прямоугольных волноводах, совмещенные с отрезками заполненных диэлектриком волноводов; 14 - настроечные штыри; 15 - первые резонансные штыри; 16 - вторые резонансные штыри; 17 - механизмы настройки частот; 18 - полюсные наконечники магнитной системы. 19 - настроечная волноводная диафрагма. Работа многолучевого клистрона осуществляется следующим образом. В катодно-сеточном узле (1) под воздействием ускоряющего напряжения формируется многолучевой электронный поток, который пропускается через каналы для пролета электронных лучей (8), выполненные во входном (2) промежуточном (6) и выходном (3) активных резонаторах. Далее лучи фокусируются продольным магнитным полем, конфигурация которого определяется полюсными наконечниками (18) магнитной системы. После прохождения резонаторов электронные лучи рассеиваются на коллекторе (7). Входной СВЧ-сигнал подается в отрезок прямоугольного волновода (10), входящего в состав узла ввода энергии (4), и возбуждает в нем электромагнитное поле волны типа Н10, которое, в свою очередь, возбуждает многозвенную широкополосную фильтровую систему из пассивных резонаторов, содержащих отрезки входного и выходного прямоугольных волноводов (10) с диэлектрическими стержнями (12), отрезки заполненных диэлектриком волноводов (11), каналы окон связи по СВЧ-полю в прямоугольных волноводах (13), совмещенные с отрезками заполненных диэлектриком волноводов, настроечные штыри (14), первые резонансные штыри (15), вторые резонансные штыри (16); настроечных волноводных диафрагм (19), резонансной диафрагмы (9) и входного и выходного активных резонаторов. Во входной фильтровой системе многолучевого клистрона, при подаче входного сигнала, распространяются как волны основного типа Н10 в отрезке прямоугольного волновода (10), связанного с нагрузкой, так и волны основного типа Н11, возбуждаемые в отрезке заполненного диэлектриком волновода (11), который связан через резонансную диафрагму (9) с входным активным резонатором (2). Под действием продольной составляющей СВЧ электрического поля стоячей волны типа Н10 в входном активном резонаторе (2) возникает продольное СВЧ электрическое поле стоячей волны типа Н10, которое в СВЧ-зазоре производит модуляцию проходящих через резонаторы электронных лучей по скорости. Входная фильтровая система обеспечивает возбуждение во входном активном резонаторе продольного СВЧ электрического поля стоячей волны типа Н10 в СВЧ-зазоре примерно одинаковой напряженности на всех частотах рабочего диапазона клистрона или с заданной амплитудно-частотной зависимостью. Формирование плотных электронных сгустков происходит при последовательном прохождении электронными лучами промежуточных резонаторов (6), где происходит дополнительная модуляция электронов по скорости, и труб дрейфа, в которых происходит модуляция электронов по плотности. Для создания примерно одинаковой амплитуды первой гармоники наведенного тока в выходной колебательной системе клистрона на всех частотах рабочего диапазона с помощью механизмов настройки частот (17) производят соответствующую настройку резонансных частот промежуточных резонаторов (6). Пролетая через зазор выходного активного резонатора (3), сгустки электронов попадают в тормозящую фазу СВЧ-поля и, в результате торможения, отдают ему свою кинетическую энергию. Так как конструкция выходной фильтровой системы многолучевого широкополосного клистрона полностью идентична входной, то в ней происходит передача электромагнитных волн из выходного активного резонатора через узел вывода энергии (5) в нагрузку с заданным коэффициентом передачи или близком к 1 во всем рабочем диапазоне широкополосного клистрона. Совмещение конструкции фильтровой системы с узлами ввода и вывода энергии многолучевого клистрона приводит в сантиметровом и миллиметровом диапазонах длин волн к расширению полосы усиления этого прибора без увеличения его габаритов и массы. Источники информации 1. Пасманник В.И. Системы связанных контуров. М.: Физматлит, 2005. 2. Патент US 3484861 А, МПК H01J 25/16, (IPC 1-7): H01J 25/02, опубл. 16.12.1969. 3. Патент US 3299312 А, МПК H01J 25/12, опубл. 17.01.1967. 4. Авторское свидетельство SU 880158 А1, МПК H01J 25/10, опубл. 07.03.1992. 5. Заявка на патент на полезную модель CN 203134747 U, МПК H01J 23/36, опубл. 14.08.2013. 6. Востров М.С., Закурдаев А.Д., Полевич Г.А. - Многолучевой малогабаритный клистрон 8 мм диапазона длин волн // ЭЛЕКТРОННАЯ ТЕХНИКА, СЕР. 1, СВЧ-ТЕХНИКА, ВЫП. 4(511), 2011, С. 3-5. 7. Патент RU 2239256, МПК H01J 25/10, опубл. 27.10.2004.


- длина диэлектрического стержня в прямоугольном волноводе, мм;