патент
№ RU 2657307
МПК E21B43/24

Способ разработки залежи высоковязкой нефти или битума

Авторы:
Шайхутдинов Дамир Камилевич Бисенова Айнура Амангельдыевна Зарипов Азат Тимерьянович
Все (4)
Номер заявки
2017133594
Дата подачи заявки
26.09.2017
Опубликовано
13.06.2018
Страна
RU
Как управлять
интеллектуальной собственностью
Чертежи 
1
Реферат

Изобретение относится к нефтяной промышленности. Технический результат – вовлечение в разработку зоны повышенной продуктивности, повышение охвата залежи за счет бурения дополнительных стволов с учетом плотности закачиваемого теплоносителя, увеличение коэффициента извлечения нефти. Способ разработки залежи высоковязкой нефти или битума включает геофизические исследования залежи, строительство выше водонефтяного контакта горизонтальных скважин с дополнительными стволами, последовательную закачку теплоносителя и отбор продукции из горизонтальных скважин. С помощью геофизических исследований и по данным отбора керна определяют среднюю нефтенасыщенную толщину залежи. Выделяют участки с начальной нефтенасыщенной толщиной более 10% выше средней по залежи. Выбирают из этих участков те, которые находятся на расстоянии от горизонтального ствола не более 90% расстояния между соседними горизонтальными скважинами. Дополнительные стволы бурят со вскрытием выбранных участков, причем зенитный угол дополнительных стволов выбирают в зависимости от плотности закачиваемого теплоносителя. 2 ил., 1 пр.

Формула изобретения

Способ разработки залежи высоковязкой нефти или битума, включающий геофизические исследования залежи, строительство выше водонефтяного контакта горизонтальных скважин с дополнительными стволами, последовательную закачку теплоносителя и отбор продукции из горизонтальных скважин, отличающийся тем, что геофизическими исследованиями и по данным отбора керна определяют среднюю нефтенасыщенную толщину залежи, выделяют участки с начальной нефтенасыщенной толщиной более 10% выше средней по залежи, выбирают из этих участков те, которые находятся на расстоянии от горизонтального ствола не более 90% расстояния между соседними горизонтальными скважинами, а дополнительные стволы бурят со вскрытием выбранных участков, причем зенитный угол дополнительных стволов выбирают в зависимости от плотности закачиваемого теплоносителя.

Описание

[1]

Изобретение относится к нефтяной промышленности и может быть использовано для разработки залежей углеводородных флюидов, в частности, при добыче высоковязкой нефти или битума.

[2]

Известен способ разработки послойно-зонально-неоднородной залежи сверхвязкой нефти или битума (патент RU 2582251, МПК Е21В 43/24, опубл. 20.04.2016 г. в Бюл. №11), включающий определение в залежи двух продуктивных пластов, разделенных слабопроницаемым пропластком. В нижнем пласте выше водонефтяного контакта строят горизонтальную добывающую скважину. В верхнем продуктивном пласте строят нагнетательную скважину, из которой строят дополнительные нисходящие стволы через участки пластов с низкой проницаемостью с вскрытием слабопроницаемого пропластка и дополнительные нисходящие стволы через участки пластов с высокой проницаемостью до гидродинамического сообщения или соединения с добывающей скважиной. Расстояние между дополнительными нисходящими стволами определяют с учетом технологических возможностей бурового оборудования для их проводки, а также возможности размещения между ними фильтров с регулируемым пропусканием, спускаемых в нагнетательную скважину на колонне труб, располагаемых напротив дополнительных стволов, не сообщенных с добывающей скважиной, и пакеров, изолирующих межтрубное пространство нагнетательной скважины между дополнительными стволами и выше фильтров.

[3]

Недостатками данного способа являются:

[4]

- невозможность проводки двух горизонтальных скважин одна над другой при малых толщинах продуктивного пласта;

[5]

- дороговизна осуществления способа, связанная со строительством горизонтальных как добывающих, так и нагнетательных скважин с использованием регулируемых фильтров.

[6]

Также известен способ разработки послойно-зонально-неоднородной залежи высоковязкой нефти или битума (патент RU 2295030, МПК Е21В 43/24, опубл. 10.03.2007 г. в Бюл. №7), включающий строительство многоустьевой добывающей горизонтальной скважины с дополнительными боковыми стволами, проходящими под глинистым слабопродуктивным пропластком, или восходящими стволами с заканчиванием их выше пропластка. Выше нее по вертикали и параллельно многоустьевой добывающей горизонтальной скважине строят многоустьевую нагнетательную горизонтальную скважину с дополнительными восходящими боковыми стволами, которые проводят через глинистый слабопродуктивный пропласток, создают проницаемую зону между скважинами за счет нагнетания водяного теплоносителя в обе скважины, после создания проницаемой зоны подачу теплоносителя производят только в нагнетательную многоустьевую горизонтальную скважину, а по добывающей многоустьевой горизонтальной скважине производят отбор продукции до полной выработки продуктивного пласта. Кроме этого, дополнительно бурят вертикальные скважины, проходящие через глинистый пропласток, причем их используют как в качестве транспортного канала подачи теплоносителя выше залегания глинистого пропластка, так и для подачи отбираемой продукции вниз к многоустьевой добывающей горизонтальной скважине.

[7]

Недостатками данного способа являются:

[8]

- сложность строительства многоустьевых горизонтальных скважин;

[9]

- невозможность проводки двух горизонтальных скважин одна над другой при малых толщинах продуктивного пласта.

[10]

Наиболее близким по сущности и достигаемому результату является способ разработки послойно-зонально-неоднородной залежи высоковязкой нефти или битума (патент RU 2582529, МПК Е21В 43/24, опубл. 27.04.2014 г. в Бюл. №12), включающий определение в залежи продуктивных пластов, разделенных слабопроницаемыми пропластками, строительство в нижнем пласте выше водонефтяного контакта горизонтальной скважины с дополнительными восходящими стволами, вскрывающими верхние пласты, закачку теплоносителя и отбор продукции. Способ предусматривает возможность размещения фильтров с регулируемым пропусканием, спускаемых в горизонтальную скважину перед закачкой теплоносителя на колонне труб и располагаемых напротив дополнительных восходящих стволов, а также пакеров, изолирующих межтрубное пространство горизонтальной скважины между дополнительными восходящими стволами и выше фильтров. Количество закачиваемого теплоносителя и отбираемой продукции определяют из свойств вскрытых пластов в каждом дополнительном восходящем стволе благодаря фильтрам с регулируемым пропусканием, при этом закачку теплоносителя и отбор продукции производят последовательно из колонны труб, расстояние между дополнительными восходящими стволами определяют с учетом технологических возможностей бурового оборудования для их проводки.

[11]

Недостатками известного способа являются недостаточная эффективность нефтеизвлечения, т.к. не учитывается плотность закачиваемого теплоносителя при определении направления дополнительных стволов скважины; невысокий коэффициент извлечения нефти, т.к. дополнительные стволы бурятся в слабопроницаемые участки, а наиболее нефтенасыщенные участки не выделяются.

[12]

Техническими задачами предлагаемого способа разработки являются увеличение охвата залежи тепловым воздействием за счет бурения дополнительных стволов, увеличение коэффициента извлечения нефти за счет включения в разработку наиболее нефтенасыщенных участков, повышение вытеснения нефти из пластов с учетом плотности используемого реагента, а также снижение материальных затрат за счет расположения дополнительных стволов на расстоянии, не превышающем расстояния между соседними горизонтальными скважинами.

[13]

Технические задачи решаются способом разработки залежи высоковязкой нефти, включающим геофизические исследования залежи, строительство выше водонефтяного контакта горизонтальной скважины с дополнительными стволами, последовательную закачку теплоносителя и отбор продукции из горизонтальной скважины.

[14]

Новым является то, что геофизическими исследованиями и по данным отбора керна определяют среднюю нефтенасыщенную толщину залежи, выделяют участки с начальной нефтенасыщенной толщиной более 10% выше средней по залежи, выбирают из этих участков те, которые находятся на расстоянии от горизонтального ствола не более 90% расстояния между соседними горизонтальными скважинами, а дополнительные стволы бурят со вскрытием выбранных участков, причем зенитный угол дополнительных стволов выбирают в зависимости от плотности закачиваемого теплоносителя.

[15]

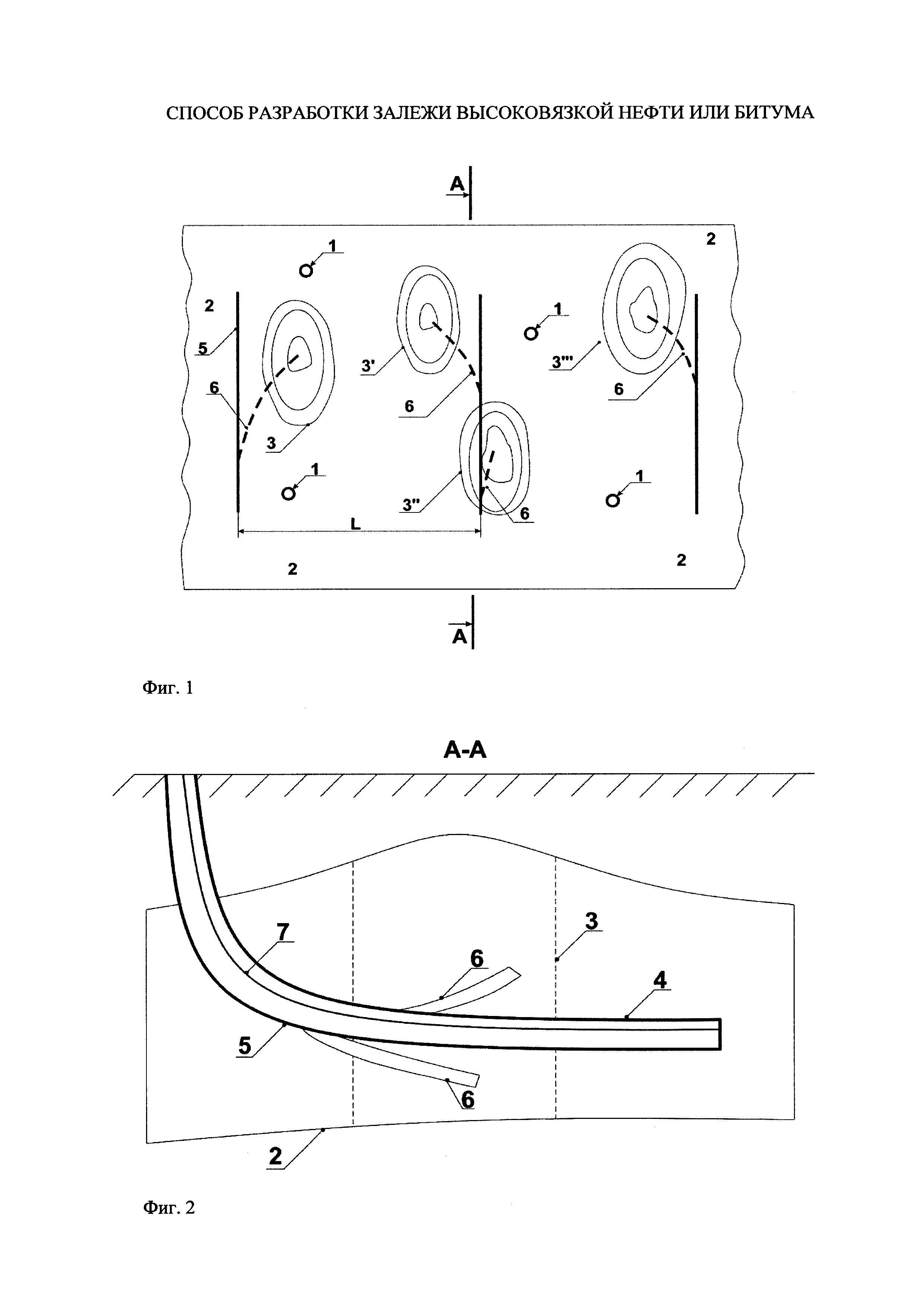
На фиг. 1 показана схема реализации способа разработки залежи высоковязкой нефти - вид сверху.

[16]

На фиг. 2 показана схема реализации способа разработки залежи высоковязкой нефти - в разрезе А-А.

[17]

Способ осуществляется следующим образом.

[18]

На залежи высоковязкой нефти или битума бурят оценочные скважины 1 (фиг.1), выделяют продуктивный пласт 2, с помощью геофизических исследований и данных отбора керна определяют среднюю нефтенасыщенную толщину залежи, выделяют участки 3, 3', 3'', 3''' с начальной нефтенасыщенной толщиной более 10% выше средней по залежи, выбирают из этих участков те, которые находятся на расстоянии от горизонтального ствола 4 не более 90% расстояния L между соседними горизонтальными скважинами 5 (0,9 L). Бурят горизонтальную скважину 5 (фиг. 2) с размещением основного горизонтального ствола 4 выше водонефтяного контакта (на фиг. 1, 2 не показано) как минимум на 2 м.

[19]

Осуществляют проводку из основного горизонтального ствола 4 дополнительных стволов 6 в соответствующие участки 3, 3', 3'', 3''' с начальной нефтенасыщенной толщиной более 10% выше средней по залежи, расположенные на расстоянии от горизонтальных стволов 4 не более 90% расстояния L (фиг. 1) между соседними горизонтальными скважинами 5. В основном горизонтальном стволе 4 (фиг. 2) располагают устройство контроля давления и температуры 7, например оптико-волоконный кабель. При выборе расстояния между дополнительными стволами 6 учитывают технологические возможности бурового оборудования (на фиг.1, 2 не показано) для их проводки. Кроме этого, зенитный угол дополнительных стволов 6 выбирают в зависимости от плотности закачиваемого теплоносителя: при плотности закачиваемого теплоносителя (горячая вода, соляной раствор и т.п.) больше плотности отбираемой продукции дополнительные стволы 6 выполняют нисходящими, а при меньшей плотности теплоносителя (водяной пар, углеводородный растворитель и т.п.) дополнительные стволы 6 выполняют восходящими.

[20]

Осуществляют закачку теплоносителя в горизонтальные скважины 5 (фиг. 1) и дополнительные стволы 6. После прогрева продуктивного пласта 2 (определяется устройством контроля давления и температуры) прекращают подачу теплоносителя, производят термокапиллярную пропитку залежи и отбор продукции.

[21]

Таким образом, чередуют последовательную закачку теплоносителя в горизонтальные скважины 5 и дополнительные стволы 6, термокапиллярную пропитку и отбор продукции до полной выработки пласта 2. При этом контроль за состоянием закачиваемого теплоносителя и отбираемого флюида осуществляют устройством контроля давления и температуры 7.

[22]

Пример конкретного выполнения способа.

[23]

Предложенный способ разработки залежи высоковязкой нефти был рассмотрен на Ашальчинском месторождении, по результатам исследования которой определили участок со следующими геолого-физическими характеристиками:

[24]

глубина залегания130 м
средняя общая толщина пласта15 м
нефтенасыщенная толщина пласта10 м
значение начального пластового давления0,44 МПа
начальная пластовая температура9°С
плотность нефти в пластовых условиях0,96 т/м3
коэффициент динамической вязкости нефти в пластовых условиях35000 мПа⋅с
коэффициент динамической вязкости воды в пластовых условиях1 мПа⋅с
значение средней проницаемости по керну в пласте1600 мкм2
значение средней пористости по керну в пласте0,3 д. ед.

[25]

Исследовали залежь для выделения продуктивного пласта с помощью пробуренных оценочных вертикальных скважин 1.

[26]

С помощью геофизических исследований и данных отбора керна определили среднюю нефтенасыщенную толщину залежи (10 м), выделили участки 3, 3', 3'', 3''' с начальной нефтенасыщенной толщиной более 10% (более 11 м) выше средней по залежи, из этих участков выбрали те, которые находятся на расстоянии от горизонтального ствола 4 не более 90% расстояния между соседними горизонтальными скважинами 5. Было выделено четыре участка 3, 3', 3'', 3''' с начальной нефтенасыщенной толщиной более 11 м. Расстояние L между соседними горизонтальными скважинами 5 составило 100 м.

[27]

Пробурили систему горизонтальных скважин 5 с размещением основных горизонтальных стволов 4 длиной 600 м выше водонефтяного контакта (на фиг. 1, 2 не показано) на 2 м. В выделенные участки 3, 3', 3'', 3''' с начальной нефтенасыщенной толщиной более 11 м с учетом технологических возможностей бурового оборудования пробурены из соответствующих горизонтальных стволов 4 дополнительные стволы 6: в участок 3 длиной 350 м, 3' - 250 м, 3'' - 150 м, 3''' - 200 м. Горизонтальные скважины 5 оборудовали устройствами контроля давления и температуры 7. После обустройства горизонтальных скважин 5 производили закачку теплоносителя в объеме 150 т/сут в течение 60 дней, т.е. 9000 т. В качестве теплоносителя использовался водяной пар с температурой 191°С и сухостью 0,9 д. ед., поэтому дополнительные стволы 6 выбраны восходящими (зенитный угол более 90°).

[28]

После прогрева залежи закачку пара прекратили для осуществления процесса термокапиллярной пропитки пласта 2 в течение 40 дней. По истечении 40 дней производили отбор продукции по насосно-компрессорным трубам из горизонтальных стволов 4 горизонтальных скважин 5 в течение трех месяцев, после чего циклы закачки пара, термокапиллярной пропитки и отбора нефти повторили 7 раз (последующие циклы являются нерентабельными).

[29]

При исследовании выявлены преимущества способа перед наиболее близким аналогом: снижение неэффективной закачки пара в 1,3 раза (уменьшение паронефтяного отношения от 6,5 до 5 т/т), снижение процента обводненности добываемой продукции из пласта на 12% (от 83 до 73%), увеличение накопленной добычи нефти на 13,3% (от 38,3 до 43,4 тыс. т), что привело к увеличению коэффициента извлечения нефти на 0,17 д. ед., снижению сроков разработки месторождения, а также снижению затрат на прогрев пласта на 10%.

[30]

Предлагаемый способ разработки залежи высоковязкой нефти или битума позволяет вовлечь в разработку зоны повышенной продуктивности, повысить охват залежи за счет бурения дополнительных стволов с учетом плотности закачиваемого теплоносителя. Кроме того, предложенный способ позволяет увеличить коэффициент извлечения нефти за счет бурения разнонаправленных дополнительных стволов в участках с высокой нефтенасыщенной толщиной, тем самым повысить рентабельность разработки залежи высоковязкой нефти или битума.

Как компенсировать расходы
на инновационную разработку
Похожие патенты