патент
№ RU 2399797
МПК F04C2/16
Номер заявки
2009116134/06
Дата подачи заявки
29.04.2009
Опубликовано
20.09.2010
Страна
RU
Как управлять
интеллектуальной собственностью
Чертежи 
1
Реферат

Изобретение относится к области насосостроения и предназначено для перекачки жидкостей различной вязкости, содержащих твердые включения, когда требуются высокие антикавитационные качества и минимальные уровни шума и вибрации. Малошумный насос состоит из корпуса, основного и вспомогательного роторов с винтовыми нарезками. Выступы одного ротора входят в пазы другого с зазором. Роторы установлены в подшипниках скольжения, размещенных в корпусе насоса. В роторах насосов выполнены отверстия, по которым к подшипникам насоса подается перекачиваемая жидкость из рабочей полости насоса. Забор жидкости выполнен по сверлениям в роторах на расстоянии не менее одного шага винтовой нарезки от всасывающей кромки винтов. Изобретение направлено на создание двухвинтового малошумного насоса, способного работать на перекачиваемой жидкости, в том числе загрязненной твердыми частицами. 1 з.п. ф-лы, 1 ил.

Формула изобретения

1. Малошумный насос, состоящий из корпуса, основного и вспомогательного роторов с винтовыми нарезками, причем выступы одного входят в пазы другого с зазором, а роторы установлены в подшипниках скольжения, размещенных в корпусе насоса, отличающийся тем, что в роторах насосов выполнены отверстия, по которым к подшипникам насоса подается перекачиваемая жидкость из рабочей полости насоса, причем забор жидкости выполнен по сверлениям в роторах на расстоянии не менее одного шага винтовой нарезки от всасывающей кромки винтов.

2. Малошумный насос по п.1, отличающийся тем, что синхронизирующие вращение роторов шестерни расположены на обоих концах вспомогательного ротора в полости за подшипниками скольжения.

Описание

[1]

Изобретение относится к области насосостроения и может быть использовано для перекачки жидкостей различной вязкости, содержащих твердые включения, когда требуются высокие антикавитационные качества и минимальные уровни шума и вибрации.

[2]

Известен насос (см. RU 2002116380 А, 27.12.2003, F04C 2/16), в котором роторы, основной, который вращает электродвигатель, и вспомогательный, приводимый в движение через зубчатую передачу, вращаются в вынесенных за пределы корпуса насоса подшипниках качения. Недостатком этого технического решения является повышенные уровни шума и вибрации, излучаемые подшипниковыми узлами и зубчатой передачей, так как она передает половину потребляемой насосом мощности и расположена снаружи насоса.

[3]

Известен насос, принятый за ближайший аналог (см. RU 2324075 С2, 10.05.2008, F04C 2/16), в котором ведущий и ведомый роторы имеют нарезки в виде шнеков, дополнительный двигатель установлен на вспомогательном роторе насоса, а роторы выполнены с различными ширинами впадин и толщиной лопастей винтов и вращаются в подшипниках скольжения.

[4]

Это техническое решение также имеет ряд недостатков: насос способен надежно работать только на чистых жидкостях без твердых включений, точная синхронизация вращения роторов невозможна, что будет приводить к периодическим выборкам зазоров, касанию роторов и вибрации. Данное техническое решение является наиболее близким к предлагаемому по решаемой задаче и достигаемому техническому результату.

[5]

Задачей настоящего изобретения является создание двухвинтового малошумного насоса, способного работать на перекачиваемой жидкости, в том числе загрязненной твердыми частицами, с постоянными зазорами в проточной части.

[6]

Технический результат достигается тем, что в малошумным насосе, состоящем из корпуса, основного и вспомогательного роторов с винтовыми нарезками, причем выступы одного входят в пазы другого с зазором, а роторы установлены в подшипниках скольжения, размещенных в корпусе насоса, согласно изобретению в роторах насосов выполнены отверстия, по которым к подшипникам насоса подается перекачиваемая жидкость из рабочей полости насоса, причем забор жидкости выполнен по сверлениям в роторах на расстоянии не менее одного шага винтовой нарезки от всасывающей кромки винтов.

[7]

Кроме того, синхронизирующие вращение роторов шестерни расположены на обоих концах вспомогательного ротора в полости за подшипниками скольжения.

[8]

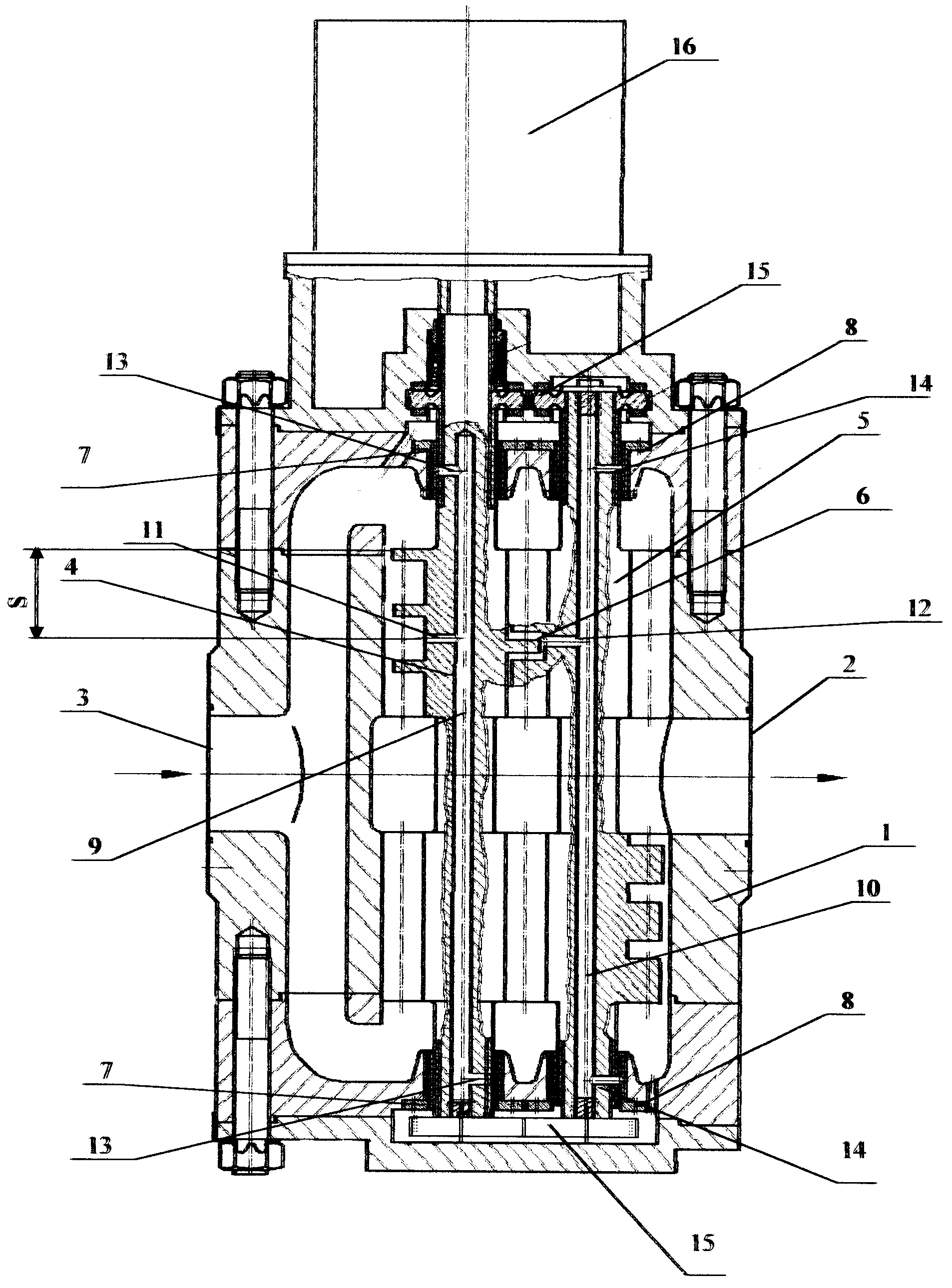
На чертеже показана конструкция насоса.

[9]

Насос состоит из корпуса 1 с патрубком нагнетания 2 и всасывающим патрубком 3, основного ротора 4, вспомогательного 5, которые входят друг в друга с зазорами 6, подшипников скольжения 7 и 8. В валах насоса выполнены отверстия 9 и 10, заглушенные с торцов. Жидкость в отверстия в валах поступает через сверления 11 и 12, выполненные в винтах на расстоянии не менее одного шага винтовой нарезки S от всасывающей кромки винтов, и по отверстиям 13 и 14 поступает в подшипники скольжения 7 и 8. При таком подводе в проточной части насоса реализуется сепарация жидкости и в подшипники поступает чистая жидкость. С целью более точной синхронизации роторов и снижения нагрузки на шестерни 15 они выполнены на обоих концах вспомогательного ротора и расположены в полостях за подшипниками, где всегда очищенная жидкость. Насос приводится в работу двигателем 16.

[10]

Насос работает следующим образом.

[11]

Жидкость поступает во всасывающий патрубок 3 и при прохождении по проточной части к патрубку нагнетания 2 ее давление ступенчато возрастает. Поскольку подшипники скольжения 7 и 8 расположены непосредственно в полости всасывания, то достаточно забрать воду из второй по ходу рабочей полости, то есть на расстоянии от кромок винта не менее одного шага винтовой нарезки S. Под действием центробежных сил все частицы тяжелее перекачиваемой жидкости отбрасываются к периферии рабочих винтов, а в подшипники поступает чистая жидкость. Так как окружные скорости в таком насосе существенно выше осевых, то степень очистки достаточна для обеспечения ресурса работы подшипников.

Как компенсировать расходы
на инновационную разработку
Похожие патенты