патент
№ RU 2690394
МПК F17C5/06

Устройство для зарядки баллона газом и герметизации сваркой

Авторы:
Писарев Максим Андреевич
Номер заявки
2017134660
Дата подачи заявки
03.10.2017
Опубликовано
03.06.2019
Страна
RU
Как управлять
интеллектуальной собственностью
Чертежи 
3
Реферат

Изобретение относится к испытательной технике в машиностроении и может быть использовано в авиации и ракетостроении при производстве блоков высокого давления негорючего газа в устройствах длительного хранения. Устройство для зарядки баллона газом и герметизации сваркой, включающее корпус, установлено на заправочном штуцере баллона и выполнено с обеспечением герметизации технологического отверстия для зарядки баллона газом посредством оплавления зарядного штуцера сваркой в среде рабочего давления. Устройство снабжено электродом и штоком, приводимым в поступательное движение рычагом, с обеспечением касания электродом заправочного штуцера. В качестве сварки применяют ручную дуговую сварку. Технический результат: повышена надежность объекта при длительном хранении в изделии и снижены производственные затраты вследствие отсутствия клапанов на баллоне. 4 ил.

Формула изобретения

Устройство для зарядки баллона газом и герметизации сваркой, включающее корпус, установленное на заправочном штуцере баллона и выполненное с обеспечением герметизации технологического отверстия для зарядки баллона газом посредством оплавления зарядного штуцера сваркой в среде рабочего давления, отличающееся тем, что устройство снабжено электродом и штоком, приводимым в поступательное движение рычагом, с обеспечением касания электродом заправочного штуцера, при этом в качестве сварки применяют ручную дуговую сварку.

Описание

[1]

Изобретение относится к испытательной технике в машиностроении и может быть использовано в авиации и ракетостроении при производстве блоков высокого давления негорючего газа в устройствах длительного хранения.

[2]

Известны баллоны, зарядка которых выполняется от пневматического стенда по известной технологии с герметизацией после зарядки посредством вентиля:

[3]

- баллоны стальные сварные для сжиженных углеводородных газов на давление до 1,6 Мпа, технические условия [1. ГОСТ 15860-84. Баллоны стальные сварные для сжиженных углеводородных газов на давление до 1,6 Мпа. - М., 2003. - С. 3, черт. 1, тип 3, тип 4];

[4]

- баллоны стальные малого и среднего объема для газов на Рр≤19,6 МПа (200 кгс/см2), технические условия [2. ГОСТ 949-73. Баллоны стальные малого и среднего объема для газов на Р≤19,6 Мпа (200 кгс/см2). - М., 1988. - С. 2, 6, 7, 13.]

[5]

Недостаток указанных аналогов [1, 2] идентичен: вследствие релаксации напряжений по уплотнительным элементам вентилей возобновление напряжения возможно только путем подтяжки уплотнения. Степень герметичности позволяет использовать подобные конструкции только в наземных условиях, где возможен постоянный надзор.

[6]

Известны наиболее близкие к заявляемому изобретению устройства для зарядки баллона газом и герметизации сваркой, в которых герметизация технологического отверстия для зарядки баллона газом обеспечивается посредством оплавления входного отверстия [3. Пат. 4208841 DE, МПК F17C 5/00, F17C 5/06, B23K 26/12, В65В 31/02. Pressure chamber - has drilling in head of central chamber with synthetic sapphire to allow laser beam through the weld container filling tube / Jung Walter, Dipl.-Ing., Mayer Gerhard, Vayhinger Kai-Uwe (DE) - Заявл. 19.03.1992; опубл. 05.08.1993.; 4. Пат. 6109004 US, МПК B65B 31/00, B23K 26/12, F17C 5/00, F17C 5/06. Device for seal-welding of a high pressure vessel / Bauer Harald, Gebers Manfred, Siebenrock Peter (DE) - Заявл. 25.11.1998; опубл. 29.08.2000.].

[7]

Недостатки устройств [3., 4.]:

[8]

1. Оплавление происходит за счет луча лазера. Такое устройство не может быть компактным и технологичным, так как для получения лазера требуется специальное оборудование.

[9]

2. Заправляемый баллон устанавливается в специальное приспособление, габариты которого напрямую зависят от размеров баллона.

[10]

Целью заявляемого изобретения является создание простого и компактного устройства для заправки баллонов негорючим газом высокого давления и их герметизации ручной дуговой сваркой без использования крышек, клапанов и т.п. деталей, с возможностью повторного использования баллонов.

[11]

Устройство для зарядки баллона газом и герметизации сваркой, включающее корпус, установленное на заправочном штуцере баллона и выполненное с обеспечением герметизации технологического отверстия для зарядки баллона газом посредством оплавления зарядного штуцера сваркой в среде рабочего давления. Устройство снабжено электродом и штоком, приводимым в поступательное движение рычагом, с обеспечением касания электродом заправочного штуцера, при этом в качестве сварки применяют ручную дуговую сварку.

[12]

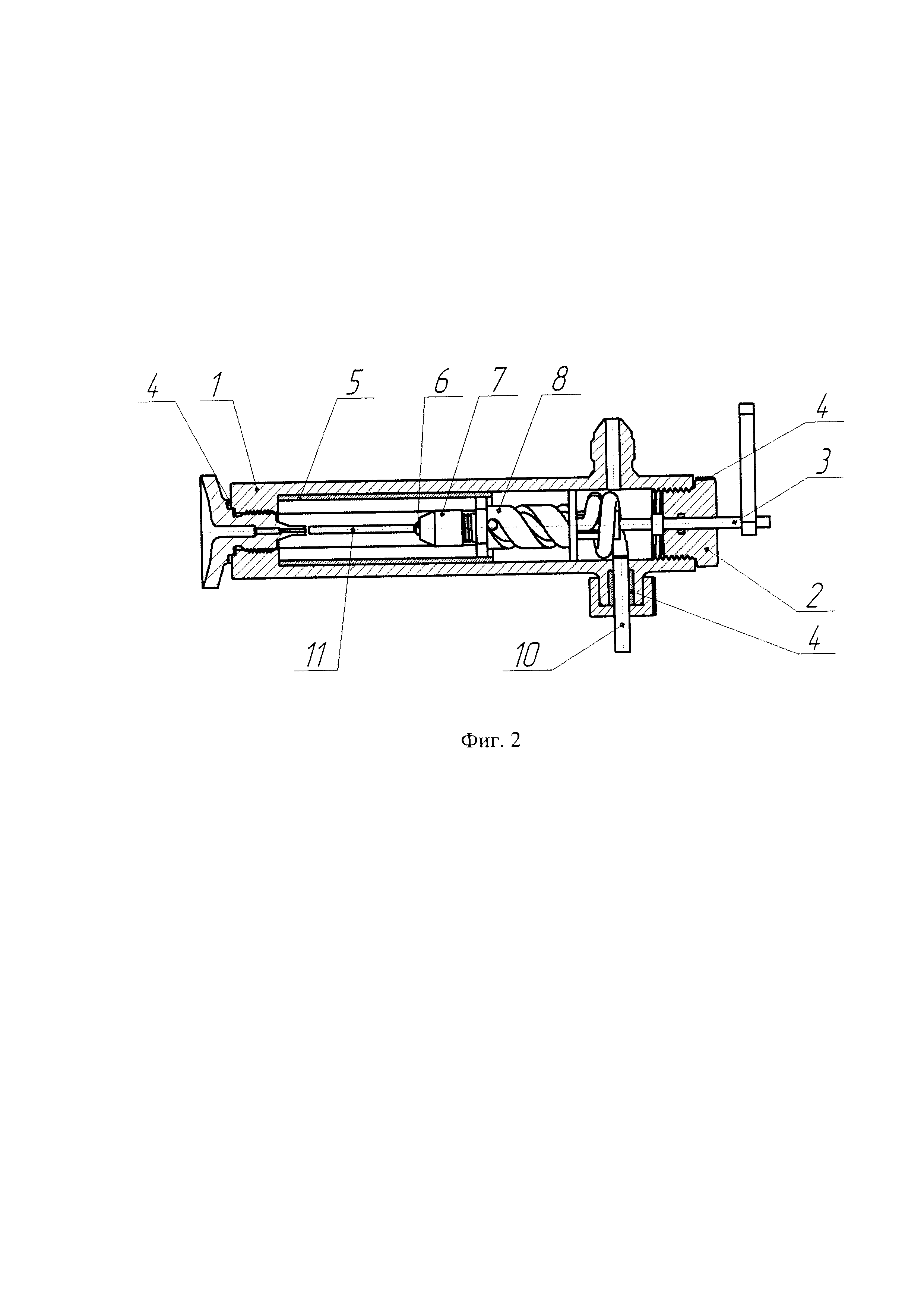
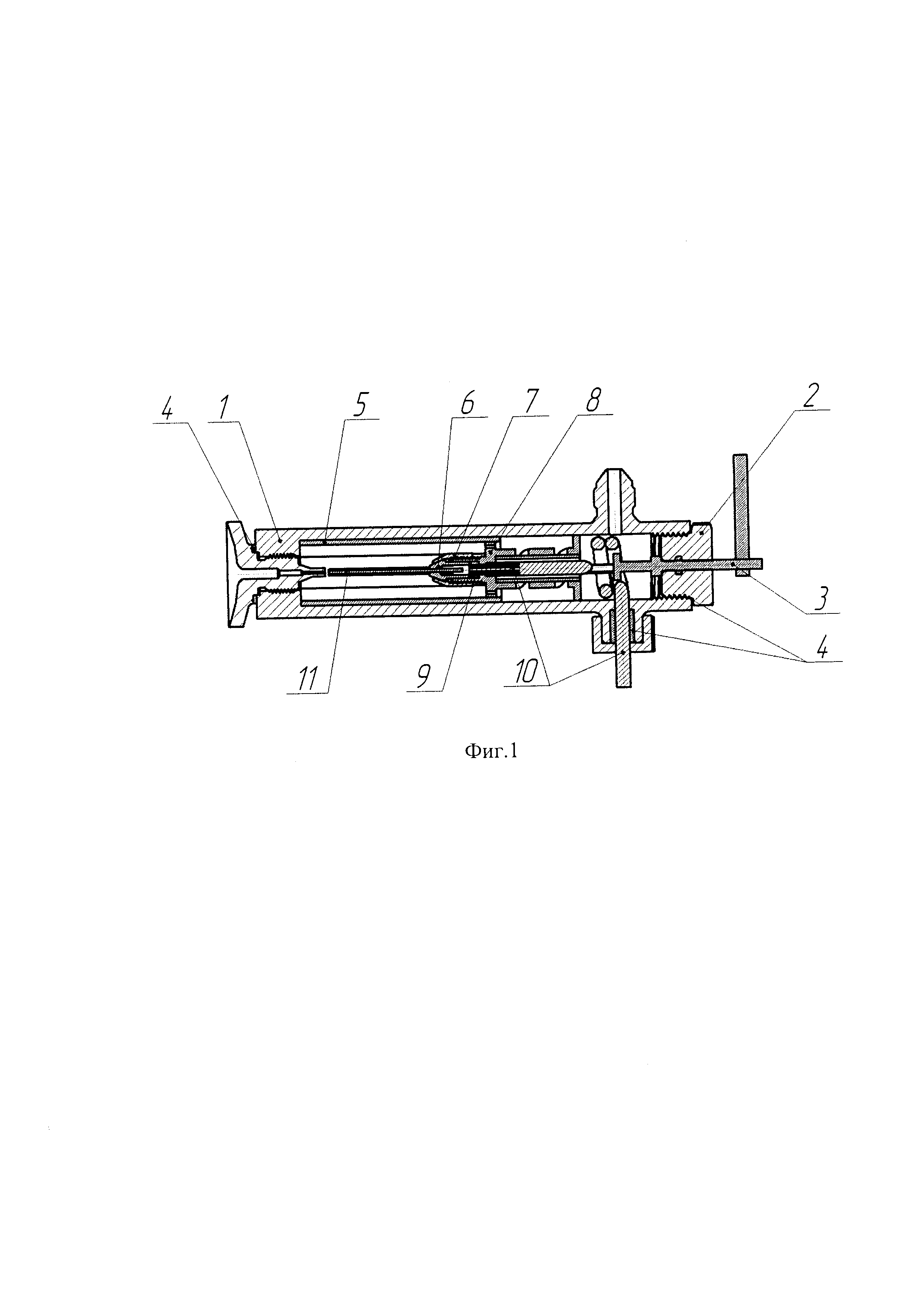
Изобретение поясняется чертежами, где на Фиг. 1 изображено устройство для зарядки баллона газом и герметизации сваркой. Устройство состоит из корпуса 1, крышки 2, рычага 3, уплотнительных колец 4, абразивного экрана 5, цанги 6, патрона 7, штока 8, контакта 9, электрического кабеля 10, электрода 11. Цанга, патрон, электрод, кабель и уплотнительные кольца являются стандартными изделиями.

[13]

На фиг. 2 - устройство для зарядки баллона газом и герметизации сваркой без сечения на рычаг 3, цанги 6, патрона 7, штока 8, электрического кабеля 10 и электрода 11, контакт 9 не виден.

[14]

На фиг. 3 изображен шток 8.

[15]

На фиг. 4 изображен абразивный экран.

[16]

Устройство работает следующим образом. Устройство вкручивается на заправочный штуцер баллона. Через заправочный штуцер производится заправка баллона газом. На электрический кабель 10 подается напряжение для ручной дуговой сварки, сам баллон и корпус устройства необходимо заземлить. При повороте рычага 3 приводится в поступательное движение шток 8 за счет спиральных направляющих на штоке 8 и направляющих на абразивном экране 5. При этом электрод 11 касается заправочного штуцера баллона и происходит обваривание. Затем стравливается избыточное давление с устройства и производится его отстыковка.

[17]

После многократного использования устройства на абразивном экране 5 оседает шлак вследствие разбрызгивания металла при сварке, который удаляется, т.к. абразивный экран легко демонтировать из устройства, отвинтив крышку 2.

[18]

Технический результат: повышена надежность объекта при длительном хранении в изделии, и снижены производственные затраты вследствие отсутствия клапанов на баллоне. Заявляемое изобретение является простым и компактным устройством для заправки баллонов негорючим газом высокого давления и их герметизации ручной дуговой сваркой без использования крышек, клапанов и т.п. деталей, с возможностью повторного использования баллонов.

[19]

Устройство может быть выполнено с помощью стандартного оборудования и материалов отечественного производства. Таким образом, заявленное устройство соответствует критерию «промышленная применимость».

[20]

Источники, принятые во внимание

[21]

1. ГОСТ 15860-84. Баллоны стальные сварные для сжиженных углеводородных газов на давление до 1,6 Мпа: Технические условия. - М., 2003. - С. 4, черт. 1, тип 3, тип 4.

[22]

2. ГОСТ 949-73. Баллоны стальные малого и среднего объема для газов на Р≤19,6 Мпа (200 кгс/см2): Технические условия. - М., 1988. - С. 2, 6, 7, 13.

[23]

3. Пат. 4208841 DE, МПК F17C 5/00, F17C 5/06, B23K 26/12, В65В 31/02. Pressure chamber - has drilling in head of central chamber with synthetic sapphire to allow laser beam through the weld container filling tube / Jung Walter, Dipl.-Ing., Mayer Gerhard, Vayhinger Kai-Uwe (DE) - Заявл. 19.03.1992; опубл. 05.08.1993.;

[24]

4. Пат. 6109004 US, МПК B65B 31/00, B23K 26/12, F17C 5/00, F17C 5/06. Device for seal-welding of a high pressure vessel / Bauer Harald, Gebers Manfred, Siebenrock Peter (DE) - Заявл. 25.11.1998; опубл. 29.08.2000;

[25]

5. Пат. 2441209 RU, МПК G01L 19/06. Способ герметизации сваркой полости, заполненные жидкостью / Петухов П.А., Юровский А.Я. - Заявл. 27.10.2010; опубл. 27.01.2012;

[26]

6. Пат. 102588734 CN, МПК F17C 5/00, F17C 13/06. Manufacturing process of metal bottle with air-tight seal / Jiang Jiang и др. (CN) - Заявл. 06.03.2012; опубл. 18.07.2012;

[27]

7. Пат. 2010000940 JP, МПК F17C 1/00, B60R 21/26, F17C 5/06. Inflator and its manufacturing method / Tanaka Akimitsu и др. (JP) - Заявл. 20.06.2008; опубл. 07.01.2010.

[28]

8. Пат. 0947760 ЕР, МПК F17C 5/00, F16J 12/00, F17C 5/06, F17C 13/06. Gas capsule / Garret Michael Ernest (GB) - Заявл. 19.03.1999; опубл. 06.10.1999.

[29]

9. Пат. 20090313821 US, МПК B23P 17/00, B60R 21/26, F17C 1/00. Method of manufacturing of inflator / Asanuma Junichi и др. (JP) - Заявл. 18.06.2009; опубл. 24.12.2009.

Как компенсировать расходы
на инновационную разработку
Похожие патенты