патент
№ RU 2633706
МПК G21H5/00

Устройство облучения крупногабаритных блочных объектов на ускорителе электронов

Авторы:
Степанов Геннадий Дмитриевич Ермаков Вадим Владимирович Егоркин Александр Вячеславович
Все (4)
Номер заявки
2015132813
Дата подачи заявки
06.08.2015
Опубликовано
17.10.2017
Страна
RU
Как управлять
интеллектуальной собственностью
Чертежи 
2
Реферат

Изобретение относится к устройству облучения крупногабаритных блочных объектов на ускорителе электронов. В заявленном устройстве продукция доставляется в камеру облучения, рабочую зону на подвесном конвейере, а облучение продукции проводится под пучком электронов на лучевом напольном конвейере, размещенных вплотную друг к другу, с предварительной перестановкой подвесов с продукцией с подвесного конвейера на падающий напольный конвейер с помощью лыжи. Технический результат заключается в увеличении коэффициента использования излучения, генерируемого ускорителем электронов, а также возможность поведения процесса с точно заданными параметрами при упрощении транспортировки крупногабаритных объектов в рабочую зону. 2 ил.

Формула изобретения

Устройство для облучения, содержащее ускоритель электронов, напольный конвейер для перемещения облучаемой продукции в зону облучения, отличающееся тем, что перемещение продукции в зону облучения и обратно осуществляется в подвесах подвесного конвейера, состоящего из грузового пути, цепного пути, лыжи, выводящей из зацепления утопающее плечо с толкателем тяговой цепи, спарников, а перемещение подвесов в рабочей зоне проводится на напольном подающем, лучевом и отдающем конвейерах; облучение продукции ускорителем электронов в подвесах - на лучевом напольном конвейере; спарник подвесного конвейера состоит из головной тележки с падающим упором, оси вращения падающего упора, штыря, хвостовика утопающего плеча, каретки цепи, толкателей тяговой цепи, размещенных по всей длине цепи с некоторыми промежутками.

Описание

[1]

Устройство относится к области радиационной техники, к установкам с ускорителями электронов для проведения радиационно-биологических-химических-физических процессов с целью стерилизации и модефикации материалов и изделий.

[2]

Радиационные процессы проводятся как на установках с использованием радионуклидных источников излучения, так и на установках с ускорителями электронов.

[3]

На установках первого типа продукция - облучаемый объект, подается в камеру облучения в подвесах. Г.Д. Степанов «Влияние геометрии системы облучения и радиационной защиты на эффективность работы радиоизотопных установок». В сб. Вопросы атомной науки и техники. Серия: Радиационная техника. Выпуск 1 (23), 1982, с. 13-20.

[4]

На установках с ускорителями электронов подача объекта в камеру облучения под развертку ускорителя осуществляется напольными конвейерами рольгангового или ленточного типа: «Промышленная установка с линейным ускорителем для стерилизации медицинских изделий». Б.М. Ванюшкин, Н.Г. Коньков, В.И. Мунтяп и др. Доклады II Всесоюзного совещания по применению ускорителей заряженных частиц в народном хозяйстве. Ленинград, НИИЭФА, 1976 г.; В.Т. Логутин, Б.М. Ванюшкин, Д.В. Гарнык и др. «Установка с линейным ускорителем электронов». Вопросы атомной науки и техники. Серия «Радиационная техника». Вып. 12, Москва, Атомиздат, 1975.

[5]

При использовании напольных конвейеров для транспортировки крупногабаритных объектов в камеру облучения радиационная обработка объекта под разверткой ускорителя не обеспечивается максимальное использование излучения ускорителя - низкий КПД, возникают существенные технические проблемы прохождения крупногабаритного объекта по лабиринтам установок и организации процесса облучения объекта в требуемом технологическом режиме.

[6]

Поэтому предлагается для транспортировки объекта в камеру облучения, под пучок ускорителя использовать подвесной конвейер, а облучение продукции проводить с использованием устройства, состоящего из напольных подающего, лучевого и отдающего конвейеров с лапой перевода подвесов с подвесного конвейера на систему напольных конвейеров и обратно.

[7]

При этом обеспечивается максимальное использование энергии электронов, проведение процесса с заданными параметрами облучения снимаются проблемы прохождения крупногабаритных объектов по лабиринтам установок.

[8]

Наиболее близкой по назначению и конструктивному оформлению, прототипом является: http://www.корад.рф/linacs.aspx, ООО НПП «Корад» «Линейный ускоритель электронов для радиационной стерилизации медицинских изделий, облучения продуктов питания, облучения заготовок термоусаживающихся изделий и других радиационно-технологических процессов». В состав указанной установки входит ускоритель, напольный конвейер рольгангового типа - для перемещения облучаемой продукции в зону облучения, бетонная биологическая защита, система безопасности и управления установкой.

[9]

Недостатком известных устройств является низкий коэффициент использования излучения ускорителя. В случае облучения продукции в подвесах подвесного конвейера, невозможно организовать плотное размещение подвесов друг к другу в рабочей зоне, возникают также проблемы с точной выдержкой продукции по времени под пучком, а на напольном конвейере возникают технические проблемы транспортировки крупногабаритных объектов в зону облучения.

[10]

Технический результат, который может быть получен при реализации предлагаемого технического решения, заключается в увеличении коэффициента использования излучения, генерируемого ускорителем электронов, открывается возможность поведения процесса с точно заданными параметрами и решаются проблемы транспортировки крупногабаритных объектов в рабочую зону.

[11]

Указанный технический результат достигается за счет того, что продукция доставляется в камеру облучения, рабочую зону на подвесном конвейере, а облучение продукции проводится под пучком электронов на лучевом напольном конвейере, размещенных вплотную друг к другу, с предварительной перестановкой подвесов с продукцией с подвесного конвейера на падающий напольный конвейер с помощью лыжи.

[12]

Предлагаемое устройство показано на фиг. 1, 2.

[13]

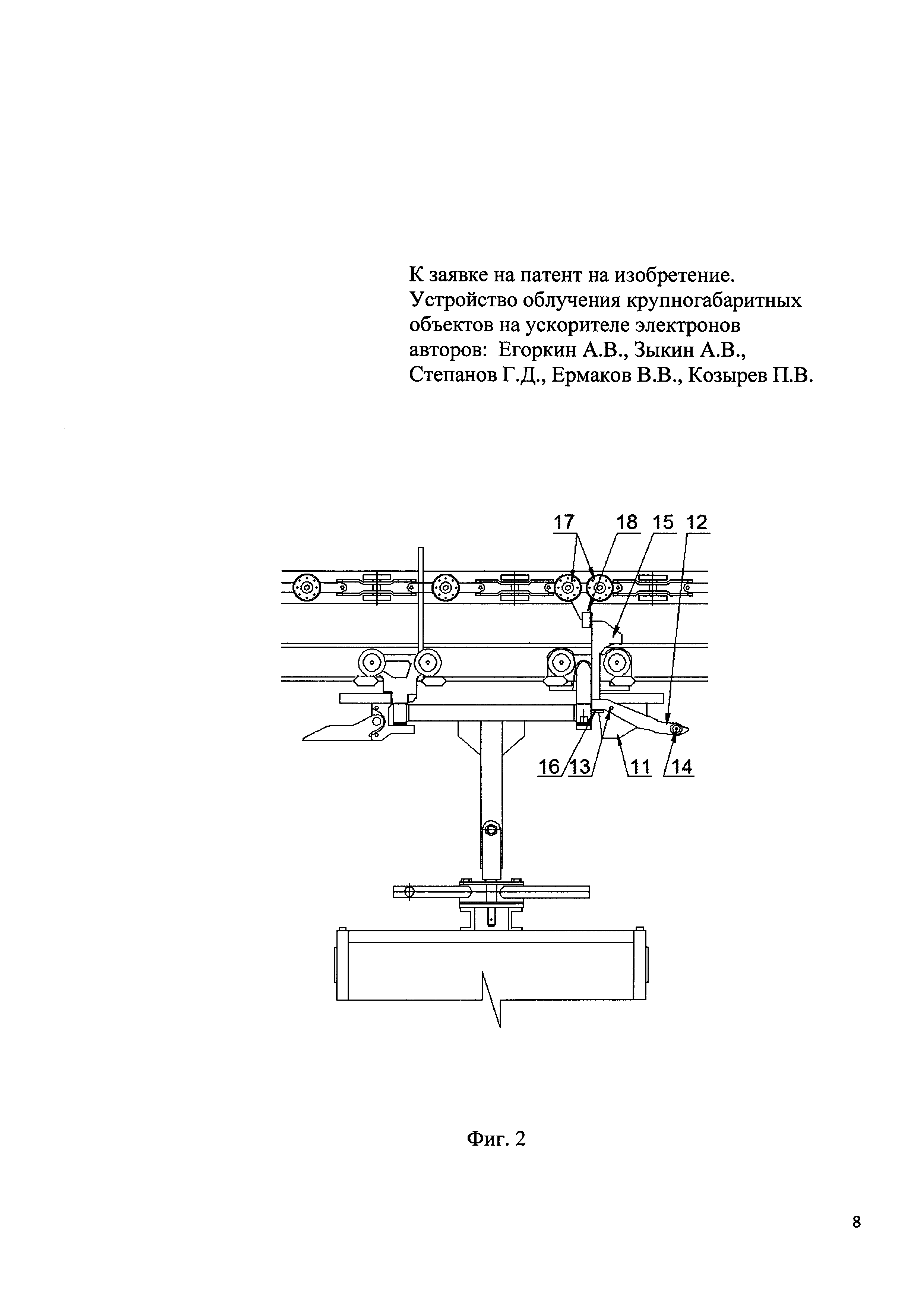
В состав предлагаемого устройства входят (фиг. 1): подвес 1, ускоритель 2, грузовой путь подвесного конвейера 3, цепной путь подвесного конвейера 4, лыжа 5, тяговая цепь 6, спарник 7, напольный подающий 8, лучевой 9, отдающий 10 конвейеры, головная тележка спарника 11 (фиг. 2), падающий упор 12, ось вращения падающего упора 13, штырь 14, утопающее плечо 15, хвостовик утопающего плеча 16, каретка 17 тяговой цепи 6 с толкателями 8 тяговой цепи 6, размещенными по всей длине тяговой цепи с некоторым интервалом.

[14]

Работа устройства происходит следующим образом.

[15]

Перед запуском установки выбираются и устанавливаются в системе автоматического управления параметры проведения процесса: мощность пучка электронов ускорителя, скорость подающего, лучевого и отдающего напольных конвейеров, проводится запуск всех систем и узлов установки.

[16]

Подвес 1 (фиг. 1), с размещенной в нем продукцией толкателем 18 (фиг. 2) тяговой цепи 6 (фиг. 1) по грузовому пути 3 конвейера подается в камеру облучения к напольному подающему конвейеру 8 (фиг. 2). Падающий упор 12 закрепленным на нем выступающим штырем 14 наезжает на лыжу 5 (фиг. 1), скользит по лыже 5, уходит вверх, вследствие чего падающий упор 12 (фиг. 2) поднимается, утопающее плечо 15 уходит вниз и расцепляется с толкателем 18 (фиг. 2) тяговой цепи 6 (фиг. 1); подвес 1 поступает (садится) на напольный подающий конвейер 8 и перемещается на лучевой конвейер 9. Вследствие разности скоростей подающего 8 и лучевого 9 конвейеров (скорость перемещения подвесов 1 на лучевом конвейере 9 меньше, чем на напольном подающем конвейере 8); на лучевом напольном конвейере подвесы с продукцией сближаются вплотную друг к другу и так проходят весь процесс облучения пучком ускоренных электронов ускорителя 2. Облученная на напольном лучевом конвейере 9 продукция переходит на напольный отдающий конвейер 10, над которым заканчивается лыжа 5, обеспечивающая нижнее положение утопающего плеча 15 (фиг. 2), штырь 14 сходит с лыжи 5 (фиг. 1), утопающее плечо 15 (фиг. 2) вновь поднимается и сцеп 7 с подвесом 1 зацепляется (захватывается) толкателем 18 (фиг. 2) тяговой цепи 6 (фиг. 1) и подвес с продукцией подвесным конвейером вывозится из камеры облучения (зоны облучения).

[17]

Предложенное техническое решение обеспечивает радиационную обработку (облучение) продукции с высокой эффективностью (высокое значение коэффициента использования излучения) заданными параметрами процесса и надежной транспортировкой крупногабаритного объекта облучения (подвес с продукцией) в рабочую зону и обратно.

[18]

Существенные признаки конструктивного и технологического решения заявленного устройства в предложенном единстве необходимы и достаточны для обеспечения заявленного технического результата.

Как компенсировать расходы
на инновационную разработку
Похожие патенты