патент
№ RU 2612295
МПК E04H17/04

Проволочное сигнализационное заграждение

Авторы:
Брызгалов Андрей Андреевич
Номер заявки
2015157262
Дата подачи заявки
30.12.2015
Опубликовано
06.03.2017
Страна
RU
Как управлять
интеллектуальной собственностью
Чертежи 
4
Реферат

Изобретение относится к средствам обнаружения, использующимся для инженерных защитных сооружений, а именно для проволочных сигнализационных заграждений, используемых для создания охраняемого периметра защитной территории от несанкционированного доступа физических лиц, техники, животных и т.п., и может быть использовано как при охране локальных территорий (предприятий, военных баз или экологически опасных объектов и т.д.), так и протяженных участков, например, государственной границы. Заявляется проволочное сигнализационное заграждение, содержащее проводную линию, размещенную вдоль охранного ограждения (забора) и закрепленную на столбах ограждения последовательно между первым и последним столбами, при этом на одной из сторон проводной линии установлен параметрический измеритель. Новым является то, что на противоположном от установки параметрического измерителя конце линии, за последним столбом ограждения, установлен параметрический ответчик, подключенный к линии, ответный сигнал которого совпадает с форматом сигнала, измеряемого параметрическим измерителем. Техническим результатом является устранение недостатков известного из прототипа устройства, связанного с охранной функцией, при сохранении простоты его конструкции. 2 з.п. ф-лы, 8 ил.

Формула изобретения

1. Проволочное сигнализационное заграждение, содержащее проводную линию, размещенную вдоль охранного ограждения (забора) и закрепленную на столбах ограждения последовательно между первым и последним столбами, при этом на одной из сторон проводной линии установлен параметрический измеритель, отличающееся тем, что на противоположном от установки параметрического измерителя конце линии, за последним столбом ограждения, установлен параметрический ответчик, подключенный к линии, ответный сигнал которого совпадает с форматом сигнала, измеряемого параметрическим измерителем.

2. Устройство по п. 1, отличающееся тем, что линия выполнена в виде нескольких параллельно идущих и последовательно соединенных отрезков линий, расположенных между первым и последним столбами охранного ограждения, при этом параметрический ответчик выполнен в виде пассивного двухполюсника.

3. Устройство по п. 1, отличающееся тем, что линия выполнена в виде нескольких параллельно идущих и последовательно соединенных отрезков линий, расположенных между первым и последним столбами охранного ограждения, при этом параметрический ответчик выполнен в виде активного двухполюсника.

Описание

[1]

Изобретение относится к средствам обнаружения, использующимся для инженерных защитных сооружений, а именно для проволочных сигнализационных заграждений, используемых для создания охраняемого периметра защитной территории от несанкционированного доступа физических лиц, техники, животных и т.п., и может быть использовано как при охране локальных территорий (предприятий, военных баз или экологически опасных объектов и т.д.), так и протяженных участков, например, государственной границы.

[2]

Известно, что проволочные заграждения (ПЗ) широко использовались в течение многих десятилетий и продолжают применяться в современных комплексах инженерно-технических средств защиты, а именно в качестве одного из рубежей охраны объекта, в составе так называемого охранного периметра. ПЗ также широко применяются для охраны отдельных протяженных участков государственной границы. ПЗ представляет из себя забор из нитей колючей проволоки, которые натягивается на вертикальных опорах (столбах) на электрических изоляторах вдоль охраняемой территории. Весь участок протяженного забора специально разделяют на электрически не связанные участки, чтобы иметь возможность привязки каждого отдельного участка к конкретной местности.

[3]

Каждый такой участок забора дополнительно оборудуют средствами обнаружения, которые контролируют состояние нитей забора. Потенциальный нарушитель может попытаться преодолеть ПЗ путем выкусывания отдельных нитей или расширения зазоров между ними механическим способом вплоть до электрического замыкания соседних нитей между собой. В случае обнаружения указанных действий средства обнаружения ПЗ автоматически в реальном времени передают сигнал тревога на пульт оператора с указанием места расположения участка на охраняемой территории. По сигналу в указанное место немедленно выдвигается бригада для поимки нарушителя.

[4]

Таким образом, ПЗ вместе с дополнительными средствами обнаружения образуют охранный рубеж - проволочное сигнализационное заграждение (ПСЗ). Преимущества указанного ПСЗ заключаются в простоте его установки, надежности в работе, а также в низкой стоимости в изготовлении и дальнейшей эксплуатации.

[5]

Несмотря на кажущуюся простоту ПСЗ, оно способно достаточно надежно защищать охраняемую территорию в любую погоду и любое время года, но при этом само должно отвечать целому ряду жестких требований:

[6]

во-первых, оно должно гарантировать безопасность охраняемого объекта за счет невозможности отключения всего участка ПСЗ или блокировки какой-либо его части с целью осуществления несанкционированного доступа на охраняемую территорию;

[7]

во-вторых, ПСЗ должно иметь простую и легко устанавливаемую конструкцию, которую можно устанавливать как на небольших объектах (складах, ангарах или гаражах - вдоль периметра здания, вдоль крыши или козырька, а также на участках сопряжения с другими объектами), так и на протяженных объектах, в том числе и с различным рельефом местности (в том числе и на участках с большими локальными перепадами высот), например государственной границе.

[8]

Известен радиосигнализатор радиолучевой (см. http://www.radiobarrier.com/ru/ehlementy-sistemy/) - радиолучевое средство обнаружения, которое может быть установлено в непосредственной близости от забора из колючей проволоки для контроля несанкционированного проникновения через забор нарушителя. Известное устройство представляет собой изделие, состоящее из двух электронных блоков, устанавливаемых на опорах на расстоянии друг от друга. Один из блоков является излучателем, а второй -приемником электромагнитной волны. Приемник регистрирует прохождение электромагнитной волны от излучателя. В случае изменения условий прохождения приемник генерирует сигнал тревоги, который передается на пульт оператора.

[9]

Основными недостатками известного устройства можно считать, его низкие охранные функции:

[10]

во-первых, данная комбинация устройств - забора и радиолучевого средства обнаружения - не является комбинацией средств, органично друг друга дополняющих;

[11]

во-вторых, устанавливать такое заграждение возможно только на плоских участках, т.к. в противном случае, любой нарушитель сможет легко добраться до забора ползком, используя складки местности, после чего беспрепятственно перерезать колючую проволоку на заборе и проникнуть за охраняемый периметр;

[12]

в-третьих, данная комбинация устройств плохо проявляет себя в плохую погоду, например, когда радиолучевое средство обнаружения не может контролировать местность из-за снежных заносов или в ветреную погоду, когда провода забора колеблются и меняют прохождение электромагнитной волны вдоль забора, что приводит к генерации ложных сигналов тревога;

[13]

в-четвертых, растительность, расположенная между приемником и излучателем изделия, также меняет прохождение радиоволн, особенно в ветер и дождь, что тоже приводит к генерации ложных сигналов тревоги. Кроме того, растительность может использоваться потенциальным нарушителем так же, как и складки местности. Поэтому участки вдоль забора должны подвергать систематическому выкашиванию и удалению растительности, что особенно сложно выполнять вдоль государственной границы, имеющей значительную протяженность;

[14]

в-пятых, известное изделие довольно дорого в производстве и эксплуатации (необходимо периодически проверять прохождение сигнала и юстировать приемо-передающие антенны), но при этом само устройство может контролировать только небольшие участки на местности (не более 100-200 м в длину), что делает его применение на протяженных участках экономически не целесообразным.

[15]

Наиболее близким к заявляемому техническому решению является охранно-пожарное сигнализационное устройство, описанное в патенте США №4287515, Кл. G08B 29/00, 1981 г., содержащее двухпроводную линию, закрепленную вдоль охраняемого линейно-протяженного сооружения, на одной из сторон которой закреплен измеритель сопротивления, а между проводами линии закреплены датчики, изменяющие свое сопротивление при воздействии внешнего источника, например датчики дыма. При отсутствии события вдоль линии ее сопротивление бесконечно, а при пожаре срабатывают датчики дыма и закорачивают линию. По величине сопротивления можно определить местоположение очага пожара. Известное устройство позволяет контролировать периметры значительной длины и локализовать с достаточной точностью (до нескольких десятков метров) места, на которых произошло воздействие на линию.

[16]

Однако известному устройству присущи существенные недостатки, связанные со слабой защищенностью от постороннего вмешательства с целью отключения части охраняемого участка от контроля:

[17]

во-первых, в известном устройстве не контролируется целостность проводников двухпроводной линии. Двухпроводную линию можно аккуратно (то есть без закорачивания линии) перерезать (разорвать) практически в любом месте. В этом случае все датчики, расположенные после места обрыва линии, перестанут изменять ее сопротивление, то есть перестанут быть активными. Активными датчиками останутся только те, которые расположены до места обрыва линии со стороны измерителя;

[18]

во-вторых, поскольку используются точечные датчики, то соответственно имеются участки между датчиками, на которых контроль не ведется и возникает необходимость устанавливать датчики часто, чтобы бесконтрольные участки были малы;

[19]

в-третьих, точечные датчики, несмотря на невысокую стоимость, усложняют всю систему из-за того, что их нужно устанавливать часто. При этом они дополнительно повышают эксплуатационные расходы, т.к. любые датчики требуют постоянного контроля на предмет их годности (работоспособности). Известно, что для проверки работоспособности всего устройства необходимо имитировать событие на каждом точечном датчике, потом дождаться реакции устройства и, в случае штатной реакции на событие, перейти к проверке следующего датчика. Так последовательно и периодически нужно проверять каждый датчик устройства.

[20]

Задачей заявляемого технического решения является устранение указанных недостатков известного устройства, связанных с охранной функцией, при сохранении простоты его конструкции.

[21]

Указанная задача в проволочном сигнализационном заграждении, содержащем двухпроводную линию, размещенную вдоль охранного ограждения (забора) и закрепленную на столбах ограждения последовательно между первым и последним столбами, при этом на одной из сторон проводной линии установлен параметрический измеритель, решена тем, что на противоположном от параметрического измерителя конце линии, за последним столбом ограждения, установлен параметрический ответчик, подключенный к линии, ответный сигнал которого совпадает с форматом сигнала, измеряемого параметрическим измерителем. Присутствие на противоположном от установки параметрического измерителя конце линии параметрического ответчика позволяет исключить незаметное перерезание и закорачивание линии в любом месте.

[22]

Однако двумя проводниками, закрепленными на заборе, невозможно перекрыть несанкционированный доступ на охраняемую территорию, за исключением очень узких горизонтальных щелей. В реальности количество отрезков проволоки на столбах, для того чтобы выполнялись функции заграждения, должно быть существенно большим (два-три десятка нитей для забора высотой около двух метров). Для этого проводная линия может быть выполнена в виде нескольких параллельно идущих и последовательно соединенных отрезков двухпроводных линий (нечетное количество пар), расположенных между первым и последним столбами охранного ограждения, а параметрический ответчик может быть выполнен в виде двухполюсника, изготовленного из пассивных или активных электронных компонентов.

[23]

Указанное выполнение заявляемого устройства позволяет легко переоборудовать практически все имеющиеся в настоящее время простые проволочные заграждения в сложную для преодоления полосу инженерного заграждения, способную сигнализировать в реальном времени о попытках ее преодоления путем перерезания нитей или расширения зазоров между отдельными нитями за счет установки в начале проводной линии параметрического измерителя, а в конце линии параметрического ответчика, что не имеет аналогов среди известных проволочных сигнализационных устройств, а значит, соответствует критерию «изобретательский уровень».

[24]

Сущность предлагаемого технического решения поясняется фигурами 1-8.

[25]

На фиг. 1 представлена блок-схема заявляемого устройства, где двухпроводная линия, выполнена в виде двух проводников 1.1 и 1.2, закрепленных на столбах ограждения 2a-2n, установленных на поверхности 3; к одной стороне проводной линии подключен параметрический измеритель 4, а к другой - параметрический ответчик 5.

[26]

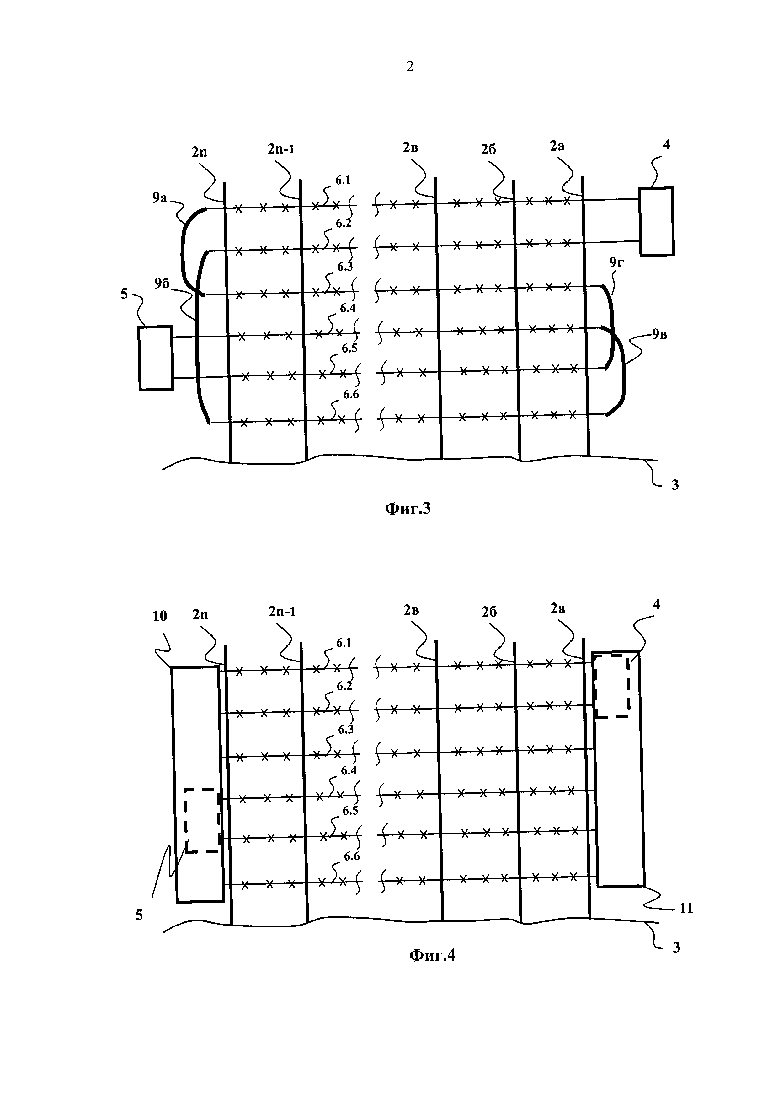
На фиг. 2 представлена блок-схема заявляемого устройства, где двухпроводная линия выполнена в виде шести параллельно идущих и последовательно соединенных отрезков колючей проволоки 6.1-6.6, соединенных между собой при помощи четырех проводников 7a-7г. Таким образом, из отдельных отрезков 6.1-6.6 создана двухпроводная линия, при этом каждый ее проводник объединяет отрезки либо только с нечетным индексом (6.1, 6.3 и 6.5), либо с четным (6.2, 6.4 и 6.6).

[27]

На фиг. 3 представлена блок-схема заявляемого устройства, где так же, как и на фиг. 2, двухпроводная линия выполнена в виде шести параллельно идущих и последовательно соединенных отрезков 6.1-6.6, соединенных между собой при помощи четырех проводников 9а-9г с той лишь разницей, что четные и нечетные проводники соединены не подряд, а случайным образом. В частности, отрезок 6.2 соединен не с 6.4, как на фиг. 2, а с отрезком 6.6.

[28]

На фиг. 4 представлена блок-схема заявляемого устройства, аналогичная представленной на фиг. 3, но в начале и в конце участка забора установлены электрораспределительные конструкции, закрывающие от постороннего взгляда параметрический измеритель, параметрический ответчик и проводники, соединяющие отрезки колючей проволоки. На блок-схеме представлены: 10 - электрораспределитель, содержащий параметрический ответчик; 11 - электрораспределитель, содержащий параметрический измеритель. Электрораспределители 10 и 11 могут быть выполнены монолитными, герметичными или с ограниченным доступом, что не позволит нарушителю понять схему подключения параметрического измерителя и параметрического ответчика.

[29]

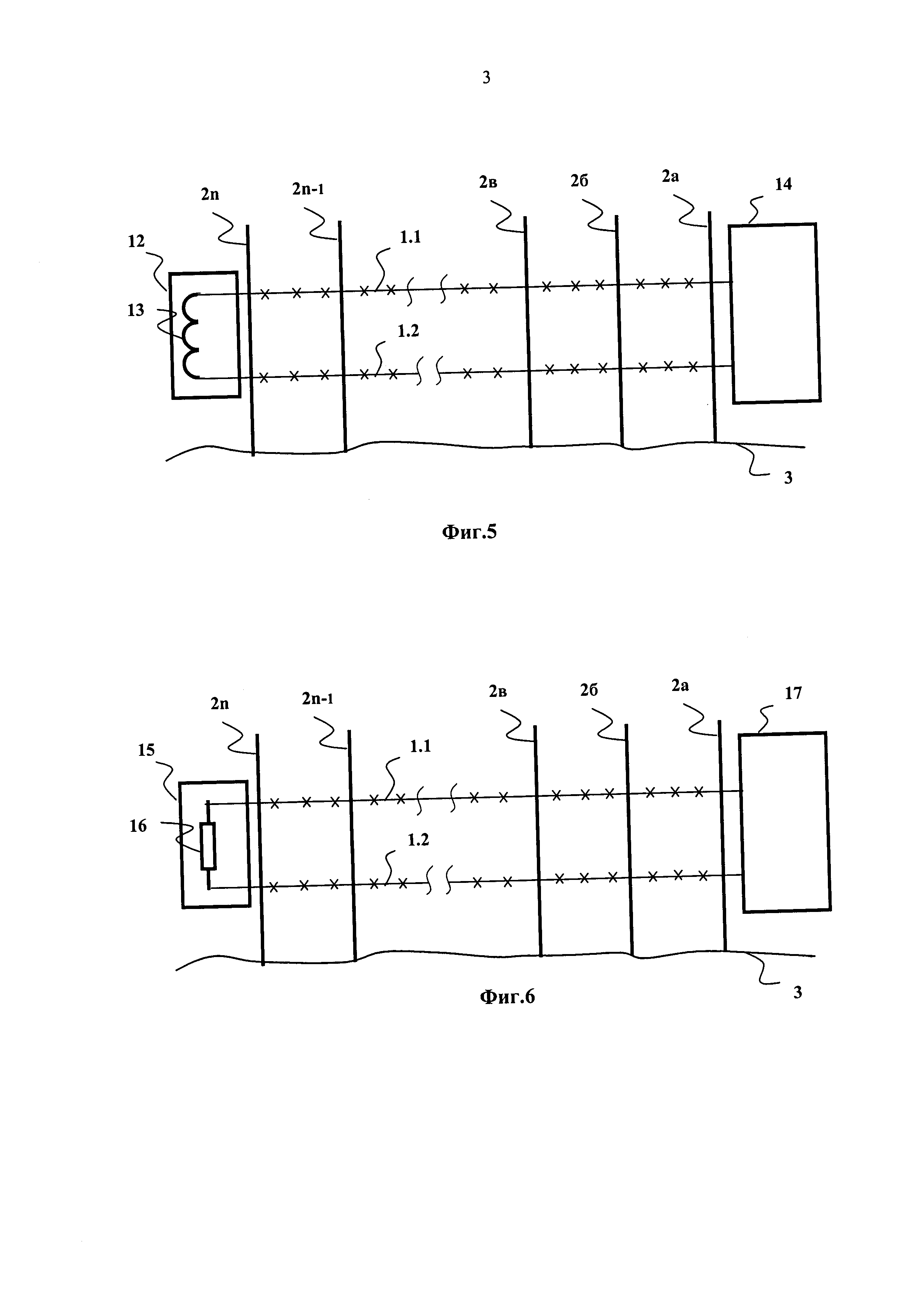
На фиг. 5 представлена блок-схема заявляемого устройства, где параметрический ответчик 12 выполнен в виде пассивного двухполюсника, содержащего индуктивность 13, а параметрический измеритель 14 выполнен в виде измерителя индуктивности (L-метра).

[30]

На фиг. 6 представлена блок-схема заявляемого устройства, где параметрический ответчик 15 выполнен в виде пассивного двухполюсника, содержащего резистор 16, а параметрический измеритель 17 выполнен в виде измерителя сопротивления (ОМ-метра).

[31]

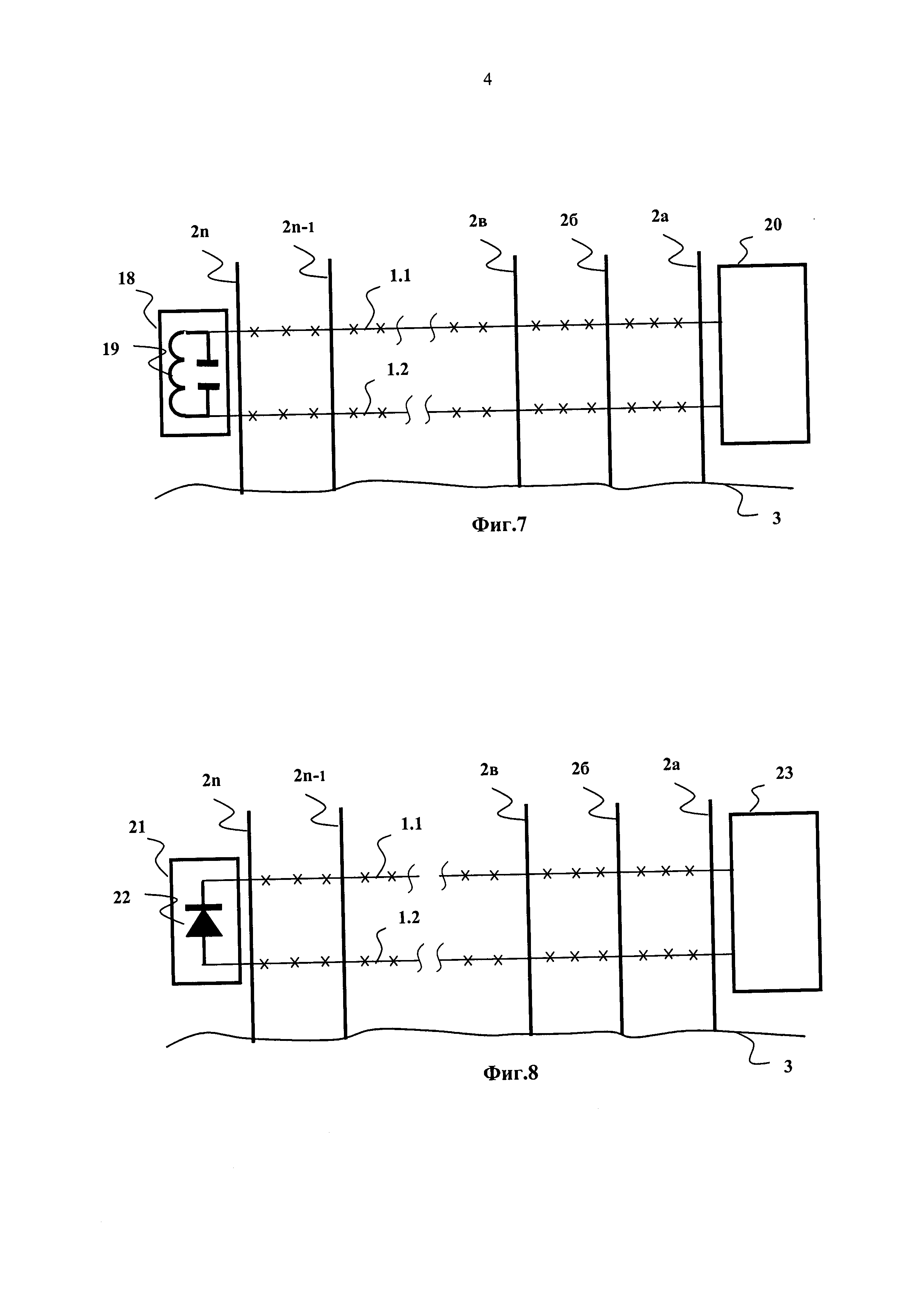
На фиг. 7 представлена блок-схема заявляемого устройства, где параметрический ответчик 18 выполнен в виде пассивного двухполюсника, содержащего резонансный контур 19 (в виде параллельного или последовательного включения индуктивности и емкости - на фигуре показан только параллельный резонансный контур), а параметрический измеритель 20 выполнен в виде измерителя резонансной частоты.

[32]

На фиг. 8 представлена блок-схема заявляемого устройства, где параметрический ответчик 21 выполнен в виде двухполюсника с активными электронными компонентами, в частности в виде диода 22, а параметрический измеритель 23 выполнен в виде измерителя проводимости, измеряющего параметры линии попеременно в двух разных направлениях.

[33]

Рассмотрим работу устройства, блок-схема которого представлена на фиг. 1. Параметрический измеритель 4 периодически по проводам 1.1 и 1.2 двухпроводной линии посылает запрос параметрическому ответчику 5. Получив запрос в понятном параметрическому ответчику 5 формате, ответчик формирует ответ, в который вставляет свои индивидуальные внутренние параметры, и посылает ответ в линию по тем же проводам 1.1 и 1.2. Ответ приходит к параметрическому измерителю 4, который, в свою очередь, узнает формат ответа, измеряет значение параметров, использованных при формировании ответа, сравнивает измеренные значения с эталонными значениями, хранящимися в его памяти, и на основании этого сравнения делает вывод о штатном (исправном) состоянии линии. В случае когда хотя бы один из проводников 1.1 или 1.2 оборван или они закорочены между собой, запрос от параметрического измерителя 4 не может дойти до параметрического ответчика 5. Соответственно ответа на свой запрос параметрический измеритель 4 не получит в «установленное время». Неполучение ответа в установленное время расценивается параметрическим измерителем 4, как неполадки линии: «обрыв» или «замыкание». Соответственно параметрический измеритель 4 формирует сигнал «тревога».

[34]

Поскольку двумя проводниками, закрепленными на заборе, невозможно перекрыть несанкционированный доступ на охраняемую территорию, то на фиг. 2 количество проводников увеличено до шести (в реальности их может быть в несколько раз больше). На фиг. 2 представлена двухпроводная линия, например, из шести отрезков 6.1-6.6 колючей проволоки, закрепленных на столбах 2а-2n и соединенных проводниками 7а-7г, при этом они расположены так, чтобы рядом с каждым отрезком одного провода всегда находились отрезки, принадлежащие другому проводу линии (отрезки с четными и нечетными индексами соединены в разные провода линии). В этом случае смещение любого отрезка из 6.1-6.6 вверх или вниз приведет к касанию ближайшего соседнего отрезка и соответственно к закорачиванию всей двухпроводной линии. Заметим, что количество проводов с четными и нечетными индексами должно быть нечетным, иначе параметрический измеритель 4 и параметрический ответчик 5 окажутся с одной стороны участка заграждения. В частности, на фиг. 2 каждый из проводников двухпроводной линии составлен из трех нитей.

[35]

Работа устройства, представленного на фиг. 2, осуществляется аналогично той, которая выше описана для фиг. 1. Невозможность прохождения запроса параметрического измерителя 4 приводит к отсутствию ответа параметрического ответчика 5 и формированию сигнала «тревога» параметрическим измерителем 4. Можно себе представить, что нарушитель знает (или увидит, подойдя к забору) расположение и схему монтажа проводников 7а-7г. Тогда он может изготовить копии перемычек проводников 7а и 7б в виде перемычек 8а и 8б и установить их сразу за столбом 2n-1. В результате такого действия отрезки линий 6.1-6.4, расположенные между столбами 2n-1 и 2nЮ потеряют свою информативность (разрыв любой из этих нитей не помешает обмену между параметрическим измерителем 4 и параметрическим ответчиком 5 из-за перемычек 8а и 8б) и нарушитель сможет преодолеть проволочное сигнализационное заграждение, несмотря на то, что 6.5 и 6.6 функционируют нормально, но расположены слишком низко.

[36]

Устройство, блок-схема которого представлена на фиг. 3, отличается от предыдущего тем, что проводник-перемычка 9б соединяет отрезок 6.2 не с 6.4, как на фиг. 2, а с отрезком 6.6. При этом правило соединения отрезков только с четными и только с нечетными индексами в проводники двухпроводной линии сохранено.

[37]

При таком включении тоже можно скопировать перемычки 9а и 9б на столбе 2n-1, но два отрезка 6.4 и 6.5, которые идут непосредственно к параметрическому ответчику 5, не могут быть вырезаны. Они уже окажутся не нижними, а будут находиться выше. В случае когда проводов существенно больше, чем на нашей блок-схеме (в реальных заборах используется порядка нескольких десятков отрезков колючей проволоки), можно сделать так, что положение отрезков, которые идут непосредственно к параметрическому ответчику 5, окажется практически произвольным (случайным). Если в этом случае еще скрыть от наблюдения проводники 9а-9г и места подключения параметрического измерителя 4 и параметрического ответчика 5, как показано на фиг. 4, то правильное отключение пролета станет задачей с маловероятным правильным решением.

[38]

На фиг. 4 приведена блок-схема заявляемого устройства, аналогичная представленной на фиг. 3, отличающаяся тем, что в начале и в конце участка забора проводники (9а-9г, см. фиг. 3), соединяющие нити колючей проволоки, параметрический измеритель и параметрический ответчик, установлены внутри электрораспределительных конструкций 10 и 11. Конструкции полностью закрывают их от постороннего взгляда. На фиг. 4 под номером 10 представлена электрораспределительная конструкция, содержащая параметрический ответчик, а под номером 11 - параметрический измеритель. Электрораспределители могут быть монолитными, герметичными, с ограниченным доступом и т.п. Они должны всего лишь сделать невозможным определение нитей, к которым подключены параметрический измеритель и параметрический ответчик. Эти четыре нити не могут быть подвержены посторонним воздействиям. С ростом количества нитей двухпроводной линии вероятность их правильного отключения начинает резко нелинейно падать.

[39]

Теперь рассмотрим работу устройства с конкретными вариантами реализации параметрического измерителя и параметрического ответчика. На фиг. 5 в качестве параметрического ответчика 12 выступает индуктивность 13. При этом в качестве параметрического измерителя 14 используется измеритель индуктивности. Номинал индуктивности 13 выбирается так, чтобы быть существенно больше, чем собственная индуктивность линии. Параметрический измеритель 14 периодически подает напряжение на линию, то есть посылает запрос. Параметрический ответчик, получив запрос в виде входного напряжения, формирует ответ в виде нарастающего тока в цепи. Скорость нарастания тока определяется величиной индуктивности. Параметрический измеритель следит за изменением тока в цепи и по нему определяет величину индуктивности параметрического ответчика. До тех пор, пока измеренное значение не сильно отличается от номинала, сигнал «тревога» не генерируется. В случае обрыва линии или ее закоротки индуктивность цепи резко изменится, что не будет соответствовать известным параметрам ответчика.

[40]

На фиг. 6 в качестве параметрического ответчика 15 выступает резистор 16. При этом параметрический измеритель 17 представляет из себя омметр. Номинал резистора выбирается так, чтобы он был существенно больше собственного сопротивления линии, но меньше ее «паразитного» сопротивления, обусловленного токами утечки в самых плохих погодных условиях (например, во время дождя).

[41]

На фиг. 7 в качестве параметрического ответчика 18 используется колебательный контур 19. При этом в качестве параметрического измерителя 20 используется измеритель частоты резонанса двухпроводной линии или измеритель добротности колебательного контура. Пока частота резонанса двухпроводной линии или частота, на которой добротность максимальна, соответствуют номинальной частоте колебательного контура 19, двухпроводная линия считается ненарушенной.

[42]

На фиг. 8 представлена блок-схема заявляемого устройства, где параметрический ответчик 21 выполнен в виде двухполюсника с активными электронными компонентами - в виде диода 22, а параметрический измеритель 23 выполнен в виде измерителя проводимости в двух разных направлениях. Параметрический измеритель 23 периодически измеряет сопротивление линии в двух различных направлениях. В прямом направлении для диода 22 значение сопротивления должно практически совпадать с собственным сопротивлением линии, а в обратном направлении сопротивление будет обусловлено только токами утечки, то есть будет очень большим. Если в такой схеме двухпроводная линия будет закорочена, то значение сопротивления в прямом и обратном направлении окажутся одинаковыми, а по величине - не более чем собственное сопротивление линии. Если же произойдет обрыв линии, то значения сопротивления в прямом и обратном направлении тоже будут одинаковы, но в этом случае они будут обусловлены только токами утечки, то есть станут очень большими. Таким образом, применение в качестве параметрического ответчика 21 диода 22 позволит не только обнаружить нарушение в линии, но и определить его тип: «обрыв» или «закоротка».

Как компенсировать расходы
на инновационную разработку
Похожие патенты