Изобретение относится к области гальванотехники и может быть использовано для получения оксидно-керамических покрытий. Устройство содержит источник трехфазного переменного или постоянного напряжения, подключенного к трехфазному мостовому выпрямителю, выходы которого соединены с фильтром, первый и второй датчики напряжения, повышающий высокочастотный трансформатор, вторичная обмотка которого одним выходом подключена к обрабатываемой детали, а другим выходом к катоду ванны с электролитом, первый датчик тока, компьютер, управляющий микроконтроллером, при этом оно дополнительно содержит понижающий и повышающий стабилизаторы напряжения, второй датчик тока, информационный выход которого подключен к четвертому входу микроконтроллера, первый дроссель, активный делитель напряжения и полумостовой инвертор напряжения, при этом силовые входы понижающего стабилизатора подключены к фильтру, а силовые выходы - один напрямую и другой - через второй датчик тока и первый дроссель подключены к силовым входам повышающего стабилизатора, силовые выходы которого подключены к первому датчику напряжения, силовым входам активного делителя напряжения и полумостового инвертора, а информационные входы обоих стабилизаторов соединены соответственно с первым и вторым выходами блока драйверов, при этом активный делитель напряжения формирует амплитуды анодного и катодного напряжений. Технический результат - простой алгоритм управления устройством и снижение его габаритов и веса. 1 ил.
Устройство для плазменно-электролитического оксидирования металлов и сплавов, содержащее источник трехфазного переменного или постоянного напряжения, подключенного к трехфазному мостовому выпрямителю, выходы которого соединены с фильтром, первый и второй датчики напряжения, повышающий высокочастотный трансформатор, вторичная обмотка которого одним выходом подключена к обрабатываемой детали, а другим выходом к катодному электроду ванны, заполненной электролитом, первый датчик тока, компьютер, управляющий микроконтроллером, выходы которого подключены к входам блока драйверов, а первый, второй и третий входы - к информационным выходам датчиков напряжения и первого датчика тока, отличающееся тем, что оно дополнительно содержит понижающий и повышающий стабилизаторы напряжения, второй датчик тока, информационный выход которого подключен к четвертому входу микроконтроллера, первый дроссель, активный делитель напряжения и полумостовой инвертор напряжения, при этом силовые входы понижающего стабилизатора напряжения подключены к фильтру, а силовые выходы, один из которых напрямую, а другой - через второй датчик тока и первый дроссель, подключены к силовым входам повышающего стабилизатора напряжения, силовые выходы которого подключены к первому датчику напряжения, силовым входам активного делителя напряжения и полумостового инвертора напряжения, а информационные входы обоих стабилизаторов напряжения соединены соответственно с первым и вторым выходами блока драйверов, при этом активный делитель напряжения формирует амплитуды анодного и катодного напряжений и содержит два транзистора, шунтированных обратными диодами и включенных по полумостовой схеме, в точку соединения которых включены последовательно соединенные третий датчик тока, информационный выход которого подключен к пятому входу микроконтроллера, и второй дроссель, выход которого подключен к одному из выходов полумостового инвертора напряжения, образованному двумя последовательно включенными конденсаторами, к первому из которых подключен второй датчик напряжения, а другой выход полумостового инвертора напряжения образован двумя последовательно включенными транзисторами, шунтированными обратными диодами, и между выходами включены последовательно соединенные первый датчик тока и первичная обмотка повышающего высокочастотного трансформатора, при этом информационные входы активного делителя напряжения и полумостового инвертора напряжения соответственно подключены к третьему и четвертому выходам блока драйверов.
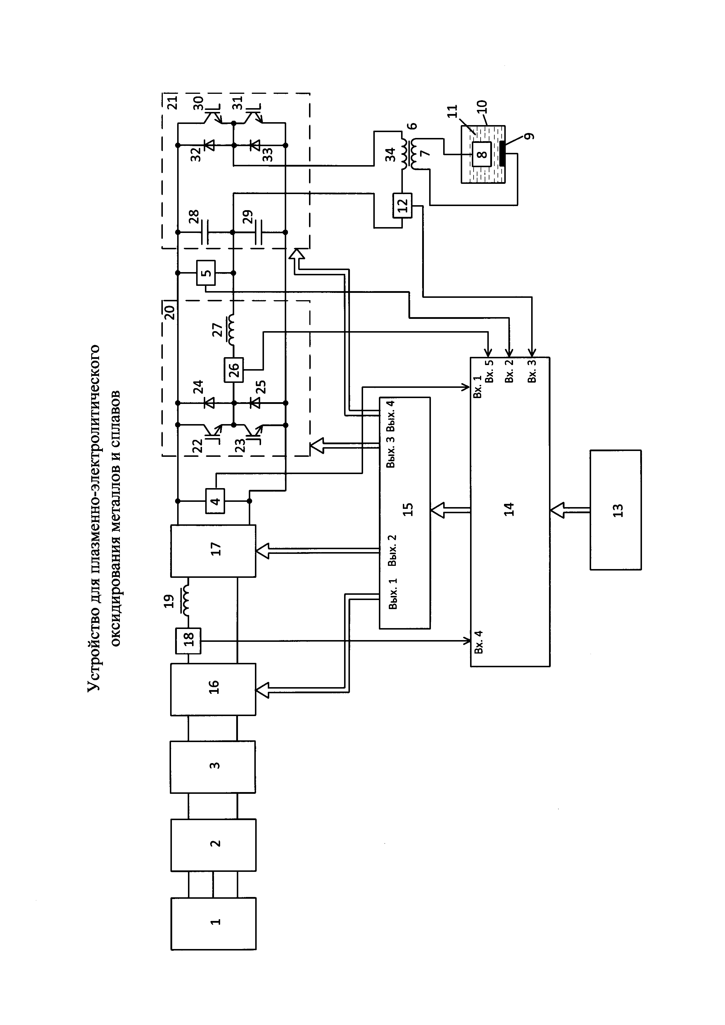
Изобретение относится к оборудованию для электролитической обработки поверхностей металлов и сплавов и может быть использовано для получения оксидно-керамических покрытий. Известно устройство для микродугового оксидирования металлов и их сплавов, содержащее источник питания, соединенный с вторичным источником питания, ванну для электролита, корпус которой соединен через последовательно соединенные датчик напряжения и датчик тока с оксидируемой деталью, управляющую машину, повышающий трансформатор, блок драйверов, тиристорный преобразователь напряжения, систему импульсно-фазового управления, пульт ручного управления, пульт дистанционного управления, последовательно соединенные первый выпрямитель, первый фильтр, первый импульсный преобразователь напряжения, а также последовательно соединенные второй выпрямитель, второй фильтр, второй импульсный преобразователь напряжения, входы которых соединены с выходами повышающего трансформатора, а выходы подключены к входам переключателя режимов (RU, патент №2422560, МПК C25D 11/02, опубл. 27.06.2011 г.). Недостатками известного устройства являются сложная система управления, значительные габариты и вес устройства. Известно устройство для микродугового оксидирования изделий из металлов и металлических сплавов, содержащее источник питания, ванну с электролитом, повышающий трансформатор, управляющую электронно-вычислительную машину, датчик тока и датчик напряжения, входы которых соединены с оксидируемым изделием, вторичный источник питания, импульсные преобразователи напряжения, систему импульсно-фазового управления, пульты дистанционного и ручного управления, два фильтра, переключатель режимов работы, два выпрямителя, тиристорный преобразователь напряжения, выход которого соединен с входом силового повышающего трансформатора, выходы которого подключены к входам первого и второго выпрямителей (патент RU №2395631, МПК C25D 11/00, 21/12, опубл. 27.07.2010 г.). Недостатками известного устройства являются сложная система управления, значительные габариты и вес устройства. Известно устройство для плазменно-электролитического оксидирования металлов и сплавов, принятое за прототип, содержащее источник питания, ванну с электролитом для оксидирования изделия, два выпрямителя, два фильтра, два импульсных преобразователя напряжения, блок драйверов, переключатель режима работы, датчик тока и датчик напряжения, микроконтроллер, управляющую электронно-вычислительную машину, подключенную к микроконтроллеру, управляемый электронный разрядник, два измерителя напряжения, два высокочастотных силовых повышающих трансформатора, два регулятора напряжения, два коммутатора, два логических элемента «И», генератор высокочастотных сигналов, выход которого через два логических элемента «И» соответственно подключен к первым входам коммутаторов, вторые входы которых соединены вместе и подключены к источнику питания, выходы первого и второго коммутаторов подключены к входам соответственно первого и второго высокочастотных силовых повышающих трансформаторов, выходы которых соответственно подключены к входам первого и второго выпрямителей, при этом выходы первого и второго фильтров подключены к входам первого и второго измерителей напряжения и к первым входам соответственно первого и второго регуляторов напряжения, выходы которых подключены ко вторым входам импульсных преобразователей (патент RU №2441108, МПК C25D 11/00, 19/00, опубл. 27.01.2012 г.). Недостатками известного устройства являются сложный алгоритм управления, значительные габариты и вес устройства. Техническим результатом изобретения является простой алгоритм управления и снижение габаритов и веса устройства. Указанный технический результат достигается тем, что устройство для плазменно-электролитического оксидирования металлов и сплавов, содержащее источник трехфазного переменного или постоянного напряжения, подключенного к трехфазному мостовому выпрямителю, выходы которого соединены с фильтром, первый и второй датчики напряжения, повышающий высокочастотный трансформатор, вторичная обмотка которого одним выходом подключена к обрабатываемой детали, а другим выходом к катодному электроду ванны, заполненной электролитом, первый датчик тока, компьютер, управляющий микроконтроллером, выходы которого подключены к входам блока драйверов, а первый, второй и третий входы к информационным выходам датчиков напряжения и первого датчика тока, дополнительно содержит понижающий и повышающий стабилизаторы напряжения, второй датчик тока, информационный выход которого подключен к четвертому входу микроконтроллера, первый дроссель, активный делитель напряжения и полумостовой инвертор напряжения, при этом силовые входы понижающего стабилизатора напряжения подключены к фильтру, а силовые выходы один напрямую и другой через второй датчик тока и первый дроссель подключены к силовым входам повышающего стабилизатора напряжения, силовые выходы которого подключены к первому датчику напряжения, силовым входам активного делителя напряжения и полумостового инвертора напряжения, а информационные входы обоих стабилизаторов напряжения соединены соответственно с первым и вторым выходами блока драйверов, при этом активный делитель напряжения формирует амплитуды анодного и катодного напряжений и содержит два транзистора, шунтированных обратными диодами и включенных по полумостовой схеме, в точку соединения которых включены последовательно соединенные третий датчик тока, информационный выход которого подключен к пятому входу микроконтроллера, и второй дроссель, выход которого подключен к одному из выходов полумостового инвертора напряжения, образованному двумя последовательно включенными конденсаторами, к первому из которых подключен второй датчик напряжения, а другой выход полумостового инвертора напряжения образован двумя последовательно включенными транзисторами, шунтированными обратными диодами, и между выходами включены последовательно соединенные первый датчик тока и первичная обмотка повышающего высокочастотного трансформатора, при этом информационные входы активного делителя напряжения и полумостового инвертора напряжения соответственно подключены к третьему и четвертому выходам блока драйверов. На чертеже представлена структурная схема устройства для плазменно-электролитического оксидирования металлов и сплавов. Устройство для плазменно-электролитического оксидирования металлов и сплавов содержит источник 1 трехфазного переменного или постоянного напряжения, подключенного к трехфазному мостовому выпрямителю 2, выходы которого соединены с фильтром 3, первый и второй датчики напряжения 4 и 5, повышающий высокочастотный трансформатор 6, вторичная обмотка 7 которого одним выходом подключена к обрабатываемой детали 8, а другим выходом к катодному электроду 9 ванны 10, заполненной электролитом 11, первый датчик тока 12, компьютер 13, управляющий микроконтроллером 14, выходы которого подключены к входам блока драйверов 15, а первый, второй и третий входы соответственно к информационным выходам датчиков напряжения 4, 5 и первого датчика тока 12, понижающий и повышающий стабилизаторы напряжения 16 и 17, второй датчик тока 18, информационный выход которого подключен к четвертому входу микроконтроллера 14, первый дроссель 19, активный делитель напряжения 20 и полумостовой инвертор напряжения 21, при этом силовые входы понижающего стабилизатора напряжения 16 подключены к фильтру 3, а силовые выходы один напрямую и другой через второй датчик тока 18 и первый дроссель 19 подключены к силовым входам повышающего стабилизатора напряжения 17, силовые выходы которого подключены к первому датчику напряжения 4, силовым входам активного делителя напряжения 20 и полумостового инвертора напряжения 21, а информационные входы обоих стабилизаторов напряжения 16 и 17 соединены соответственно с первым и вторым выходами блока драйверов 15, при этом активный делитель напряжения 20 формирует амплитуды анодного и катодного напряжений и содержит два транзистора 22, 23, шунтированных обратными диодами 24, 25 и включенных по полумостовой схеме, в точку соединения которых включены последовательно соединенные третий датчик тока 26, информационный выход которого подключен к пятому входу микроконтроллера 14, и второй дроссель 27, выход которого подключен к одному из выходов полумостового инвертора напряжения 21, образованному двумя последовательно включенными конденсаторами 28, 29, к первому из которых подключен второй датчик напряжения 5 и другой выход полумостового инвертора напряжения 21 образован двумя последовательно включенными транзисторами 30, 31, шунтированными обратными диодами 32, 33, и между выходами включены последовательно соединенные первый датчик тока 12 и первичная обмотка 34 повышающего высокочастотного трансформатора 6, при этом информационные входы активного делителя напряжения 20 и полумостового инвертора напряжения 21 соответственно подключены к третьему и четвертому выходам блока драйверов 15. Фильтр 3 представляет собой емкость, которая снижает уровень пульсаций после выпрямителя 2. Повышающий высокочастотный трансформатор 6 осуществляет увеличение по амплитуде напряжения, подключенного к обрабатываемой детали 8 и к катодному электроду 9 ванны 10, а также гальваническую развязку этого напряжения от источника 1 трехфазного переменного или постоянного напряжения. Блок драйверов 15 усиливает по мощности сигналы, формируемые микроконтроллером 14 для управления понижающим и повышающим стабилизаторами 16, 17, активным делителем напряжения 20 и полумостовым инвертором напряжения 21. В зависимости от величины напряжения источника 1 трехфазного переменного или постоянного напряжения и от заданных значений амплитуд анодного и катодного напряжений, подводимых к обрабатываемой детали 8, работает понижающий стабилизатор напряжения 16 или повышающий стабилизатор напряжения 17. Транзисторы 22, 23, шунтированные обратными диодами 24, 25, и транзисторы 30, 31, шунтированные обратными диодами 32, 33, представляют собой IGBT-транзисторы, включенные по полумостовой схеме и попарно размещенные в отдельных корпусах. Устройство для плазменно-электролитического оксидирования металлов и сплавов работает следующим образом. Компьютером 13 задаются микроконтроллеру 14 необходимые значения амплитуд анодного и катодного напряжений, длительность импульсов анодного напряжения, их частота, коэффициент деления, ограничение по мощности и длительность технологического процесса оксидирования. Длительность импульсов катодного напряжения вычисляют микроконтроллером 14. По заданным значениям амплитуд анодного и катодного напряжений и по сигналу обратной связи с первого датчика напряжения 4 микроконтроллером 14 формируют импульсы управления понижающим стабилизатором 16 или повышающим стабилизатором 17. Деление напряжения, сформированного понижающим стабилизатором напряжения 16 или повышающим стабилизатором напряжения 17, осуществляет активный делитель напряжения 20 на конденсаторах 28 и 29 полумостового инвертора напряжения 21 по сигналам с микроконтроллера 14. В соответствии с заданным значением коэффициента деления микроконтроллером 14 формируют импульсы управления определенной длительности, которые поочередно включают транзисторы 22, 23 активного делителя напряжения 20 и заряжают конденсаторы 28 и 29 соответственно до амплитуд анодного и катодного напряжений. При этом отношение длительностей управляющих сигналов определяет величину коэффициента деления. Вторым дросселем 27 обеспечивают линейность тока заряда конденсаторов 28, 29. По третьему датчику тока 26 микроконтроллером 14 контролируют ток заряда и осуществляют защиту сердечника повышающего высокочастотного трансформатора 6 от насыщения. Высокая частота коммутации транзисторов 22, 23 активного делителя напряжения 20 обеспечивает стабильность напряжений на конденсаторах 28 и 29. В соответствии с заданным значением длительности импульса анодного напряжения и вычисленного значения длительности катодного напряжения микроконтроллером 14 формируют импульсы управления, которые поочередно включают транзисторы 30, 31 полумостового инвертора напряжения 21. Транзистором 30 подключают положительное анодное напряжение конденсатора 28 через первый датчик тока 12 к первичной обмотке 34 повышающего высокочастотного трансформатора 6, а транзистором 31 подключают отрицательное катодное напряжение конденсатора 29 к первичной обмотке 34 повышающего высокочастотного трансформатора 6. При этом на первичной обмотке 34 повышающего высокочастотного трансформатора 6 формируются двухполярные импульсы с заданными параметрами, которые передаются в его вторичную обмотку 7. Частотой следования импульсов управляет микроконтроллер 14 по заданию от компьютера 13 или в соответствии с заданным значением ограничения по мощности. Значение длительности импульса катодного напряжения вычисляется микроконтроллером 14 из условия ненасыщения сердечника повышающего высокочастотного трансформатора 6: где Т2 - длительность катодного импульса напряжения; Ua - измеренная амплитуда анодного импульса напряжения; Т1 - длительность анодного импульса напряжения; Uk - измеренная амплитуда катодного импульса напряжения. Для предотвращения насыщения сердечника повышающего высокочастотного трансформатора 6 по сигналам с первого датчика тока 12 и третьего датчика тока 26 микроконтроллером 14 корректируют значение длительности импульса катодного напряжения, а также защищают устройство от короткого замыкания в нагрузке. Применение активного делителя напряжения 20 совместно с полумостовым инвертором напряжения 21 в предлагаемом устройстве позволяет формировать импульсы анодного и катодного напряжений от одного регулируемого источника напряжения (соответственно понижающий или повышающий стабилизаторы напряжения 16, 17), при этом используется минимум оборудования, что упрощает алгоритм управления и снижает габариты и вес устройства. Изготовлен опытный образец устройства для плазменно-электролитического оксидирования металлов и сплавов, который показал свою работоспособность и надежность.