патент
№ RU 2661254
МПК B61D19/02

Система управления пневматическим приводом прислонно-сдвижной двери пассажирского вагона

Авторы:
Рябченко Роман Валерьевич
Номер заявки
2017118213
Дата подачи заявки
25.05.2017
Опубликовано
13.07.2018
Страна
RU
Как управлять
интеллектуальной собственностью
Чертежи 
2
Реферат

Изобретение относится к железнодорожному транспорту. Система управления пневматическим приводом прислонно-сдвижной двери состоит из первого пневмоцилиндра (2) привода цепи механизма открытия прислонно-сдвижной двери, имеющего полость открытия двери, выдвигаемой из дверного проема, и полость закрытия двери, второго пневмоцилиндра (11), механизма выдвижения подвижного блока (6), имеющего полость (14) выдвижения подвижного блока и полость (15) возврата подвижного блока, датчики положения поршней пневмоцилиндра. Источник сжатого воздуха соединен первой и второй пневмолиниями с каждой из полостей пневмоцилиндра привода цепи и пневмоцилиндра механизма выдвижения подвижного блока. Пневмолиния, соединяющая полость открытия дверей пневмоцилиндра привода цепи с электропневматическим распределителем, соединена с полостью выдвижения подвижного блока, а пневмолиния, соединяющая полость закрытия дверей пневмоцилиндра привода цепи с электропневматическим распределителем, соединена с полостью возврата подвижного блока пневмоцилиндра механизма выдвижения подвижного блока. Изобретение исключает возможность открытия двери при движении поезда. 3 з.п. ф-лы, 2 ил.

Формула изобретения

1. Система управления пневматическим приводом прислонно-сдвижной двери, состоящим из первого пневмоцилиндра привода цепи механизма открытия прислонно-сдвижной двери, установленного на силовом блоке двери, состоящем из подвижного блока и основания блока, имеющего полость открытия двери, выдвигаемой из дверного проема, и полость закрытия двери; второго пневмоцилиндра механизма выдвижения подвижного блока, имеющего полость выдвижения подвижного блока и полость возврата подвижного блока, и датчиков положения поршней пневмоцилиндра, имеющая источник сжатого воздуха; первую и вторую пневмолинии, соединяющие источник сжатого воздуха с каждой из полостей пневмоцилиндра привода цепи и пневмоцилиндра механизма выдвижения подвижного блока, по меньшей мере один электропневматический распределитель, регулируемые дроссели, установленные в пневмолиниях между электропневматическим распределителем и полостями пневмоцилиндра, отличающаяся тем, что пневмолиния, соединяющая полость открытия двери пневмоцилиндра привода цепи с электропневматическим распределителем, соединена с полостью выдвижения подвижного блока, а пневмолиния, соединяющая полость закрытия двери пневмоцилиндра привода цепи с электропневматическим распределителем, соединена с полостью возврата подвижного блока пневмоцилиндра механизма выдвижения подвижного блока.

2. Система управления по п. 1, отличающаяся тем, что в первой пневмолинии параллельно регулируемому дросселю установлен обратный клапан, пропускающий воздух в полость пневмоцилиндра.

3. Система управления по п. 1, отличающаяся тем, что первая и вторая пневмолинии соединены с источником сжатого воздуха через трехпозиционный пятилинейный электропневматический распределитель.

4. Система управления по п. 1, отличающаяся тем, что каждая из первой и второй пневмолиний соединена с источником сжатого воздуха через двухпозиционный трехлинейный электропневматический распределитель.

Описание

[1]

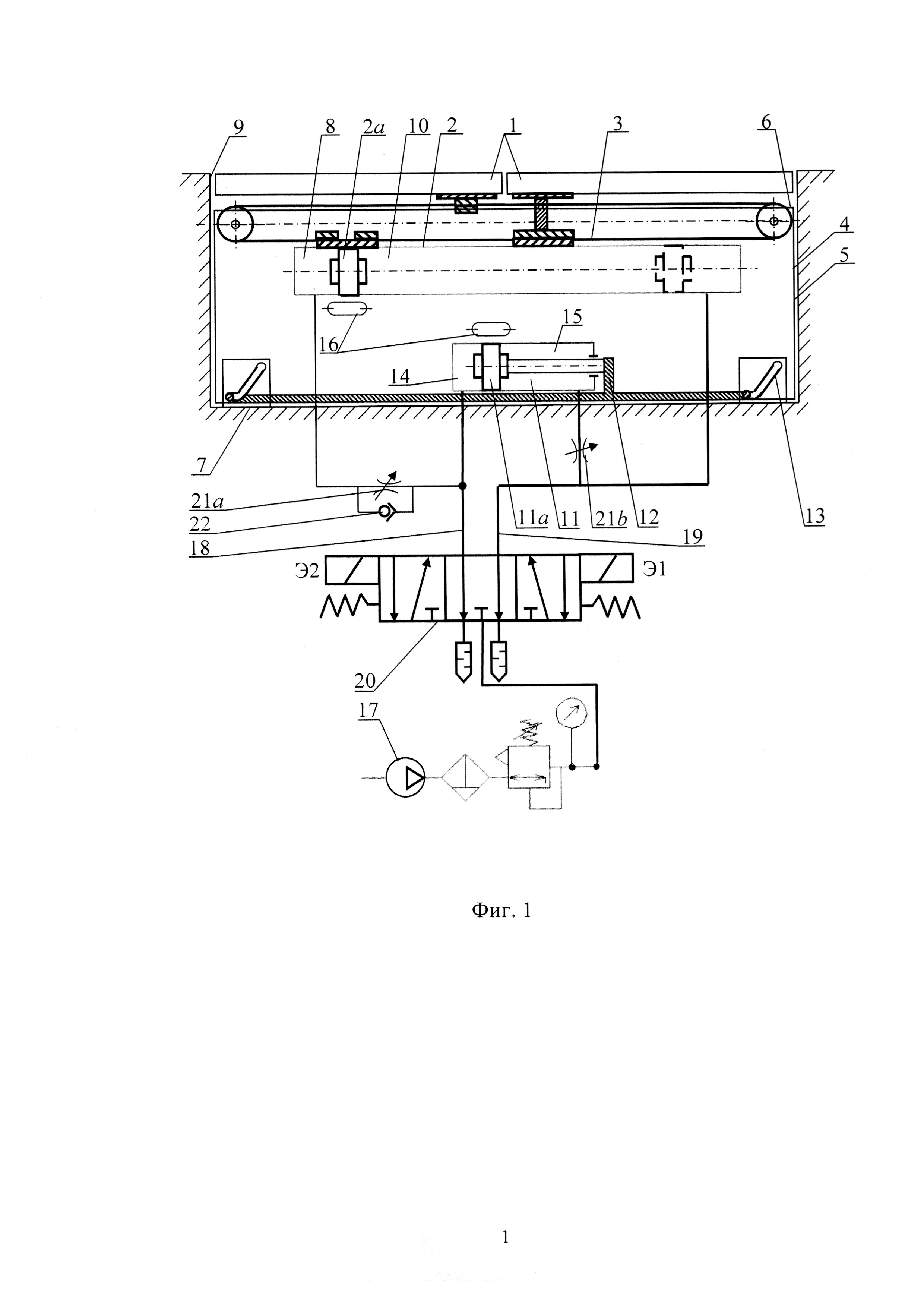
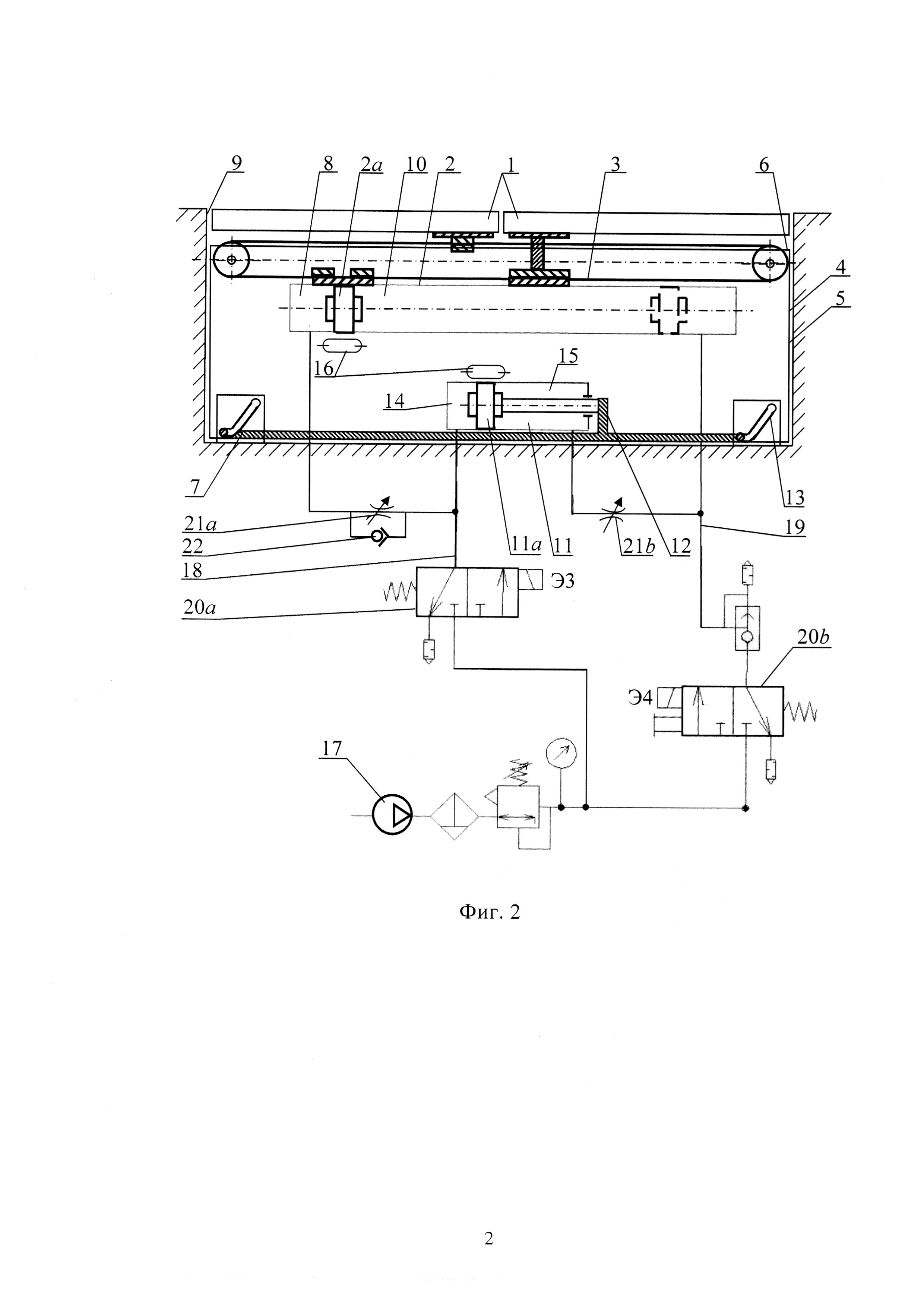
Изобретение относится к пневматическим системам открывания прислонно-сдвижных дверей транспортных средств, а именно пассажирских вагонов электропоездов.

[2]

Известна система управления открытием и закрытием двухстворчатой двери автобуса (патент KR №100260178 от 30.12.1995), каждая из створок которой приводится пневматическим цилиндром со штоком, имеющая

[3]

- источник сжатого воздуха;

[4]

- первую пневмолинию, соединяющую источник сжатого воздуха с поршневыми полостями пневмоцилиндра, и вторую пневмолинию, соединяющую источник сжатого воздуха со штоковыми полостями пневмоцилиндра;

[5]

- два электропневматических двухпозиционных распределителя, каждый из которых встроен в одну из пневмолиний;

[6]

- регулируемые дроссели, установленные в пневмолиниях между электропневматическими распределителями и полостями пневмоцилиндра.

[7]

Известен пневматический привод раздвижной двери (патент RU №93342 от 15.07.2009 г.), состоящий из двух цилиндров, каждый из которых приводит одну створку двери, имеющий систему управления (схема на фиг. 6), а также источник сжатого воздуха; первую пневмолинию, соединяющую источник сжатого воздуха с поршневыми полостями пневмоцилиндра, и вторую пневмолинию, соединяющую источник сжатого воздуха со штоковыми полостями пневмоцилиндра; регулируемые дроссели, установленные в пневмолиниях, подводящих воздух к полостям пневмоцилиндра.

[8]

Недостаток данных систем управления в том, что они управляют двумя пневмоцилиндрами пневматического привода, каждый из которых перемещает одну створку двери.

[9]

Техническая задача, решаемая изобретением, - создание системы управления пневматическим приводом прислонно-сдвижной двери, позволяющей осуществлять выдвижение двери из проема пассажирского вагона, открытие двери и последующее закрытие двери с исключением возможности открытия двери при движении поезда.

[10]

Техническая задача решена в системе управления пневматическим приводом прислонно-сдвижной двери, состоящим из первого пневмоцилиндра привода цепи механизма открытия прислонно-сдвижной двери, установленного на силовом блоке двери, состоящем из подвижного блока, выдвигаемого из дверного проема, и основания блока, первый пневмоцилиндр имеет полость открытия двери и полость закрытия двери; второго пневмоцилиндра, соединенного с механизмом выдвижения подвижного блока, имеющего полость выдвижения подвижного блока и полость возврата подвижного блока; датчики положения поршней пневмоцилиндра.

[11]

Система управления пневматическим приводом имеет:

[12]

- источник сжатого воздуха;

[13]

- первую и вторую пневмолинии, соединяющие источник сжатого воздуха с каждой из полостей пневмоцилиндра привода цепи и пневмоцилиндра механизма выдвижения подвижного блока;

[14]

- по меньшей мере один электропневматический распределитель;

[15]

- регулируемые дроссели, установленные в пневмолиниях между электропневматическим распределителем и полостями пневмоцилиндра,

[16]

при этом пневмолиния, соединяющая полость открытия дверей пневмоцилиндра привода цепи с электропневматическим распределителем, соединена с полостью выдвижения подвижного блока, а пневмолиния, соединяющая полость закрытия дверей пневмоцилиндра привода цепи с электропневматическим распределителем, соединена с полостью возврата подвижного блока пневмоцилиндра механизма выдвижения подвижного блока.

[17]

Для ускорения открытия двери в первой пневмолинии параллельно регулируемому дросселю установлен обратный клапан, пропускающий воздух в полость открытия двери первого пневмоцилиндра.

[18]

Для исключения выдвижения подвижного блока и открытия двери при выключенных электромагнитах первая и вторая пневмолинии соединены с источником сжатого воздуха через трехпозиционный пятилинейный электропневматический распределитель так, что при нейтральном положении распределителя первая и вторая полости пневмоцилиндра сообщены с атмосферой.

[19]

Каждая из первой и второй пневмолиний может быть соединена с источником сжатого воздуха через двухпозиционные трехлинейные электропневматические распределители, соединяющие обе полости первого и второго пневмоцилиндра с атмосферой при выключенных электромагнитах.

[20]

Технический эффект - создание системы управления пневматическим приводом прислонно-сдвижной двери, позволяющей осуществлять выдвижение двери из проема пассажирского вагона, открытие двери и последующее закрытие двери с исключением возможности открытия двери при движении поезда, - достигается за счет следующей новой совокупности отличительных признаков:

[21]

пневмолиния, соединяющая полость открытия дверей пневмоцилиндра привода цепи с электропневматическим распределителем, соединена с полостью выдвижения подвижного блока, а пневмолиния, соединяющая полость закрытия дверей пневмоцилиндра привода цепи с электропневматическим распределителем, соединена с полостью возврата подвижного блока пневмоцилиндра механизма выдвижения подвижного блока.

[22]

Для ускорения открытия двери в первой пневмолинии параллельно регулируемому дросселю установлен обратный клапан, дополнительно пропускающий воздух в полость пневмоцилиндра.

[23]

Первая и вторая пневмолинии соединены с источником сжатого воздуха через трехпозиционный пятилинейный электропневматический распределитель или через два двухпозиционных трехлинейных электропневматических распределителя.

[24]

Данная совокупность отличительных признаков не обнаружена в ходе патентно-информационного поиска, следовательно, изобретение соответствует критерию "новизна". Совокупность признаков изобретения не следует явно из уровня техники, следовательно, оно отвечает критерию "изобретательский уровень".

[25]

На фиг. 1 показана система управления пневматическим приводом прислонно-сдвижной двери пассажирского вагона, управляемая трехпозиционным пятилинейным электропневматическим распределителем.

[26]

На фиг. 2 показана система управления пневматическим приводом прислонно-сдвижной двери пассажирского вагона, управляемая двумя двухпозиционными трехлинейными электропневматическими распределителями.

[27]

Система управления пневматическим приводом прислонно-сдвижной двери 1 (фиг. 1), состоящим из первого пневмоцилиндра 2 привода цепи 3 механизма 4 открытия прислонно-сдвижной двери 1, установленного на силовом блоке 5 двери 1, состоящем из подвижного блока 6 и основания 7 силового блока 5. Первый пневмоцилиндр 2 имеет полость 8 открытия дверей 1, выдвигаемых из дверного проема 9, и полость 10 закрытия дверей 1. Пневматический привод имеет второй пневмоцилиндр 11, подвижная часть 12 которого соединена с механизмом 13 выдвижения подвижного блока 6. Второй пневмоцилиндр 11 имеет полость 14 выдвижения подвижного блока 6 и полость 15 возврата подвижного блока 6. Пневмоцилиндры 2 и 11 имеют датчики 16 положения поршней 2а и 11а.

[28]

Система управления имеет:

[29]

- источник 17 сжатого воздуха;

[30]

- пневмолинию 18, соединяющую полость 8 открытия дверей 1 первого пневмоцилиндра 2, соединенную с полостью 14 второго пневмоцилиндра 11, обеспечивающую выдвижение подвижного блока 6, и пневмолинию 19, соединяющую полость 10 закрытия дверей 1 первого пневмоцилиндра 2, соединенную с полостью 15 возврата подвижного блока 6 второго пневмоцилиндра 11;

[31]

- между источником 17 сжатого воздуха и пневмолиниями 18 и 19 может быть установлен один трехпозиционный пятилинейный электропневматический распределитель 20 (фиг. 1), управляемый электромагнитами ЭМ1 и ЭМ2, или через два двухпозиционных трехлинейных электропневматических распределителя 20а и 20b (фиг. 2), управляемых электромагнитами ЭМ3 и ЭМ4;

[32]

- один электропневматический распределитель 20 (фиг. 1), управляемый электромагнитами ЭМ1 и ЭМ2;

[33]

- регулируемые дроссели 21а и 21b, установленные в пневмолиниях 18 и 19 между электропневматическим распределителем 20 и полостями 8 и 15 пневмоцилиндров 2 и 11 (фиг. 1) или между электропневматическим распределителем 20а и полостью 8 пневмоцилиндра 2 и между электропневматическим распределителем 20b и полостью 15 пневмоцилиндра 11.

[34]

Для ускорения открытия двери 1 в первой пневмолинии 18 параллельно регулируемому дросселю 21а установлен обратный клапан 22, дополнительно пропускающий воздух в полость 8 пневмоцилиндра 2.

[35]

Для открытия двери 1 включается электромагнит Э1 (фиг. 1) или электромагнит Э3 (фиг. 2), пневмолиния 18 соединяется с источником 17 сжатого воздуха, который, поступая в полость 14, перемещает поршень 11а пневмоцилиндра 11 и подвижную часть 12 и, воздействуя на механизм 13 выдвижения подвижного блока 6, двери 1 освобождаются для их открытия. Воздух, поступающий из пневмолинии 18 в полость 8 пневмоцилиндра 2, перемещает поршень 2а пневмоцилиндра 2 и соединенную с ним цепь 3 механизма 4 и открывает дверь 1.

[36]

Для закрытия двери 1 электромагниты Э1 (фиг. 1) или Э3 (фиг. 2) отключаются, включаются электромагниты Э2 (фиг. 1) или Э4 (фиг. 2), пневмолиния 18 соединяется с атмосферой, сжатый воздух от источника 17 поступает в пневмолинию 19 и полость пневмоцилиндра 2, поршень 2а пневмоцилиндра 2 и цепь 3 перемещаются, закрывая дверь 1; при этом поршень 11а неподвижен, так как полость 15 пневмоцилиндра 11 соединяется с пневмолинией 19 через дроссель 21b. После закрытия двери 1 сжатый воздух поступает в полость 15 пневмоцилиндра 11, смещает поршень 11а с подвижной частью 12, и механизм 13 задвигает подвижный блок 6 в дверной проем 9, блокируя двери 1 в дверном проеме 9 от открытия.

Как компенсировать расходы
на инновационную разработку
Похожие патенты