патент
№ RU 2626349
МПК G06F13/00

Программный комплекс интегрированных информационных систем управления производственным предприятием

Авторы:
Колбин Алексей Витальевич Смирнов Юрий Леонидович Лебедев Анатолий Маркович
Все (5)
Номер заявки
2015155632
Дата подачи заявки
24.12.2015
Опубликовано
26.07.2017
Страна
RU
Как управлять
интеллектуальной собственностью
Чертежи 
7
Реферат

Изобретение относится к автоматизированным системам управления производственными предприятиями, а именно к системам обмена информацией и управления деятельностью производственного предприятия. Техническим результатом является расширение арсенала технических средств системы управления производственным предприятием. Автоматизированная система управления производственным предприятием содержит: соединенные посредством локальной компьютерной сети автоматизированные рабочие места с установленным программным обеспечением и обеспечивает возможность автоматизированного проектирования, конструирования, технологического обеспечения разработок, нормирования материалов, подготовки, планирования и организации производства продукции, финансового учета и логистики. 6 ил.

Формула изобретения

Автоматизированная система управления производственным предприятием содержит автоматизированные рабочие места, соединенные между собой посредством локальной компьютерной сети, с возможностью установки программного обеспечения, включающего систему автоматизированного проектирования, систему разработки технологического процесса, систему нормирования материалов, универсальный технологический справочник (УТС), модуль ведения техпроцессов, справочник «Материалы и сортаменты» (МиС), модуль «Лоцман-технолог», модуль ведения состава изделия, справочник покупных комплектующих изделий, справочник стандартных изделий, хранилище конструкторско-технологической информации, модуль «1С: Бухгалтерия», модуль «1С: Зарплата и управление персоналом», систему управления ресурсами предприятия, содержащую взаимосвязанные контуры управления: Финансы, Материальные потоки, Производство, Учет затрат, Зарплата и кадры; контур Финансы содержит взаимосвязанные автоматизированные рабочие места (АРМ) Договоры и АРМ Бюджет; контур Материальные потоки содержит взаимосвязанные АРМ Справочник ресурсов, АРМ Сбыт, АРМ Снабжение и АРМ Складской учет; контур Производство содержит взаимосвязанные АРМ Конструкторско-технологический состав, АРМ Стратегическое планирование, АРМ Оперативное планирование, АРМ Оперативный контроль и АРМ Фиксация результатов производства; контур Учет затрат включает АРМ Нормативная себестоимость и АРМ Фактическая себестоимость; контур Зарплата и кадры включает АРМ Карточки сотрудников, АРМ Штатное расписание, АРМ Наряды и АРМ Табельный учет; отличающаяся тем, что в нее введены инструменты синхронизации данных, включающих в себя систему кодирования ресурсов, при этом первая группа входов-выходов системы кодирования ресурсов соединена через инструменты синхронизации данных с первой группой входов-выходов системы конструкторско-технологической подготовки производства «Лоцман PLM», вторая группа входов-выходов системы кодирования ресурсов соединена через инструменты синхронизации данных с первой группой входов-выходов системы управления ресурсами предприятия «М-3.1», вторая группа входов-выходов системы конструкторско-технологической подготовки производства «Лоцман PLM» соединена через инструменты синхронизации данных с третьей группой входов-выходов системы управления ресурсами предприятия «М-3.1», вторая, четвертая, пятая, шестая, седьмая группы входов-выходов системы управления ресурсами предприятия «М-3.1» соединены через инструменты синхронизации данных соответственно с первой, пятой, четвертой, третьей, второй группами входов-выходов системы бухгалтерского учета «1С: Бухгалтерия», «1С: Зарплата и управление персоналом».

Описание

[1]

Заявленное техническое решение относится к информационной технике, в частности к автоматизированным системам управления производственными предприятиями, а именно к системам обмена информацией и управления хозяйственной деятельностью производственного предприятия.

[2]

Заявленное техническое решение реализует автоматизированную систему управления производственным предприятием, т.е. совокупностью процессов, выполняемых от момента выявления потребностей общества в определенной продукции до момента удовлетворения этих потребностей. Этапы жизненного цикла изделия, такие как: маркетинговые исследования, планирование и разработка процесса, закупка, производство, продажа управляются включенными в систему и интегрированными между собой единым информационным пространством и настроенными по конфигурациям, учитывающим специфические особенности и структуру конкретного предприятия, узкоспециализированными автоматизированными системами, включающими одно или несколько автоматизированных рабочих мест, соединенных между собой посредством локальной вычислительной сети.

[3]

Известна Интегрированная автоматизированная информационно-аналитическая система для комплексного управления промышленным предприятием (Патент (RU) на полезную модель №64791, заявка №2005135667 от 16.11.2005), содержащая последовательно и взаимно связанные между собой посредством локальной компьютерной сети подсистему I стратегического управления, подсистему II оперативного управления и подсистему III управления технологическим процессом. Подсистема 1 стратегического управления содержит последовательно соединенные между собой блок 1 анализа внешней среды, хранилище 2 данных, блок 3 сравнения, блок 4 оценки преимуществ, блок 5 выбора стратегии и блок 6 анализа и реализации стратегии.

[4]

Недостатком этого технического решения являются его относительно узкие функциональные возможности.

[5]

Известна Автоматизированная система управления машиностроительным предприятием (Патент (RU) на полезную модель №110846, заявка №2011127930 от 08.07.2011), содержащая подсистему формирования конструкторских данных, подсистему управления производственной и финансово-экономической деятельностью, подсистему технологической подготовки производства, подсистему бухгалтерского и кадрового учета, модуль формирования трудовых нормативов, модуль формирования норм расхода материалов, модуль формирования загрузки оборудования, модуль формирования заработной платы рабочих-сдельщиков, модуль визуализации, модуль интеграции и по крайней мере одно автоматизированное рабочее место, один интерфейс обмена данными, один интерфейс «ручного» обмена данными, при этом первые группы входов-выходов подсистемы формирования конструкторских данных, подсистемы управления производственной и финансово-экономической деятельностью предприятия, подсистемы технологической подготовки производства соединены соответственно с первой, второй и третьей группами входов-выходов модуля интеграции через интерфейсы обмена данными, первые группы входов-выходов модуля формирования трудовых нормативов, модуля формирования норм расхода материалов и модуля формирования загрузки оборудования соединены соответственно с четвертой, пятой и шестой группами входов-выходов модуля интеграции через интерфейсы обмена данными, а группа входов-выходов автоматизированного рабочего места соединена с седьмой группой входов-выходов модуля интеграции, причем первая группа входов-выходов подсистемы бухгалтерского и кадрового учета соединена с второй группой входов-выходов подсистемы управления производственной и финансово-экономической деятельностью через интерфейс «ручного» обмена данными, третья группа выходов подсистемы управления производственной и финансово-экономической деятельностью соединена с второй группой входов подсистемы технологической подготовки производства через интерфейс «ручного» обмена данными, третья группа входов-выходов подсистемы технологической подготовки производства соединена с группой входов-выходов модуля визуализации через интерфейс «ручного» обмена данными, группа входов-выходов модуля формирования заработной платы рабочих-сдельщиков соединена с группой входов-выходов подсистемы бухгалтерского и кадрового учета через интерфейс «ручного» обмена данными, вторая группа входов-выходов модуля формирования загрузки оборудования соединена с четвертой группой входов-выходов подсистемы управления производственной и финансово-экономической деятельностью предприятия.

[6]

Недостатком данного аналога является применение интерфейса «ручного» обмена данными.

[7]

Известно Устройство автоматизированного формирования, расчета и анализа зарплаты рабочих на производственном предприятии (Патент (RU) на полезную модель №122793, заявка №2012113337/08 от 06.04.2012), состоящее из модуля сопряжения, модуля хранения данных, модуля справочной базы данных, модуля контроля вводимой информации, модуля визуализации, модуля расчета заработной платы, включающего в себя блок формирования массива «Наряды», блок расчета параметров премирования и блок расчета зарплаты по крайней мере одного модуля ввода данных, по крайней мере одного модуля вывода данных, при этом группа выходов, по крайней мере, одного модуля ввода данных соединена с первой группой входов модуля сопряжения, первая группа входов-выходов модуля контроля вводимой информации соединена со второй группой входов-выходов модуля сопряжения, вторая группа входов модуля контроля вводимой информации соединена с выходом модуля справочной базы данных, третья группа выходов модуля сопряжения соединена со второй группой входов модуля расчета зарплаты, третья группа выходов модуля контроля вводимой информации соединена с первой группой модуля расчета зарплаты, третья группа входов-выходов модуля расчета зарплаты соединена со второй группой входов-выходов модуля хранения данных, пятая группа выходов модуля расчета зарплаты соединена с первой группой модуля вывода данных, шестая группа выходов модуля расчета зарплаты соединена с входом модуля визуализации, причем устройство дополнительно содержит модуль анализа, модуль хранения шаблонов выходных документов, а также в состав модуля расчета заработной платы входит модуль определения надтарифного коэффициента, при этом четвертая группа входов-выходов модуля расчета зарплаты соединена с первой группой входов-выходов модуля хранения шаблонов выходных документов, вторая группа выходов модуля хранения шаблонов выходных документов соединена со второй группой модуля вывода данных, первая группа входов-выходов модуля анализа соединена с седьмой группой входов-выходов модуля расчета зарплаты, вторая группа выходов модуля анализа соединена с третьей группой входов модуля вывода данных.

[8]

Известна Информационно-аналитическая система нормирования и оптимизации выработки и потребления топлива и энергоносителей на предприятии (Патент (RU) на полезную модель №2465639, заявка №2011147445/08 от 22.11.2011), содержащая совокупность объединенных в локальную вычислительную сеть автоматизированных рабочих мест (АРМ) 1 пользователей и центральный сервер 2, на котором расположены блок 3 памяти в виде нескольких баз данных. АРМ содержит информационно-аналитическую подсистему (ИАП) 11 в составе информационно-аналитических модулей (ИАМ) 12 учета, ИАМ 13 планирования, ИАМ 14 нормирования, ИАМ 15 оптимизации энерготехнологических балансов; модуль 16 отображения и документирования результатов в составе блока 17 учета, блока 18 планирования, блока 19 нормирования, блока 20 оптимизации энерготехнологических балансов; блок 21 формирования запросов.

[9]

Недостатком представленных решений является их узконаправленный характер, реализующий автоматизацию только одной сферы управления производственным предприятием и не охватывающий такие крупные бизнес-процессы, как: календарное и оперативное планирование и управление производством, логистика, бюджетирование, управление материальными и трудовыми ресурсами.

[10]

Наиболее близким по технической сущности является комплексное прикладное решение 1С: Предприятие 8.1, охватывающее основные контуры управления и учета на производственном предприятии: Управление поставками и запасами, Управление производством, Управление отношениями с клиентами, Планирование, Бюджетирование и Финансы, Бухгалтерский и налоговый учет, Расчет заработной платы, кадровый учет.

[11]

Однако недостатками данного решения в подсистеме управления производством является отсутствие управления по межцеховым переходам и на операционном уровне, управления партиями запуска, групповых и персональных заданий на работу, оперативной диспетчеризации, управления по "узким местам", управления загрузкой, планирования до кванта времени, готовности работы с отсутствующими нормативами. Еще одним недостатком является отсутствие подсистемы для организации ремонтов - учет объектов ремонта, регистрация наработки, учет текущих и внеплановых ремонтов, интеграция с производственной подсистемой - графики доступности оборудования.

[12]

Задача, на решение которой направлено заявленное техническое решение, заключается в создании системы, управляющей производством и продажей конкурентоспособных изделий на принципах:

[13]

использования оптимальных схем построения бизнес-процессов

[14]

проведения поставок точно в срок

[15]

снижения транспортно-заготовительных расходов

[16]

уменьшения страховых запасов (неснижаемых остатков на складах)

[17]

точного учета затрат

[18]

Заявленное техническое решение позволяет с помощью включенных в него и интегрированных между собой единым информационным пространством узкоспециализированных автоматизированных систем осуществлять ведение процессов конструирования, технологического обеспечения разработок, подготовки, планирования и организации производства продукции, продажи, финансового учета и логистики.

[19]

Техническое решение полностью отвечает международным требованиям, предъявляемым к автоматизированным системам управления.

[20]

Поставленная задача решается за счет использования взаимосвязанных между собой посредством локальной компьютерной сети автоматизированных рабочих мест, содержащих следующие интегрированные приложения:

[21]

- система кодирования ресурсов на базе Microsoft Visual Foxpro

[22]

- система конструкторско-технологической подготовки производства «Лоцман PLM» компании АСКОН

[23]

- система управления ресурсами предприятия «М-3.1» компании «КСТ-М3»;

[24]

- система бухгалтерского учета «1С: Бухгалтерия», «1С: Зарплата и управление персоналом» фирмы «1С».

[25]

Целостность информационного пространства обеспечивается использованием инструментов синхронизации данных.

[26]

Решаемая техническая проблема состоит в расширении арсенала технических средств предназначенных для управления производственными предприятиями.

[27]

Техническим результатом является эффективное управление производственным предприятием за счет интеграции приложений, устанавливаемых на автоматизированные рабочие места и их взаимосвязи между собой.

[28]

Технический результат достигается тем, что автоматизированная система управления производственным предприятием содержит автоматизированные рабочие места, соединенные между собой посредством локальной компьютерной сети, с возможностью установки программного обеспечения, включающего систему автоматизированного проектирования, систему разработки технологического процесса, систему нормирования материалов, универсальный технологический справочник (УТС), модуль ведения техпроцессов, справочник «Материалы и сортаменты» (МиС), модуль «Лоцман-технолог», модуль ведения состава изделия, справочник покупных комплектующих изделий, справочник стандартных изделий, хранилище конструкторско-технологической информации, модуль «1С: Бухгалтерия», модуль «1С: Зарплата и управление персоналом», систему управления ресурсами предприятия, содержащую взаимосвязанные контуры управления: Финансы, Материальные потоки, Производство, Учет затрат, Зарплата и кадры; контур Финансы содержит взаимосвязанные автоматизированные рабочие места (АРМ) Договоры и АРМ Бюджет; контур Материальные потоки содержит взаимосвязанные АРМ Справочник ресурсов, АРМ Сбыт, АРМ Снабжение и АРМ Складской учет; контур Производство содержит взаимосвязанные АРМ Конструкторско-технологический состав, АРМ Стратегическое планирование, АРМ Оперативное планирование, АРМ Оперативный контроль и АРМ Фиксация результатов производства; контур учет затрат включает АРМ Нормативная себестоимость и АРМ Фактическая себестоимость; контур Зарплата и кадры включает АРМ Карточки сотрудников, АРМ Штатное расписание, АРМ Наряды и АРМ Табельный учет; инструменты синхронизации данных, включающие в себя систему кодирования ресурсов; при этом первая группа входов-выходов системы кодирования ресурсов соединена через инструменты синхронизации данных с первой группой входов-выходов системы конструкторско-технологической подготовки производства «Лоцман PLM», вторая группа входов-выходов системы кодирования ресурсов соединена через инструменты синхронизации данных с первой группой входов-выходов системы управления ресурсами предприятия «М-3.1», вторая группа входов-выходов системы конструкторско-технологической подготовки производства «Лоцман PLM» соединена через инструменты синхронизации данных с третьей группой входов-выходов системы управления ресурсами предприятия «М-3.1», вторая, четвертая, пятая, шестая, седьмая группы входов-выходов системы управления ресурсами предприятия «М-3.1» соединены через инструменты синхронизации данных соответственно с первой, пятой, четвертой, третьей, второй группами входов-выходов системы бухгалтерского учета «1С: Бухгалтерия», «1С: Зарплата и управление персоналом».

[29]

На фигуре 1 представлена структурная схема автоматизированной системы управления производственным предприятием.

[30]

На фигуре 2 представлена структурная схема системы кодирования ресурсов.

[31]

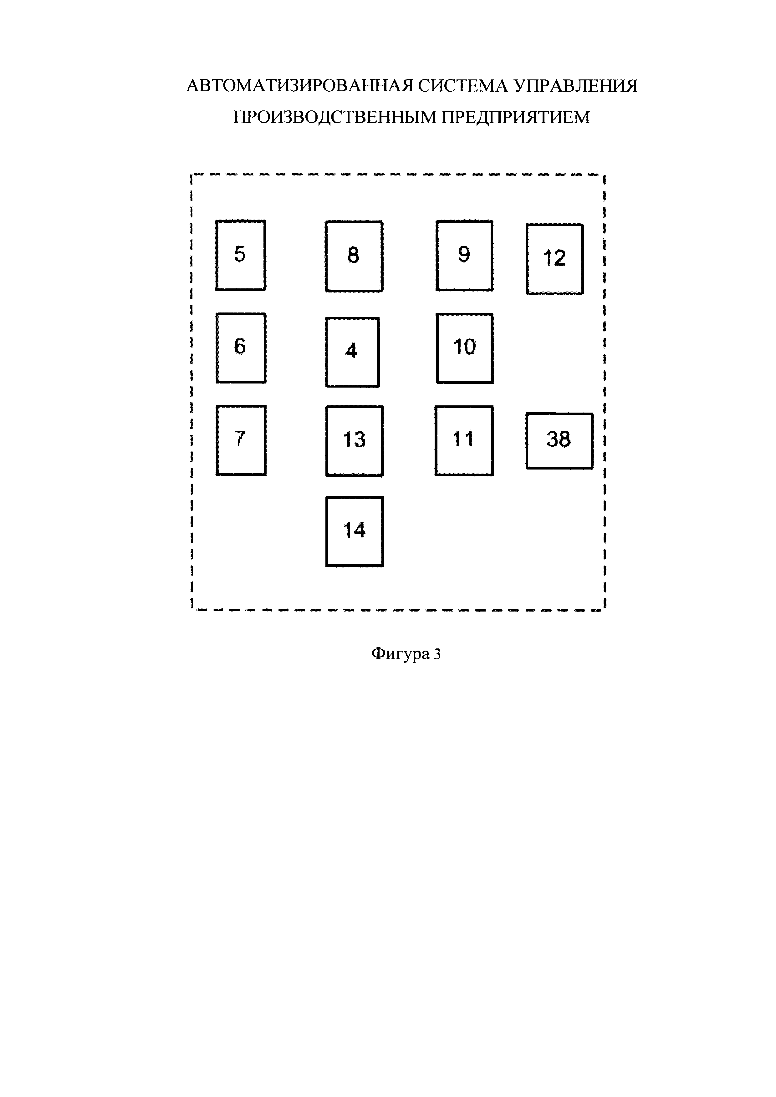
На фигуре 3 представлена структурная схема системы конструкторско-технологической подготовки производства «Лоцман PLM».

[32]

На фигуре 4 представлена структурная схема системы управления ресурсами предприятия «М-3.1».

[33]

На фигуре 5 представлена структурная схема системы бухгалтерского учета «1С: Бухгалтерия», «1С: Зарплата и управление персоналом».

[34]

На фигуре 6 представлена схема взаимодействия всех систем, входящих в автоматизированную систему управления производственным предприятием.

[35]

На фигуре 7 представлена структурная схема инструментов синхронизации данных.

[36]

Автоматизированная система управления производственным предприятием содержит следующие блоки:

[37]

Блок А - система кодирования ресурсов

[38]

Блок Б - система конструкторско-технологической подготовки производства «Лоцман PLM»

[39]

Блок В - система управления ресурсами предприятия «М-3.1»

[40]

Блок Г - система бухгалтерского учета «1С: Бухгалтерия», «1С: Зарплата и управление персоналом»

[41]

Блок Д - инструменты синхронизации данных, распределенные по принадлежности к системам

[42]

Система кодирования ресурсов состоит из следующих блоков:

[43]

Блок 1 - модуль кодирования

[44]

Блок 2 - модуль выгрузки информации о ресурсах для системы конструкторско-технологической подготовки производства «Лоцман PLM»

[45]

Блок 3 - модуль выгрузки информации о ресурсах для системы управления ресурсами предприятия «М-3.1»

[46]

Система кодирования ресурсов формирует в модуле кодирования электронные образы поступающих на предприятие покупных ресурсов, таких как: материалы, ПКИ, оборудование, инструменты, стандартные изделия и т.д. с их подробными характеристиками и доставляет сформированную информацию через инструменты синхронизации данных - модули загрузки-выгрузки в справочники МиС и УТС системы конструкторско-технологической подготовки производства «Лоцман PLM» и справочник ресурсов системы управления ресурсами предприятия «М-3.1».

[47]

Система конструкторско-технологической подготовки производства «Лоцман PLM»

[48]

состоит из следующих блоков:

[49]

Блок 4 - справочник «Материалы и сортаменты» МиС

[50]

Блок 5 - модуль ведения состава изделия

[51]

Блок 6 - справочник покупных комплектующих изделий

[52]

Блок 7 - справочник стандартных изделий

[53]

Блок 8 - модуль «Лоцман-технолог»

[54]

Блок 9 - система разработки технологического процесса «Вертикаль»

[55]

Блок 10 - система нормирования материалов

[56]

Блок 11 - универсальный технологический справочник УТС

[57]

Блок 12 - модуль ведения техпроцессов

[58]

Блок 13 - хранилище конструкторско-технологической информации

[59]

Блок 14 - модуль выгрузки информации о составах изделий и технологиях для системы управления ресурсами предприятия «М-3.1»

[60]

Блок 38 - модуль загрузки информации о ресурсах из системы кодирования ресурсов

[61]

Система конструкторско-технологической подготовки производства «Лоцман PLM» обеспечивает разработку конструкторско-технологической информации об изделии, используя единую для всего информационного пространства предприятия справочную базу. Модуль ведения состава изделия формирует электронные образы производимых ресурсов, таких как: сборочные единицы, детали, комплекты, комплексы, конструкторские спецификации с указанием применяемых деталей, сборочных единиц, комплектов, комплексов, материалов, комплектующих изделий, стандартных деталей. Модуль ведения состава изделия сохраняет разработанный состав изделия в хранилище конструкторско-технологической информации и доставляет его через модуль «Лоцман-технолог» в систему разработки технологического процесса «Вертикаль», которая предоставляет инструменты для разработки технологического процесса на каждый элемент состава изделия. Разработанные технологические карты с перечнем производственных операций по цехам с указанием применяемых деталей, сборочных единиц, оборудования, оснастки, основных и вспомогательных материалов доставляются через модуль ведения техпроцессов в хранилище конструкторско-технологической информации, откуда состав изделия совместно с технологическими картами через инструменты синхронизации данных доставляются в АРМ Конструкторско-технологический состав КТС системы управления ресурсами предприятия «М-3.1». Конструкторско-технологическая информация об изделии является основой планирования.

[62]

Система управления ресурсами предприятия «М-3.1» содержит:

[63]

Блок 15 - Контур ФИНАНСЫ

[64]

Блок 16 - АРМ Договоры

[65]

Блок 17 - АРМ Бюджет

[66]

Блок 18 - Контур МАТ. ПОТОКИ

[67]

Блок 19 - АРМ Справочник ресурсов

[68]

Блок 20 - АРМ Сбыт

[69]

Блок 21 - АРМ Снабжение

[70]

Блок 22 - АРМ Складской учет

[71]

Блок 37 - модуль загрузки информации о ресурсах из системы кодирования ресурсов

[72]

Блок 39 - модуль выгрузки-загрузки информации о ресурсах в систему бухгалтерского учета «1С: Бухгалтерия», «1С: Зарплата и управление персоналом»

[73]

Блок 23 - Контур ПРОИЗВОДСТВО

[74]

Блок 24 - АРМ Конструкторско-технологический состав КТС

[75]

Блок 25 - АРМ Стратегическое планирование

[76]

Блок 26 - АРМ Оперативное планирование

[77]

Блок 27 - АРМ Оперативный контроль

[78]

Блок 28 - АРМ Фиксация результатов производства

[79]

Блок 40 - модуль загрузки конструкторско-технологической информации об изделии из системы конструкторско-технологической подготовки производства «Лоцман PLM»

[80]

Блок 29 - Контур УЧЕТ ЗАТРАТ

[81]

Блок 30 - АРМ Нормативная себестоимость

[82]

Блок 31 - АРМ Фактическая себестоимость

[83]

Блок 41 - модуль выгрузки-загрузки информации о фактических затратах в систему бухгалтерского учета «1С: Бухгалтерия», «1С: Зарплата и управление персоналом»

[84]

Блок 32 - Контур ЗАРПЛАТА И КАДРЫ

[85]

Блок 33 - АРМ Карточки сотрудников

[86]

Блок 42 - модуль выгрузки-загрузки информации о сотрудниках в систему бухгалтерского учета «1С: Бухгалтерия», «1С: Зарплата и управление персоналом»

[87]

Блок 34 - АРМ Штатное расписание

[88]

Блок 35 - АРМ Наряды

[89]

Блок 43 - модуль выгрузки-загрузки информации о нарядах в систему бухгалтерского учета «1С: Бухгалтерия», «1С: Зарплата и управление персоналом»

[90]

Блок 36 - АРМ Табельный учет

[91]

Блок 44 - модуль выгрузки-загрузки информации о табельном учете в систему бухгалтерского учета «1С: Бухгалтерия», «1С: Зарплата и управление персоналом».

[92]

Система управления ресурсами предприятия «М-3.1» предназначена для управления бизнес-процессами хозяйственной деятельности предприятия, направленными на достижение цели производства конкурентоспособного изделия с наименьшими затратами.

[93]

Система управления ресурсами предприятия «М-3.1» является системой нового поколения, имеющей два контура управления: традиционный внутренний, управляющий внутренними бизнес-процессами предприятия, и внешний - управляющий взаимодействиями с контрагентами и покупателями продукции. Реализует возможность управления группой автономно работающих предприятий, корпоративными структурами. Обеспечивает интегрируемость с другими системами, использующимися предприятием.

[94]

Контур ФИНАНСЫ обеспечивает оперативное управление финансами, включая составление финансового плана и осуществление контроля его исполнения, финансовый и управленческий учет.

[95]

Контур МАТ. ПОТОКИ реализует функцию управления запасами и закупками: ведение договоров, реализация централизованных закупок, обеспечение учета и оптимизации складских и цеховых запасов.

[96]

Контур ПРОИЗВОДСТВО обеспечивает выполнение следующих основных функций:

[97]

формирование планов продаж и производства

[98]

планирование потребностей в материалах и комплектующих, сроков и объемов поставок для выполнения плана производства продукции

[99]

планирование производственных мощностей от укрупненного планирования до использования отдельных станков и оборудования

[100]

определение «узких мест» планирования

[101]

осуществление контроля выполнения плановых показателей.

[102]

Контур УЧЕТ ЗАТРАТ обеспечивает реализацию следующих функций:

[103]

расчет прямых нормативных затрат

[104]

расчет цены изделия

[105]

сбор и обработку фактических затрат производственного процесса

[106]

Контур ЗАРПЛАТА И КАДРЫ обеспечивает решение задач управления кадровыми ресурсами предприятия (набором, штатным расписанием, переподготовкой, продвижением по службе, оплатой и т.п.). Обеспечивает необходимой информацией систему «1С» для расчета заработной платы.

[107]

Система бухгалтерского учета «1С: Бухгалтерия», «1С: Зарплата и управление персоналом» состоит из блоков:

[108]

Блок 45 - система бухгалтерского учета «1С: Бухгалтерия»

[109]

Блок 46 - система «1С: Зарплата и управление персоналом»

[110]

Система бухгалтерского учета «1С: Бухгалтерия», «1С: Зарплата и управление персоналом» предназначена для обеспечения бухгалтерского учета материально-производственных запасов, товаров, торговых операций, активов, расчета заработной платы.

[111]

Структурная схема инструментов синхронизации данных состоит из следующих блоков:

[112]

Блок А - инструменты синхронизации данных системы кодирования ресурсов

[113]

Блок 2 - модуль выгрузки информации о ресурсах для системы конструкторско-технологической подготовки производства «Лоцман PLM»

[114]

Блок 3 - модуль выгрузки информации о ресурсах для системы управления ресурсами предприятия «М-3.1»

[115]

Блок Б - инструменты синхронизации данных системы конструкторско-технологической подготовки производства «Лоцман PLM»

[116]

Блок 38 - модуль загрузки информации о ресурсах из системы кодирования ресурсов

[117]

Блок 14 - модуль выгрузки конструкторско-технологической информации об изделии для системы управления ресурсами предприятия «М-3.1»

[118]

Блок В - инструменты синхронизации данных системы управления ресурсами предприятия «М-3.1»

[119]

Блок 37 - модуль загрузки информации о ресурсах из системы кодирования ресурсов

[120]

Блок 39 - модуль выгрузки-загрузки информации о ресурсах в систему бухгалтерского учета «1С: Бухгалтерия», «1С: Зарплата и управление персоналом»

[121]

Блок 40 - модуль загрузки конструкторско-технологической информации об изделии из системы конструкторско-технологической подготовки производства «Лоцман PLM»

[122]

Блок 41 - модуль выгрузки-загрузки информации о фактических затратах в систему бухгалтерского учета «1С: Бухгалтерия», «1С: Зарплата и управление персоналом»

[123]

Блок 42 - модуль выгрузки-загрузки информации о сотрудниках в систему бухгалтерского учета «1С: Бухгалтерия», «1С: Зарплата и управление персоналом»

[124]

Блок 43 - модуль выгрузки-загрузки информации о нарядах в систему бухгалтерского учета «1С: Бухгалтерия», «1С: Зарплата и управление персоналом»

[125]

Блок 44 - модуль выгрузки-загрузки информации о табельном учете в систему бухгалтерского учета «1С: Бухгалтерия», «1С: Зарплата и управление персоналом»

[126]

Инструменты синхронизации данных - это набор программных средств, позволяющий интегрировать различные программные продукты в единый ИТ-комплекс и создавать единое информационное пространство.

Как компенсировать расходы
на инновационную разработку
Похожие патенты