Изобретение относится к технике сушки твердых топлив, преимущественно углей, в системах подготовки к сжиганию на тепловых электростанциях и может быть использовано в других отраслях промышленности. Сушку осуществляют в вертикальной сушильной шахте в нисходящих спутных потоках высокотемпературного газообразного сушильного агента и угля. Потоки пропускают через систему установленных в шахте лопастных аппаратов, расположенных в поперечном сечении трубы-сушилки друг над другом и перекрывающих лопастями около 60% ее «живого» сечения. Организация движения спутных потоков сушильного агента и угля через систему лопастных аппаратов увеличивает количество участков разгона угля от нулевой скорости до скорости потока и, следовательно, увеличивает долю зон интенсивного тепломассообмена, обеспечивает равномерность распределения угля по сечению шахты, увеличивает время пребывания дробленого угля в зонах сушки в 2-3 раза. Благодаря более глубокой подсушке частицы топлива разрушаются при меньшем времени пребывания их в мельнице за счет снижения кратности циркуляции, увеличивается размольная производительность мельницы, уменьшается износ мелющих органов и повышается общая эффективность системы топливоподготовки. 2 ил., 1 табл.
Способ дискретной сушки высоковлажных бурых углей в вертикальной сушильной шахте, включающий движение сверху вниз спутных потоков высокотемпературного газообразного сушильного агента и угля, отличающийся тем, что спутные потоки сушильного агента и угля пропускают через систему установленных в шахте лопастных аппаратов, расположенных в поперечном сечении трубы-сушилки друг над другом и перекрывающих лопастями около 60% ее «живого» сечения.
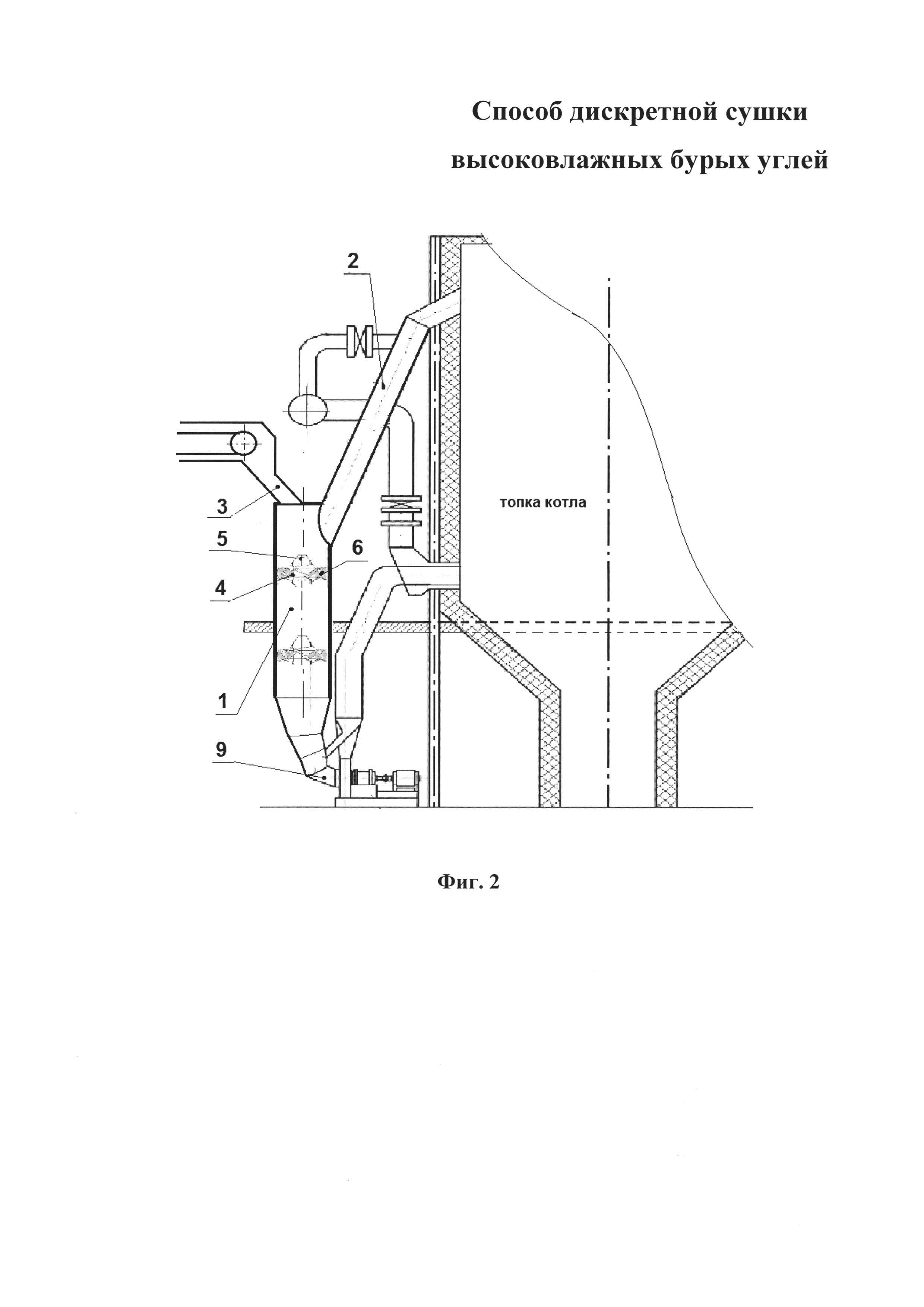
Заявленное изобретение относится к технике сушки твердых топлив, преимущественно углей, в системах подготовки к сжиганию на тепловых электростанциях и может быть использовано в других отраслях промышленности. Известен способ сушки угля в нисходящем потоке высокотемпературного газообразного сушильного агента в вертикальной шахте, при котором уголь подают сверху вниз по пересыпным полкам, размещенным на противоположных стенках шахты в шахматном порядке, и в том же направлении подают высокотемпературный сушильный агент. [А.с. СССР №866367; 23.09.1981 г.] Известен аналогичный способ сушки угля в нисходящем потоке газообразного сушильного агента в устройстве с пересыпными полками, установленными на одной из стенок корпуса друг над другом с перекрытием, и отбойным листом, установленным на противоположной стенке. [Патент РФ №1783261, 23.1992 г.] Общим недостатком этого способа сушки является снижение эффективности массообмена по ходу движения угля по полкам, поскольку интенсивность конвективного переноса влаги пропорциональна скорости греющего потока относительно частиц угля, а эта скорость по ходу спутного движения потоков постоянно уменьшается. Еще одним недостатком этого способа сушки является малое (1,2-1,6 секунды) время пребывания угля в сушилке, что не позволяет полностью использовать термодинамический потенциал высокотемпературного сушильного агента и обеспечить требуемый уровень сушки угля. Еще одним недостатком способа является ухудшение тепломассообмена между сушильным агентом и углем из-за замазывания проходного сечения решеток, вследствие чего изменяется гидравлический режим работы системы, снижается размольная производительность мельницы и увеличивается расход электроэнергии на пылеприготовление. Техническим результатом, на достижение которого направлено заявленное изобретение, является повышение эффективности сушки угля, увеличение размольной производительности мельницы, уменьшение износа мелющих органов и снижение расхода электроэнергии на пылеприготовление за счет увеличения времени пребывания угля в потоке сушильного агента и дискретного увеличения доли участков наиболее интенсивного тепломассообмена путем сохранения высокой скорости потока сушильного агента относительно угля. Технический результат достигается тем, что с целью увеличения времени пребывания угля в потоке сушильного агента и сохранения высокой скорости потока сушильного агента относительно угля, способ дискретной сушки высоковлажных бурых углей в вертикальной сушильной шахте включает движение сверху вниз спутных потоков высокотемпературного газообразного сушильного агента и угля, причем спутные потоки сушильного агента и угля пропускают через систему установленных в шахте лопастных аппаратов, расположенных в поперечном сечении трубы-сушилки друг над другом и перекрывающих лопастями около 60% ее «живого» сечения. Схема устройства, реализующего предлагаемое изобретение, поясняется чертежами, где на фиг. 1 представлена схема установки лопастных аппаратов в трубе-сушилке и вид на лопастной аппарат сверху. Устройство, схема которого представлена на фиг. 2, содержит трубу-сушилку 1, патрубок 2 для подачи сушильного агента, патрубок 3 для подачи топлива, лопастной аппарат 4, включающий конус-рассекатель 5, направляющие лопасти 6, соединительные тяги 7, устройства крепления 8 и патрубок 9 для вывода газотопливной смеси. Способ осуществляют следующим образом. Включают мельницу-вентилятор и устройства 2 и 3 для подачи в трубу-сушилку 1 сушильного агента и топлива. Нисходящий высокотемпературный поток сушильного агента совместно с частицами дробленого влажного угля набегает сверху на первый лопастной аппарат 4. За счет тормозящего эффекта выступающей центральной части конуса-рассекателя 3 газовый поток отбрасывается на лопасти 4. Мелкие фракции, которым не требуется дополнительного времени для подсушки, огибают препятствия (лопасти) совместно с газовым потоком, тем не менее, также незначительно увеличивая свое время сушки. Крупные фракции падающего угля сталкиваются с лопастями 4 и тормозятся (их вертикальная скорость обнуляется), затем частицы угля скатываются с лопастей и падение в потоке возобновляется до следующего лопастного аппарата. Наиболее эффективно тепломассобменные процессы сушки происходят при максимальных значениях относительной скорости частиц топлива и сушильного агента, которые имеют место при начальной нулевой скорости частиц топлива, т.е. при первичном соприкосновении потоков (загрузка) и на выходе потоков из каждого лопастного аппарата. Предлагаемый способ позволяет интенсифицировать тепломассообменные процессы за счет увеличения площади контакта поверхности частиц и газового теплоносителя и их относительной скорости движения. Пример. Тепловой поток между частицами топлива и газовым теплоносителем определяется по формуле: q=αcpSΔTcp, Вт, где αср - средний коэффициент теплоотдачи; S - площадь поверхности частиц угля; ΔТср - средний температурный напор. Численные расчеты показывают, что для бурого угля марки Б1с исходной влажностью Таким образом, организация движения спутных потоков сушильного агента и угля через систему лопастных аппаратов дискретно увеличивает количество участков разгона угля от нулевой скорости до скорости потока и, следовательно, увеличивает долю участков наиболее интенсивного тепломассообмена, обеспечивает равномерность распределения угля по сечению шахты (трубы), а также увеличивает время пребывания крупных фракций дробленого угля в зоне сушки в 2-3 раза. В свою очередь, благодаря более глубокой подсушке частицы топлива разрушаются при меньшем времени пребывания их в мельнице за счет снижения кратности циркуляции, увеличивается размольная производительность мельницы, уменьшается износ мелющих органов и снижается расход электроэнергии на пылеприготовление, что, в конечном счете, повышает общую эффективность системы топливоподготовки.
при сушке в спутном потоке его влажность снижается на
а при наличии лопастных аппаратов - на
.