патент
№ RU 2614906
МПК F03H1/00

ПРЯМОТОЧНЫЙ ЭЛЕКТРОРЕАКТИВНЫЙ ДВИГАТЕЛЬ

Авторы:
Хартов Сергей Анатольевич Ерофеев Александр Иванович Сырин Сергей Александрович
Все (6)
Номер заявки
2016112914
Дата подачи заявки
05.04.2016
Опубликовано
30.03.2017
Страна
RU
Как управлять
интеллектуальной собственностью
Чертежи 
4
Реферат

Изобретение относится к электрореактивным двигателям прямоточного типа (ПЭРД), в которых в качестве рабочего вещества используется газообразная окружающая среда. ПЭРД предназначен для управления движением низкоорбитального космического аппарата. ПЭРД содержит корпус (1) с прямоточным каналом в форме цилиндра. На входе в прямоточный канал установлено газозаборное устройство с каналами (2), ориентированными параллельно оси симметрии прямоточного канала. Выход каналов (2) сообщен с входной камерой (3). В выходном отверстии прямоточного канала расположена ионно-оптическая система (7), включающая эмиссионный электрод (8), ускоряющий электрод (9) и замедляющий электрод (10), подключенные к источникам электропитания (11, 12). В камере ионизации и ускорения ионов установлен индуктор (5) в форме спирали. Витки индуктора (5) расположены вдоль поверхности вращения, соосной прямоточному каналу. Площадь поперечного сечения поверхности вращения увеличивается в направлении от газозаборного устройства к электродам ионно-оптической системы (7). На внешнюю поверхность витков индуктора (5) нанесено проницаемое для электромагнитного поля диэлектрическое покрытие. Эмитируемые нейтрализатором (13) электроны поступают в ионный поток через диэлектрический транспортирующий канал (15). Технический результат заключается в уменьшении габаритных размеров ПЭРД, снижении его аэродинамического сопротивления, повышении эффективности использования газообразного рабочего вещества, отбираемого из окружающей среды, и увеличении удельного импульса двигателя. 11 з.п. ф-лы, 4 ил.

Формула изобретения

1. Прямоточный электрореактивный двигатель для управления движением низкоорбитального космического аппарата, содержащий корпус с осесимметричным прямоточным каналом, по меньшей мере один нейтрализатор пространственного заряда ионного потока, газозаборное устройство, расположенное на входе в прямоточный канал и выполненное с каналами, ориентированными параллельно оси симметрии прямоточного канала, входную камеру и камеру ионизации и ускорения ионов с устройством ввода электромагнитной энергии в разрядный объем, последовательно расположенные в прямоточном канале от газозаборного устройства до выходного отверстия, отличающийся тем, что прямоточный канал выполнен в форме цилиндра, устройство ввода электромагнитной энергии выполнено в виде индуктора, имеющего форму спирали и установленного в полости прямоточного канала, камера ионизации и ускорения ионов включает ионно-оптическую систему, содержащую эмиссионный, ускоряющий и замедляющий электроды и установленную в выходном отверстии прямоточного канала, при этом витки индуктора расположены вдоль поверхности вращения, соосной прямоточному каналу, площадь поперечного сечения которой увеличивается в направлении от газозаборного устройства к электродам ионно-оптической системы, на внешнюю поверхность витков индуктора нанесено проницаемое для электромагнитного поля диэлектрическое покрытие.

2. Двигатель по п. 1, отличающийся тем, что витки индуктора расположены вдоль конической поверхности, вершина которой обращена к газозаборному устройству, а основание - к электродам ионно-оптической системы.

3. Двигатель по п. 2, отличающийся тем, что угол при вершине конической поверхности составляет от 60° до 120°.

4. Двигатель по п. 1, отличающийся тем, что витки индуктора расположены вдоль сферической поверхности шарового сегмента, вершина которого обращена к газозаборному устройству, а основание - к электродам ионно-оптической системы.

5. Двигатель по п. 1, отличающийся тем, что поперечное сечение витков индуктора имеет форму круга.

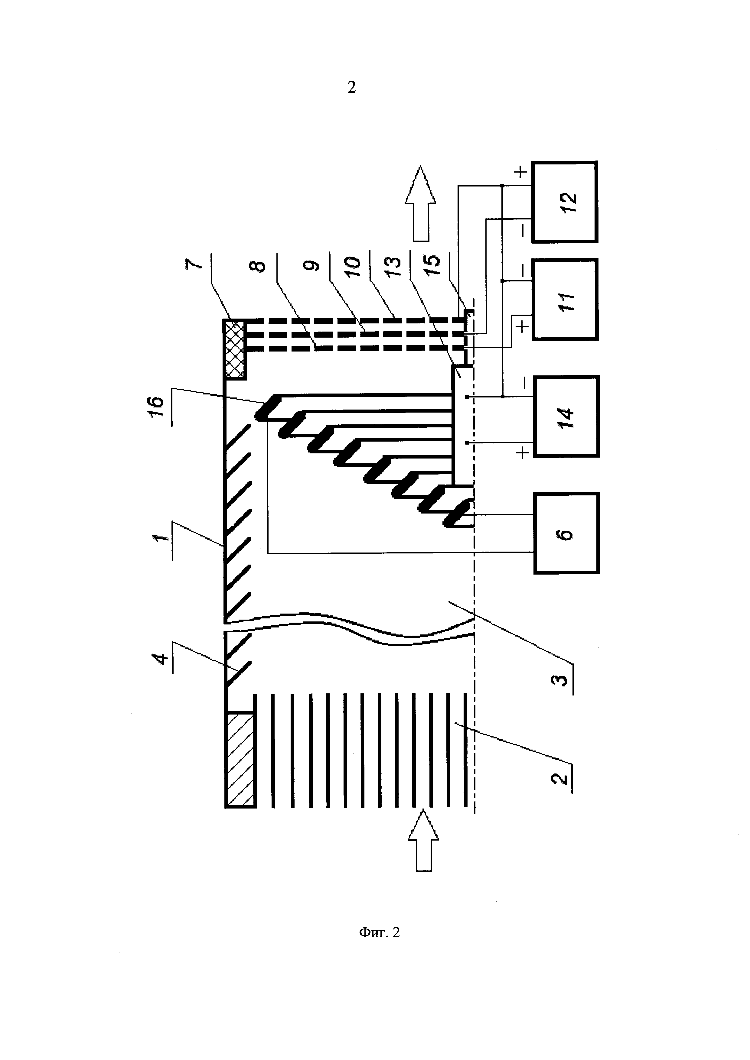
6. Двигатель по п. 1, отличающийся тем, что поперечное сечение каждого витка индуктора имеет форму овала, большая ось которого ориентирована под острым углом по отношению к оси симметрии прямоточного канала в направлении к электродам ионно-оптической системы.

7. Двигатель по п. 6, отличающийся тем, что угол наклона большой оси овала по отношению к оси симметрии прямоточного канала составляет от 15° до 45°.

8. Двигатель по п. 1, отличающийся тем, что индуктор выполнен в виде ленты со скругленными торцевыми частями, при этом боковые поверхности ленты ориентированы под острым углом по отношению к оси симметрии прямоточного канала в направлении к электродам ионно-оптической системы.

9. Двигатель по п. 8, отличающийся тем, что угол наклона боковых поверхностей ленты по отношению к оси симметрии прямоточного канала составляет от 15° до 45°.

10. Двигатель по п. 1, отличающийся тем, что содержит кольцевые отражатели, установленные вдоль цилиндрической поверхности стенки входной камеры и образующие со стенкой входной камеры глухие каналы, ориентированные в направлении к оси симметрии прямоточного канала.

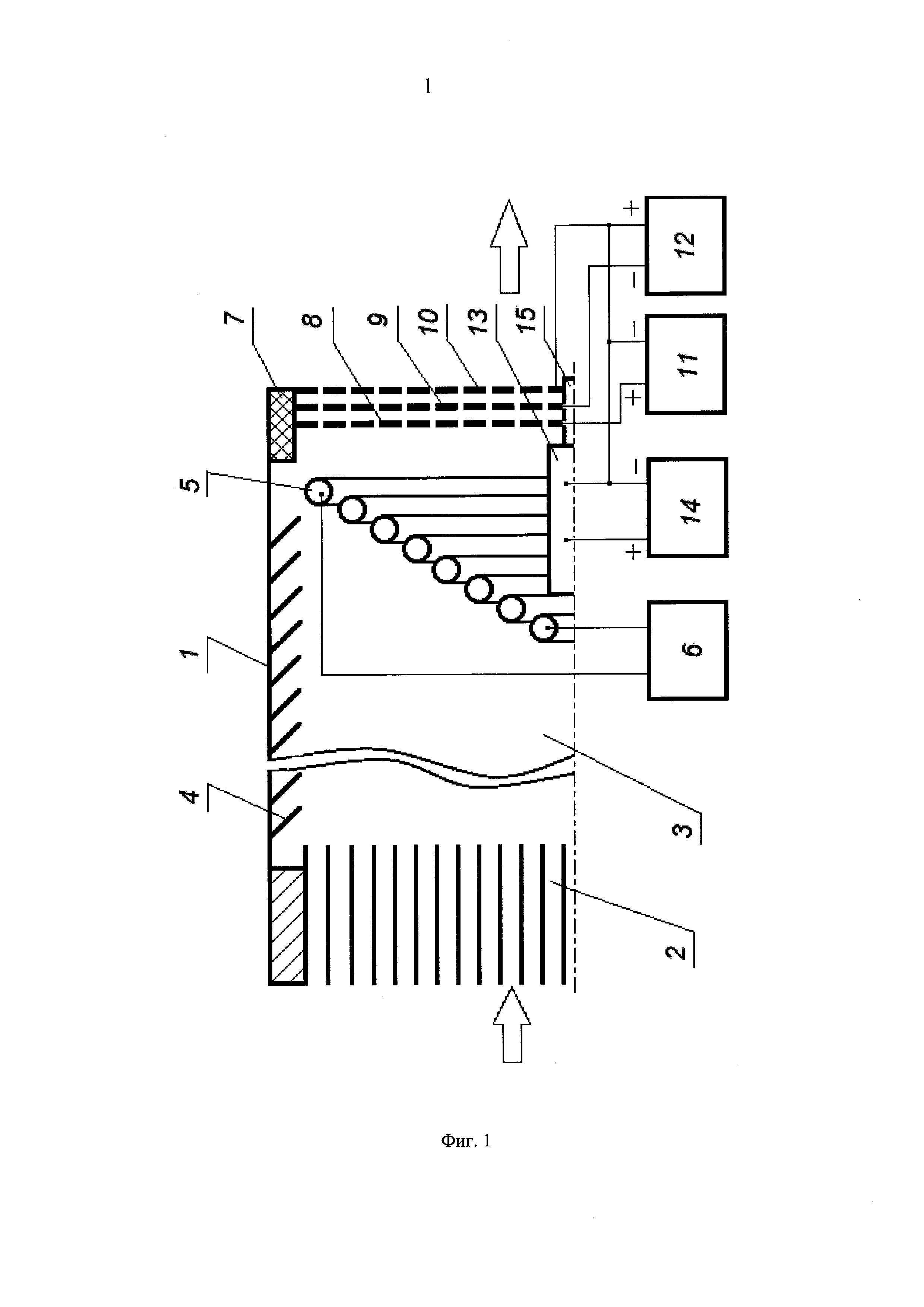
11. Двигатель по п. 1, отличающийся тем, что нейтрализатор пространственного заряда выполнен в виде газоразрядного устройства с полым катодом.

12. Двигатель по п. 1, отличающийся тем, что длина каналов газозаборного устройства выбирается равной от 5⋅S1/2 до 10⋅S1/2, где S - площадь поперечного сечения канала газозаборного устройства с наибольшей площадью поперечного сечения.

Описание

[1]

Изобретение относится к электрореактивным двигателям прямоточного типа (ПЭРД), в которых в качестве рабочего вещества используется газообразная окружающая среда. Двигатели данного типа планируется применять в составе двигательных установок (ДУ), предназначенных для управления движением низкоорбитальных космических аппаратов (НКА). Функции ДУ с ПЭРД включают компенсацию аэродинамического торможения НКА в атмосфере планет и коррекцию орбиты НКА.

[2]

Эффективная работа космических аппаратов дистанционного зондирования Земли осуществляется на орбитах от 180 км до 280 км. На данных высотах орбит концентрация газов остаточной атмосферы составляет от 1015 м-3 до 1017 м-3. Наличие остаточной атмосферы на рабочих орбитах НКА обуславливает действие на него достаточно большой силы аэродинамического сопротивления, что приводит к торможению и быстрому снижению высоты орбиты НКА. Срок активного существования НКА на указанных высотах орбит составляет от нескольких дней до нескольких месяцев. Для увеличения длительности активного существования НКА необходимо компенсировать силу аэродинамического сопротивления окружающей среды и снижение орбиты НКА, вызванное аэродинамическим сопротивлением. Такая компенсация обеспечивается за счет приращения скорости НКА импульсами реактивной тяги, создаваемыми с помощью корректирующей двигательной установки (КДУ). В качестве двигателей КДУ могут применяться ПЭРД, конструкция которых предусматривает возможность забора газообразной окружающей среды в качестве рабочего вещества реактивного двигателя. Для гарантированного поддержания НКА на заданной расчетной высоте рабочей орбиты тяга КДУ должна быть не менее максимальной величины силы аэродинамического сопротивления, действующей в условиях наибольшей интенсивности солнечной и геомагнитной активности.

[3]

Известны различные типы электрореактивных двигателей, предлагаемых для применения в составе КДУ НКА. Так, например, в патенте US 7306189B2 (опубл. 11.12.2007) описана конструкция ПЭРД открытого типа с забором газообразного рабочего вещества из окружающей среды (остаточной атмосферы Земли). ПЭРД содержит открытую (пространственно неограниченную) камеру ионизации газообразного вещества, находящегося в окружающем пространстве.

[4]

Ионизация осуществляется за счет воздействия внешнего электромагнитного поля на газообразное рабочее вещество, например путем применения высокочастотного электромагнитного поля. Образовавшиеся ионы ускоряются с помощью электростатической системы ускорения, представляющей собой ионно-оптическую систему с двумя сеточными электродами. Электроды подключаются к разнополярным выходам источника напряжения: первый по направлению ускорения ионов электрод находится под положительным потенциалом и выполняет функцию эмиссионного электрода, второй электрод находится под отрицательным потенциалом и выполняет функцию ускоряющего электрода. За электродами электростатической системы ускорения ионов установлен источник электронов, с помощью которого обеспечивается нейтрализация пространственного заряда ускоренного потока ионов. Двигатель содержит систему генерации электромагнитного поля и устройство ввода энергии в пространственную область ионизации. Данный двигатель обладает низкой эффективностью использования газообразного рабочего тела и энергии для создания реактивной тяги из-за существенного рассеяния заряженных частиц в пространственной области, расположенной перед эмиссионным электродом. При неупорядоченном движении заряженных частиц в пространственно неограниченной области ионизации большая часть частиц не участвует в процессе направленного электростатического ускорения ионов, т.е. не используется для создания реактивной тяги.

[5]

В патенте US 7581380B2 (опубл. 01.09.2009) описана конструкция ПЭРД с проточной камерой, имеющей цилиндрическую форму. Входное отверстие камеры закрыто сетчатым экранирующим электродом. Внутренняя часть корпуса камеры выполнена из электропроводящего материала. В осевой части камеры установлен внутренний электрод с острийными эмиттерами электронов. Внутренний электрод электрически изолирован от проводящих стенок камеры. В выходной части камеры установлена электростатическая система ускорения ионов, состоящая из эмиссионного и ускоряющего сеточных электродов. За выходным отверстием проточной камеры ПЭРД размещен катод-нейтрализатор пространственного заряда, обеспечивающий эмиссию электронов с заданной плотностью тока в ускоряемый поток ионов.

[6]

При работе ПЭРД набегающий разреженный газовый поток попадает в камеру ионизации через экранирующий сетчатый электрод и ионизируется при столкновении с электронами, эмитируемыми с внутреннего электрода. Образовавшиеся ионы затем ускоряются электростатическим полем, создаваемым сетчатыми электродами ионно-оптической системы. Пространственный заряд ускоренного ионного потока компенсируется (нейтрализуется) электронами, эмитируемыми внешним катодом-нейтрализатором. Рассматриваемая конструкция ПЭРД не предусматривает использование технических средств, обеспечивающих торможение и изменение направления движения атомарного рабочего вещества, что необходимо для последующей эффективной ионизации и ускорения ионов рабочего вещества.

[7]

В патентной заявке EP 2853737 A1 (опубл. 01.04.2015) раскрыта конструкция ПЭРД, в состав которого входит профилированное газозаборное устройство, имеющее форму плавно сужающегося осесимметричного канала. Газозаборное устройство используется с целью сбора газообразного вещества из окружающей среды (остаточной атмосферы) и увеличения его плотности на входе в камеру ионизации. Процесс ионизации газообразного вещества осуществляется в высокочастотном разряде. Нагрев образовавшейся плазмы происходит при реализации условий ионного циклотронного резонанса. Данные условия реализуются при одновременном создании внешнего магнитного поля и вводе в разрядный объем высокочастотной электромагнитной энергии. Ускорение потока плазмы осуществляется в результате квазиадиабатического расширения ионизованного рабочего вещества в магнитном поле за срезом магнитной ловушки. Истекающий из камеры ПЭРД ускоренный ионный поток скомпенсирован по заряду и обладает высокой кинетической энергией. Однако такой ПЭРД имеет достаточно сложную конструкцию вследствие использования сложной магнитной системы, требующей, как правило, применение криогенной системы охлаждения, и средств генерации и ввода в разрядный объем высокочастотной электромагнитной энергии. Кроме того, требуются существенные затраты энергии на ионизацию рабочего вещества с целью реализации условий ионно-циклотронного резонанса. В этом случае величина удельного импульса двигателя имеет существенные ограничения. При использовании сужающегося газозаборного устройства увеличивается сила аэродинамического сопротивления окружающей среды.

[8]

Наиболее близким аналогом изобретения является ПЭРД, описанный в патенте US 6834492 B2 (опубл. 28.12.2004). Данный ПЭРД может применяться для управления движением НКА в составе КДУ. Двигатель содержит корпус с кольцевым осесимметричным прямоточным каналом, на выходе из которого может быть установлен один или несколько нейтрализаторов пространственного заряда ускоряемого ионного потока. На входе в прямоточный канал расположено газозаборное устройство с экранирующим электродом, в котором выполнены каналы, ориентированные параллельно оси симметрии прямоточного канала. Во входной части газозаборного устройства установлено центральное тело, образующее сужающийся проточный канал для предварительного сжатия набегающего газового потока и повышения концентрации рабочего вещества в камере ионизации и ускорения ионов.

[9]

В прямоточном канале двигателя расположена входная камера, в которой за счет отражения от стенок камеры и взаимных столкновений происходит изменение направления движения и величины скорости частиц рабочего вещества в набегающем газовом потоке. После предварительного преобразования (хаотизации) набегающего потока газообразное рабочее вещество поступает в камеру ионизации и ускорения ионов. Ионизация и ускорение ионов рабочего вещества осуществляются в разряде, горящем в скрещенных электрическом и магнитном полях. Магнитная система двигателя содержит наружный и внутренний магнитопроводы и источники магнитодвижущей силы, выполненные в виде электромагнитных катушек намагничивания, которые установлены на наружном и внутреннем магнитопроводах. Ввод электромагнитной энергии в камеру ионизации и ускорения ионов обеспечивается с помощью электродов и электромагнитных катушек намагничивания, подключенных к системе электропитания.

[10]

Рассматриваемый ПЭРД хотя и содержит входную камеру, где может осуществляться термализация частиц (хаотизация и выравнивание скоростей частиц), но его конструкция не обеспечивает в полной мере эффективное использование газообразного рабочего вещества остаточной атмосферы из-за того, что камера ионизации и ускорения ионов не отделена от входной камеры. При данном выполнении не исключается возможность ухода нейтральных частиц, обладающих высокой кинетической энергией, из камеры ионизации в обратном направлении - во входную камеру.

[11]

Использование в ПЭРД электрического разряда, горящего в скрещенных электрическом и магнитном полях, приводит к необходимости применения сужающегося входного канала газозаборного устройства для увеличения плотности газообразного рабочего вещества. В этом случае, как и в других двигателях-аналогах, за счет увеличения лобового сопротивления устройства увеличивается сила аэродинамического сопротивления, действующая на ПЭРД. При действии перечисленных выше факторов для повышения вероятности ионизации нейтральных частиц в набегающем потоке требуется увеличение длины прямоточного канала, учитывая, что скорость частиц на входе в прямоточный канал равна скорости движения НКА на рабочей орбите. Из-за недостаточной плотности газообразного рабочего вещества и низкой вероятности ионизации нейтральных частиц, что является следствием высокой скорости и преимущественного направления движения частиц вдоль прямоточного канала, снижается эффективность использования рабочего вещества, отбираемого из остаточной атмосферы планеты, и, соответственно, величина удельного импульса двигателя.

[12]

Изобретение направлено на повышение концентрации частиц газообразного рабочего вещества на входе в камеру ионизации за счет снижения скорости частиц и перераспределения (хаотизации) направлений движения частиц в прямоточном канале. Техническая проблема, связанная с необходимостью повышения концентрации частиц рабочего вещества в разрядном объеме, решается с помощью изобретения без использования таких известных технических приемов, как увеличение длины прямоточного канала и использование профилированного сужающегося канала, что существенно влияет на массогабаритные и аэродинамические характеристики двигателя. В этом случае можно уменьшить продольный габаритный размер двигателя и снизить его аэродинамическое сопротивление. Кроме того, повышается эффективность использования газообразного рабочего вещества, отбираемого из окружающей среды (остаточной атмосферы), и, как следствие, увеличивается удельный импульс двигателя.

[13]

Указанные выше технические результаты достигаются при использовании ПЭРД, предназначенного для управления движением НКА. Двигатель содержит корпус с осесимметричным прямоточным каналом. В состав ПЭРД входит по меньшей мере один нейтрализатор пространственного заряда. На входе в прямоточный канал установлено газозаборное устройство. Проточные каналы газозаборного устройства ориентированы параллельно оси симметрии прямоточного канала. В прямоточном канале двигателя от газозаборного устройства до выходного отверстия последовательно расположены входная камера и камера ионизации и ускорения ионов с устройством ввода электромагнитной энергии в разрядный объем.

[14]

Согласно изобретению прямоточный канал двигателя выполняется в форме цилиндра. В качестве устройства ввода электромагнитной энергии используется индуктор, имеющий форму спирали. Данный тип ПЭРД относится к высокочастотным ионным двигателям с индукционным возбуждением электрического разряда в газовой среде. Индуктор устанавливается в полости прямоточного канала. Витки индуктора расположены вдоль поверхности вращения, соосной прямоточному каналу. Площадь поперечного сечения поверхности вращения увеличивается в направлении от газозаборного устройства к электродам ионно-оптической системы. На внешнюю поверхность витков индуктора нанесено проницаемое для электромагнитного поля изолирующее диэлектрическое покрытие. Камера ионизации и ускорения ионов включает в свой состав ионно-оптическую систему, содержащую эмиссионный, ускоряющий и замедляющий электроды. Ионно-оптическая система, обеспечивающая ускорение ионов, устанавливается в выходном отверстии прямоточного канала.

[15]

Данное выполнение ПЭРД позволяет изменить направление движения и скорость нейтральных частиц, поступающих во входную камеру через газозаборное устройство. Дальнейшее изменение скорости и направления движения частиц происходит при прохождении каналов, образованных поверхностями близлежащих витков индуктора. В результате перед входом в разрядный объем происходит торможение направленного высокоскоростного набегающего потока. Вследствие торможения частиц и их хаотизации в прямоточном канале двигателя обеспечивается термализация частиц рабочего вещества и повышается их концентрация до уровня 1017-1018 м-3, необходимого для устойчивого горения высокочастотного индукционного разряда и, соответственно, для поддержания расчетного рабочего режима работы ПЭРД. Данный эффект достигается без использования сужающихся входных каналов газозаборного устройства, применение которых приводит к увеличению аэродинамического сопротивления ПЭРД. За счет повышения концентрации частиц рабочего вещества в области ионизации и снижения их скорости в осевом направлении повышается эффективность использования рабочего вещества и удельный импульс двигателя.

[16]

Витки индуктора располагаются вдоль поверхности вращения, образующая которой может иметь прямолинейную или криволинейную форму. Существенными условиями являются также соосность поверхности вращения прямоточному каналу и увеличение площади ее поперечного сечения в направлении от газозаборного устройства к электродам ионно-оптической системы. При выполнении данных условий частицы рабочего вещества концентрируются в области горения высокочастотного индукционного разряда. В частности, витки индуктора могут быть расположены вдоль конической поверхности, вершина которой обращена к газозаборному устройству, а основание - к электродам ионно-оптической системы. Оптимальные значения угла при вершине конической поверхности составляют от 60° до 120°. В другом варианте конструкции витки индуктора могут быть расположены вдоль сферической поверхности шарового сегмента, вершина которого обращена к газозаборному устройству, а плоское основание - к электродам ионно-оптической системы.

[17]

Поперечное сечение витков индуктора может иметь форму круга. Однако предпочтительной формой выполнения сечения витков индуктора является овальная форма, в частности витки могут иметь поперечное сечение в форме эллипса. В случае использования витков индуктора овальной формы между поверхностями близлежащих витков образуются протяженные каналы, по которым частицы рабочего вещества направляются в область ионизации. Оптимальные значения угла наклона большой оси овала (сечения витков индуктора) по отношению к оси симметрии прямоточного канала составляют от 15° до 45°.

[18]

Индуктор может быть выполнен в виде ленты со скругленными торцевыми частями. В этом случае боковые поверхности ленты ориентируются под острым углом по отношению к оси симметрии прямоточного канала в направлении к электродам ионно-оптической системы. Оптимальные значения угла наклона боковых поверхностей ленты по отношению к оси симметрии прямоточного канала составляют от 15° до 45°.

[19]

Для повышения степени термализации частиц рабочего вещества в полости входной камеры могут использоваться кольцевые отражатели, которые устанавливаются вдоль цилиндрической поверхности стенки входной камеры. Кольцевые отражатели образуют со стенкой входной камеры глухие каналы, ориентированные в направлении к оси симметрии прямоточного канала.

[20]

В качестве нейтрализатора пространственного заряда ускоренного ионного потока могут применяться различные типы газоразрядных устройств. В частности, нейтрализатор пространственного заряда может быть выполнен в виде газоразрядного устройства с полым катодом, через который направляется газообразное рабочее вещество из набегающего потока остаточной атмосферы.

[21]

Длина каналов газозаборного устройства выбирается достаточной для изменения направления движения частиц рабочего вещества и частичного гашения их скорости при прохождении через газозаборное устройство. Оптимальные значения длины каналов газозаборного устройства составляют, в зависимости от высоты орбиты НКА, от 5⋅S1/2 до 10⋅S1/2, где S - площадь поперечного сечения канала газозаборного устройства с наибольшей площадью поперечного сечения.

[22]

Далее изобретение поясняется описанием конкретных примеров его осуществления. На прилагаемых чертежах изображено следующее:

[23]

на фиг. 1 - схематичный продольный разрез верхней части прямоточного канала ПЭРД с расположением витков индуктора круглого сечения вдоль конической поверхности;

[24]

на фиг. 2 - схематичный продольный разрез верхней части прямоточного канала ПЭРД с расположением витков индуктора, выполненных в виде ленты, вдоль конической поверхности;

[25]

на фиг. 3 - схематичный продольный разрез верхней части прямоточного канала ПЭРД с расположением витков индуктора овального сечения вдоль сферической поверхности шарового сегмента;

[26]

на фиг. 4 - вид на каналы газозаборного устройства со стороны набегающего потока.

[27]

ПЭРД, изображенный на фиг. 1, предназначен для управления движением НКА и выполнен в виде высокочастотного ионного двигателя с индукционным возбуждением электрического разряда в газовой среде остаточной атмосферы. ПЭРД содержит корпус 1 с осесимметричным прямоточным каналом в форме цилиндра. На входе в прямоточный канал установлено газозаборное устройство с каналами 2, ориентированными параллельно оси симметрии прямоточного канала. В рассматриваемом примере проточные каналы 2 образованы сотовой системой перегородок и имеют форму шестиугольников со стороны набегающего потока (см. фиг. 4). Длина каналов газозаборного устройства выбрана равной 5⋅S1/2 в соответствии с диапазоном оптимальных значений: от 5⋅S1/2 до 10⋅S1/2, где S - площадь поперечного сечения канала газозаборного устройства с наибольшей площадью поперечного сечения.

[28]

За газозаборным устройством вдоль направления движения потока рабочего вещества расположена входная камера 3, в которой происходит хаотизация направлений движения частиц и снижение их скорости. В рассматриваемом примере во входной камере 3 вдоль ее цилиндрической стенки установлены кольцевые отражатели 4, образующие со стенкой камеры 3 глухие каналы, ориентированные в направлении к оси симметрии прямоточного канала. Стенки отражателей 4 расположены под углом 45° к оси симметрии прямоточного канала.

[29]

За входной камерой 3 расположена камера ионизации и ускорения ионов с устройством ввода электромагнитной энергии в разрядный объем, выполненным в виде индуктора 5 в форме спирали. В рассматриваемом примере, изображенном на фиг. 1, поперечное сечение витков индуктора 5 имеет форму круга. Индуктор 5 выполняется из электропроводящего материала. В рассматриваемом примере спираль индуктора 5 образована изогнутым медным проводником. Токоподводы индуктора 5 подключены к высокочастотному генератору 6. На поверхность витков индуктора 5 нанесено проницаемое для электромагнитного поля диэлектрическое покрытие, в качестве которого, в частности, используется алунд. Витки индуктора 5 расположены вдоль поверхности вращения, соосной прямоточному каналу, площадь поперечного сечения которой увеличивается в направлении от газозаборного устройства к электродам ионно-оптической системы. В рассматриваемом примере (см. фиг. 1) витки индуктора 5 расположены вдоль конической поверхности, вершина которой обращена к газозаборному устройству, а основание - к электродам ионно-оптической системы. Угол при вершине конической поверхности составляет 90°. Между витками индуктора 5 образованы каналы, через которые частицы рабочего вещества поступают из входной камеры 3 в разрядный объем. Витки индуктора 5 отделяют входную камеру 3 от камеры ионизации и ускорения ионов. За счет формы и определенного расположения витки индуктора 5 препятствуют уходу нейтральных частиц из разрядного объема в обратном направлении - к газозаборному устройству.

[30]

В выходном отверстии прямоточного канала установлена ионно-оптическая система 7, обеспечивающая ускорение ионов рабочего вещества, образовавшихся в разрядном объеме. Ионно-оптическая система 7 содержит последовательно расположенные перфорированные пластины-электроды: эмиссионный электрод 8, ускоряющий электрод 9 и замедляющий электрод 10. Электроды 8, 9 и 10 подключены к источникам электропитания 11 и 12.

[31]

ПЭРД содержит нейтрализатор 13 пространственного заряда ускоренного ионного потока. Нейтрализатор 13 выполнен в виде газоразрядного устройства с полым катодом. Электроды нейтрализатора 13 подключены к источнику электропитания 14. В качестве газоразрядного устройства (нейтрализатора пространственного заряда) может использоваться, например, источник электронов, описанный в патенте RU 2270491 C2 (опубл. 20.02.2006). В рассматриваемом примере нейтрализатор 13 установлен в полости камеры ионизации и ускорения ионов соосно прямоточному каналу. Выход нейтрализатора 13 сообщен с пространственной областью за пределами электродов ионно-оптической системы 7, в которой образуется ускоренный ионный поток, через диэлектрический транспортирующий канал 15. С помощью канала 15 осуществляется транспортировка электронов из нейтрализатора 13 через осевую часть прямоточного канала и электроды ионно-оптической системы 7.

[32]

Вариант конструкции ПЭРД, изображенный на фиг. 2, отличается от описанного выше примера реализации изобретения формой выполнения витков индуктора. Спираль индуктора 16 выполнена в виде ленты со скругленными торцевыми частями. Боковые поверхности ленты ориентированы под острым углом 45° по отношению к оси симметрии прямоточного канала в направлении к электродам ионно-оптической системы 7. При данной форме выполнения индуктора между поверхностями близлежащих витков образуются протяженные каналы, по которым частицы рабочего вещества направляются в разрядный объем, расположенный между витками индуктора 16 и эмиссионным электродом 8 ионно-оптической системы 7. При наклонном расположении каналов, образованных витками индуктора 16, существенно снижается вероятность ухода нейтральных частиц из области горения электрического разряда в обратном направлении - к газозаборному устройству.

[33]

Вариант конструкции ПЭРД, изображенный на фиг. 3, отличается от примера реализации изобретения, изображенного на фиг. 1, формой индуктора. Витки индуктора 17 расположены вдоль сферической поверхности шарового сегмента, вершина которого обращена к газозаборному устройству, а плоское основание - к электродам ионно-оптической системы 7. При данной форме выполнения индуктора 17 разрядный объем камеры ионизации и ускорения ионов имеет полусферическую форму. Выбор формы разрядного объема влияет на расчетные размеры камеры ионизации и ускорения ионов и на габаритные размеры ПЭРД в целом. Форма индуктора выбирается в зависимости от исходных данных по размерам, электрическим и тяговым характеристикам ПЭРД. В качестве образующей поверхности вращения, вдоль которой размещаются витки индуктора, может быть выбран отрезок иной кривой линии второго порядка, наряду с отрезком окружности.

[34]

Поперечное сечение витков индуктора 17, изображенного на фиг. 3, имеет форму эллипса (частный случай овала). Большая ось овального поперечного сечения витков индуктора 17, имеющего форму эллипса, ориентирована под острым углом 45° по отношению к оси симметрии прямоточного канала в направлении к электродам ионно-оптической системы 7. Между поверхностями близлежащих витков образуются протяженные каналы, ограниченные криволинейными боковыми поверхностями близлежащих витков индуктора 17. По данным каналам, как и в примере, изображенном на фиг. 2, частицы рабочего вещества направляются в разрядный объем, расположенный между витками индуктора 17 и эмиссионным электродом 8.

[35]

Вариант конструкции ПЭРД, изображенный на фиг. 3, отличается также расположением нейтрализатора пространственного заряда ионного потока. В рассматриваемом примере нейтрализатор 13 расположен снаружи корпуса 1 на его боковой поверхности. Нейтрализатор 13 выполнен в виде газоразрядного устройства с полым катодом и снабжен дополнительным электродом 18, с помощью которого осуществляется поджиг и поддержание основного разряда в полом катоде. Выходное отверстие нейтрализатора 13 расположено у выходного отверстия прямоточного канала за замедляющим электродом 10 ионно-оптической системы 7. Электропитание газоразрядного устройства осуществляется с помощью источника электропитания 14, подключенного к нейтрализатору 13, и дополнительного источника электропитания 19, подключенного к дополнительному электроду 18. Данная схема нейтрализации пространственного заряда ионного потока позволяет использовать в качестве рабочего вещества инертные газы, традиционно применяемые в газоразрядных устройствах. Подача инертного газа в нейтрализатор 13 может осуществляться с помощью системы подачи и хранения газообразного рабочего вещества, размещаемой на борту НКА.

[36]

Работа ПЭРД осуществляется следующим образом.

[37]

При движении НКА на орбитах высотой от 180 км до 280 км над поверхностью Земли в газозаборное устройство ПЭРД попадают атомы и молекулы остаточной атмосферы планеты (направление движения частиц остаточной атмосферы на входе в каналы 2 показано стрелками на фиг. 1- 3). Концентрация захватываемых газозаборным устройством нейтральных частиц зависит от высоты орбиты, солнечной и геомагнитной активности, а их скорость соответствует круговой скорости движения НКА вокруг планеты. В этом случае движение частиц можно рассматривать как свободномолекулярное (число Кнудсена больше 10). Длина свободного пробега частиц превышает продольный размер прямоточного канала ПЭРД. При указанных условиях уровень концентрации частиц газообразного рабочего вещества при низкоорбитальных полетах с относительно небольшим аэродинамическим торможением оказывается недостаточным для эффективной организации процесса ионизации и ускорения ионного потока.

[38]

Увеличение концентрации частиц газообразного рабочего вещества обеспечивается при минимальном аэродинамическом сопротивлении двигателя за счет использования цилиндрического прямоточного канала, в полости которого образована входная камера 3, ограниченная с одной стороны каналами 2 газозаборного устройства, а с противоположной стороны - витками индуктора, выполняющими одновременно функцию ввода высокочастотной электромагнитной энергии в разрядный объем и функцию отражателя частиц, вектор скорости которых направлен параллельно оси симметрии прямоточного канала. Для одновременного решения указанных задач витки индуктора, имеющего форму спирали, расположены вдоль поверхности вращения, соосной прямоточному каналу. Площадь поперечного сечения поверхности вращения увеличивается в направлении от газозаборного устройства к электродам ионно-оптической системы 7. При такой форме и расположении индуктора разрядный объем (ионизатор) в полости прямоточного канала ограничен с одной стороны витками индуктора, а с противоположной - эмиссионным электродом 8 ионно-оптической системы 7. Для снижения влияния индуктора на направленное движение ионов и исключения распыления индуктора заряженными частицами на поверхность его витков нанесено изолирующее диэлектрическое покрытие, проницаемое для генерируемого индуктором электромагнитного поля.

[39]

Условия, определяющие форму индуктора и его расположение в прямоточном канале, могут быть реализованы в различных вариантах конструкции ПЭРД. Так, в примере, изображенном на фиг. 1, витки индуктора 5 расположены вдоль конической поверхности, вершина которой обращена к каналам 2 газозаборного устройства, а основание - к электродам ионно-оптической системы 7. В другом примере, изображенном на фиг. 3, витки индуктора 17 расположены вдоль сферической поверхности шарового сегмента, вершина которого обращена к каналам 2, а плоское основание - к электродам ионно-оптической системы 7. В качестве образующей поверхности вращения могут использоваться отрезки кривых линий второго порядка.

[40]

Попадая в каналы 2 газозаборного устройства, часть частиц набегающего потока, вектор скорости которых параллелен поверхности каналов 2 и оси симметрии прямоточного канала, будет двигаться вдоль стенок каналов 2, не испытывая соударений с его поверхностью. Такие частицы попадут во входную камеру 3 из набегающего потока без изменения направления движения. Другие частицы набегающего потока, вектор скорости которых имеет составляющую, направленную перпендикулярно поверхности стенок каналов 2, будут соударяться с поверхностью стенок каналов 2. Для реализации данного условия используются достаточно протяженные каналы 2 газозаборного устройства. Оптимальная длина каналов 2 выбирается в зависимости от высоты орбиты НКА в диапазоне от 5⋅S1/2 до 10⋅S1/2, где S - площадь поперечного сечения канала 2 с наибольшей площадью поперечного сечения. В рассматриваемых примерах реализации изобретения .

[41]

В результате реализации диффузного механизма отражения большая часть частиц, вектор скорости которых не параллелен оси симметрии прямоточного канала, попадет во входную камеру 3 с меньшими величинами скоростей и с измененными векторами скоростей. Однако даже в этом случае длина свободного пробега частиц будет больше продольного размера прямоточного канала. Существенное снижение скорости нейтральных частиц набегающего потока остаточной атмосферы обеспечивается за счет использования индуктора, имеющего определенные форму и расположение в полости прямоточного канала. Сталкиваясь с поверхностью витков индуктора, частицы возвращаются во входную камеру, где за счет взаимных столкновений и столкновений со стенками камеры происходит хаотизация их движения и снижение их скорости. В результате этого обеспечивается термализация частиц рабочего вещества во входной камере 3. Вследствие протекания данных процессов повышается концентрация частиц рабочего вещества, проникающих через каналы, образованные близлежащими витками индуктора, в разрядный объем. Поперечное сечение разрядного объема увеличивается в направлении к электродам ионно-оптической системы 7 - в область локализации высокочастотного электромагнитного поля.

[42]

В примерах, изображенных на фиг. 1 и 2, разрядный объем, ограниченный витками индуктора (5 и 16 соответственно), расположенными вдоль конической поверхности, и плоской поверхностью эмиссионного электрода 8, имеет коническую форму. В примере, изображенном на фиг. 3, разрядный объем, ограниченный витками индуктора 17, расположенными вдоль сферической поверхности шарового сегмента, и плоской поверхностью эмиссионного электрода 8, имеет форму шарового сегмента.

[43]

Каналы, через которые термализованные частицы проникают из входной камеры 3 в разрядный объем (ионизатор), могут быть образованы витками индуктора, имеющими поперечное сечение в форме круга (см. фиг. 1). Для организации направленного движения термализованных частиц из входной камеры 3 в направлении к осевой части разрядного объема может использоваться индуктор 17, поперечное сечение витков которого имеет форму овала (см. фиг. 3). В этом случае между поверхностями близлежащих витков индуктора образуются каналы, направленные к оси симметрии прямоточного канала. Для этого большая ось овала поперечного сечения витков индуктора 17 ориентирована под острым углом 45° по отношению к оси симметрии прямоточного канала в направлении к электродам ионно-оптической системы 7. Величина угла наклона большой оси овала по отношению к оси симметрии прямоточного канала выбирается в диапазоне оптимальных значений от 15° до 45°.

[44]

В упрощенном варианте конструкции витки индуктора 16, изображенного на фиг. 2, выполняются в виде ленты. Боковые поверхности ленты индуктора 16 ориентированы под острым углом по отношению к оси симметрии прямоточного канала. Выбирая угол наклона боковых поверхностей ленты индуктора 16 в диапазоне от 15° до 45°, можно обеспечить полное перекрытие прямого направления движения нейтральных частиц параллельно оси симметрии прямоточного канала.

[45]

Вероятность удержания нейтральных частиц рабочего вещества в разрядном объеме увеличивается также за счет их отражения от поверхности эмиссионного перфорированного электрода 8 и ускоряющего перфорированного электрода 9 ионно-оптической системы 7. Для этого степень прозрачности электродов 8 и 9 по отношению к нейтральным частицам выбирается равной 0,2. При этом степень прозрачности электродов 8 и 9 по отношению к ионам рабочего вещества в процессе их ускорения с помощью ионно-оптической системы 7 составляет 0,8. Высокая степень прозрачности электродов по отношению к ионам и низкая степень прозрачности для нейтральных частиц достигается за счет выбора соотношения размеров отверстий в электродах: диаметр отверстий в ускоряющем электроде 9 выбирается более чем 1,5 раза меньшим по сравнению с диаметром отверстий в эмиссионном электроде 8.

[46]

Для повышения степени хаотизации движения нейтральных частиц и их термализации во входной камере 3 используются кольцевые отражатели 4, образующие со стенкой камеры глухие каналы, ориентированные в направлении к оси симметрии прямоточного канала. Нейтральные частицы при соударении с отражателями 4 и стенками цилиндрической камеры изменяют направление вектора скорости, приобретают скорости, определяемые температурой контактирующей поверхности, и направляются в осевую часть входной камеры 3. Данные процессы способствует снижению величины скорости частиц и их термализации перед входом в разрядный объем. В результате проведенных экспериментов и численного моделирования было установлено, что при использовании указанных выше технических средств концентрация нейтральных частиц в разрядном объеме достигает уровня от 1017 м-3 до 1018 м-3. Данный уровень концентрации частиц рабочего вещества обеспечивает устойчивое горение высокочастотного индукционного разряда.

[47]

При подключении токоподводов индуктора 5 (см. фиг. 1) к высокочастотному генератору 6 осуществляется зажигание и поддержание горения высокочастотного индукционного разряда в газовой среде. Высокочастотные токи в индукторе 5 индуцируют в разрядном объеме (области ионизации рабочего вещества) изменяющееся магнитное поле, которое генерирует высокочастотное электрическое поле. Генерируемое электрическое поле ускоряет электроны, вызывая их осцилляцию с частотой высокочастотного поля. Энергия поля, аккумулируемая осциллирующими электронами, расходуется на неупругие столкновения с атомами и ионами рабочего вещества, вызывая их возбуждение и/или ионизацию.

[48]

Баланс электронов в разрядном объеме определяется скоростью образования электронов в процессе ионизации и скоростью их ухода на стенки прямоточного канала, поверхность витков индуктора 5 и эмиссионного электрода 8. Баланс атомов и ионов в разрядном объеме определяется скоростями ионизации и ухода атомов и ионов на стенки прямоточного канала, поверхность витков индуктора 5 и в отверстия электродов ионно-оптической системы 7. Уменьшение ухода ионов на поверхность витков индуктора 5 и, как следствие, снижение вероятности разрушения индуктора обеспечивается за счет использования защитного диэлектрического покрытия, нанесенного на поверхность витков индуктора. Данное покрытие проницаемо для генерируемого электромагнитного поля.

[49]

Образовавшиеся в результате ионизации рабочего вещества ионы диффундируют под действием электростатического поля к электродам ионно-оптической системы 7 при сохранении квазинейтральности плазмы, заполняющей разрядный объем. Ускорение ионов осуществляется с помощью электродов ионно-оптической системы 7. Эмиссионный электрод 8 находится под положительным потенциалом, задаваемым источником электропитания 11. Потенциал электрода 8 определяет энергию извлекаемых ионов. На ускоряющий электрод 9 подается отрицательный потенциал от источника электропитания 12. Потенциал электрода 9 препятствует прохождению через ионно-оптическую систему 7 электронов, снижающих эффективность ускорения ионов. На выходной замедляющий электрод 10 подается потенциал от источника электропитания 12, величина которого равна потенциалу корпуса двигателя и, соответственно, потенциалу корпуса НКА, на котором установлен ПЭРД.

[50]

Ускоренный ионный поток формируется из отдельных ионных пучков, проходящих через совокупность соосных отверстий, выполненных в электродах ионно-оптической системы 7. В каналах соосных отверстий электродов 8, 9 и 10 происходит ускорение ионов под действием приложенной разности потенциалов с фокусировкой пучка ионов в направлении к оси симметрии каналов отверстий. Совокупность отдельных пучков ионов, ускоряемых через отверстия, выполненные в электродах 8, 9 и 10, образует на выходе из ионно-оптической системы 7 общий ускоренный поток положительно заряженных ионов (направление движения ускоренного ионного потока на выходе из ионно-оптической системы 7 показано стрелками на фиг. 1- 3).

[51]

Для компенсации пространственного положительного заряда ускоренного ионного потока используется нейтрализатор 13, с помощью которого электроны эмитируются в ускоренный ионный поток. В примере, изображенном на фиг. 1, нейтрализатор 13 установлен в полости камеры ионизации и ускорения ионов. В этом случае в качестве рабочего вещества газоразрядного устройства используется набегающий газовый поток остаточной атмосферы. Электроды нейтрализатора 13 подключаются к источнику электропитания 14. При осевом расположении нейтрализатора 13 транспортировка электронов через электроды 7, 8 и 9 осуществляется с помощью диэлектрического транспортирующего канала 15, соединяющего выходное отверстие эмиттера электронов с пространственной областью, расположенной за пределами электродов ионно-оптической системы 7. На выходе из ПЭРД генерируется скомпенсированный по заряду и величине тока ускоренный поток ионов, создающий реактивную тягу.

[52]

Работа ПЭРД, изображенных на фиг. 2 и 3, осуществляется аналогичным образом. В варианте конструкции ПЭРД, изображенном на фиг. 2, в качестве устройства ввода электромагнитной энергии в разрядный объем используется индуктор 16, выполненный виде ленты со скругленными торцевыми частями. Боковые поверхности ленты ориентированы под углом 45° по отношению к оси симметрии прямоточного канала. Витки индуктора 16 расположены вдоль конической поверхности. При данном выполнении индуктора обеспечивается направленное движение частиц рабочего вещества из входной камеры 3 в разрядный объем через протяженные каналы, образованные боковыми поверхностями близлежащих витков ленты индуктора.

[53]

Витки индуктора 16 препятствуют прямому прохождению нейтральных частиц (без соударений с другими частицами и стенками канала) из входной камеры 3 в камеру ионизации и ускорения ионов. Частицы, соударяясь с боковой поверхностью витков индуктора, расположенной под острым углом по отношению к направлению движения частиц, отклоняются от первоначальной траектории, при этом в результате соударений снижается скорость частиц. За счет отражения от поверхностей витков индуктора нейтральные частицы двигаются в направлении к осевой части разрядного объема, испытывая неупругие соударения с осциллирующими электронами и тяжелыми частицами. В этом случае существенно снижается вероятность прямого пролета частицами набегающего потока через прямоточный канал без взаимодействия (соударений) с другими частицами. Из-за дополнительного перераспределения частиц рабочего вещества, как по направлению движения, так и по величине скорости, повышается их концентрация в разрядном объеме, ограниченном витками индуктора 16, поверхностью эмиссионного электрода 8 и стенками прямоточного канала.

[54]

Аналогично данный процесс протекает для варианта конструкции ПЭРД, изображенного на фиг. 3. В этом случае протяженные каналы между близлежащими витками индуктора 17 ограничены боковыми криволинейными поверхностями витков, поперечное сечение которых имеет форму эллипса (частный случай овала). Заданная ориентация каналов к оси симметрии прямоточного канала обеспечивается за счет того, что большая ось эллипса, ограничивающего поперечное сечения каждого витка, ориентирована под острым углом по отношению к оси симметрии прямоточного канала в направлении к электродам ионно-оптической системы 7. Угол наклона большой оси эллипса по отношению к оси симметрии прямоточного канала преимущественно выбирается в диапазоне оптимальных значений от 15° до 45°.

[55]

В примере конструкции ПЭРД, изображенном на фиг. 3, используется нейтрализатор 13 пространственного заряда, установленный с внешней стороны корпуса 1. Поджиг и поддержание электрического разряда в нейтрализаторе 13 осуществляется с помощью поджигного электрода 18, подключаемого к дополнительному источнику электропитания 19. Электропитание основного электрического разряда, горящего в газоразрядном устройстве с полым катодом, обеспечивается от источника электропитания 14. Для данной схемы размещения нейтрализатора (на выходе из прямоточного канала за пределами электродов ионно-оптической системы 7) может использоваться система хранения и подачи газообразного рабочего вещества, в качестве которого обычно применяются инертные газы. В таких системах газообразное рабочее вещество подается в разрядный объем из баллона высокого давления.

[56]

Приведенные выше примеры реализации изобретения подтверждают возможность увеличения концентрации частиц рабочего вещества в разрядном объеме до уровня 1017-1018 м-3. Достигаемый уровень концентрации не менее чем в десять раз превышает уровень концентрации частиц рабочего вещества, характерный для прямоточных двигателей-аналогов, в которых не применяются специальные технические средства, обеспечивающие повышение концентрации газообразного вещества. При использовании цилиндрического прямоточного канала, выполненного без его сужения его входной части, из-за снижения лобового сопротивления набегающему потоку достигается минимальное аэродинамическое торможение при работе НКА на низких околоземных орбитах (от 180 км до 280 км). Вследствие этого повышается эффективность использования газообразного рабочего вещества и увеличивается удельный импульс двигателя. Кроме того, за счет уменьшения длины свободного пробега частиц в прямоточном канале двигателя можно сократить продольный габаритный размер ПЭРД.

[57]

Вышеописанные примеры осуществления изобретения основываются на конкретных вариантах конструкции ПЭРД, однако это не исключает возможности достижения технического результата и в других частных случаях реализации изобретения в том виде, как оно охарактеризовано в независимом пункте формулы. В зависимости от заданных характеристик ПЭРД, включая ограничения по габаритным размерам и энергопотреблению, и от состава остаточной атмосферы выбираются форма и размеры индуктора, форма и размеры поперечного сечения витков индуктора, а также размеры и форма каналов заборного устройства. Так, например, наряду с конической и сферической формой поверхности вращения, вдоль которой располагаются витки индуктора, может использоваться поверхность параболоида вращения или иная поверхность вращения, образующей которой является отрезок кривой линии второго порядка. При выборе формы поверхности вращения должны соблюдаться существенные условия, согласно которым площадь поперечного сечения поверхности вращения увеличивается в направлении от газозаборного устройства к электродам ионно-оптической системы при соосном расположении индуктора в прямоточном канале.

[58]

Форма и размеры поперечного сечения витков индуктора также выбираются в зависимости от заданных расчетных условий, определяемых условиями эксплуатации НКА. В случае использования индуктора, поперечное сечение витков которого имеет форму овала, угол наклона большой оси овала по отношению к оси симметрии прямоточного канала преимущественно выбирается в диапазоне от 15° до 45°. Значения угла наклона большой оси овала зависят от геометрических размеров спирали индуктора и прямоточного канала. Указанный диапазон оптимальных значений острого угла наклона каналов, образованных поверхностями близлежащих витков спирали, не исключает возможности выбора величины угла и за его пределами при определенных геометрических размерах элементов конструкции устройства и скоростных характеристиках набегающего потока. Аналогичным образом выбирается и угол наклона боковых поверхностей витков индуктора, выполненного в виде ленты, и, соответственно, острый угол наклона каналов, образованных боковыми поверхностями близлежащих витков ленты индуктора, к оси симметрии прямоточного канала. В качестве материала покрытия витков индуктора, проницаемого для электромагнитного поля, наряду с алундом, могут применяться и другие изолирующие диэлектрические материалы, например кварцевое стекло.

[59]

В конкретных условиях эксплуатации ПЭРД могут не использоваться кольцевые отражатели 4, которые устанавливаются вдоль цилиндрической поверхности входной камеры 3. В зависимости от расчетной орбиты НКА, высота которой определяет концентрацию газообразного рабочего вещества в остаточной атмосфере планеты, выбирается форма поперечного сечения каналов газозаборного устройства и их длина, которая зависит от площади поперечного сечения каналов. Длина каналов выбирается в диапазоне оптимальных значений , однако это не исключает возможности выбора длины каналов при определенных условиях работы НКА за пределами указанного диапазона значений. Наряду с шестиугольной сотовой формой поперечного сечения, каналы 2 могут иметь прямоугольную, квадратную или аксиально-симметричную кольцевую форму (см., например, устройство-прототип, раскрытое в патенте US 6834492 B2, на фиг. 5).

[60]

Конструкция нейтрализатора пространственного заряда, количество нейтрализаторов и место их установки выбираются в зависимости от концентрации частиц в остаточной атмосфере, размера поперечного сечения прямоточного канала и характеристик высокочастотного разрядного устройства. В зависимости от условий эксплуатации ПЭРД в качестве рабочего вещества нейтрализатора может использоваться газовая среда остаточной атмосферы или газообразное рабочее вещество, например инертный газ, содержащийся в баллоне высокого давления на борту НКА. В качестве электродов ионно-оптической системы могут использоваться не только перфорированные пластины, но и сетчатые электроды. Выходной замедляющий электрод, в частности, может быть выполнен в виде кольца, охватывающего ускоренный ионный поток.

[61]

ПЭРД может применяться в составе КДУ на борту НКА, имеющих различные функциональные назначения, включая исследовательские задачи по дистанционному зондированию поверхности планет и телекоммуникационные функции.

Как компенсировать расходы
на инновационную разработку
Похожие патенты