патент
№ RU 2641620
МПК H01L31/107

ЛАВИННЫЙ ФОТОДЕТЕКТОР

Авторы:
Шубин Виталий Эммануилович
Номер заявки
2016137501
Дата подачи заявки
20.09.2016
Опубликовано
18.01.2018
Страна
RU
Как управлять
интеллектуальной собственностью
Чертежи 
3
Реферат

[121]

Изобретение может быть использовано для регистрации слабых световых сигналов в системах связи, мониторинга окружающей среды и других областях. Лавинный детектор содержит расположенные на одной и той же подложке фотопреобразователь оптического сигнала, подлежащего детектированию, в ток свободных носителей заряда и по меньшей мере один лавинный усилитель этого тока, имеющий два слоя: контактный и слой умножения, при этом слой умножения обращен к подложке, выполнен из полупроводникового материала того же типа проводимости, что и фотопреобразователь, и примыкает к этому фотопреобразователю, образуя с ним электрический контакт, при этом первый электрод размещен на контактном слое лавинного усилителя, а второй - на проводящей подложке. Также предложен второй вариант фотопреобразователя, в котором между слоем умножения и подложкой расположен буферный слой, примыкающий к фотопреобразователю и образующий с ним электрический контакт, причем слой умножения, фотопреобразователь и упомянутый буферный слой выполнены из полупроводникового материала одного и того же типа проводимости, первый электрод размещен на контактном слое лавинного усилителя, а второй - на проводящей подложке. Изобретение позволяет реализовывать лавинный детектор, имеющий высокую пороговую чувствительность, не ограниченную избыточными темновыми шумами при переносе фотоносителей из фотопреобразователя в лавинный усилитель. 2 н. и 22 з.п. ф-лы, 8 ил.

Формула изобретения

1. Лавинный детектор, содержащий расположенные на одной и той же подложке фотопреобразователь оптического сигнала, подлежащего детектированию, в ток свободных носителей заряда и по меньшей мере один лавинный усилитель этого тока, имеющий два слоя: контактный и слой умножения, отличающийся тем, что слой умножения обращен к подложке, выполнен из полупроводникового материала того же типа проводимости, что и фотопреобразователь, и примыкает к этому фотопреобразователю, образуя с ним электрический контакт, при этом первый электрод размещен на контактном слое лавинного усилителя, а второй - на проводящей подложке.

2. Лавинный детектор, содержащий расположенные рядом на одной и той же подложке фотопреобразователь оптического сигнала, подлежащего детектированию, в ток свободных носителей заряда и по меньшей мере один лавинный усилитель этого тока, имеющий два слоя: контактный и слой умножения, отличающийся тем, что между слоем умножения и подложкой расположен буферный слой, примыкающий к фотопреобразователю и образующий с ним электрический контакт, причем слой умножения, фотопреобразователь и упомянутый буферный слой выполнены из полупроводникового материала одного и того же типа проводимости, первый электрод размещен на контактном слое лавинного усилителя, а второй - на проводящей подложке.

3. Лавинный детектор по пп. 1, 2, отличающийся тем, что слой умножения лавинного усилителя выполнен из того же полупроводникового материала, что и фотопреобразователь.

4. Лавинный детектор по п. 2, отличающийся тем, что буферный слой выполнен из того же полупроводникового материала, что слой умножения и фотопреобразователь.

5. Лавинный детектор по пп. 2, 4, отличающийся тем, что буферный слой имеет толщину, равную той, которую имеет фотопреобразователь.

6. Лавинный детектор по любому пп. 1-5, отличающийся тем, что лавинный усилитель представляет собой P/N переход, образованный слоем умножения и контактным слоем.

7. Лавинный детектор по любому пп. 1-6, отличающийся тем, что он дополнительно содержит коллекторный слой, расположенный на внешней поверхности фотопреобразователя, без образования электрического контакта между этим коллекторным слоем и лавинным усилителем.

8. Лавинный детектор по п. 7 отличающийся тем, что коллекторный слой выполнен из полупроводникового материала того же типа проводимости, что и фотопреобразователь,

9. Лавинный детектор по пп. 7, 8, отличающийся тем, что степень легирования полупроводникового материала коллекторного слоя превышает степень легирования фотопреобразователя.

10. Лавинный детектор по любому пп. 7-9, отличающийся тем, что коллекторный слой и фотопреобразователь выполнены из одного и того же полупроводникового материала.

11. Лавинный детектор по любому пп. 7-10, отличающийся тем, что поверхность контактного слоя лавинного усилителя, обращенная к электроду, является продолжением внешней поверхности коллекторного слоя и фотопреобразователя.

12. Лавинный детектор по любому пп. 7-10, отличающийся тем, что лавинный усилитель расположен ниже внешней поверхности слоя фотопреобразователя и коллекторного слоя, без образования электрического контакта фотопреобразователя с контактным слоем и первым электродом лавинного усилителя.

13. Лавинный детектор по пп. 7-10, отличающийся тем, что лавинный усилитель расположен ниже внешней поверхности слоя фотопреобразователя и коллекторного слоя, без образования электрического контакта между ним и фотопреобразователем.

14. Лавинный детектор по пп 7-10, отличающийся тем, что лавинный усилитель расположен ниже внешней поверхности коллекторного слоя, без образования электрического контакта между ним и этим коллекторным слоем.

15. Лавинный детектор по пп. 12, 13, отличающийся тем, что между лавинным усилителем и фотопреобразователем расположен диэлектрический материал.

16. Лавинный детектор по пп. 14, отличающийся тем, что между лавинным усилителем и коллекторным слоем расположен диэлектрический материал.

17. Лавинный детектор по п. 15, отличающийся тем, что упомянутый диэлектрический материал покрывает поверхность фотопреобразователя и коллекторного слоя.

18. Лавинный детектор по п. 16, отличающийся тем, что упомянутый диэлектрический материал покрывает поверхность коллекторного слоя.

19. Лавинный детектор по пп. 17, 18, отличающийся тем, что он содержит дополнительный прозрачный электрод, расположенный на внешней поверхности первого электрода и диэлектрического материала.

20. Лавинный детектор по любому из пп. 7-10, отличающийся тем, что верхняя поверхность контактного слоя лавинного усилителя расположена выше внешней поверхности фотопреобразователя и коллекторного слоя.

21. Лавинный детектор по п. 20, отличающийся тем, что он дополнительно содержит слой диэлектрика, расположенный на внешних поверхностях фотопреобразователя и коллекторного слоя и примыкающий к боковой поверхности лавинного усилителя.

22. Лавинный детектор по п. 21, отличающийся тем, что первый электрод расположен на внешней поверхности контактного слоя лавинного усилителя и слоя диэлектрика и выполнен прозрачным.

23. Лавинный детектор по любому из пп. 1-22, отличающийся тем, что дополнительно содержит слой высокоомного материала, расположенный между контактным слоем лавинного усилителя и первым электродом.

24. Лавинный детектор по любому из пп. 1-23, отличающийся тем, что первые электроды лавинных усилителей электрически соединены друг с другом.

Описание

[1]

Область техники, к которой относится изобретение

[2]

[0001] Настоящее изобретение относится к фотодетекторам, а точнее к лавинным фотодетекторам (ЛФД), регистрирующим слабые световые сигналы. Такие ЛФД широко используются в системах связи, мониторинга окружающей среды, в медицине и биологии, в робототехнике и т.д.

[3]

Описание аналогов и прототипа

[4]

[0002] Традиционный ЛФД состоит из последовательно нанесенных на полупроводниковую подложку различных полупроводниковых слоев материалов. Одна группа таких слоев образует фотопреобразователь, в котором сигнальные фотоны, поглощаясь, создают свободные носители заряда: электроны или дырки. Эти образованные светом носители заряда попадают в другую группу слоев полупроводниковых материалов - лавинный усилитель, в котором формируется область электрического поля с напряженностью, достаточной для лавинного умножения этих носителей.

[5]

[0003] Таким образом, ЛФД содержит фотопреобразователь сигнальных фотонов в электроны и лавинный усилитель, увеличивающий ток этих фотоэлектронов (фототок) до величины, регистрируемой стандартными полупроводниковыми усилителями.

[6]

[0004] Основным параметром ЛФД является пороговая чувствительность, определяемая как свойствами самого фотопреобразователя, так и лавинного усилителя. В частности, пороговую чувствительность в значительной степени ограничивает величина темнового тока лавинного усилителя, основная доля которой вызвана сильным полем, необходимым для процесса лавинного умножения фотоносителей.

[7]

[0005] Для уменьшения темнового тока лавинного усилителя и, следовательно, улучшения пороговой чувствительности ЛФД можно уменьшать площадь лавинного усилителя по сравнению с площадью фотопреобразователя.

[8]

[0006] Это реализуется в конструкции ЛФД, патенты AU 2014201708 (A1), US 9,035,410 B2, где лавинный усилитель расположен рядом с фотопреобразователем на общей подложке, при этом площадь фотопреобразователя превосходит площадь усилителя.

[9]

[0007] Электрическая связь между фотопреобразователем и лавинным усилителем в приведенной выше конструкции осуществляется токопроводящей перемычкой, т.е. является внешней по отношению к основным полупроводниковым частям прибора: фотопреобразователю и лавинному усилителю.

[10]

Недостатки прототипа

[11]

[0008] Такой перенос фотоносителей из фотопреобразователя в лавинный усилитель через внешнюю электрическую цепь, а не внутри единой полупроводниковой конструкции, чувствителен к избыточным шумам, что значительно снижает чувствительность прибора к слабым сигналам, т.е. его пороговую чувствительность.

[12]

Постановка задачи

[13]

[0009] Задачей настоящего изобретения является создание такого лавинного фотодетектора, конструкция которого позволяла бы реализовывать высокую пороговую чувствительность, не ограниченную избыточными темновыми шумами при переносе фотоносителей из фотопреобразователя в лавинный усилитель.

[14]

Краткое описание изобретения

[15]

[0010] Данное изобретение представляет лавинный фотодетектор (ЛФД), конструкция которого позволяет избежать одного или более недостатков прототипа.

[16]

[0011] Эта задача решается тем, что в лавинном фотодетекторе, содержащем расположенные рядом на одной и той же подложке фотопреобразователь сигнала, подлежащего детектированию в свободные носители заряда и по меньшей мере один лавинный усилитель этих носителей, имеющий два слоя: контактный и слой умножения, согласно изобретению слой умножения обращен к подложке и выполнен из полупроводникового материала того же типа проводимости, что и фотопреобразователь сигнала и непосредственно примыкает к этому фотопреобразователю, при этом первый электрод размещен на контактном слое лавинного усилителя, а второй - на подложке, которая является проводящей.

[17]

[0012] Слой умножения лавинного усилителя может быть выполнен из того же полупроводникового материала, что и фотопреобразователь сигнала. Лавинный усилитель может представлять собой р-n-переход, образованный слоем умножения и контактным слоем.

[18]

[0013] На внешней поверхности фотопреобразователя сигнала желательно расположить коллекторный слой, а между этим слоем и слоем умножения выполнить зазор, причем этот коллекторный слой можно выполнить из полупроводникового материала того же типа проводимости, что и фотопреобразователь сигнала, при этом степень легирования полупроводникового материала коллекторного слоя следует выполнить превышающей степень легирования фотопреобразователя сигнала.

[19]

[0014] Коллекторный слой и фотопреобразователь сигнала либо коллекторный слой, фотопреобразователь сигнала и лавинный усилитель можно выполнить из одного и того же полупроводникового материала.

[20]

[0015] Поверхность контактного слоя лавинного усилителя, обращенная к первому электроду, может являться продолжением внешней поверхности коллекторного слоя. Целесообразно слой умножения и контактный слой лавинного усилителя выполнить в виде мезаструктуры.

[21]

[0016] Лавинный фотодетектор может содержать слой диэлектрика, расположенный на внешней поверхности коллекторного слоя и фотопреобразователя сигнала, примыкающий к боковой поверхности лавинного усилителя, при этом внешняя поверхность слоя диэлектрика является продолжением внешней поверхности контактного слоя лавинного усилителя, а первый электрод может быть расположен на внешней поверхности контактного слоя лавинного усилителя и слоя диэлектрика и может быть выполнен прозрачным.

[22]

[0017] Лавинный усилитель можно расположить ниже верхней поверхности фотопреобразователя сигнала, при этом его контактный слой и первый электрод отстоят от фотопреобразователя сигнала на некотором расстоянии. В этом случае пространство между лавинным усилителем и фотопреобразователем может быть заполнено диэлектрическим материалом, покрывающим поверхность фотопреобразователя и коллекторного слоя, а на внешней поверхности первого электрода и диэлектрического материала целесообразно расположить дополнительный прозрачный электрод.

[23]

[0018] Возможно лавинный фотодетектор снабдить слоем высокоомного материала, расположенным между контактным слоем лавинного усилителя и первым электродом.

[24]

[0019] В случае нескольких лавинных усилителей соответствующие каждому из них первые электроды целесообразно электрически соединить между собой.

[25]

[0020] Дополнительные особенности и преимущества изобретения станут понятны из последующего описания и, возможно, уточнятся практикой использования изобретения.

[26]

Преимущества изобретения достигаются при точном изготовлении конструкции, приведенной в описании, собственно пунктах, а также добавленных чертежах.

[27]

[0021] Необходимо понимать, что как перечень чертежей, так и последующее детальное описание являются примерами, нацеленными на объяснение пунктов изобретения.

[28]

КРАТКОЕ ОПИСАНИЕ ЧЕРТЕЖЕЙ

[29]

[0022] Приведенные ниже чертежи, объясняющие конструкцию, являются частью изобретения, иллюстрируя его суть вместе с дальнейшим описанием.

[30]

[0023] Перечень чертежей

[31]

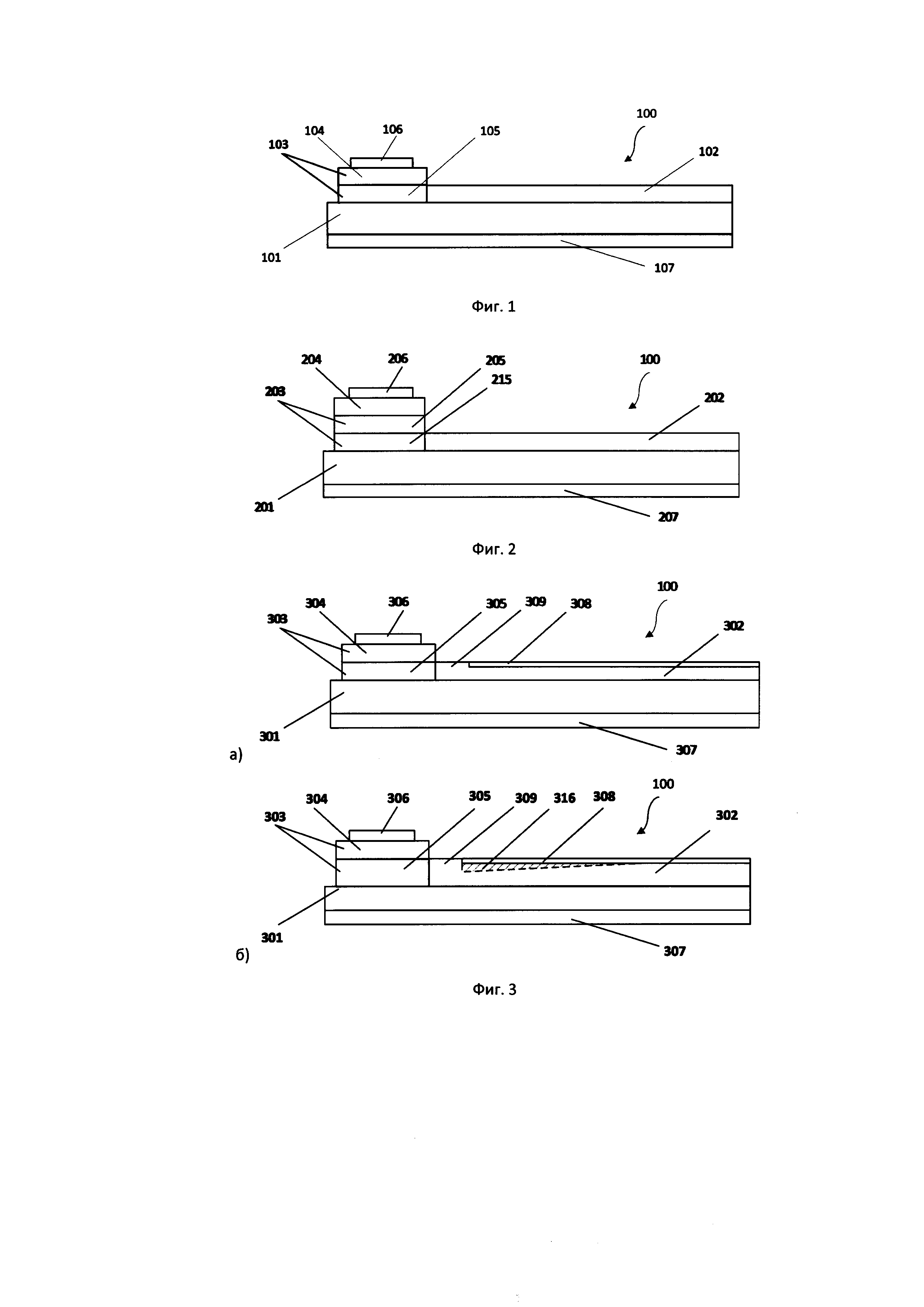
[0024] Фиг. 1 является схематическим изображением поперечного разреза заявляемого лавинного фотодетектора, содержащего расположенные рядом на одной и той же подложке фотопреобразователь сигнала, подлежащего детектированию в свободные носители заряда и лавинный усилитель этих носителей, имеющий контактный слой и слой умножения, обращенный к подложке и непосредственно примыкающий к фотопреобразователю, а также два электрода, размещенных на контактном слое лавинного усилителя и на подложке.

[32]

[0025] Фиг. 2 является схематическим изображением поперечного разреза второго варианта заявляемого лавинного фотодетектора, содержащего расположенные рядом на одной и той же подложке фотопреобразователь сигнала, подлежащего детектированию в свободные носители заряда, лавинный усилитель этих носителей, имеющий контактный слой и слой умножения, обращенный к подложке, а также буферный слой, расположенный между слоем умножения и подложкой и примыкающий к фотопреобразователю, и два электрода, размещенных на контактном слое лавинного усилителя и на подложке.

[33]

[0026] Фиг. 3A является схематическим изображением поперечного разреза третьего варианта заявляемого лавинного фотодетектора, содержащего коллекторный слой, расположенный на внешней поверхности фотопреобразователя сигнала с зазором между этим слоем и слоем умножения.

[34]

[0027] Фиг. 3B является схематическим изображением поперечного разреза третьего варианта заявляемого лавинного фотодетектора с нарисованным скрытым каналом.

[35]

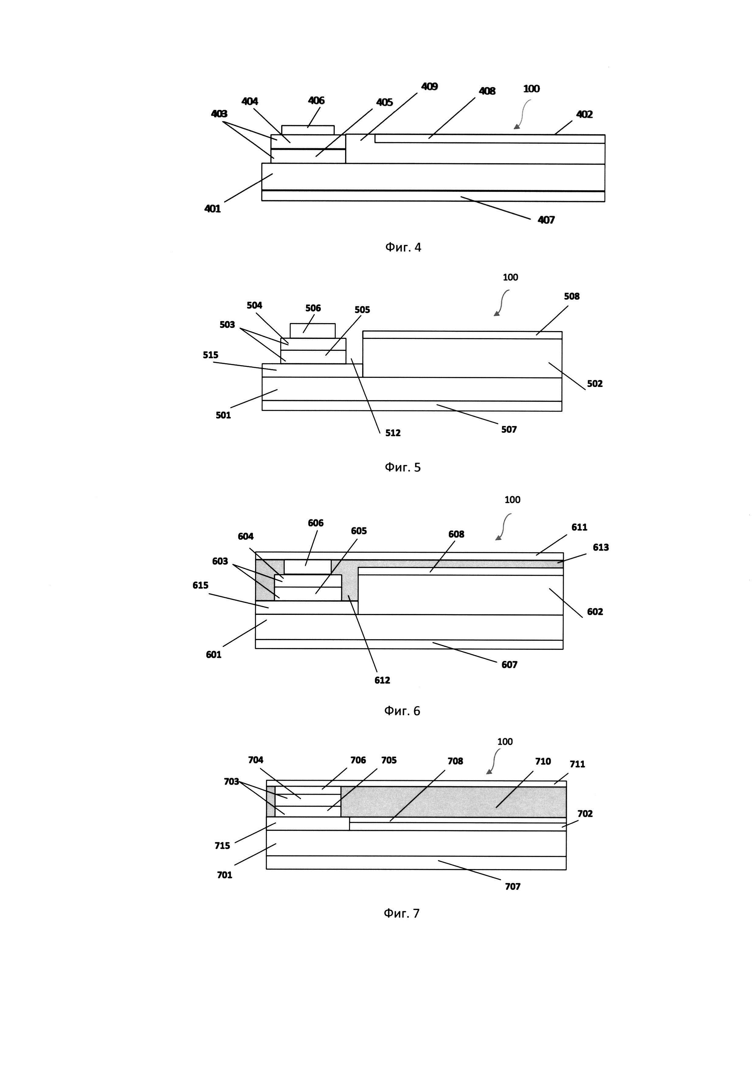
[0028] Фиг. 4 является схематическим изображением поперечного разреза четвертого варианта заявляемого лавинного фотодетектора с контактным слоем лавинного усилителя, поверхность которого, обращенная к электроду, является продолжением внешней поверхности коллекторного слоя.

[36]

[0029] Фиг. 5 является схематическим изображением поперечного разреза пятого варианта заявляемого лавинного фотодетектора с лавинным усилителем, расположенным ниже верхней поверхности фотопреобразователя.

[37]

[0030] Фиг. 6 является схематическим изображением поперечного разреза шестого варианта заявляемого лавинного фотодетектора с лавинным усилителем, расположенным ниже верхней поверхности фотопреобразователя, диэлектрическим материалом, заполняющим зазор между лавинным усилителем и фотопреобразователем, а также покрывающим поверхность фотопреобразователя и коллекторного слоя, и дополнительным прозрачным электродом, расположенным на внешней поверхности первого электрода и диэлектрического материала.

[38]

[0031] Фиг. 7 является схематическим изображением поперечного разреза седьмого варианта заявляемого лавинного фотодетектора с лавинным усилителем, расположенным выше верхней поверхности фотопреобразователя, со слоем диэлектрика, расположенным на внешней поверхности коллекторного слоя и слоя фотопреобразователя и примыкающим к боковой поверхности лавинного усилителя, а также с прозрачным электродом, расположенным на внешней поверхности контактного слоя лавинного усилителя и слоя диэлектрика.

[39]

[0032] Фиг. 8 является схематическим изображением поперечного разреза восьмого варианта заявляемого лавинного фотодетектора, содержащего слой высокоомного материала, расположенный между контактным слоем лавинного усилителя и первым электродом.

[40]

ПОДРОБНОЕ ОПИСАНИЕ ИЗОБРЕТЕНИЯ

[41]

[0033] Ссылки на элементы конструкций вариантов заявляемого лавинного фотодетектора, примеры которого изображены на чертежах.

[42]

[0034] Номера элементов конструкций, используемых в чертежах:

[43]

[0035] 01 - Подложка

[44]

[0036] 02 - Фотопреобразователь

[45]

[0037] 03 - Лавинный усилитель

[46]

[0038] 04 - Контактный слой

[47]

[0039] 05 - Слой умножения

[48]

[0040] 06 - Первый электрод

[49]

[0041] 07 - Второй электрод

[50]

[0042] 08 - Коллекторный слой

[51]

[0043] 09 - Зазор между коллекторным слоем и слоем умножения

[52]

[0044] 10 - Слой диэлектрика

[53]

[0045] 11 - Прозрачный электрод

[54]

[0046] 12 - Изолирующий зазор

[55]

[0047] 13 - Диэлектрический материал

[56]

[0048] 14 - Слой высокоомного материала

[57]

[0049] 15 - Буферный слой

[58]

[0050] 16 - Скрытый канал под коллекторным слоем 8

[59]

[0051] 100 - Регистрируемый свет

[60]

[0052] Используемые в тексте и чертежах номера ссылок состоят из номера фигуры и номера элемента конструкции, например, номер 306 означает элемент 06 из приведенного выше списка, изображенный на фиг. 3.

[61]

[0053] На фиг. 1 схематически изображен поперечный разрез заявляемого лавинного фотодетектора, содержащего расположенные рядом на одной и той же проводящей подложке 101 фотопреобразователь сигнала 102, подлежащего детектированию в свободные носители заряда, и лавинный усилитель этих носителей 103, имеющий контактный слой 104 и слой умножения 105, обращенный к подложке 101 и непосредственно примыкающий к фотопреобразователю 102, а также два электрода 106 и 107, размещенных на контактном слое лавинного усилителя 104 и на подложке 101 соответственно.

[62]

[0054] Примером такого лавинного фотодетектора может служить прибор на кремниевой подложке 101 p+-типа с концентрацией примеси более 1018 см-3, на которой расположен фотопреобразователь 102, выполненный методом эпитаксии кремния p-типа с концентрацией примеси в 1013-1015 см-3. Лавинный усилитель 103 состоит из двух слоев: слой умножения 105 толщиной 5-7 мкм изготовлен методом эпитаксии кремния р-типа с концентрацией примеси в диапазоне 1014-1017 см-3, а контактный слой 104 изготовлен с использованием диффузии примеси n-типа с концентрацией более 1018 см-3 на глубину 0.5-1.0 мкм. Для включения фотодетектора во внешнюю цепь служат два электрода: 107 к подложке и 106 к контактному слою лавинного усилителя, выполняемые, например, в виде пленки алюминия толщиной 0.5-1 мкм, или алюминия с кремнием, или двух и более слоев Mo, Ti, Au, Al.

[63]

[0055] Выбор материала, из которого изготавливается заявляемый лавинный фотодетектор, определяется преимущественно предполагаемой длиной волны регистрируемого света. Для инфракрасного излучения в диапазоне 1-5 мкм предпочтительным материалом фотопреобразователя 102 является полупроводник группы A3B5, например InGaAsP, InAlAs или другой узкозонный полупроводник. Для лавинного усилителя 103 при этом предпочтительным является более широкозонный материал, технологически совместимый с материалом фотопреобразователя и имеющий близкие параметры кристаллической решетки. Примером такой совместимой пары полупроводниковых материалов для фотопреобразователя и лавинного усилителя являются InP для усилителя и InGaAsP для фотопреобразователя. Для излучения с длиной волны менее 0.4 мкм предпочтительным является широкозонный материал, например SiC. В этом случае, как и в случае кремниевого фотопреобразователя, лавинный усилитель может быть изготовлен из того же материала, что и фотопреобразователь.

[64]

[0056] При приложении к электроду 106 положительного напряжения относительно электрода 107 с величиной, достаточной для возникновения в слое 105 лавинного усилителя процесса ударной ионизации, в этом слое происходит умножение свободных носителей заряда. При этом электрическое поле из лавинного усилителя 103 105 проникает в примыкающий преобразователь 102.

[65]

[0057] Сигнальный свет 100, падающий на поверхность фотопреобразователя 102, поглощается в этом слое и образует в нем свободные носители заряда: электроны и дырки. Свободные электроны, рожденные светом в фотопреобразователе (фотоэлектроны) 102, захватываются полем, проникающим из лавинного усилителя 103, дрейфуют в направлении слоя лавинного умножения 105 и далее умножаются в нем, формируя выходной сигнал фотодетектора, в то время как дырки уходят в подложку 101. Фотоэлектроны, рождаемые светом в необедненной области фотопреобразователя 102, собираются в обедненную область фотопреобразователя за счет диффузии, обусловленной возникающим в фотопреобразователе градиентом концентрации свободных электронов.

[66]

[0058] Ширина фотопреобразователя преимущественно делается меньшей 10 мкм, т.к. при больших значениях существенно падает быстродействие из-за увеличения времени диффузионного собирания фотоносителей, а также возрастают рекомбинационные потери.

[67]

[0059] На фиг. 2 схематически изображен поперечный разрез второго варианта заявляемого лавинного фотодетектора, содержащего расположенные рядом на одной и той же проводящей подложке 201 фотопреобразователь сигнала 202, подлежащего детектированию в свободные носители заряда, и лавинный усилитель этих носителей 203, имеющий контактный слой 204 и слой умножения 205, обращенный к подложке 201. Между слоем умножения и подложкой расположен буферный слой 215, который непосредственно примыкает к фотопреобразователю 202. Два электрода 206 и 207 размещены на контактном слое лавинного усилителя 204 и на подложке 201 соответственно.

[68]

[0060] Примером такого лавинного фотодетектора может служить прибор на кремниевой подложке 201 р+-типа с концентрацией примеси более 1018 см-3, на которой расположен фотопреобразователь 202, выполненный методом эпитаксии кремния р-типа с концентрацией примеси в 1014-1017 см-3. Лавинный усилитель 203 состоит из двух слоев: слой умножения 205 толщиной 5-7 мкм изготовлен методом эпитаксии кремния р-типа с концентрацией примеси в диапазоне 1014-1017 см-3, а контактный слой 204 изготовлен с использованием диффузии примеси n-типа с концентрацией более 1018 см-3 на глубину 0.5-1.0 мкм. Буферный слой толщиной 5-7 мкм изготовлен методом эпитаксии кремния р-типа с концентрацией примеси в диапазоне 1014-1016 см-3. Для включения фотодетектора во внешнюю цепь служат два электрода: 207 к подложке и 206 к контактному слою лавинного усилителя, выполняемые в виде пленки алюминия.

[69]

[0061] Для лавинного усилителя, выполненного не из кремния, а другого полупроводникового материала, например InP, буферный слой, как правило, изготавливается из того же материала, что и лавинный слой, но противоположного типа проводимости.

[70]

[0062] При приложении к электроду 206 положительного напряжения относительно электрода 207 оно прикладывается к последовательно включенным лавинному усилителю 203 и находящемуся под ним буферному слою 215, приводя к появлению в указанных слоях электрического поля. При реализации параметров слоев, указанных в примере, напряженность электрического поля в слое умножения 205 достаточна для лавинного умножения свободных носителей заряда, а в буферном слое 215 - для его обеднения на всю глубину. При этом поле из буферного слоя 215 проникает в расположенный сбоку от него фотопреобразователь 202 и создает в нем обедненную область.

[71]

[0063] Сигнальный свет 100, падающий на фотопреобразователь 202, поглощается в нем, образуя свободные носители заряда: электроны и дырки. Свободные электроны, рожденные светом в обедненной области фотопреобразователя 202 (фотоэлектроны), захватываются полем и дрейфуют в буферный слой 215, затем в слой лавинного умножения 205, где умножаются, формируя выходной сигнал фотодетектора, в то время как дырки уходят в подложку 201. Фотоэлектроны, рождаемые светом вне обедненной области фотопреобразователя 202, собираются в обедненную область фотопреобразователя за счет диффузии.

[72]

[0064] На фиг. 3A схематически изображен поперечный разрез третьего варианта заявляемого лавинного фотодетектора, содержащего коллекторный слой 308, расположенный на верхней поверхности фотопреобразователя 302 таким образом, что между ним и слоем умножения 305 лавинного усилителя 303 существует зазор 309.

[73]

[0065] Коллекторный слой 308 применяется для подавления поверхностной генерации неосновных носителей вблизи поверхности фотопреобразователя 302, стабилизации поверхностного потенциала, а также для повышения эффективности собирания фотоносителей, рождаемых светом в фотопреобразователе 302, в лавинный усилитель 303.

[74]

[0066] Примером лавинного фотодетектора с коллекторным слоем может служить прибор на кремниевой подложке 301 р+-типа с концентрацией примеси более 1018см-3, на которой расположен фотопреобразователь 302, выполненный методом эпитаксии кремния р-типа с концентрацией примеси в 1013-1015 см-3. Коллекторный слой 308 может быть выполнен методом ионного легирования кремниевого фотопреобразователя 302 примесью того же типа проводимости, например B, Al, In, Ga, с поверхностной концентрацией в пределах 1017-1019см-3 на глубину 0.2-0,5 мкм. Между коллекторным слоем 308 и слоем умножения 305 лавинного усилителя 303 существует зазор 309 шириной 0.4-0.7 мкм. Лавинный усилитель 303 состоит из двух слоев. Слой умножения 305 толщиной 5-7 мкм изготовлен методом эпитаксии из кремния р-типа с концентрацией примеси в диапазоне 1015-1017см-3, а контактный слой 304 изготовлен с использованием диффузии примеси n-типа с концентрацией более 1018см-3 на глубину 0.5-1.0 мкм. Для включения фотодетектора во внешнюю цепь служат два электрода: 307 к подложке и 306 к контактному слою лавинного усилителя, выполняемые, например, в виде пленки алюминия.

[75]

[0067] При подаче напряжения на электроды лавинного фотодетектора в лавинном усилителе происходит умножение фотоэлектронов, затягиваемых электрическим полем из преобразователя 302 аналогично описанному для фиг. 1. Отличие функционирования обусловлено наличием на поверхности фотопреобразователя коллекторного слоя, повышающего эффективность собирания фотоносителей из фотопреобразователя 302 в лавинный усилитель 303.

[76]

[0068] В присутствии вертикального градиента концентрации легирующей примеси в фотопреобразователе 302, создаваемого коллекторным слоем 308, проникновение поля из лавинного усилителя 303 приводит к формированию в обедненной области фотопреобразователя под коллекторным слоем 308 потенциальной ямы для электронов (скрытый канал), в которую собираются рождаемые светом в фотопреобразователе фотоэлектроны; скрытый канал 316 изображен на фиг. 3B. Причем для фотоэлектронов, попавших в скрытый канал, существует тянущее поле (градиент глубины канала), направленное вдоль канала в сторону лавинного усилителя, что повышает эффективность собирания и скорость транспорта фотоэлектронов из фотопреобразователя в лавинный усилитель.

[77]

[0069] Особенностью функционирования конструкции с коллекторным слоем 308 является также пространственное разведение встречных потоков электронного и дырочных токов в преобразователе, позволяющее понизить рекомбинацию в нем фотоносителей. Рождаемые в ходе лавинного умножения дырки двигаются по коллекторному слою вдоль поверхности фотопреобразователя, в то время как электроны текут преимущественно по скрытому каналу 316 под коллекторным слоем (см. фиг. 3B).

[78]

[0070] Зазор 309 представляет собой отступ коллекторного слоя от края фотопреобразователя, ближнего к лавинному усилителю 303, а его величина лежит в диапазоне 0.5-1.0 мкм, при этом нижний предел определяется эффектом повышением темпа туннельной генерации носителей заряда на краю коллекторного слоя, ближайшего к лавинному усилителю, а верхний предел обусловлен снижением эффективности действия коллекторного слоя 308 при слишком большом зазоре, когда фотоэлектроны после выхода из скрытого канала прижимаются полем к верхней поверхности фотопреобразователя и попадают в лавинный слой вне области наиболее эффективного умножения. При оптимальном зазоре фотоэлектроны инжектируются в лавинный усилитель на глубине скрытого канала, определяемого толщиной и легированием коллекторного слоя, попадая в область наиболее эффективного умножения.

[79]

[0071] На фиг. 4 схематически изображен поперечный разрез четвертого варианта заявляемого лавинного фотодетектора с контактным слоем лавинного усилителя 404, поверхность которого, обращенная к электроду 406, является продолжением внешней поверхности коллекторного слоя 408. Такая планарная конструкция лавинного фотодетектора является более технологичной и предпочтительной для операций изготовления и корпусирования лавинного фотодетектора.

[80]

[0072] Примером лавинного фотодетектора, изображенного на фиг. 4, может служить прибор на кремниевой подложке 401 р+-типа с концентрацией примеси более 1018см-3, на которой расположен фотопреобразователь 402, выполненный методом эпитаксии из кремния р-типа с концентрацией примеси в 1013-1015см-3. Коллекторный слой 408 может быть выполнен методом ионного легирования кремниевого фотопреобразователя 402 примесью того же типа проводимости с поверхностной концентрацией в пределах 1017-1019см-3 на глубину 0.1-1,0 мкм. Слой умножения 405 лавинного усилителя 403 имеет внешнюю поверхность, расположенную на одном уровне с коллекторным слоем 408. Между коллекторным слоем 408 и слоем умножения 405 лавинного усилителя 403 существует зазор 409, аналогичный зазору 309 предыдущей конструкции. Лавинный усилитель 403 состоит из двух слоев. Слой умножения 405 толщиной 2-7 мкм изготовлен методом эпитаксии из кремния р-типа с концентрацией примеси в диапазоне 1015-1017см-3, а контактный слой 404 изготовлен с использованием диффузии примеси n-типа с концентрацией более 1018см-3 на глубину 0.2-1.0 мкм. Для включения фотодетектора во внешнюю цепь служат два электрода: 407 к подложке и 406 к контактному слою лавинного усилителя, выполняемые, например, в виде пленки алюминия.

[81]

[0073] При приложении к электроду 406 положительного напряжения относительно электрода 407 с величиной, достаточной для возникновения в лавинном слое 405 лавинного усилителя 403 процесса ударной ионизации, в лавинном усилителе происходит умножение свободных носителей заряда. При этом поле из обедненной области фотопреобразователя, расположенной под лавинным усилителем 403, проникает в область слоя фотопреобразователя 402, формируя скрытый канал для фотоэлектронов под коллекторным слоем 408. Фотоносители, рождаемых световым сигналом 100 в открытой области фотопреобразователя, собираются в скрытый канал и дрейфуют вдоль него в слой умножения 405 под действием тянущего поля.

[82]

[0074] Толщина коллекторного слоя 408 может быть сделана большей толщины контактного слоя 404 лавинного усилителя, тогда фотоэлектроны попадают в слой лавинного умножения 405 непосредственно из скрытого канала под коллекторным слоем.

[83]

[0075] В случае, когда глубина скрытого канала меньше толщины контактного слоя 404, выходящие из скрытого канала фотоносители умножаются в поле, распространяющемся в горизонтальном направлении от края контактного слоя 404 в области зазора 409, что также допустимо.

[84]

[0076] На фиг. 5 показан поперечный разрез пятого варианта заявляемого лавинного фотодетектора с лавинным усилителем, расположенным ниже верхней поверхности коллекторного слоя таким образом, что между этим лавинным усилителем, с одной стороны, и коллекторным слоем фотопреобразователя, с другой, образуется изолирующий зазор. На фиг. 6 изображен поперечный разрез шестого варианта заявляемого лавинного фотодетектора с лавинным усилителем, расположенным ниже верхней поверхности коллекторного слоя, и с диэлектрическим материалом, заполняющим упомянутый изолирующий зазор, а также покрывающим поверхность коллекторного слоя, и дополнительным прозрачным электродом, расположенным на внешней поверхности первого электрода и этого диэлектрического материала

[85]

[0077] Конструкции лавинного фотодетектора, изображенные на фиг. 5 и 6, включают в себя лавинный усилитель 503 и 603, отделенный от коллекторного слоя 508 и 608 и фотопреобразователя 502 и 602 сбоку изолирующим зазором 512 и 612. Между лавинным усилителем 503 и 603 и подложкой 501 и 601 размещен буферный слой 515 и 615 соответственно. Конструкция лавинного фотодетектора, изображенного на фиг. 6, отличается тем, что для технологичности изготовления изолирующий зазор 612 заполнен диэлектрическим материалом 613 таким образом, чтобы верхняя поверхность этого диэлектрического материала совпадала с верхней поверхностью первого электрода 606. На верхней поверхности первого электрода 606 и слоя диэлектрического материала 613 располагается прозрачный электрод 611 обеспечивающий, в частности, возможность создания матрицы лавинных фото детекторов 603 на подложке 601.

[86]

[0078] Примером лавинного фотодетектора, изображенного на фиг. 5, может служить прибор на кремниевой подложке 501 р-типа с концентрацией примеси более 1018см-3, на которой расположен фотопреобразователь 502, выполненный методом эпитаксии кремния р+-типа с концентрацией примеси в 1013-1015см-3. Коллекторный слой 508 может быть выполнен методом ионного легирования кремниевого фотопреобразователя 502 примесью того же типа проводимости с поверхностной концентрацией в пределах 1017-1019см-3 на глубину 0.1-1,0 мкм. Лавинный усилитель 503 отделен от коллекторного слоя 508 и фотопреобразователя 502 сбоку изолирующим зазором 512 шириной 0.2-1 мкм при предпочтительном значении - 0,8 мкм (±0.1 мкм).

[87]

[0079] Лавинный усилитель 503 состоит из двух слоев. Слой умножения 505 толщиной 0.2-5 мкм изготовлен методом эпитаксии кремния р-типа с концентрацией примеси в диапазоне 1015-1017см-3, а контактный слой 504 изготовлен с использованием диффузии примеси n-типа с концентрацией более 1018см-3 на глубину 0.2-1.0 мкм. Буферный слой 515 толщиной 5-7 мкм изготовлен методом эпитаксии кремния р-типа с концентрацией примеси в диапазоне 1014-1016см-3. Для включения фотодетектора во внешнюю цепь служат два электрода: 507 к подложке и 506 к контактному слою лавинного усилителя, выполняемые в виде пленок 0.5-1.0 мкм Al, Al-Si или двух и более слоев Mo, Ni, Ti, Ta, Au, Al толщиной от 0.05 до 1.0 мкм.

[88]

[0080] Изолирующий зазор 512 может быть изготовлен методом анизотропного травления кремния (с возможным последующим изотропным травлением для скругления краев в его нижней части). Желательно, чтобы радиус закругления краев изолирующего зазора 512 был не менее 0.2 мкм для подавления паразитной (туннельной) генерации свободных носителей заряда в кремнии в области сильного поля.

[89]

[0081] При приложении к электроду 506 положительного напряжения относительно электрода 507, оно прикладывается к последовательно включенным лавинному усилителю 503 и находящемуся под ним буферному слою 515, приводя к появлению в указанных слоях электрического поля. При реализации параметров слоев, указанных в примере, напряженность электрического поля в слое умножения 505 достаточна для лавинного умножения в нем свободных носителей заряда, а в буферном слое 515 - для его обеднения на всю глубину. При этом поле из буферного слоя 515 проникает в расположенный сбоку от него фотопреобразователь 502 и создает в нем обедненную свободными носителями заряда область, одновременно формируя скрытый канал для фотоэлектронов под коллекторным слоем 508 аналогично описанному для фиг 3B.

[90]

[0082] Сигнальный свет 100, падающий на фотопреобразователь 502, поглощается в нем, образуя свободные носители заряда: электроны и дырки.

[91]

[0083] Фотоэлектроны, рождаемые светом в верхней части фотопреобразователя 502, собираются в скрытый канал и дрейфуют по нему в сторону лавинного усилителя 503. Выходя из скрытого канала, фотоэлектроны захватываются тянущим полем из буферного слоя 515, дрейфуют в буферный слой, проходят через него и попадают в слой лавинного умножения 505, где умножаются, формируя выходной сигнал фотодетектора, в то время как дырки уходят в подложку 501.

[92]

[0084] Необходимо отметить, что зазор 512 не является потенциальным барьером для дрейфа фотоэлектронов, выходящих из скрытого канала из-за наличия градиента потенциала вдоль интерфейса фотопреобразователь - зазор, направленного к буферному слою 515.

[93]

Фотоэлектроны, рождаемые светом в нижней части фотопреобразователя 502, могут непосредственно захватываться тянущим полем, идущим из буферного слоя 515.

[94]

Фотоэлектроны, рождаемые светом вне обедненной области фотопреобразователя 502, собираются в обедненную область фотопреобразователя за счет диффузии.

[95]

[0085] Примером лавинного фотодетектора, изображенного на фиг. 6 может служить прибор на кремниевой подложке 601 р+-типа с концентрацией примеси более 1018см-3, на которой расположен фотопреобразователь 602, выполненный методом эпитаксии кремния р-типа с концентрацией примеси в 1013-1015см-3. Коллекторный слой 608 может быть выполнен методом ионного легирования кремниевого фотопреобразователя примесью того же типа проводимости с поверхностной концентрацией в пределах 1017-1019см-3 на глубину 0.1-0.5.

[96]

[0086] Лавинный усилитель 603 состоит из двух слоев. Слой умножения 605 толщиной 5-7 мкм изготовлен методом эпитаксии из кремния р-типа с концентрацией примеси в диапазоне 1015-1017см-3, а контактный слой 604 изготовлен с использованием диффузии примеси n-типа с концентрацией более 1018см-3 на глубину 0.5-1.0 мкм. Буферный слой 615 толщиной 5-7 мкм изготовлен методом эпитаксии кремния р-типа с концентрацией примеси в диапазоне 1014-1016см-3. Боковые поверхности лавинного усилителя 603 изолированы от фотопреобразователя 602 и коллекторного слоя 608 изолирующим зазором 612, с параметрами, подобными используемым для зазора 512 предыдущей конструкции, изображенной на фиг. 5, и заполненным диэлектрическим материалом 613, например SiO2, Si3N4, Oxi-Nitride или комбинацией слоев SiO2, Si3N4, Oxi-Nitride, Boron-Silicate, Boron-Phosphorus-Silicate, Phosphorus-Silicate. При этом слой диэлектрического материала 613 располагается также на верхних поверхностях коллекторного слоя 608 и контактного слоя 604 таким образом, что верхняя поверхность этого материала 613 совпадает с поверхностью первого электрода 606. На внешних поверхностях первого электрода 606 и слоя диэлектрика 613 располагается прозрачный электрод 611, выполняемый из ITO, ZnO или слоев Ni, Mo, Ti, Ta or Au толщиной менее 20 нм. Для включения фотодетектора во внешнюю цепь служат два контакта: электрод 607 к подложке, выполняемый в виде пленки Al толщиной 0.5-1.0 мкм или слоев aluminum - silicon или двух и более слоев Mo, Ni, Ti, Ta, Au, Al толщинами от 0.05 до 1.0 мкм, и контакт к прозрачному электроду 611, выполняемый, например, в виде пленки Мо или двух и более слоев Ni, Mo, Ti, Ta, Au.

[97]

[0087] Заполнение изолирующего зазора 612 диэлектрическим материалом, например, SiO2, существенно повышает технологичность изготовления фотодетектора, позволяя использовать традиционную планарную технологию. Кроме того, диэлектрическое покрытие пассивирует и стабилизирует поверхность кремния.

[98]

[0088] Диэлектрическое покрытие 613 фотопреобразователя 602 также служит для пассивации и защиты полупроводниковой поверхности фотопреобразователя, а также играет роль просветляющего покрытия, повышающего эффективность ввода света в фотопреобразователь.

[99]

[0089] Изготовление единого прозрачного электрода 611 вдоль всей поверхности фотодетектора повышает технологичность изготовления фотодетектора, а также позволяет изготавливать матричный фотодетектор с большим числом лавинных усилителей, заглубленных в единый фотопреобразователь и имеющих общий питающий электрод 611.

[100]

[0090] Наличие диэлектрического материала 613 не приводит к принципиальному изменению функционирования лавинного детектора по сравнению с описанным для фиг. 5, однако повышает стабильность его работы за счет пассивации открытых поверхности полупроводниковых материалов, из которых выполнены фотопреобразователь 602, буферный слой 615 и лавинный усилитель 603, а также понижает темп поверхностной генерации свободных носителей заряда в этих слоях в отсутствие светового сигнала.

[101]

[0091] Необходимо также отметить, что при исполнении лавинного фотодетектора с более чем одним лавинным усилителем 603 наличие диэлектрического слоя 613 между ними может приводить к существенному подавлению паразитных шумов, обусловленных так называемой оптической связью, когда фотон, излучаемый горячим носителем заряда при лавинном умножении в одном усилителе, инициирует процесс лавинного умножения в другом усилителе. Отличие коэффициентов преломления диэлектрика (например, SiO2) и полупроводникового материала лавинного усилителя (например, кремния) приводит к появлению дополнительных отражающих границ для фотонов оптической связи.

[102]

[0092] Конструкция на фиг. 6 отличается от фиг. 5 также наличием на ее поверхности прозрачного электрода 611, который может быть выполнен из любого проводящего материала с сопротивлением менее 100 Ом на квадрат, прозрачного для светового сигнала 100, например, из ITO. Наличие общего прозрачного электрода 611 на всей верхней поверхности фотодетектора позволяет реализовывать матричную конструкцию фотодетектора, когда несколько лавинных усилителей 603 располагаются на общем фотопреобразователе 602 под электродом 611 на равном расстоянии друг от друга. При этом каждый лавинный усилитель умножает фотоносители, рождаемые светом в примыкающей к нему области фотопреобразователя.

[103]

[0093] При высоком уровне легировании коллекторного слоя 608 (>1017 для толщины слоя 0.1 мкм) он экранирует вертикальное электрическое поле, создаваемое прозрачным электродом 611, расположенным над фотопреобразователем, и поле не проникает вглубь фотопреобразователя. В этом случае собирание фотоносителей из преобразователя и их доставка в лавинный усилитель 603 происходят идентично описанному для фиг. 5.

[104]

[0094] При низком уровне легирования коллекторного слоя 608, лежащего в диапазоне 1016-1017см-3, вертикальное электрическое поле от прозрачного электрода 611 проходит сквозь коллекторный слой 608 и проникает в фотопреобразователь 609, расположенный под диэлектрическим слоем 610. Фотоносители, рождаемые светом в глубине фотопреобразователя, переносятся этим вертикальным полем и прижимаются к коллекторному слою 608, собираются в скрытом канале под коллекторным слоем, затем, аналогично структуре, изображенной на фиг. 5, двигаются по этому каналу к усилителю под действием горизонтального тянущего поля из участка преобразователя, расположенного под усилителем.

[105]

[0095] Фиг. 7 изображает поперечный разрез седьмого варианта заявляемого лавинного фотодетектора с лавинным усилителем 703, расположенным выше верхней поверхности коллекторного слоя 708, на буферном слое 715, отделяющем его от подложки 701, со слоем диэлектрика 710, расположенным на внешней поверхности коллекторного слоя 708 и примыкающим к боковой поверхности лавинного усилителя 703, а также с прозрачным электродом 711, расположенным на внешней поверхности контактного слоя лавинного усилителя 704 и слоя диэлектрика 710.

[106]

[0096] Примером лавинного фотодетектора, изображенного на фиг. 7, может служить прибор на кремниевой подложке 701 р+-типа с концентрацией примеси более 1018см-3, на которой расположен фотопреобразователь 702, выполненный методом эпитаксии из кремния р-типа с концентрацией примеси в 1013-1015см-3. Коллекторный слой 708 может быть выполнен методом ионного легирования кремниевого фотопреобразователя примесью того же типа проводимости с поверхностной концентрацией в пределах 1016-1019см-3 на глубину 0.1-1,0 мкм. Лавинный усилитель 703 расположен на буферном слое 715, отделяющем его от подложки 701. Лавинный усилитель 703 состоит из двух слоев. Слой умножения 705 толщиной 0.2-5 мкм изготовлен методом эпитаксии из кремния р-типа с концентрацией примеси в диапазоне 1015-1017см-3, а контактный слой 704 изготовлен с использованием диффузии примеси n-типа с концентрацией более 1018 см-3 на глубину 0.1-0.5 мкм. На поверхности коллекторного слоя 708 расположен слой диэлектрика 710, верхняя поверхность которого совпадает с поверхностью первого электрода 706. На внешней поверхности первого электрода 706 и слоя диэлектрика 710 располагается прозрачный электрод 711, выполненный, например, из окислов индия и олова ITO, ZnO, или Ni, Mo, Ti, Ta или Au пленок толщиной менее 20 нм.

[107]

[0097] Для включения фотодетектора во внешнюю цепь служат два контакта: электрод 707 к подложке, выполняемый в виде пленки Al толщиной 0.5-1.0 мкм или слоев aluminum - silicon или двух и более слоев Mo, Ni, Ti, Ta, Au, Al толщинами от 0.05 до 1.0 мкм, и контакт к прозрачному электроду 711, выполняемый, например, в виде пленки Mo или двух и более слоев Ni, Mo, Ti, Ta, Au.

[108]

[0098] Буферный слой 715 делается шире лавинного усилителя 703 на 0.5-1 мкм, отодвигая ближайший к лавинному усилителю край коллекторного слоя от области сильного поля, могущего привести к паразитной туннельной генерации в нем.

[109]

[0099] При приложении к электроду 706 положительного напряжения относительно электрода 707 оно прикладывается к последовательно включенным лавинному усилителю 703 и находящемуся под ним буферному слою 715, приводя к появлению в указанных слоях электрического поля. При реализации параметров слоев, указанных в примере, напряженность электрического поля в слое умножения 705 достаточна для лавинного умножения свободных носителей заряда, а в буферном слое 715 - для его обеднения на всю глубину.

[110]

При этом поле из буферного слоя 715 проникает в расположенный сбоку от него фотопреобразователь 702 и создает в нем обедненную свободными носителями заряда область, одновременно формируя скрытый канал для фотоэлектронов под коллекторным слоем 708 аналогично описанному для фиг. 3,a.

[111]

[00100] Сигнальный свет 100, падающий на фотопреобразователь 702, поглощается в нем, образуя свободные носители заряда: электроны и дырки.

[112]

Фотоэлектроны, рождаемые светом в фотопреобразователе 702, собираются в скрытый канал и дрейфуют по нему в сторону лавинного усилителя 703. Выходя из скрытого канала, фотоэлектроны попадают в буферный слой 715 и, далее, в слой лавинного умножения 705, где умножаются, формируя выходной сигнал фотодетектора, в то время как дырки уходят в подложку 701.

[113]

Фотоэлектроны, рождаемые светом вне обедненной области фотопреобразователя 702, собираются в обедненную область фотопреобразователя за счет диффузии.

[114]

[00101] Наличие слоя диэлектрика 710 не приводит к принципиальному изменению функционирования лавинного детектора, однако повышает стабильность его работы за счет пассивации открытых поверхностей полупроводниковых материалов, из которых выполнены фотопреобразователь 702, буферный слой 715 и лавинный усилитель 703, а также понижает темп поверхностной генерации свободных носителей заряда в этих слоях в отсутствие светового сигнала.

[115]

[00102] Необходимо также отметить, что при исполнении лавинного фотодетектора с более чем одним лавинным усилителем 703 наличие диэлектрического слоя 710 между ними может приводить к существенному подавлению паразитных шумов, обусловленных так называемой оптической связью, когда фотон, излучаемый горячим носителем заряда при лавинном умножении в одном усилителе, инициирует процесс лавинного умножения в другом усилителе. Отличие коэффициентов преломления диэлектрика (например, SiO2) и полупроводникового материала лавинного усилителя (например, кремния) приводит к появлению дополнительных отражающих границ для фотонов оптической связи.

[116]

[00103] Наличие общего прозрачного электрода 711 на всей верхней поверхности фотодетектора позволяет реализовывать матричную конструкцию фотодетектора, когда несколько лавинных усилителей 703 располагаются на общем фотопреобразователе 702 под электродом 711 на равном расстоянии друг от друга. При этом каждый лавинный усилитель умножает фотоносители, рождаемые светом в примыкающей к нему области фотопреобразователя.

[117]

[00104] На фиг. 8 изображен поперечный разрез восьмого варианта заявляемого лавинного фотодетектора, содержащего расположенные рядом на одной и той же проводящей подложке 801 фотопреобразователь сигнала 802 и лавинный усилитель 803 с контактным слоем 804 и слоем умножения 805. На поверхности контактного слоя 804 располагается слой высокоомного материала 814, предназначенный для обеспечения отрицательной обратной связи при формировании лавины и позволяющий получить коэффициент умножения 105 и более. Для включения фотодетектора во внешнюю цепь служат два электрода: первый электрод 806 - к слою высокоомного материала 813 лавинного усилителя 803, выполненный в виде пленки молибдена, и второй электрод 807 - к подложке 801, выполненный в виде пленки алюминия

[118]

[00105] Примером такого лавинного фотодетектора, изображенного на фиг. 8, может служить прибор на кремниевой подложке 801 р+-типа с концентрацией примеси более 1018 см-3, на которой расположен фотопреобразователь 802, выполненный методом эпитаксии из кремния р-типа с концентрацией примеси в 1013-1015 см-3. Лавинный усилитель 803 состоит из двух слоев: слой умножения 805 толщиной 0.2-0.5 мкм изготовлен методом эпитаксии из кремния р-типа с концентрацией примеси в диапазоне 1015-1017 см-3, а контактный слой 804 изготовлен с использованием диффузии примеси n-типа с концентрацией более 1018 см-3 на глубину 0.5-1.0 мкм. На поверхности контактного слоя 804 располагается слой высокоомного материала 814, изготовленный из SiOC, SiC или поликремния с удельным сопротивлением более 1500 Ом⋅см. Для включения фото детектора во внешнюю цепь служат два электрода: первый электрод 806 к слою высокоомного материала 813, выполненный в виде пленки молибдена и второй электрод 807 к подложке 801, выполненный в виде пленки алюминия.

[119]

[00106] Функционирование фотодетектора на фиг. 8 отличается от описанного для фиг. 1 только возможностью работы в т.н. Гейгеровском режиме за счет действия высокоомного слоя 814, что существенно для ряда применений.

[120]

[00107] Имея описанные выше реализации изобретения, специалисты, обладающие знаниями и навыками в данной области техники, смогут понять и оценить предлагаемые конструкции и использовать их для создания вариантов и модификаций подобных устройств для своих целей.

Как компенсировать расходы
на инновационную разработку
Похожие патенты