патент
№ RU 2605914
МПК G07G1/14

СПОСОБ ОБРАБОТКИ ДАННЫХ О НАЛИЧНЫХ ДЕНЕЖНЫХ РАСЧЁТАХ И/ИЛИ РАСЧЁТАХ С ИСПОЛЬЗОВАНИЕМ ПЛАТЁЖНЫХ КАРТ ПРИ РАБОТЕ КОНТРОЛЬНО-КАССОВЫХ МАШИН С ФУНКЦИЯМИ ФИКСАЦИИ И ПЕРЕДАЧИ ИНФОРМАЦИИ И СЕРВЕРА ОПЕРАТОРА ФИСКАЛЬНЫХ ДАННЫХ

Авторы:
Емелин Александр Сергеевич
Номер заявки
2015155679/08
Дата подачи заявки
25.12.2015
Опубликовано
27.12.2016
Страна
RU
Как управлять
интеллектуальной собственностью
Чертежи 
2
Реферат

Изобретение относится к средствам обработки данных о наличных денежных расчетах и/или расчетах с использованием платежных карт при работе контрольно-кассовых машин (ККМ) 1 с функциями фиксации и передачи информации. Технический результат заключается в повышении уровня защиты данных о наличных денежных расчетах. В способе осуществляют формирование информации из данных о наличных денежных расчетах и/или расчетах с использованием платежных карт, идентификаторе ККМ на каждой ККМ 1, генерацию уникального кода каждого чека в каждой ККМ, формирование криптографического проверочного кода, подписание информации из данных о наличных денежных расчетах, идентификаторе ККМ и уникальном коде каждого чека криптографическим проверочным кодом с образованием фискальных данных. Шифруют фискальные данные, сохраняют зашифрованные фискальные данные для каждого чека в фискальной памяти 5. Направляют с каждой ККМ 1 на сервер 10 оператора фискальных данных по каналам связи 11 зашифрованные фискальные данные для каждого чека. Проверяют сервером 10 для каждой ККМ 1 ее идентификатор с последующим разрешением или запретом доступа к серверу 10. При разрешении доступа к серверу 10 расшифровывают фискальные данные, проверяют фискальные данные с помощью криптографического кода и сохраняют их в базе фискальных данных 8 сервера 10 и одновременно формируют и шифруют квитанции подтверждения получения фискальных данных оператором фискальных данных по каждому чеку, подписывают каждую квитанцию фискальным признаком, передают подтверждение получения фискальных данных от сервера 10 по каналам связи 11 на каждую ККМ 1 по каждому чеку в виде квитанции с сохранением

Формула изобретения

1. Способ обработки данных о наличных денежных расчетах и/или расчетах с использованием платежных карт при работе контрольно-кассовых машин с функциями фиксации и передачи информации и сервера оператора фискальных данных, включающий формирование информации из данных о наличных денежных расчетах и/или расчетах с использованием платежных карт на каждой контрольно-кассовой машине, генерацию уникального кода каждого чека в каждой контрольно-кассовой машине, формирование криптографического проверочного кода, подписание информации из данных о наличных денежных расчетах и/или расчетах с использованием платежных карт и уникальном коде каждого чека криптографическим проверочным кодом с образованием фискальных данных, шифрование фискальных данных, сохранение зашифрованных фискальных данных для каждого чека в фискальной памяти, направление с каждой контрольно-кассовой машины на сервер оператора фискальных данных по каналам связи зашифрованных фискальных данных для каждого чека, расшифровку фискальных данных, проверку фискальных данных с помощью криптографического кода с выявлением фальсификации фискальных данных, сохранение фискальных данных в базе фискальных данных сервера с одновременным формированием и шифрованием квитанции подтверждения получения фискальных данных оператором фискальных данных по каждому чеку, подписание каждой квитанции фискальным признаком, передачу подтверждения получения фискальных данных от сервера по каналам связи на каждую контрольно-кассовую машину по каждому чеку в виде квитанции с сохранением квитанции в фискальной памяти, накопление фискальных данных по всем чекам и контрольно-кассовым машинам в базе фискальных данных сервера.

2. Способ по п. 1, отличающийся тем, что после сохранения зашифрованных фискальных данных в фискальной памяти в каждой контрольно-кассовой машине осуществляют распечатку чека или пересылку электронной формы чека.

Описание

[1]

Изобретение относится к системам обработки данных о наличных денежных расчетах и/или расчетах с использованием платежных карт, включающих несколько электронных контрольно-кассовых машин, взаимодействующих с центральным устройством для обработки информации - сервером оператора фискальных данных.

[2]

Известен способ контроля за выручкой электронных кассовых аппаратов, включающий направление идентификатора по каналу связи, проверку идентификатора с последующим принятием решения о разрешении или запрете доступа, при разрешении доступа сохранение данных о наличных денежных расчетах для каждого кассового чека, накопление и сохранение данных о наличных денежных расчетах для каждого кассового чека на сервере, накопление и сохранение данных о наличных денежных расчетах на сервере в оперативной базе данных (патент РФ №2106015, G07G 1/00, G07G 1/12, 1998 год).

[3]

Недостатком известного способа является то, что данные о наличных денежных расчетах и/или расчетах с использованием платежных карт собираются на самой контрольно-кассовой машине, что увеличивает возможность несанкционированного доступа к данным о наличных денежных расчетах и/или расчетах с использованием платежных карт и искажения данных о наличных денежных расчетах.

[4]

В основу изобретения поставлена задача создания способа обработки данных о наличных денежных расчетах и/или расчетах с использованием платежных карт при работе контрольно-кассовых машин с функциями фиксации и передачи информации и сервера оператора фискальных данных, при выполнении которого обеспечивается защищенность базы данных наличных денежных расчетах и/или расчетах с использованием платежных карт.

[5]

Технический результат, на достижение которого направлено заявленное изобретение, состоит в повышении уровня защиты данных о наличных денежных расчетах и/или расчетах с использованием платежных карт за счет того, что данные о наличных денежных расчетах и/или расчетах с использованием платежных карт для каждой контрольно-кассовой машины с функциями фиксации и передачи информации переносятся сразу же на сервер оператора фискальных данных и сохраняются там, что не дает возможности изменить данные о наличных денежных расчетах и/или расчетах с использованием платежных карт на контрольно-кассовой машине, а также за счет надежного подтверждения факта получения и сохранения оператором фискальных данных электронных документов квитанцией подтверждения получения фискальных данных оператором фискальных данных.

[6]

Ниже перечислены понятия, используемые в следующем смысле.

[7]

База фискальных данных - совокупность фискальных данных, поступивших от пользователей оператору фискальных данных, защищенных от доступа третьих лиц с использованием шифровальных (криптографических) средств защиты фискальных данных.

[8]

Квитанция подтверждения получения фискальных данных оператором фискальных данных - электронный документ, содержащий подтверждение о получении фискальных данных оператором фискальных данных, подписанное фискальным признаком.

[9]

Квитирование - процесс передачи квитанции в контрольно-кассовую машину с функциями фиксации и передачи информации, осуществляющую передачу оператору фискальных данных в виде электронного документа кассового чека, отчета о фискализации, открытии и закрытии смены, закрытии фискального накопителя.

[10]

Ключ фискального признака - ключевой документ, предназначенный для формирования фискального признака, созданный с использованием мастер-ключа.

[11]

Мастер-ключ - ключевой документ для создания серии ключей фискального признака, а также для проверки фискальных признаков, сформированных с использованием ключа фискального признака из этой серии.

[12]

Средство формирования и проверки фискального признака - шифровальное (криптографическое) средство защиты фискальных данных, обеспечивающее возможность формирования фискального признака, расшифровки и гарантированного выявления корректировки или фальсификации фискальных данных по результатам их проверки с использованием мастер-ключа.

[13]

Фискальный признак - достоверная информация, сформированная средствами формирования фискального признака с использованием ключа фискального признака в результате криптографического преобразования перечня сведений о расчетах, обеспечивающая возможность гарантированного выявления корректировки или фальсификации этих сведений по результатам их проверки с использованием средства проверки фискального признака.

[14]

Кассовый чек - первичный учетный документ, выполненный контрольно-кассовой машиной в момент оплаты товара (работы, услуги) на бумажном носителе и/или в форме электронного документа, подтверждающий факт осуществления между пользователем и покупателем (клиентом) наличных денежных расчетов и/или расчетов с использованием платежных карт, содержащий сведения об этих расчетах.

[15]

Контрольно-кассовая машина с функциями фиксации и передачи информации - контрольно-кассовая машина, обеспечивающая в неизменном виде запись в фискальной памяти и передачу в неизменном виде через оператора фискальных данных в адрес налоговых органов в электронном виде и информации о наличных денежных расчетах и/или расчетах с использованием платежных карт.

[16]

Оператор фискальных данных - юридическое лицо, имеющее право на обработку фискальных данных, имеющее соответствующие технические средства и самостоятельно осуществляющее обработку фискальных данных.

[17]

Обработка фискальных данных - любое действие (операция) или совокупность действий (операций), совершаемых с использованием средств автоматизации с информацией о наличных денежных расчетах и/или расчетах с использованием платежных карт, включая сбор, запись, систематизацию, накопление, хранение в неизменном виде, извлечение, исключая изменение, обезличивание, блокирование, удаление и уничтожение фискальных данных и информации о наличных денежных расчетах и/или расчетах с использованием платежных карт.

[18]

Наличные денежные расчеты - произведенные с использованием средств наличного платежа расчеты за приобретенные товары, выполненные работы, оказанные услуги.

[19]

Фискальные данные - информация о наличных денежных расчетах и/или расчетах с использованием платежных карт, подписанные фискальным признаком.

[20]

Уникальный код чека - информация, созданная в результате преобразования сведений о наличных денежных расчетах и/или расчетах с использованием платежных карт, которая обеспечивает достоверность и некорректируемость информации о таких расчетах.

[21]

Фискальная память - комплекс программно-аппаратных средств, включающий накопитель фискальной памяти и контрольную ленту, конструктивно встроенных в контрольно-кассовую машину.

[22]

Для достижения указанного выше технического результата способ обработки данных о наличных денежных расчетах и/или расчетах с использованием платежных карт при работе контрольно-кассовых машин с функциями фиксации и передачи информации и сервера оператора фискальных данных согласно изобретению включает формирование информации из данных о наличных денежных расчетах и/или расчетах с использованием платежных карт на каждой контрольно-кассовой машине, генерацию уникального кода каждого чека в каждой контрольно-кассовой машине, формирование криптографического проверочного кода, подписание информации из данных о наличных денежных расчетах и/или расчетах с использованием платежных карт и уникального кода каждого чека криптографическим проверочным кодом с образованием фискальных данных, шифрование фискальных данных, сохранение зашифрованных фискальных данных для каждого чека в фискальной памяти, направление с каждой контрольно-кассовой машины на сервер оператора фискальных данных зашифрованных фискальных данных для каждого чека, расшифровку фискальных данных, проверку фискальных данных с помощью криптографического кода с выявлением фальсификации фискальных данных, сохранение в базе фискальных данных сервера с одновременным формированием и шифрованием квитанции подтверждения получения фискальных данных оператором фискальных данных по каждому чеку, подписание каждой квитанции фискальным признаком, передачу подтверждения получения фискальных данных от сервера по каналам связи на каждую контрольно-кассовую машину по каждому чеку в виде квитанции с сохранением квитанции в фискальной памяти, накопление фискальных данных по всем чекам и контрольно-кассовым машинам в базе фискальных данных сервера.

[23]

Формирование информации о наличных денежных расчетах и/или расчетах с использованием платежных карт на каждой контрольно-касовой машине, генерация уникального кода каждого чека в каждой контрольно-кассовой машине, формирование криптографического проверочного кода, подписание информации из данных о наличных денежных расчетах и/или расчетах с использованием платежных карт и уникального кода каждого чека криптографическим проверочным кодом с образованием фискальных данных, шифрование фискальных данных, сохранение зашифрованных фискальных данных для каждого чека в фискальной памяти, направление с каждой контрольно-кассовой машины на сервер оператора фискальных данных по каналам связи зашифрованных фискальных данных для каждого чека, расшифровка фискальных данных, проверка фискальных данных с помощью криптографического кода с выявлением фальсификации фискальных данных и их сохранение в базе фискальных данных сервера с одновременным формированием и шифрованием квитанции подтверждения получении фискальных данных оператором фискальных данных по каждому чеку, подписание каждой квитанции фискальным признаком, передачу подтверждения получения фискальных данных от сервера по каналам связи на каждую контрольно-кассовую машину по каждому чеку в виде квитанции с сохранением квитанции в фискальной памяти, накопление фискальных данных по всем чекам и контрольно-кассовым машинам в базе фискальных данных сервера повышает уровень защиты данных о наличных денежных расчетах и/или расчетах с использованием платежных карт за счет того, что данные о наличных денежных расчетах и/или расчетах с использованием платежных карт для каждой контрольно-кассового машины с функциями фиксации и передачи информации переносятся сразу же на сервер оператора фискальных данных и сохраняются там, что не дает возможности изменить данные о наличных денежных расчетах и/или расчетах с использованием платежных карт на контрольно-кассовой машине, а также за счет надежного подтверждения факта получения и сохранения оператором фискальных данных электронных документов квитанцией подтверждения получения фискальных данных оператором фискальных данных.

[24]

Способ обработки данных о наличных денежный расчетах и/или расчетах с использованием платежных карт при работе контрольно-кассовых машин с функциями фиксации и передачи информации и сервера оператора фискальных данных может быть осуществлен так, что после сохранения зашифрованных фискальных данных в фискальной памяти в каждой контрольно-кассовой машине осуществляют распечатку кассового чека или пересылку электронной формы кассового чека.

[25]

На фиг. 1 изображена функциональная схема системы обработки данных о наличных денежных расчетах и/или расчетах с использованием платежных карт при работе контрольно-кассовых машин с функциями фиксации и передачи информации и сервера оператора фискальных данных; на фиг. 2 - блок-схема алгоритма работы системы обработки данных о наличных денежных расчетах и/или расчетах с использованием платежных карт при работе контрольно-кассовых машин с функциями фиксации и передачи информации и сервера оператора фискальных данных.

[26]

Система обработки данных о наличных денежных расчетах и/или расчетах с использованием платежных карт содержит множество контрольно-кассовых машин (ККМ) 1 с функциями фиксации и передачи информации, каждая из которых включает вычислительное устройство 2, модуль 3 передачи данных, криптопроцессор 4 и фискальную память 5 (энергонезависимая память).

[27]

Контрольно-кассовые машины 1 с функциями фиксации и передачи информации соединены каналами связи 11 с сервером 10 оператора фискальных данных, в состав которого входит модуль 6 приема данных, средство 7 формирования и проверки фискального признака, база фискальных данных 8 сервера 10 оператора фискальных данных и модуль 9 обмена данными с налоговой службой.

[28]

Система, реализующая способ, работает следующим образом и осуществляет способ обработки данных о наличных денежных расчетах и/или расчетах с использованием платежных карт при работе контрольно-кассовых машин с функциями фиксации и передачи информации и сервера оператора фискальных данных.

[29]

Вычислительное устройство 2 формирует информацию из данных о наличных денежных расчетах и/или расчетах с использованием платежных карт на каждой контрольно-кассовой машине 1 с функциями фиксации и передачи информации. Каждая контрольно-кассовая машина 1 генерирует уникальный код каждого кассового чека. Указанные данные поступают через модуль 3 передачи данных на криптопроцессор 4, который формирует криптографический проверочный код, подписывает информацию из данных о наличных денежных расчетах и/или расчетах с использованием платежных карт и уникального кода каждого кассового чека с образованием фискальных данных. После этого осуществляется шифрование фискальных данных и сохранение зашифрованных фискальных данных для каждого чека в фискальной памяти 5.

[30]

Вычислительное устройство 2 каждой контрольно-кассовой машины 1 с функциями фиксации и передачи информации через модуль 3 передачи данных направляет по каналам связи 11 на сервер 10 оператора фискальных данных зашифрованные фискальные данные для каждого кассового чека. Сервер 10 оператора фискальных данных для каждой контрольно-кассовой машины 1 с функциями фиксации и передачи информации принимает фискальные данные модулем 6 приема данных. Средство 7 формирования и проверки фискального признака осуществляет расшифровку фискальных данных, проверку фискальных данных с помощью криптографического кода с выявлением фальсификации фискальных данных и сохранение фискальных данных в базе фискальных данных 8 сервера 10 оператора фискальных данных и одновременно формирование и шифрование квитанции подтверждения получения фискальных данных оператором фискальных данных по каждому чеку, подписание каждой квитанции подтверждения получения фискальных данных оператором фискальных данных фискальным признаком, передачу подтверждения получения фискальных данных от сервера 10 оператора фискальных данных по каналам связи 11 на каждую контрольно-кассовую машину 1 с функциями фиксации и передачи информации по каждому чеку в виде квитанции подтверждения получения фискальных данных оператором фискальных данных с сохранением квитанции подтверждения получения фискальных данных оператором фискальных данных в фискальной памяти 5.

[31]

В базе фискальных данных 8 сервера 10 осуществляется накопление фискальных данных по всем кассовым чекам и контрольно-кассовым машинам 1 с функциями фиксации и передачи информации.

[32]

Контрольно-кассовая машина 1 может после сохранения зашифрованных фискальных данных в фискальной памяти 5 осуществлять распечатку кассового чека или пересылку электронной формы кассового чека с сервера 10 оператора фискальных данных по запросу покупателя. По номеру кассового чека покупатель получает электронную копию, например, по электронной почте.

[33]

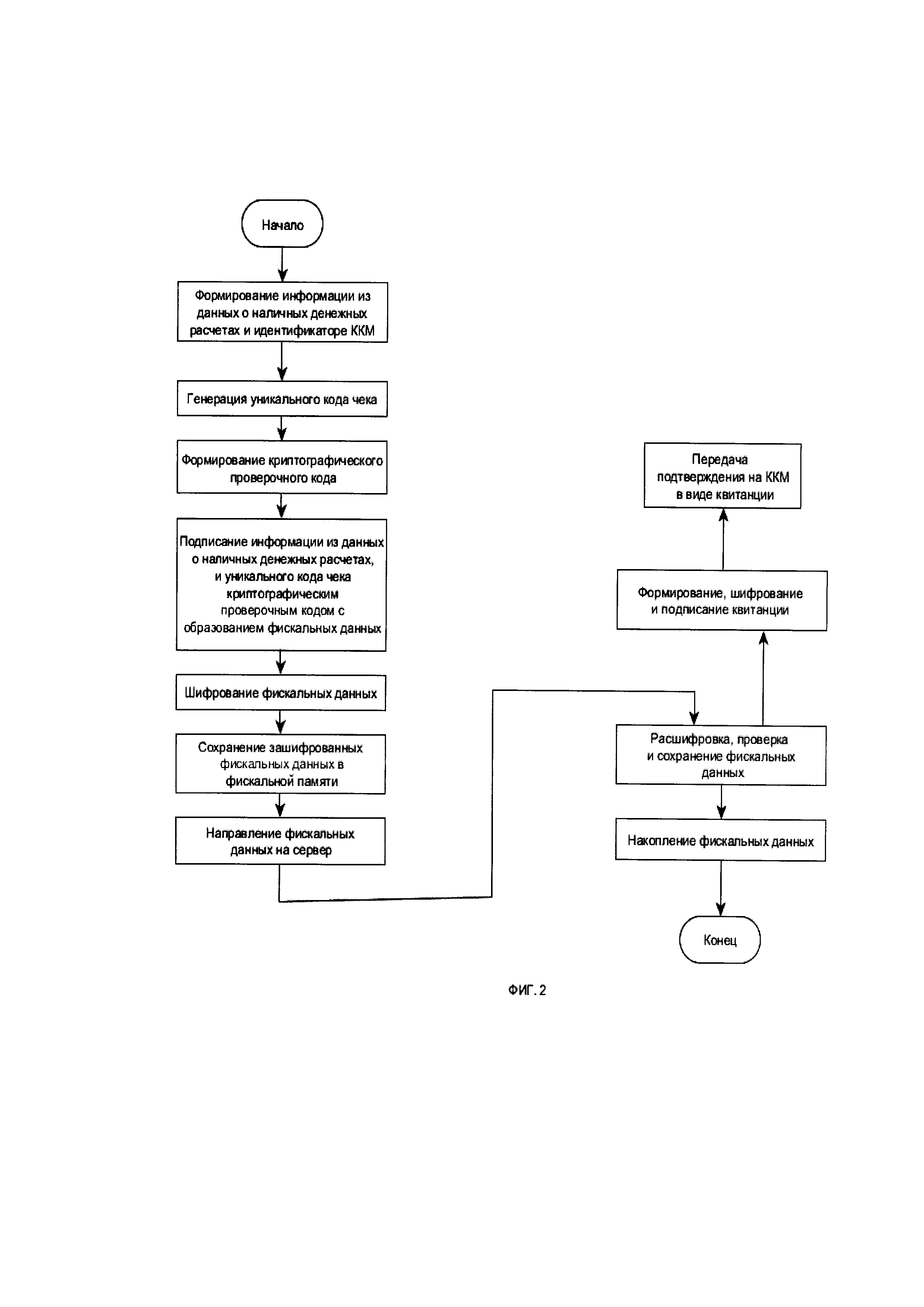
На фиг. 2 представлена блок-схема алгоритма работы системы обработки данных о наличных денежных расчетах и/или расчетах с использованием платежных карт при работе контрольно-кассовых машин с функциями фиксации и передачи информации и сервера оператора фискальных данных. На фиг. 2 понятие "наличные денежные расчеты и/или расчеты с использованием платежных карт" сокращено до "наличные денежные расчеты".

[34]

В начале вычислительное устройство 2 каждой контрольно-кассовая машины 1 с функциями фиксации и передачи информации формирует информацию из данных о наличных денежных расчетах и/или расчетах с использованием платежных карт. Затем каждая контрольно-кассовая машина 1 генерирует уникальный код каждого кассового чека. Эти данные поступают через модуль 3 передачи данных на криптопроцессор 4, который формирует криптографический проверочный код, подписывает информацию из данных о наличных денежных расчетах и/или расчетах с использованием платежных карт и уникального кода каждого кассового чека с образованием фискальных данных.

[35]

В качестве алгоритма шифрования предлагается использовать алгоритм гаммирования с режимом выработки имитовставки. Имитовставка позволяет проводить проверку того, что в криптографический проверочный код случайно или преднамеренно не были внесены искажения.

[36]

Затем осуществляется шифрование фискальных данных и зашифрованные фискальные данные сохраняются в фискальной памяти.

[37]

Вычислительное устройство 2 каждой контрольно-кассовой машины 1 с функциями фиксации и передачи информации через модуль 3 передачи данных направляет по каналам связи 11 на сервер 10 оператора фискальных данных зашифрованные фискальные данные для каждого кассового чека. Сервер 10 оператора фискальных данных для каждой контрольно-кассовой машины 1 с функциями фиксации и передачи информации принимает фискальные данные модулем 6 приема данных. Средство 7 формирования и проверки фискального признака осуществляет расшифровку фискальных данных, проверку фискальных данных с помощью криптографического кода с выявлением фальсификации фискальных данных и их сохранение в базе фискальных данных 8 сервера 10 оператора фискальных данных и одновременно формирование и шифрование квитанции подтверждения получения фискальных данных оператором фискальных данных по каждому чеку, подписание каждой квитанции подтверждения получения фискальных данных оператором фискальных данных фискальным признаком, передачу подтверждения получения фискальных данных от сервера 10 оператора фискальных данных по каналам связи 11 на каждую контрольно-кассовую машину 1 с функциями фиксации и передачи информации по каждому чеку в виде квитанции подтверждения получения фискальных данных оператором фискальных данных с сохранением квитанции подтверждения получения фискальных данных оператором фискальных данных в фискальной памяти. Осуществляют накопление фискальных данных по всем чекам и контрольно-кассовым машинам в базе фискальных данных 8 сервера 10 оператора фискальных данных.

[38]

Пример применения способа

[39]

Способ обработки данных о наличных денежных расчетах и/или расчетах с использованием платежных карт при работе контрольно-кассовых машин с функциями фиксации и передачи информации и сервера оператора фискальных данных включает формирование информации из данных о наличных денежных расчетах и/или расчетах с использованием платежных карт на каждой контрольно-кассовой машине 1 с функциями фиксации и передачи информации, генерацию уникального кода каждого кассового чека в каждой контрольно-кассовой машине 1 с функциями фиксации и передачи информации. Затем происходит формирование криптографического проверочного кода, подписание информации из данных о наличных денежных расчетах и/или расчетах с использованием платежных карт и уникальном коде каждого кассового чека криптографическим проверочным кодом с образованием фискальных данных. После этого осуществляют шифрование фискальных данных, сохранение зашифрованных фискальных данных для каждого чека в фискальной памяти 5, направление с каждой контрольно-кассовой машины 1 с функциями фиксации и передачи информации на сервер 10 оператора фискальных данных по каналам связи 11 зашифрованных фискальных данных для каждого чека, расшифровку фискальных данных, проверку фискальных данных с помощью криптографического кода с выявлением фальсификации фискальных данных и их сохранение в базе фискальных данных 8 сервера 10 оператора фискальных данных и одновременно формирование и шифрование квитанции подтверждения получения фискальных данных оператором фискальных данных по каждому чеку, подписание каждой квитанции подтверждения получения фискальных данных оператором фискальных данных фискальным признаком, передачу подтверждения получения фискальных данных от сервера 10 оператора фискальных данных по каналам связи 11 на каждую контрольно-кассовую машину 1 с функциями фиксации и передачи информации по каждому чеку в виде квитанции подтверждения получения фискальных данных оператором фискальных данных с сохранением квитанции подтверждения получения фискальных данных оператором фискальных данных в фискальной памяти.

[40]

Затем осуществляют накопление фискальных данных по всем кассовым чекам и контрольно-кассовым машинам 1 в базе фискальных данных 8 севера 10 оператора фискальных данных.

[41]

После сохранения зашифрованных фискальных данных в фискальной памяти в каждой контрольно-кассовой машине с функциями фиксации и передачи информации осуществляют распечатку чека или пересылку электронной формы чека.

Как компенсировать расходы
на инновационную разработку
Похожие патенты