патент
№ RU 2685182
МПК A23C3/02

УНИЧТОЖЕНИЕ МИКРООРГАНИЗМОВ С ИСПОЛЬЗОВАНИЕМ ПАДЕНИЯ ДАВЛЕНИЯ И НАГРЕВА

Авторы:
ФРЕШЕТ Филип Р (PR)
Номер заявки
2017119160
Дата подачи заявки
22.04.2016
Опубликовано
16.04.2019
Страна
RU
Дата приоритета
27.12.2025
Номер приоритета
Страна приоритета
Как управлять
интеллектуальной собственностью
Чертежи 
8
Реферат

Изобретение относится к области биотехнологии. Предложен способ уничтожения микроорганизмов в жидкости. Способ включает распыление форсункой жидкости в виде капель во внутреннюю полость реактора, создание перепада давления жидкости на восемь бар или более между входом и выходом форсунки и увеличение температуры находящейся во внутренней полости реактора жидкости по меньшей мере на 10°С. Причём увеличение температуры осуществляют путем нагрева жидкости с помощью нагревательных рубашек. Изобретение обеспечивает уничтожение и/или уменьшение роста патогенов. 16 з.п. ф-лы, 8 ил., 2 пр.

Формула изобретения

1. Способ уничтожения микроорганизмов в жидкости, включающий:

(A) распыление жидкости в виде капель во внутреннюю полость реактора по меньшей мере одной форсункой,

создание перепада давления жидкости на восемь бар или более между входом форсунки и выходом форсунки, когда жидкость распыляется в виде капель; а также

(B) после распыления жидкости увеличение температуры жидкости, находящейся во внутренней полости реактора, по меньшей мере, на 10°С путем ее нагрева с помощью нагревательных рубашек, расположенных снаружи вокруг одной или нескольких из наружных поверхностей стенок реактора.

2. Способ по п. 1, в котором давление жидкости не менее чем на восемь бар выше на входном отверстии, чем на выходном отверстии форсунки.

3. Способ по п. 1, в котором капли собирают внутри внутренней полости реактора для создания объема жидкости, а температура объема жидкости увеличивается на 10°С или более.

4. Способ по п. 3, в котором температуру объема жидкости повышают, по меньшей мере, частично за пределами реактора.

5. Способ по п. 3, в котором температура всего объема жидкости увеличивается, пока он находится в реакторе.

6. Способ по п. 3, в котором температура всего объема жидкости увеличивается, когда он находится вне реактора.

7. Способ по любому из пп. 1-6, в котором температуру жидкости повышают до температуры от 62°С до 65°С.

8. Способ по любому из пп. 1-6, в котором температуру жидкости повышают до температуры от 48°С до 82°С.

9. Способ по любому из пп. 1-6, в котором температуру объема жидкости повышают до температуры от 50°С до 72°С.

10. Способ по п. 1, в котором скорость нагрева жидкости составляет от 0.5°С до 5°С в секунду.

11. Способ по п. 1, в котором скорость падения давления выбрана из одной из группы, состоящей из: восемь бар за миллисекунду или более; восемь бар за 1/10000 секунды или более; восемь бар за миллисекунду или более; восемь бар за 1/100 секунды или более; восемь бар за 1/10 секунды или более; восемь бар в секунду и более и восемь бар за две секунды или более.

12. Способ по п. 1, в котором скорость капель, выходящих из форсунки, составляет 10 м/сек или более.

13. Способ по п. 1, в котором жидкость нагревают перед распылением.

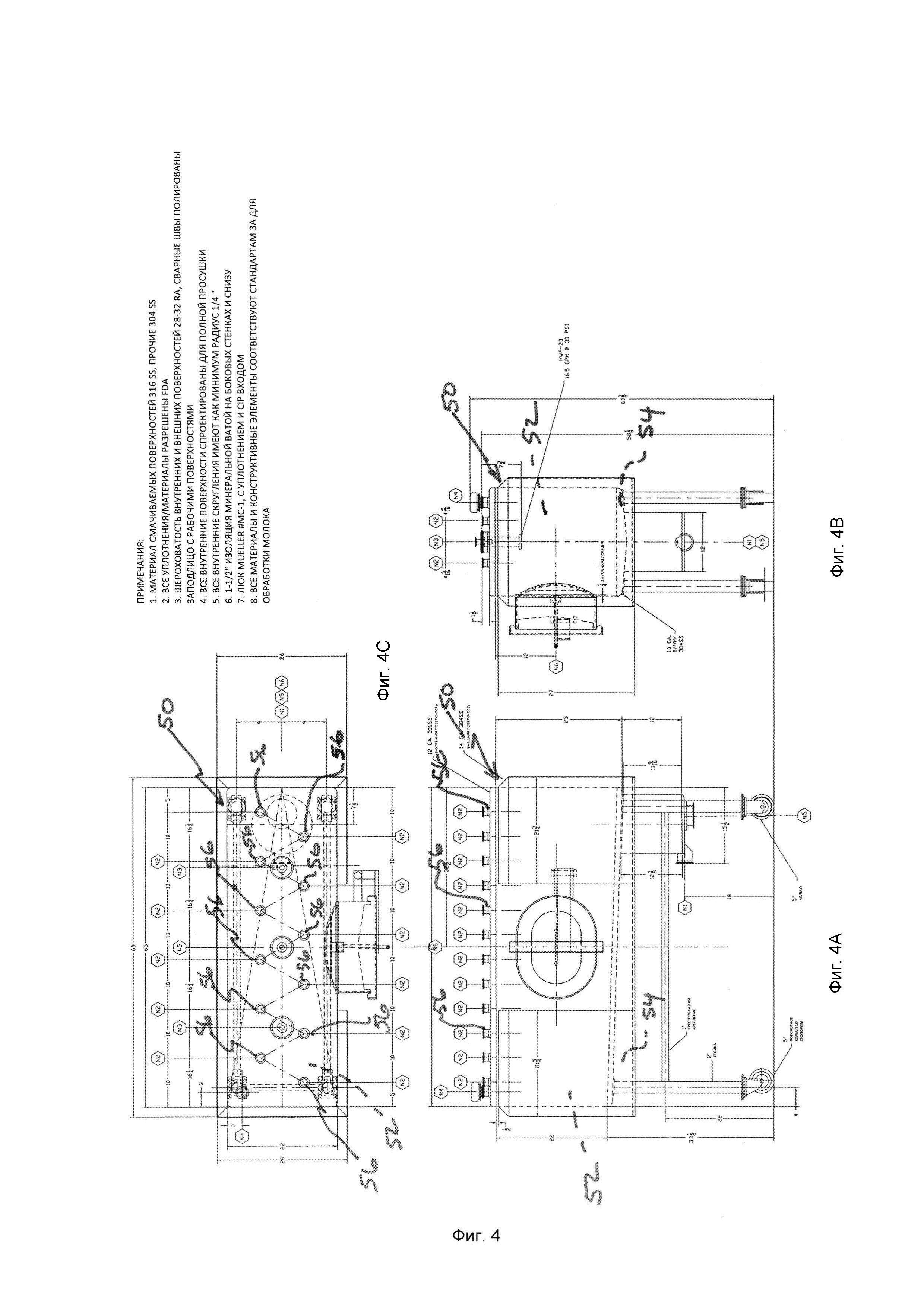
14. Способ по п. 13, в котором жидкость нагревают до температуры от 52°С до 56°С.

15. Способ по п. 1, включающий дополнительную обработку жидкости после ее нагрева методом пастеризации или стерилизации.

16. Способ по п. 1, в котором жидкость выбрана из группы, состоящий из (а) пищевого продукта, (б) фармацевтического продукта и (в) вакцины.

17. Способ по п. 1, в котором повышение температуры на 10°С или более поддерживают в течение 1-10 секунд.

Описание

[1]

ОБЛАСТЬ ИЗОБРЕТЕНИЯ

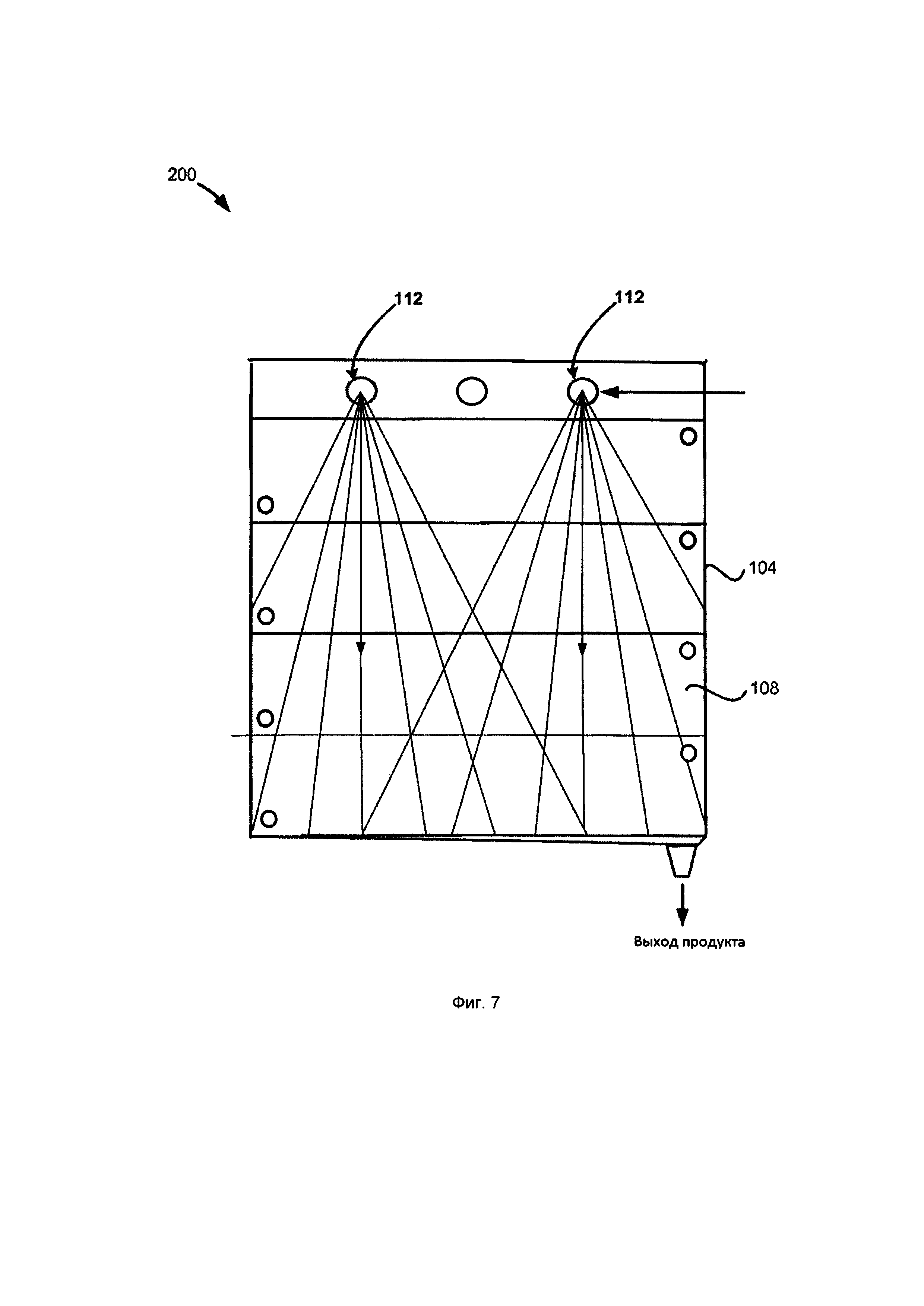
[2]

[001] Настоящее изобретение относится к системам и способам, которые используют изменение давления и/или температуры, чтобы уничтожить, или снизить рост микроорганизмов (далее - патогены), таких как бактерии. Система и способ могут быть использованы для жидких продуктов (далее - "жидкость") в любой отрасли промышленности, таких как пищевая, вакцинная или фармацевтическая промышленность. Некоторые типичные жидкие пищевые продукты - это молоко, другие молочные продукты, фруктовый сок, кокосовое молоко, кокосовая вода и кокосовые сливки. Система и способ также может быть использованы для очистки воды, пива, вина или любой жидкости, из которой должны быть удалены патогены, и которые могут использовать данный способ без ущерба его качества до такой степени, что метод был бы нежелательным.

[3]

[002] Раскрытие информации в патенте США N 8,449,820, в публикации заявки США №2014/0261017, в предварительной заявке США №62/152689 и предварительной заявке США №62/209039 не является несовместимым с раскрытием информации в данной заявке, в которую данные источники полностью включены путем ссылки.

[4]

УРОВЕНЬ ТЕХНИКИ

[5]

[003] Известны способы термической обработки жидкости, предназначенные для уничтожения или уменьшения количества патогенных микроорганизмов в жидкости. В некоторых известных способах патогенные микроорганизмы погибают при нагревании жидкости, например, иногда путем смешивания жидкости с нагревающей средой (например, паром) и поддержания указанной жидкости при температуре пастеризации или стерилизации жидкости.

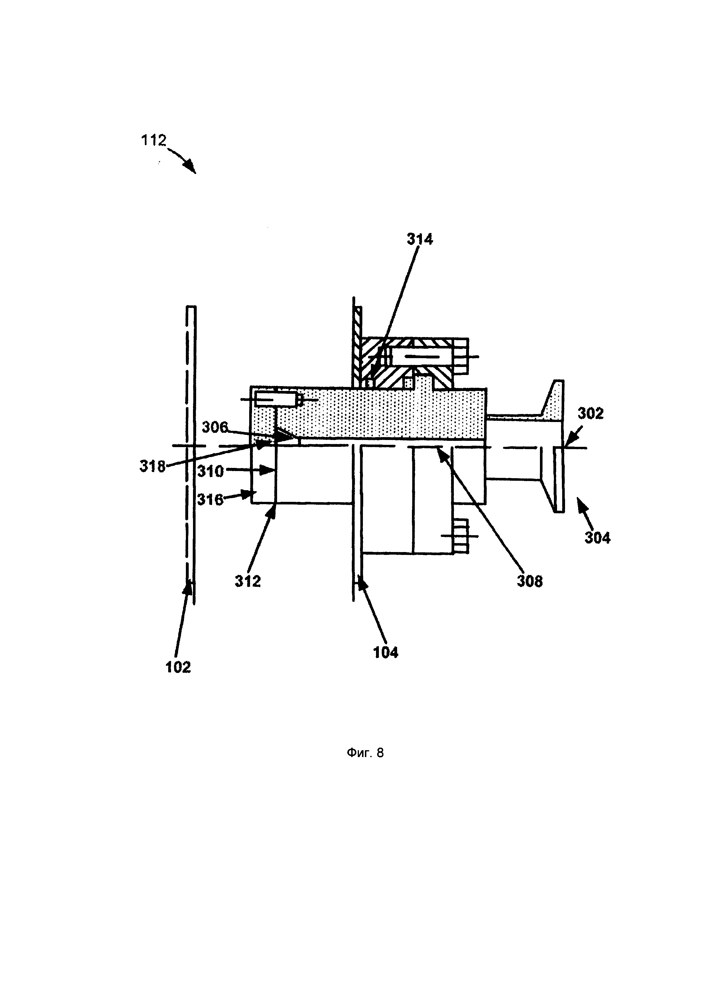
[6]

[004] Одним из недостатков этих известных способов является то, что жидкость смешивается с избытком воды, когда пар конденсируется. Как результат, необходимо удаление воды, что в целом требует дополнительного оборудования, этапов обработки, затрат времени и средств. Другим недостатком этих известных способов является потенциальное ухудшение качества и вкуса после нагревания жидкого продукта независимо от того, каким образом выполняется нагрев.

[7]

[005] Известен другой способ, в котором жидкость смешивается с теплоносителем со скоростью около 1400°С/сек или более для пастеризации, и около 7600°С/сек или более для стерилизации до температуры, не превышающей температуру, при которой происходят качественные изменения в жидкости (такие качественные изменения и температуры известны специалистам в данной области). Продукт распыляется в капли, в основном, не превышающие 0,3 мм в диаметре (этот процесс описан в Патенте РФ №2,052,967, раскрытие которого не несовместимо с раскрытием этой заявки, и который включен путем ссылки). Этот способ обеспечивает эффективную термическую обработку жидкости, уничтожает патогены, и его влияние на качественные аспекты жидкости менее неблагоприятно, так как он увеличивает скорость, с которой жидкий продукт нагревают и выдерживают продукт при высокой температуре в течение очень короткого времени. Этот способ может быть осуществлен в пастеризационном устройстве, которое обычно содержит распылитель (форсунку) жидкого продукта, камера пастеризации, форсунку для пара, парогенератор, охладительную систему, и вакуумный насос.

[8]

[006] Недостатком этого метода является то, что он все еще смешивает жидкость с паром или горячим воздухом, которые могут неблагоприятно повлиять на стабильность органолептических и физико-химических свойств (например, вкус, запах, цвет и консистенция) жидкости, а также не гарантирует необходимого разрушения тех патогенов, которые термоустойчивы.

[9]

Краткое изложение сущности изобретения

[10]

[007] Задачей настоящего изобретения являются создание способа и устройства для тепловой обработки жидкости под давлением, которые позволили бы уничтожить и/или уменьшить рост патогенов.

[11]

Согласно различным вариантам осуществления изобретения способ уменьшения количества патогенов в жидком продукте состоит в том, чтобы подвергнуть жидкость падению (перепаду) давления, по меньшей мере, на восемь бар, предпочтительно, в момент, когда она проходит через форсунку, посредством которой она распыляется в виде капель, распыляемых во внутреннюю полость реактора (в данном описании один Бар равен 100000 Па). Таким образом, в одном предпочтительном варианте реализации изобретения, давление жидкости на входе в форсунку, где жидкость поступает в форсунку, по меньшей мере, на восемь Бар больше, чем давление на выходе из форсунки, где жидкость выходит в виде капель во внутреннюю полость реактора. В данном описании имеется ввиду, что восемь Бар означают восемь Бар приблизительно, и значение может быть меньше, например, 7.6 Бар, и может зависеть от количества жидкого продукта, нагреваемого после падения давления. Если не указано иное, далее в этой заявке, тем не менее, восемь Бар означает 8.0 Бар. В соответствии с аспектами настоящего изобретения скорость падения давления жидкости составляет предпочтительно от примерно 102 Па/сек или более, 103 Па/сек или более, 105 Па/сек или более, примерно 105 Па/сек до 1010 Па/сек, примерно 109 Па/сек или более, восемь Бар за миллисекунду или более, восемь Бар за 1/100 секунды или более, восемь Бар за 1/10 секунды или более, восемь Бар в секунду или более, восемь Бар за две секунды или более, восемь Бар за пять секунд или более, или восемь Бар за десять секунд или более.

[12]

[008] В соответствии с дополнительными аспектами изобретения, процесс обработки жидкого продукта предпочтительно включает распыление жидкости в виде капель (предпочтительно капель, характеризующихся диаметром, не превышающим в среднем около 100-200 мкм, или 100-400 мкм) во время перепада (падения) давления. При этом любой подходящий размер или форма капель могут быть сформированы в процессе распыление жидкости. Капли, выходящие из форсунки, не обязательно должны иметь одинаковую форму или размер. В соответствии с дополнительными аспектами изобретения, скорость капель, выходящих из форсунки, может составлять около 10 м/сек или более. В других аспектах изобретения, если используются несколько форсунок, то их располагают так, чтобы свести к минимуму или устранить взаимное пересечение капель, выходящих из различных форсунок.

[13]

[009] Жидкость может быть нагрета перед входом в форсунку. Жидкость также предпочтительно нагревается после или во время процесса распыления, подвергаясь перепаду давления таким образом, чтобы температура жидкости, предпочтительно повышалась по меньшей мере на 10°С по сравнению с температурой жидкости, поступающей в форсунку. В данном описании нагрев жидкости означает, что вся жидкость нагревается допо крайней мере заданной температуры с целью нагрева патогенов в жидкости до этой температуры; при этом некоторая часть или вся жидкость может быть нагрета до температуры выше заданной температуры.

[14]

[010] После падения давления, температура жидкости предпочтительно увеличивается, по меньшей мере, на 10°С до любой подходящей температуры, такой как температура в интервале приблизительно 48°С и 82°С, или приблизительно 50°С - 75°С, или приблизительно 62°С - 65°С, или до 70°С, или до 75°С, в зависимостиот обрабатываемого продукта. Такие температуры наиболее предпочтительны как более низкие, чем необходимые для пастеризации способом «высокая температура, короткая выдержка» ("HTST") данного жидкого продукта. Кроме того, скорость нагрева жидкого продукта предпочтительно не превышает 1100°С/сек, или находится в диапазоне от 1°С - 5°С, составляет от одной секунды до шестидесяти секунд на 1°С, составляет около 0,5°С в секунду или менее, около 1°С в секунду, около 1°С за десять секунд, или от 1°С в секунду и 10°С в течение шестидесяти секунд, но может быть использована любая подходящая скорость нагрева. Жидкость может быть нагрета с использованием любого известного устройства или способа. В одном из вариантов реализации нагревание происходит без введения пара, горячего воздуха, или любой другой субстанции в капли жидкости.

[15]

В одном из вариантов осуществления изобретения нагревание предпочтительно проводят после того, как капли были собраны в объеме жидкости, находящейся в резервуаре во внутренней полости реактора. Нагревание объема собранной жидкости может происходить внутри и/или снаружи внутренней полости реактора, предпочтительно с использованием любого подходящего теплообменника, например, известного специалистам в данной области техники типа.

[16]

[011] В другом варианте реализации, капли жидкости нагреваются во внутренней полости реактора при помощи температуры, поддерживаемой во внутренней полости реактора, или путем введения пара, горячего воздуха или другой субстанции для нагрева капель. В еще одном из вариантов реализации, жидкость частично нагревается любым желаемым образом, пока она в форме капель, и дополнительно нагревается любым желаемым способом после того, как она собралась в объем жидкости в резервуаре. Например, жидкий продукт может быть нагрет на 5°С, в то время как он пребывает в форме капель, и еще на 5°С или более, после того, как он была собран в объем жидкости. В качестве альтернативы, жидкость может быть полностью нагрета любым подходящим способом до заданной температуры, пока она находится в капельной форме. Вне зависимости от того, каким образом температура повышается по меньшей мере на 10°С, при этой температуре жидкость можно поддерживать в течение любого требуемого времени, и любым подходящим способом, предпочтительно после того, как она собрана в объем жидкости.

[17]

[012] Температура жидкого продукта может поддерживаться на уровне 10°С или более высокой в течение любого подходящего периода времени, например, по меньшей мере, 0,5 секунды, по меньшей мере, одну секунду, по меньшей мере, две секунды, по крайней мере, пять секунд, по меньшей мере, десять секунд, в не менее двадцати секунд, по крайней мере, тридцать секунд, по меньшей мере, одну минуту, по крайней мере две минуты, по крайней мере пять минут, по крайней мере, десять минут, по крайней мере, двадцать минут, по крайней мере тридцать минут, или 0,5 секунды до 30 минут.

[18]

[013] В соответствии с различными вариантами реализации настоящего изобретения, устройство включает реактор. Реактор имеет внутреннюю полость и одну или более форсунку, которые взаимодействуют с внутренней полостью для распыления капель жидкости во внутреннюю полость. Реактор, в соответствии с изобретением, может включать в себя любую подходящую конфигурацию внутренней полости и любое количество форсунок, расположенных в любых подходящих местах в реакторе; форсунки, каждая из которых имеет выход, направленный в реактор, чтобы распылять в него жидкий продукт. Форсунки могут быть сконфигурированы, чтобы уменьшить или устранить наложение капель, покидающих соответствующие форсунки, а реактор может иметь отдельные отсеки, с каждым из которых сообщается одна или несколько форсунок. В зависимости от необходимой скорости потока жидкого продукта через реактор одна или несколько форсунок может работать одновременно.

[19]

[014] Устройство может включать в себя насос для повышения давления на входе в форсунку и отдельный насос для регулирования давления во внутренней полости реактора. Устройство может включать в себя первый теплообменник для нагрева жидкости до того, как она поступает в форсунку и/или второй теплообменник, который может быть расположен внутри и/или снаружи внутренней полости реактора для нагрева объема жидкости, собранной во внутренней полости реактора, и насос для перекачки жидкости из реактора, и, наиболее предпочтительно, через теплообменник. Кроме того, устройство может включать нагреватель для нагревания внутренней полости реактора или другие компоненты для введения одной или более субстанций для нагревания капель, выходящих из форсунки.

[20]

КРАТКОЕ ОПИСАНИЕ ЧЕРТЕЖЕЙ

[21]

[015] Примерные варианты осуществления настоящего изобретения будут описаны в соответствии с прилагаемыми чертежами, на которых:

[22]

[016] Фиг. 1 иллюстрирует способ обработки жидкости в соответствии с вариантами осуществления настоящего изобретения.

[23]

[017] Фиг. 2 иллюстрирует устройство для обработки жидкости в соответствии с примерными вариантами осуществления изобретения.

[24]

[018] Фиг. 3 иллюстрирует другие аспекты устройства, показанного на Фиг. 2.

[25]

[019] Фиг. 4 (4А-4С) иллюстрирует реактор, показанный для использования в аспектах настоящего изобретения.

[26]

[020] Фиг. 5 иллюстрирует форсунку, используемую при обработке жидкости в соответствии с вариантами осуществления настоящего изобретения.

[27]

[021] Фиг. 6 иллюстрирует реактор в соответствии с альтернативными аспектами настоящего изобретения.

[28]

[022] На Фиг. 7 показан альтернативный вид реактора, приведенного на Фиг. 6.

[29]

[023] Фиг. 8 представляет собой вид альтернативной форсунки, которая может быть применена в практике использования настоящего изобретения.

[30]

Подробное описание предпочтительных вариантов осуществления настоящего изобретения

[31]

[024] Представленное ниже описание иллюстративных вариантов осуществления настоящего изобретения приводится исключительно в качестве примера и предназначено для иллюстративных целей; при этом следует отметить, что представленное ниже описание не предназначено для ограничения объема раскрытого в настоящем документе изобретения.

[32]

[025] Фиг. 1 иллюстрирует предпочтительный способ 10 обработки жидкости в соответствии с вариантами осуществления настоящего изобретения. Способ 10 включает в себя этапы создания перепада давления в восемь Бар или более между входом форсунки и выходом из форсунки, когда жидкость распыляется в виде капель. При этом выходное отверстие форсунки предпочтительно расположено во внутренней полости реактора (этапы 11-12).

[33]

В качестве альтернативного варианта осуществления данного этапа изобретения, создание падения давления в восемь бар или более может быть осуществлено, если жидкость распыляется в виде капель между входным отверстием форсунки и внутренней полостью реактора. Изменение давления достаточно, чтобы уничтожить или ослабить внешние мембраны предварительно выбранных патогенов или уменьшить количество патогенов в жидкости. Скорость изменения давления может принимать любые подходящие значения для требуемого уменьшения количества или ослабления мембран, уничтожения патогенов, и может быть около 102 Па/сек или более, 103 Па/сек или более, 104 Па/сек или более, 105 Па/сек или более, 109 Па/сек или более, между 105 Па/сек до 1010 Па/сек, восемь бар за 1/10000 секунды или более, восемь бар за миллисекунды или более, восемь бар за 1/100 секунды или более, восемь бар за 1/10 секунды или более, восемь бар в секунду или более, восемь бар за две секунды или более, восемь бар за пять секунд или более, или восемь бар за десять секунд или более. Предпочтительная скорость капель, покидающих форсунку, составляет 10 м/сек или выше. Жидкость может распыляться в капли, имеющие средний диаметр примерно от 100 мкм до 200 мкм, или 100 мкм - 400 мкм. При этом настоящее изобретение не ограничивается раскрытыми частными примерами. Размер или форма капель могут быть произвольными, при этом капли могут не быть одинакового размера или формы.

[34]

[026] Хотя это и не проиллюстрировано, способ 10 может также включать создание (1) давления на входе в форсунку, через которую жидкость распыляется в виде капель, и (2) регулирование давления во внутренней полости реактора, причем регулирование давления может включать создание вакуума или частичного вакуума для создания перепада давления в восемь бар. Способ 10 также предпочтительно включает в себя этап (не показан) нагревания жидкости до того, как она достигнет входа форсунки.

[35]

[027] Жидкость может поступать в входное отверстие форсунки при температуре приблизительно от 40°С до приблизительно 80°С, или приблизительно от 50°С до приблизительно 70°С, или от около 52°С до около 56°С, или до примерно 75°С, или до примерно 60°С, или до примерно 65°С, или до примерно 70°С, хотя перед поступлением на вход форсунки жидкость может быть нагрета до любой подходящей температуры в зависимости от типа жидкого продукта. Жидкость предпочтительно нагревают первым теплообменником перед тем как жидкость поступает на вход форсунки.

[36]

[028] После того, как жидкость подверглась перепаду давления, она распыляется в виде капель, которые попадают во внутреннюю полость реактора, опционально нагревается в своей капельной фазе, жидкость предпочтительно собирается в одном или нескольких резервуарах во внутренней полости реактора для образования объема жидкости, называемого также жидкостным объемом (этап 13). Предпочтительно имеется один резервуар на дне реактора, но может быть более одного резервуара в более чем одном месте в реакторе. Объем(ы) собранной жидкости затем может быть увеличен таким образом, чтобы общее повышение температуры жидкости составляло 10°С или более по сравнению с температурой, при которой жидкость попадает на вход в форсунку. Объем жидкости, если он нагревается, можно нагревать во внутренней полости реактора и/или снаружи реактора (этап 14). Температуру жидкости надлежащим образом повышают, используя второй теплообменник любого подходящего типа.

[37]

[029] В альтернативном варианте осуществления изобретения жидкость может быть нагрета на 10°С или более и в то время, когда она выходит из форсунки и находится в форме капель, и после. Она может нагреваться за счет температуры, поддерживаемой внутри камеры реактора, или путем смешения капель с паром, горячим воздухом или другой субстанцией. Жидкость также можно частично нагревать в виде капель, а затем полностью нагревать до повышения ее температуры на 10°С или более градусов после того, как она снова собралась в жидкостный объем в резервуаре. Жидкий продукт выдерживают при повышенной на 10°С или более температуре по сравнению с температурой жидкости, поступающей в форсунку в течение любого подходящего времени, такого как период по меньшей мере 0,25 секунды, по меньшей мере 0,5 секунды, по меньшей мере одна секунда, по меньшей мере две секунды, по меньшей мере три секунды, по меньшей мере пять секунд, по меньшей мере десять секунд, по меньшей мере двадцать секунд, по меньшей мере тридцать секунд, от пяти секунд до тридцати минут, по крайней мере одну минуту, по крайней мере две минуты, по крайней мере пять минут, по крайней мере десять минут, по крайней мере двадцать минут или по крайней мере тридцать минут.

[38]

[030] Способ 10А имеет те же самые этапы 11 и 12, что и способ 10. На этапе 13А капли жидкости увеличиваются по температуре на 10°С или более. Нагревание предпочтительно осуществляют путем воздействия на капли подходящей температуры внутри внутренней полости реактора, а не путем смешивания капель с паром или горячим воздухом. На этапе 14А капли собирают, чтобы образовать объем жидкости. На этапах 14А и 14В жидкость частично нагревается во время капельной фазы, например, на 5°С, и нагревается больше, например, еще на 5°С, после того как ее собирают в виде объема жидкости, поэтому общее увеличение температуры жидкости составляет 10°С или более.

[39]

[031] Повышение температуры и скорость повышения температуры могут быть любыми, подходящими для уничтожения отдельных патогенов в конкретной жидкости. Например, скорость повышения температуры не может превышать 1100°С/сек, составляет от 1°С до 5°С, составляет от одной секунды до шестидесяти секунд на 1°С или около 0,5°С в секунду.

[40]

ПРИМЕР 1. Вариант осуществления устройства.

[41]

[032] На фигурах 2 и 3 представлено устройство 1, которое может быть использовано для осуществления способов в соответствии с настоящим изобретением, и имеет реактор 50 (лучше всего видно на Фиг. 4 (4А-4С)). Реактор 50 может иметь любую подходящую конструкцию, и любую подходящую конструкцию внутренней полости 52. Внутренняя полость 52 может быть открытой (как показано на фигурах), или иметь отдельные отсеки (не показаны), которые могут взаимодействовать или могут не взаимодействовать друг с другом. В предпочтительном варианте осуществления жидкость в виде капель распыляют с помощью одной или нескольких форсунок 56, которые установлены на внешней стенке реактора 50 и имеют выходное отверстие, которое направлено во внутреннюю полость 52 реактора. Капли жидкости попадают во внутреннюю полость 52 и, в конечном итоге, поступают в резервуар 54, находящийся во внутренней полости 52 (предпочтительно на дно), при этом под резервуаром 54 находится поддон 55. Реактор 50 может быть изолирован, например, использованием одной или нескольких нагревательных рубашек (не показаны), расположенных снаружи вокруг одной или нескольких из наружной поверхностей стенок реактора 50.

[42]

[033] Реактор 50 включает в себя, по меньшей мере, одну форсунку 56, которая в предпочтительном варианте осуществления представляет собой форсунку из нержавеющей стали, имеющую входное отверстие от 5 мм до 20 мм и выходное отверстие диаметром от 3 мм до 20 мм. Предпочтительный вариант выполнения форсунки 56 представлен на Фиг. 5. Форсунка 56 предпочтительно имеет входное отверстие 56А, которое расположено снаружи внутренней полости 52 и выходное отверстие 56 В, которое расположено внутри внутренней полости 52. Скоба 56С монтируется любым подходящим способом напротив внешней стенки реактора 50 для закрепления форсунки 56 в реакторе 50. В показанном предпочтительном варианте осуществления имеется двенадцать форсунок 56, расположенных в реакторе 50, причем каждая форсунка распыляет приблизительно от половины до двух литров в минуту, или до 10 литров в минуту каждая, или до 50 литров в час каждая, или до 200 литров в час, жидкости во внутреннюю полость 52, хотя можно использовать любую подходящую пропускную способность форсунки и использовать любой размер или тип форсунки для осуществления изобретения. Форсунки 56 расположены так, что при распылении практически нет перекрытия облаков распыла от каждой форсунки, входящей во внутреннюю полость 52. Любая одна или любая комбинация форсунок 56 может работать в одно время в зависимости от типа жидкости и требуемого расхода через реактор 50. Каждая форсунка также имеет внутренний диффузор (не показан), который рассеивает жидкость, поступающую на вход 56А, в капли, выходящие из выпускного отверстия 56В. Может использоваться любой подходящий диффузор, в частности, известный в данной области техники.

[43]

[034] Устройство 1 дополнительно содержит источник тепла, который предпочтительно не смешивает субстанции, такие как горячий воздух или пар, с каплями жидкости, поступающими в полость 52 реактора 50, хотя, как указано в настоящей заявке, горячий воздух, пар или другое вещество могут быть смешаны с каплями жидкости для повышения их температуры. Первый теплообменник 59 предпочтительно используется для нагрева жидкости до того, как она поступает во вход 56А форсунки 56. Второй теплообменник 60 имеет подходящую ширину, длину и температуру для нагрева любого желаемого количества объема жидкости, собранной после распыления, и предпочтительно на 10°С или более, как описано в настоящей заявке. Как показано, теплообменник 60 находитсяполностью за пределами реактора 50, но он может полностью или частично находиться внутри реактора 50. Устройство 1 может также содержать насос 62 для создания давления в жидкости, поступающей во вход 56А форсунки, и вакуумный насос 64 для регулирования давления внутренней полости 52, а также нагреватель 66, который может быть использован для повышения температуры во внутренней полости 52.

[44]

[035] В наиболее предпочтительном варианте осуществления способа согласно изобретению жидкость направляется под давлением к входному отверстию 56А форсунки 56, где она распыляется в виде капель, которые поступают во внутреннюю полость 52 через выходное отверстие 56В форсунки. Распыление предпочтительно проводят при любой подходящей температуре (как описано выше) для данной жидкости и патогенов, которые должны быть уничтожены, причем такие температуры известны или могут быть легко установлены специалистами в данной области техники. Например, если жидкостью в одном из вариантов осуществления является молоко, то оно поступает в форсунку 56 при температуре предпочтительно 52°С - 56°С (хотя может быть выбрана любая подходящая температура) и нагревается на температуру не менее 10°С после распыления, когда жидкость выходит из выходного отверстия форсунки 56В. Скорость падения давления для жидкого продукта должна быть достаточной для уничтожения или ослабления мембран патогенов, которые должны быть убиты, а некоторые предпочтительные скорости изменения давления приведены в данной заявке.

[45]

[036] Капли жидкости собираются в один или несколько объемов жидкости в резервуаре 54 после распыления во внутреннюю полость 52. Объем(ы) жидкости может затем быть нагрет до 10°С или более (поскольку жидкость может быть частично или полностью нагрета в капельной фазе), либо внутри и/или снаружи внутренней камеры реактора вторым теплообменником 60.

[46]

ПРИМЕР 2. Вариант осуществления устройства.

[47]

[037] Устройство 2 функционирует так же, как и устройство 1, за исключением того, что оно содержит реактор 100, который имеет другую конструкцию, в отличие от реактора 50. Устройство 2 также может быть использовано для осуществления способов согласно изобретению, которые были описаны выше. На фиг. 6 изображено устройство 2 с реактором 100 в соответствии с примерными вариантами осуществления изобретения.

[48]

[0038] Реактор 100 использует те же способы для обработки жидкости, описанные выше, но имеет другую конфигурацию и, в некоторых случаях другую конструкцию форсунки, в отличие от реактора 50. Как показано, стенки поверхности реактора и внутренняя полость реактора 100 по существу ориентированы по вертикали. Реактор 100, как показано, включает в себя две параллельные стенки 102, 104 и форсунку 112. Каждая стенка 102, 104 характеризуется наличием внутренней поверхности 106 и 108 соответственно.

[49]

Внутреннее пространство 110 между внутренними поверхностями 106, 108 ограничивает, по меньшей мере, часть внутренней полости внутри реактора 100. Стенки 102, 104 могут быть соединены между собой с использованием любой подходящей технологии, такой как сварка, или же стенки могут быть сформированы как одно целое. В качестве одного из примеров, стенки 102, 104 могут характеризоваться размерами 1200 мм × 1200 мм, а расстояние между стенками может составлять приблизительно 60 мм. Стенки 102, 104 могут быть выполнены из любого подходящего материала, такого как нержавеющая сталь, и характеризоваться любым подходящим размером или пространством между ними.

[50]

Реактор 100 может включать в себя дополнительные стенки, не изображенные на фиг. 6, с образованием внутреннего полости 110 внутри реактора. Реактор 100 включает в себя резервуар 116 для сбора жидкости. Дополнительно он может также включать в себя источник 114 вакуума, который предпочтительно представляет собой вакуумный насос для регулирования давления внутри полости 110.

[51]

[039] Во время работы реактора 100 жидкость под давлением подается на вход реактора 100, например, вблизи или в верхней части реактора 100 через форсунку 112, и жидкость направляется вниз в форме плоской струи между внутренними поверхностями 106, 108 стенок 102 и 104, соответственно. Используемый в настоящем контексте термин «плоский поток» или «плоская струя» означает по существу двухмерную струю. Например, струя может быть, по существу, плоскостной, двухмерной в первом направлении, а угол распыления струи в направлении, перпендикулярном первому направлению, может составлять около двадцати градусов или меньше, около десяти градусов или менее, около пяти градусов или меньше, или примерно два градуса или меньше. Толщина струи предпочтительно составляет приблизительно от 5 мм до 30 мм. В альтернативных вариантах осуществления, форсунка 112 выполнена с возможностью распыления жидкого продукта любой формы распыления во внутреннюю полость 110.

[52]

[040] Когда жидкость проходит через форсунку 112 и распыляется в виде капель, то она предпочтительно подвергается быстрому изменению давления, как описано выше, и общее падение давления предпочтительно составляет, по меньшей мере, восемь бар.

[53]

[041] В изображенном на фиг. 6 примере, иллюстрирующем вариант выполнения устройства, стенка 102 и стенка 104 являются вертикальными, и распыленный жидкий продукт перемещается от входа реактора вниз к нижней части реактора 100 и собирается в резервуаре 116.

[54]

[042] Согласно другому варианту осуществления (не показан) стенки могут быть не параллельными, но могут быть в форме перевернутой буквы «V», максимально сближаясь друг с другом в верхней части, где вводится распыленная жидкость. Альтернативно, они могут характеризоваться V-образной формой, максимально отдаляясь друг от друга в верхней части, где вводят распыленную жидкость.

[55]

[043] Хотя реактор 100 показан с двумя стенками, реактор в соответствии с настоящим изобретением может иметь более двух стенок и множество внутренних пространств; при этом одно пространство находится между каждыми двумя поверхностями стенок. Каждое внутреннее пространство, ограниченное двумя поверхностями стенок, может иметь одну или несколько форсунок на входе в пространство, так что капли, выходящие из одной или нескольких форсунок, направляются в пространство.

[56]

[044] Форсунка 112 расположена на входе во внутреннюю полость 110 реактора. Приведенная в заявке в качестве примера форсунка 112 преобразует поступающий поток жидкости (например, цилиндрический или конический поток), протекающий в первом направлении к плоскому потоку, протекающему во втором направлении. Согласно изображенному примеру второе направление перпендикулярно первому направлению. На фиг. 8 более подробно представлен иллюстративный пример варианта выполнения форсунки 112. Форсунка 112 включает в себя входное отверстие 302 на первом конце 304, конический конец 306 на конце канала 308 между первым концом 302 и коническим концом 306. Входное отверстие 302 и канал 308 могут характеризоваться диаметром между примерно 1 и 3 мм. Форсунка 112 также включает в себя внутреннюю структуру 310, которая принимает жидкость из канала 308 или конического конца 306 (например, в виде струи, характеризующейся цилиндрической или конической формой) и преобразует жидкость в струю плоской формы, как показано на Фиг. 2, которая выходит на конце 312 внутренней структуры 310. Толщина плоской струи, выходящей из форсунки, может составлять не более 5 мм, не более 10 мм, не более 20 мм или не более 30 мм. В качестве альтернативы, любая подходящая форсунка может использоваться с конструкцией этого реактора, такая как ранее описанная форсунка 56.

[57]

[045] Внутренняя структура 310 может включать в себя, например, плоскую пластину, которая может быть в форме диска. Внутренняя структура 310 включает переднюю кромку 318, удаленную от конца 312. Объем выходящей жидкости из форсунки 112 может составлять, например, от примерно 500 л/ч (литров в час) до 1000 л/ч или более. Форсунка 112 может быть изготовлена из любого подходящего материала, такого как нержавеющая сталь для пищевой промышленности.

[58]

[046] Форсунка 112 может быть прикреплена к одной или нескольким стенкам 102, 104 при помощи любой подходящей технологии. В качестве примера, форсунка 112 может содержать уплотнительное кольцо 314, зажимной диск 316 и крепежный механизм, такой как винт 318 для крепления форсунки 112 к стенке 104. Форсунка 112 может быть закреплена таким образом, чтобы распыление из форсунки 112 центрировалось между поверхностями 106, 108, соответственно, стенок 102 и 104, как показано на Фиг. 6-7.

[59]

[047] В соответствии с примерными вариантами осуществления изобретения, форсунка 112 сконструирована таким образом, чтобы создавать капли, характеризующие диаметром, обычно не превышающим в среднем около 100-200 мкм. Скорость капель в реакторе может составлять около 10 м/с или более, хотя она может варьироваться в соответствии с желаемыми рабочими параметрами.

[60]

[048] Дополнительный источник вакуума 114 может включать в себя любой подходящий вакуумный насос. Источник вакуума или насос 114 могут быть сконфигурированы для поддержания давления во внутренней полости 110 любого подходящего значения и, предпочтительно, от примерно одной атмосферы до примерно 0,25 бар.

[61]

[049] Ниже представлены примерные сочетания элементов аспектов настоящего изобретения:

[62]

1. Устройство для снижения количества патогенов в жидкости, причем устройство содержит:

[63]

(A) внутреннюю полость; а также

[64]

(B) форсунку для распыления потока жидкости в виде капель жидкости, причем форсунка имеет входное отверстие, в которое поступает жидкость, и выходное отверстие во внутреннюю полость реактора, через которое жидкость поступает во внутреннюю полость реактора, при этом давление жидкости на указанном входе по меньшей мере, на восемь бар больше давления на выходе форсунки; а также

[65]

(C) после того, как жидкость была распылена в виде капель, ее температура увеличивается на 10°С или более.

[66]

2. Устройство по примеру 1, в котором форсунка выполнена из нержавеющей стали.

[67]

3. Устройство по примеру 1, в котором внутренняя полость включает в себя стенки, которые расположены вертикально.

[68]

4. Устройство по примеру 3, в котором форсунка расположена в центре между стенками.

[69]

5. Устройство по любому из примеров 1-4, в котором реактор имеет верхнюю часть, и форсунка находится сверху.

[70]

6. Устройство по примеру 5, в котором выпускное отверстие обращено вниз в полость.

[71]

7. Устройство по примеру 3, в котором внутренние стенки не параллельны.

[72]

8. Устройство по примеру 3, в котором внутренние стенки параллельны.

[73]

9. Устройство по примеру 1, в котором внутренняя полость является цилиндрической.

[74]

10. Устройство по примеру 1, в котором внутренняя полость является конической.

[75]

11. Устройство по примеру 10, в котором внутренняя полость имеет больший диаметр внизу, чем вверху.

[76]

12. Устройство по примеру 10, в котором внутренняя полость имеет меньший диаметр внизу, чем вверху.

[77]

13. Устройство по любому из примеров 1-12, в котором внутренняя полость разделена на множество отсеков, и, по меньшей мере, одна форсунка имеет выходное отверстие во внутреннюю полость одного отсека.

[78]

14. Устройство по примеру 13, в котором каждая форсунка находится в верхней части реактора.

[79]

15. Устройство по любому из примеров 1-14, которое включает в себя множество форсунок.

[80]

16. Устройство по любому из примеров 1-15, дополнительно содержащее резервуар на дне реактора для сбора капель в виде объема жидкости.

[81]

17. Устройство по примеру 16, в котором жидкость, собранная в резервуаре, нагревается, поэтому ее температура увеличивается, по меньшей мере, на 10°С.

[82]

18. Устройство по примеру 17, в котором нагревание выполняется без введения жидкости или газа в жидкость.

[83]

19. Устройство по примерам 16 или 17, которое дополнительно включает в себя теплообменник для нагрева объема жидкости.

[84]

20. Устройство по любому из примеров 17-19, в котором объем жидкости нагревается, пока он, по меньшей мере, частично находится внутри реактора.

[85]

21. Устройство по любому из примеров 17-20, в котором объем жидкости нагревается, пока он, по меньшей мере, частично находится вне реактора.

[86]

22. Устройство по любому из примеров 17-21, где объем жидкости нагревают до температуры от 62°С до 65°С.

[87]

23. Устройство по любому из примеров 17-21, в котором объем жидкости нагревают до температуры от 48°С до 82°С.

[88]

24. Устройство по любому из примеров 17-21, в котором объем жидкости нагревают до температуры от 50°С до 72°С.

[89]

25. Устройство по любому из примеров 17-21, в котором объем жидкости нагревают до 70°С или менее, или 75°С или менее.

[90]

26. Устройство по любому из примеров 17-21, в котором объем жидкости нагревают до температуры, которая ниже температуры пастеризации жидкости.

[91]

27. Устройство по любому из примеров 1-25, в котором давление жидкости изменяется со скоростью от 105 до 1010 Па/сек.

[92]

28. Устройство по любому из примеров 1-25, в котором давление жидкости изменяется со скоростью от 109 Па/сек или более.

[93]

29. Устройство по любому из примеров 1-25, в котором давление жидкости изменяется со скоростью 105 Па/сек или более.

[94]

30. Устройство по любому из примеров 1-25, в котором давление жидкости изменяется со скоростью 8 бар за миллисекунды или более.

[95]

31. Устройство по любому из примеров 1-25, в котором давление жидкости изменяется со скоростью восемь бар за 1/100 секунды или больше.

[96]

32. Устройство по любому из примеров 1-25, в котором давление жидкости изменяется со скоростью восемь бар за 1/10 секунды или больше.

[97]

33. Устройство по любому из примеров 1-25, в котором давление жидкости изменяется со скоростью восемь бар в секунду или более, или восемь бар за две секунды или более, или восемь бар за пять секунд или более, или восемь бар за десять секунд или более, или восемь бар за тридцать секунд или более, или восемь баров в минуту или более.

[98]

34. Устройство по любому из примеров 1-33, в котором распыленная жидкость находится в виде капель со средним размером 100-200 мкм в диаметре или менее, или 100-400 мкм.

[99]

35. Устройство по любому из примеров 1-34, в котором скорость капель жидкости, выходящих из сопла форсунки, составляет 10 м/сек или более.

[100]

36. Устройство по любому из примеров 1-35, в котором жидкость нагревается перед попаданием на вход форсунки.

[101]

37. Устройство по любому из примеров 1-36, в котором скорость нагрева жидкости не превышает 1100°С/сек.

[102]

38. Устройство по любому из примеров 1-36, в котором скорость нагрева жидкости находится между 1°С и 5°С в секунду, или не превышает 1100°С/сек, или 1°С в течение от одной секунды до шестидесяти секунд, или около 0,5°С в секунду или более.

[103]

39. Устройство по любому из примеров 1-38, которое включает в себя насос для повышения давления жидкости на входе в форсунку.

[104]

40. Устройство по любому из примеров 1-39, в котором форсунка находится в полости, форсунка связана с жидкостью в полости, форсунка для создания плоской струи из цилиндрического или конического потока жидкости, блок управления вакуумом, связанный с полостью, в которой блок управления вакуумом и форсунка создают изменение давления жидкого продукта, поступающего во внутреннюю полость.

[105]

41. Устройство по любому из примеров 1-40, в котором температура жидкости, поступающей в форсунку, находится между 52°С и 56°С, или между 40°С и 60°С, или между 45°С и 80°С, или между 40°С и 70°С, или 75°С или менее.

[106]

42. Устройство по любому из примеров 1-41, в котором форсунка включает в себя входное отверстие, центральную часть и выходное смещение под углом 45°-90° от входного отверстия.

[107]

43. Устройство по примерам 1-39, где форсунка содержит внутреннюю структуру, которая содержит плоскую пластину, преобразующую основной цилиндрический поток жидкости в плоскую струю.

[108]

44. Устройство по любому из примеров 1-43, которое дополнительно включает в себя первый теплообменник для увеличения температуры жидкости до того, как она достигнет входа форсунки.

[109]

45. Устройство по любому из примеров 1-44, которое дополнительно включает в себя второй теплообменник для увеличения температуры объема жидкости после того, как объем жидкости собирается в резервуаре реактора.

[110]

46. Устройство по примеру 45, в котором второй теплообменник расположен частично или полностью во внутренней полости реактора.

[111]

47. Устройство по примеру 45, в котором второй теплообменник расположен частично или полностью снаружи реактора.

[112]

48. Устройство по любому из примеров 1-47, которое включает в себя нагреватель для нагрева внутренней полости реактора.

[113]

49. Устройство по примеру 48, в котором нагреватель не вводит нагретый газ или жидкость во внутреннюю полость.

[114]

50. Устройство по примерам 48 или 49, в котором нагреватель поддерживает температуру внутренней полости, превышающую температуру жидкости на входе в форсунку.

[115]

51. Устройство по любому из примеров 13-15, в котором форсунки расположены так, что капли, выходящие из соответствующих форсунок, не пересекаются.

[116]

52. Устройство по любому из примеров 1-15, в котором каждая форсунка создает коническое распыление капелек, выходящих из выпускного отверстия форсунки.

[117]

53. Устройство по любому из примеров 1-52, которое дополнительно содержит поддон под резервуаром.

[118]

54. Устройство по любому из примеров 1-53, в котором внутренняя полость имеет одну или несколько стенок из нержавеющей стали.

[119]

55. Устройство по любому из утверждений 1-56, в котором внутренняя полость не имеет приподнятых или вдавленных внутренних швов, и швы заподлицо с внутренней полостью стенки.

[120]

56. Устройство по любому из примеров 1-17 или 19-55, которое включает одну или несколько других форсунок для одного или нескольких впускных входов воздуха, пара или другой субстанции в полость для нагрева капель.

[121]

57. Устройство по любому из примеров 1-56, которое включает в себя насос для перекачивания жидкости в реактор.

[122]

58. Способ уменьшения количества патогенов в жидкости, включающий следующие этапы:

[123]

(A) распыление жидкости в виде капель таким образом, что жидкость подвергается, по меньшей мере, давлению в восемь бар; а также

[124]

(B) после распыления жидкости, происходит нагревание жидкости, чтобы увеличить ее температуру, по меньшей мере, на 10°С.

[125]

59. Способ по примеру 58, в котором имеется выходное отверстие форсунки, расположенное во внутренней полости реактора.

[126]

60. Способ по примерам 58 или 59, в котором имеется входное отверстие форсунки, на входе которого жидкость подвергается давлению.

[127]

61. Способ по любому из примеров 58-60, где форма потока жидкости преобразуется из цилиндрического или конического потока в плоскую струю.

[128]

62. Способ по примеру 60, в котором, по меньшей мере, происходит перепад давления в восемь бар от входа форсунки к ее выходному отверстию.

[129]

63. Способ по любому из примеров 58-62, в котором скорость изменения давления в жидком продукте составляет приблизительно 105 Па с или более, или 105 Па/с или более, или между 105 Па/с и 1010 Па/с, или восемь бар за миллисекунду или более, или восемь бар за 1/100 секунды или больше, или восемь бар за 1/10 секунды или более, или восемь бар в секунду или больше, или восемь бар за две секунды или более, восемь бар за пять секунд или более, или восемь бар за десять секунд или более.

[130]

64. Способ по любому из примеров 58-63, в котором скорость капель, выходящих из выходного отверстия форсунки, составляет около 10 м/с или более.

[131]

65. Способ по любому из примеров 58-64, где стадию нагревания жидкости на 10°С или более, проводят при давлении ниже атмосферного.

[132]

66. Способ по любому из примеров 58-65, в котором скорость нагрева жидкого продукта не превышает 1100°С/сек или от 1°С до 5°С в секунду, 0.5°С в секунду, или от 1°С в секунду до 10°С за 10 секунд, или от 1°С в секунду до 10°С за шестьдесят секунд.

[133]

67. Способ по любому из примеров 58-66, где жидкость выбрана из группы, состоящей из: (а) пищевой продукт, (в) фармацевтический продукт и (с) вакцины.

[134]

68. Способ по любому из примеров 58-67, где патоген выбран из одной или нескольких групп, состоящей из: (а) одна или более бактерия или другие патогены, (б) один или более вирус и (с) один или более гриб, плесень.

[135]

69. Способ по любому из примеров 58-68, где капли жидкости нагревают, чтобы увеличить их температуру на 10°С или более.

[136]

70. Способ по любому из примеров 58-68, где капли жидкости собирают с образованием объема жидкости, и объем жидкости нагревают, чтобы увеличить его температуру на 10°С или более.

[137]

71. Способ по любому из примеров 59-70, в котором форсунка имеет выходное отверстие диаметром от 1 мм до 30 мм или от 1 мм до 3 мм.

[138]

72. Способ по любому из примеров 58-68, где температура жидкости повышается на 10°С или более частично, пока жидкость находится в капельной фазе, и частично после того, как она была собрана в объем жидкости.

[139]

73. Способ по любому из примеров 58-72, в котором жидкость нагревается до входа в форсунку.

[140]

74. Способ по любому из примеров 58-73, в котором температура жидкости увеличивается, по меньшей мере, на 10°С, до температуры между 48°С и 82°С.

[141]

75. Способ по любому из примеров 58-73, где температура объема жидкости увеличивается, по меньшей мере, на 10°С, до температуры между 50°С и 75°С, или между 60°С - 65°С, или до 70°С или менее, или до 75°С или менее.

[142]

76. Способ по любому из примеров 58-73, где температура жидкости увеличивается после распыления до температуры ниже пастеризации жидкости.

[143]

77. Способ по любому из примеров 58-76, где средний размер капель жидкости составляет 100-200 мкм или 100-400 мкм в диаметре или менее.

[144]

78. Способ по любому из примеров 58-77, в котором жидкость нагревают до температуры между 52°С и 56°С, прежде чем она распыляется в капли.

[145]

79. Способ по любому из примеров 58-78, где повышение температуры жидкости на 10°С или более, поддерживается в течение 1-10 секунд.

[146]

80. Способ по любому из примеров 58-79, где восемь бар означают 8.0 бар.

[147]

81. Способ по любому из примеров 58-79, в котором восемь бар означают, по меньшей мере, 7.95 бар.

[148]

82. Способ по любому из примеров 58-79, где восемь бар означают, по меньшей мере, 7.6 бар.

[149]

83. Способ по любому из примеров 58-79, где 10°С означает, по меньшей мере, 9.8°С.

[150]

84. Способ по любому из примеров 58-62 или 64-83, в котором скорость падения давления составляет либо 102 Па/сек, либо более, 103 Па/сек или более, 105 Па/сек или более, 105 Па/сек - 1010 Па/сек или более, 109 Па/сек или более, восемь бар за 1/10 000 секунды или более, восемь бар за 1/1000 секунды и более, восемь бар за 1/100 секунды или более, восемь бар за 1/100 секунды или более, восемь бар за 1/10 секунды или более, восемь бар в секунду или более, восемь бар за две секунды или более, восемь бар за пять секунд или более, восемь бар за десять секунд или более, восемь бар за тридцать секунд или более, восемь бар за шестьдесят секунд или более, или между восемью барами за миллисекунду и восемью барами за секунду.

[151]

85. Способ по любому из примеров 58-84, в котором жидкость нагревают, по меньшей мере, на 5°С, в то время как она находится в капельной фазе, и, по меньшей мере, на 5°С после ее сбора в форму объема жидкости.

[152]

86. Способ по любому из примеров 58-85, в котором повышение температуры жидкости на 10°С или более, поддерживается в течение, по меньшей мере, одной секунды, по меньшей мере, двух секунд, по меньшей мере, от одной до пяти секунд, по меньшей мере, пяти секунд, не менее пяти - десяти секунд, по меньшей мере, десять секунд, не менее 20 секунд, по меньшей мере, тридцать секунд, по меньшей мере, одну минуту или, по меньшей мере, пять минут или не менее десяти минут, или не менее двадцати минут или не менее тридцати минут.

[153]

87. Способ по любому из примеров 58-86, в котором объем жидкости откачивают из реактора до его нагревания до повышения температуры на 10°С или более.

[154]

88. Устройство по любому из примеров 1-57, в котором резервуар наклоняется вниз под углом, чтобы облегчить удаление объема жидкости.

[155]

[050] Этапы в соответствии со способом могут быть выполнены в любом порядке, подходящем для желаемого конечного продукта. Жидкость нагревают до температуры, которая не приводит к ее качественным изменениям, причем такие температуры являются специфическими для каждого жидкого продукта и известны специалистам в данной области техники. Кроме того, после обработки с использованием устройства и способа в соответствии с изобретением, обрабатываемая жидкость может быть обработана второй раз с использованием стандартного метода пастеризации или стерилизации.

[156]

[051] Настоящее изобретение было описано выше со ссылкой на ряд примерных вариантов осуществления и примеров. Конкретные варианты осуществления, показанные и описанные здесь, иллюстрируют примерные варианты осуществления и не предназначены для ограничения объема изобретения. Изменения и модификации могут быть внесены в описанные здесь варианты осуществления без отхода от объема настоящего изобретения. Эти и другие изменения или модификации предназначены для включения в объем заявленного изобретения и его юридические эквиваленты.

Как компенсировать расходы
на инновационную разработку
Похожие патенты