патент
№ RU 2579009
МПК H02M5/00

ВЫСОКОВОЛЬТНЫЙ ПРЕОБРАЗОВАТЕЛЬ ЧАСТОТЫ С НАКОПИТЕЛЕМ ЭНЕРГИИ

Авторы:
Онищенко Георгий Борисович
Номер заявки
2015107895/07
Дата подачи заявки
06.03.2015
Опубликовано
27.03.2016
Страна
RU
Как управлять
интеллектуальной собственностью
Чертежи 
2
Реферат

Изобретение относится к области электротехники и может быть использовано в многокаскадных высоковольтных преобразователях частоты, фазы которых состоят из группы последовательно соединенных силовых преобразовательных ячеек. Технический результат - уменьшение колебаний электроэнергии, потребляемой преобразователем из сети при изменениях его нагрузки. В каждой фазе преобразователя частоты последовательно соединены однофазные ячейки (1-5), входы которых подключены к вторичным обмоткам многообмоточного силового трансформатора (6). Каждая однофазная ячейка содержит управляемый выпрямитель (7), инвертор (8) напряжения с широтно-импульсной модуляцией и блок управления (12). Выход инвертора (8) шунтирован первым коммутатором (9). В каждой фазе преобразователя часть однофазных ячеек снабжена накопителем электроэнергии (10), который через второй коммутатор (11) подключен к выходу выпрямителя (7). Блок управления (12) каждой однофазной ячейки, снабженной накопителем (10), выполнен с возможностью перевода этой ячейки в режим накопления энергии и в режим выдачи накопленной энергии. В первом из этих режимов выпрямитель (7) и коммутаторы (9) и (11) включены, а инвертор (8) выключен. Во втором режиме выпрямитель (7) и коммутатор (9) выключены, коммутатор (11) включен, инвертор (8) включен и работает. 2 ил.

Формула изобретения

Высоковольтный преобразователь частоты, содержащий многообмоточный силовой трансформатор, к вторичным обмоткам которого в каждой фазе преобразователя частоты подключены входы последовательно соединенных однофазных ячеек, каждая из которых содержит управляемый выпрямитель, инвертор напряжения с широтно-импульсной модуляцией, выход которого шунтирован первым коммутатором, и блок управления, при этом в каждой фазе преобразователя частоты по меньшей мере одна ячейка снабжена накопителем электроэнергии, который через второй коммутатор подключен к выходу выпрямителя, а блок управления выполнен с возможностью перевода указанной ячейки в режим накопления энергии с включенными управляемым выпрямителем, первым и вторым коммутаторами и выключенным инвертором напряжения и в режим выдачи накопленной энергии с выключенным первым коммутатором, выключенным управляемым выпрямителем и включенным вторым коммутатором.

Описание

[1]

Область техники

[2]

Изобретение относится к электротехнике и может быть применено в многокаскадных высоковольтных преобразователях частоты, фазы которых состоят из группы последовательно соединенных силовых преобразовательных ячеек.

[3]

Уровень техники

[4]

Известны многокаскадные высоковольтные преобразователи частоты, содержащие многообмоточный силовой трансформатор, к вторичным обмоткам которого в каждой фазе преобразователя подключены входы последовательно соединенных однофазных ячеек, каждая из которых содержит управляемый выпрямитель, инвертор напряжения с широтно-мпульсной модуляцией, выход которого шунтирован коммутатором, и блок управления [RU 85275, RU 2289191, RU 2397597].

[5]

Недостатком указанных аналогов является нестабильность потребляемой из сети электроэнергии, напрямую зависящей от колебаний нагрузки преобразователя, которая может значительно различаться, например, в дневное и ночное время. В качестве прототипа может быть выбран патент RU 2397597.

[6]

Сущность изобретения

[7]

Технический результат изобретения - уменьшение колебаний электроэнергии, потребляемой преобразователем из сети при изменениях его нагрузки.

[8]

Заявляемый высоковольтный преобразователь частоты содержит многообмоточный силовой трансформатор, к вторичным обмоткам которого в каждой фазе преобразователя частоты подключены входы последовательно соединенных однофазных ячеек, каждая из которых содержит управляемый выпрямитель, инвертор напряжения с широтно-мпульсной модуляцией, выход которого шунтирован первым коммутатором, и блок управления.

[9]

Отличие заявляемого преобразователя частоты состоит в том, что в каждой его фазе по меньшей мере одна однофазная ячейка снабжена накопителем электроэнергии, который через второй коммутатор подключен к выходу выпрямителя, а блок управления выполнен с возможностью перевода указанной ячейки в режим накопления энергии с включенными управляемым выпрямителем, первым и вторым коммутаторами и выключенным инвертором напряжения и в режим выдачи накопленной энергии с выключенным первым коммутатором, выключенным управляемым выпрямителем и включенным вторым коммутатором.

[10]

Это позволяет получить указанный технический результат, практически сохранив среднюю (например, среднесуточную) величину потребляемой из сети электроэнергии.

[11]

Осуществление изобретения

[12]

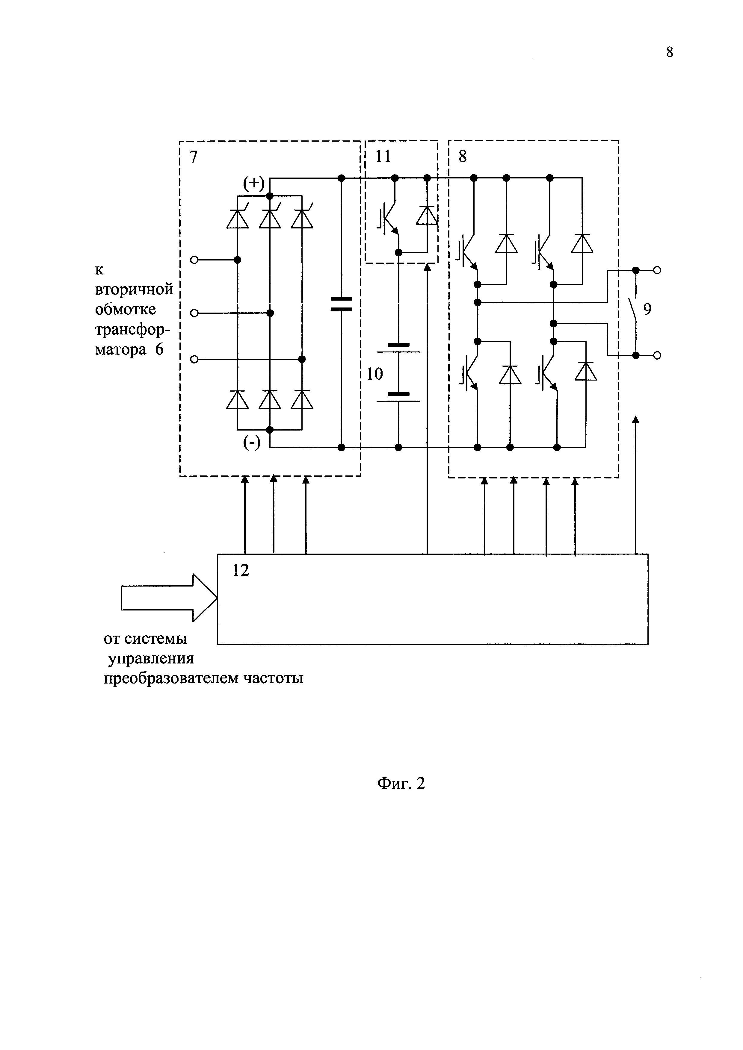
На фиг. 1 приведена блок-схема предлагаемого высоковольтного трехфазного преобразователя частоты, на фиг. 2 - схема его однофазной силовой ячейки, снабженной накопителем электроэнергии.

[13]

На фиг. 1 показаны последовательно соединенные в каждой фазе (А, В и С) трехфазного преобразователя однофазные ячейки 1-5, обозначения которых снабжены соответствующим индексом фазы. Входы всех ячеек 1-5 подключены к вторичным обмоткам многообмоточного силового трансформатора 6. Преобразователь частоты имеет систему управления (на фиг. 1 не показана).

[14]

Каждая однофазная ячейка 1-5 содержит (фиг. 2) управляемый выпрямитель 7, который получает трехфазное питание от отдельной группы вторичных обмоток трансформатора 6, соединенных в треугольник. К выходу управляемого выпрямителя 7 подключен инвертор напряжения с широтно-импульсной модуляцией. Выход инвертора 8 шунтирован первым коммутатором 9. В каждой из фаз А, В и С преобразователя часть однофазных ячеек (по меньшей мере одна ячейка, как показано на фиг. 2) снабжена накопителем электроэнергии 10, например, в виде аккумулятора или суперконденсатора, который подключен к выходу выпрямителя 7 через второй коммутатор 11.

[15]

Блок управления 12 каждой однофазной ячейки 1А, 1В и 1С, снабженной накопителем 10, выполнен с возможностью перевода (по команде от системы управления преобразователем частоты) этой ячейки в режим накопления энергии и в режим выдачи накопленной энергии. В первом из этих режимов выпрямитель 7 и коммутаторы 9 и 11 включены, а инвертор 8 выключен. Во втором режиме выпрямитель 7 и коммутатор 9 выключены, коммутатор 11 включен, инвертор 8 включен и работает.

[16]

Преобразователь, имеющий накопители 10 и коммутаторы 11, например, в ячейках 1А, 1В и 1С и не имеющий их в других ячейках, работает следующим образом.

[17]

Во всех режимах ячейки 2-5 без накопителя работают (как и в прототипе) в режиме прямой передачи электроэнергии сети в нагрузку: выпрямитель 7 каждой ячейки преобразует напряжение питающей сети на соответствующей вторичной трехфазной обмотке трансформатора 6 в постоянное напряжение, из которого инвертор 8 формирует на нагрузке преобразователя напряжение требуемой частоты и величины.

[18]

Ячейки 1А, 1В и 1С, снабженные накопителями 10 и коммутаторами 11, которые также способны (при отключенном положении коммутаторов 11) работать в режиме прямой передачи электроэнергии, обладают дополнительными возможностями.

[19]

При падении нагрузки (например, в ночное время) ячейки 2-5 работают так же, а ячейки 1А, 1В и 1С переводятся в режим накопления электроэнергии. В этом режиме инверторы 8 этих ячеек выводятся из работы (транзисторные ключи инверторов 8 запираются, а выходы выключенных инверторов 8 шунтируются коммутаторами 9). Накопитель 10 подключается коммутатором 11 к выходу выпрямителя 7, который работает, заряжая накопитель 8 от питающей трехфазной сети. При этом ячейки 2-5 работают на нагрузку, модулируя постоянное напряжение своих выпрямителей и обеспечивая на нагрузке весь требуемый уровень напряжения заданной частоты.

[20]

В периоды пиковой нагрузки (например, в дневное время) ячейки 2-5 работают так же, а ячейки 1А, 1В и 1С переводятся в режим выдачи накопленной электроэнергии, в котором они работают следующим образом. В каждой из ячеек 1А, 1В и 1С управляемый выпрямитель 7 выводится из работы (его тиристоры запираются), накопитель 10 коммутатором 11 подключается к входу инвертора 8, который вводится в работу и обеспечивает широтно-импульсную модуляцию напряжения, сохраняющегося на заряженном накопителе 10, для получения на нагрузке (совместно с инверторами ячеек 2-5) напряжения требуемого уровня и заданной частоты.

[21]

Работа в вышеописанных режимах позволяет разгрузить питающую сеть в дневное время за счет использования энергии, запасенной накопителями в ночное время.

[22]

Для тех ситуаций, когда накопители 10 ячеек 1А, 1В и 1С не заряжены, а заданные параметры напряжения, формируемого на нагрузке, требуют участия всех силовых ячеек преобразователя, предусматривается возможность работы всех силовых ячеек в режиме прямой передачи электроэнергии сети в нагрузку (с выключенными коммутаторами 9 и 11 в ячейках 1А, 1В и 1С).

Как компенсировать расходы
на инновационную разработку
Похожие патенты