патент
№ RU 2630858
МПК B64G1/00

УСТРОЙСТВО СОЕДИНЕНИЯ И РАССТЫКОВКИ ЭЛЕКТРИЧЕСКИХ СВЯЗЕЙ РАЗДЕЛЯЕМЫХ СТУПЕНЕЙ ЛЕТАТЕЛЬНОГО АППАРАТА

Авторы:
Дергачев Александр Анатольевич Щигорец Алексей Николаевич Кочура Владимир Иванович
Все (4)
Номер заявки
2016116143
Дата подачи заявки
26.04.2016
Опубликовано
13.09.2017
Страна
RU
Как управлять
интеллектуальной собственностью
Чертежи 
4
Реферат

Изобретение относится, главным образом, к конструкции высокоскоростных двухступенчатых ракет. Первой ступенью может служить носовой обтекатель, а второй – остальная часть ракеты. Предлагаемое устройство включает в себя устройство отделения и узел электрической стыковки. Данный узел установлен перпендикулярно внешней поверхности второй ступени и содержит закрепленную в корпусе втулку с электрическим разъемом. На верхней части втулки закреплена крышка с пазом для размещения жгута. Верхняя поверхность крышки повторяет внешний обвод ракеты. Устройство отделения выполнено из двух частей: одна представляет собой срезной механизм, а другая содержит жестко соединенную с корпусом первой ступени трубку с ограничителем, параллельную оси ракеты, и кассету для размещения сложенного жгута. Кассета шарнирно соединена с трубкой и закреплена на корпусе первой ступени. Тяга срезного механизма установлена с возможностью продольного перемещения в трубке до контакта с ограничителем. Техническим результатом изобретения является снижение динамических нагрузок, в частности, на обтекатель при его отделении, а также улучшение обтекаемости ракеты. 6 ил.

Формула изобретения

Устройство соединения и расстыковки электрических связей разделяемых ступеней летательного аппарата, содержащее устройство отделения и узел электрической стыковки, включающий установленный в корпусе летательного аппарата электрический разъем со жгутом, отличающееся тем, что узел электрической стыковки расположен перпендикулярно к внешнему обводу второй ступени и содержит жестко закрепленную в корпусе аппарата втулку, в которой установлен электрический разъем, на верхней части втулки жестко закреплена крышка, в которой выполнен паз для размещения жгута, верхняя поверхность крышки повторяет внешний обвод летательного аппарата, устройство отделения выполнено из двух частей, причём одна часть представляет собой срезной механизм, который установлен на корпусе второй ступени и содержит нож, жестко соединенный с крышкой, при этом один конец ножа шарнирно соединен с тягой, на которой жестко закреплен жгут, а другой конец содержит центральный срезной элемент, взаимодействующий со жгутом, и два боковых срезных элемента, на поверхности ножа установлена направляющая с выполненным в центральной части пазом для размещения жгута, жестко соединенная с крышкой, а другая часть устройства отделения содержит жестко соединенную с корпусом первой ступени трубку с ограничителем, которая установлена параллельно оси летательного аппарата, и кассету с полостью для размещения сложенного жгута, которая жестко закреплена на корпусе первой ступени, при этом тяга установлена с возможностью продольного перемещения в трубке до контакта с ограничителем.

Описание

[1]

Заявленное изобретение относится к области ракетно-космической техники и может быть использовано в конструкции высокоскоростных двухступенчатых ракет, снабженных устройством для соединения и расстыковки электрических коммуникаций ступеней (носовых обтекателей, блоков) ракеты.

[2]

Обычно конструкция двухступенчатых ракет требует наличия электрической связи между ступенями ракеты, разрываемой в момент расстыковки ступеней. Для электрической связи ступеней ракеты могут быть использованы различные электроразъемы, применяемые для электрической стыковки, например для стыковки маршевой или разгонной ступени или для стыковки носового обтекателя (НО) ракеты с дальнейшим отделением во время эксплуатации.

[3]

Наиболее близким по набору существенных признаков является техническое решение по патенту RU №2246093, которое и было принято авторами за аналог.

[4]

Данное техническое решение представляет собой двухступенчатую ракету с узлом электрической стыковки ступени, содержащим закрепленный в выемке корпуса второй ступени электрический разъем, узел электрической стыковки закреплен под углом к продольной оси ракеты и снабжен устройством отведения.

[5]

К недостаткам данного технического решения следует отнести то, что наличие выемки в корпусе для закрепления электрического разъема приводит к ухудшению обтекаемости летательного аппарата и понижению аэродинамических характеристик летательного аппарата, особенно при использовании данного технического решения в конструкциях высокоскоростных ракет, снабженных НО. Как правило, высокоскоростные ракеты содержат носовую часть с неметаллической оболочкой, а для выполнения быстрых разворотов в направлении цели могут быть снабжены НО, установленным на носовой части ракеты, который отделяется после разворота ракеты на цель при помощи системы импульсных двигателей управления ориентацией ракеты. При этом электроразъем электрической стыковки НО-ракета целесообразно располагать как можно ближе к носовому обтекателю, т.е. на носовом отсеке ракеты. При этом наличие впадин на носовой части изделия приводит к ухудшению аэродинамических качеств, при этом расстыковка электрического разъема, расположенного под углом к продольной оси ракеты, приведет к ударному воздействию на корпус, что при наличии неметаллической оболочки может привести к ее разрушению.

[6]

Техническим результатом изобретения является устранение выше указанных недостатков.

[7]

Указанный технический результат достигается тем, что устройство соединения и расстыковки электрических связей разделяемых ступеней летательного аппарата содержит устройство отделения и узел электрической стыковки, содержащий установленный в корпусе летательного аппарата электрический разъем со жгутом. Узел электрической стыковки расположен перпендикулярно к внешнему обводу второй ступени и содержит жестко закрепленную в корпусе ракеты втулку, в которой установлен электрический разъем. На верхней части втулки жестко закреплена крышка, в которой выполнен паз для размещения жгута. Верхняя поверхность крышки повторяет внешний обвод летательного аппарата. Устройство отделения выполнено из двух частей. Одна часть устройства отделения представляет собой срезной механизм. Срезной механизм установлен на корпусе второй ступени и содержит нож, жестко соединенный с крышкой, при этом один конец ножа шарнирно соединен с тягой, на которой жестко закреплен жгут, а другой конец содержит центральный срезной элемент, взаимодействующий со жгутом, и два боковых срезных элемента. На поверхности ножа установлена направляющая с выполненным в центральной части пазом для размещения жгута, жестко соединенная с крышкой винтами. Другая часть устройства отделения содержит жестко соединенную с корпусом первой ступени трубку с ограничителем, которая установлена параллельно оси летательного аппарата (ракеты), и кассету с полостью для размещения сложенного жгута, которая жестко закреплена на корпусе первой ступени. Тяга установлена с возможностью продольного перемещения в трубке до контакта с ограничителем.

[8]

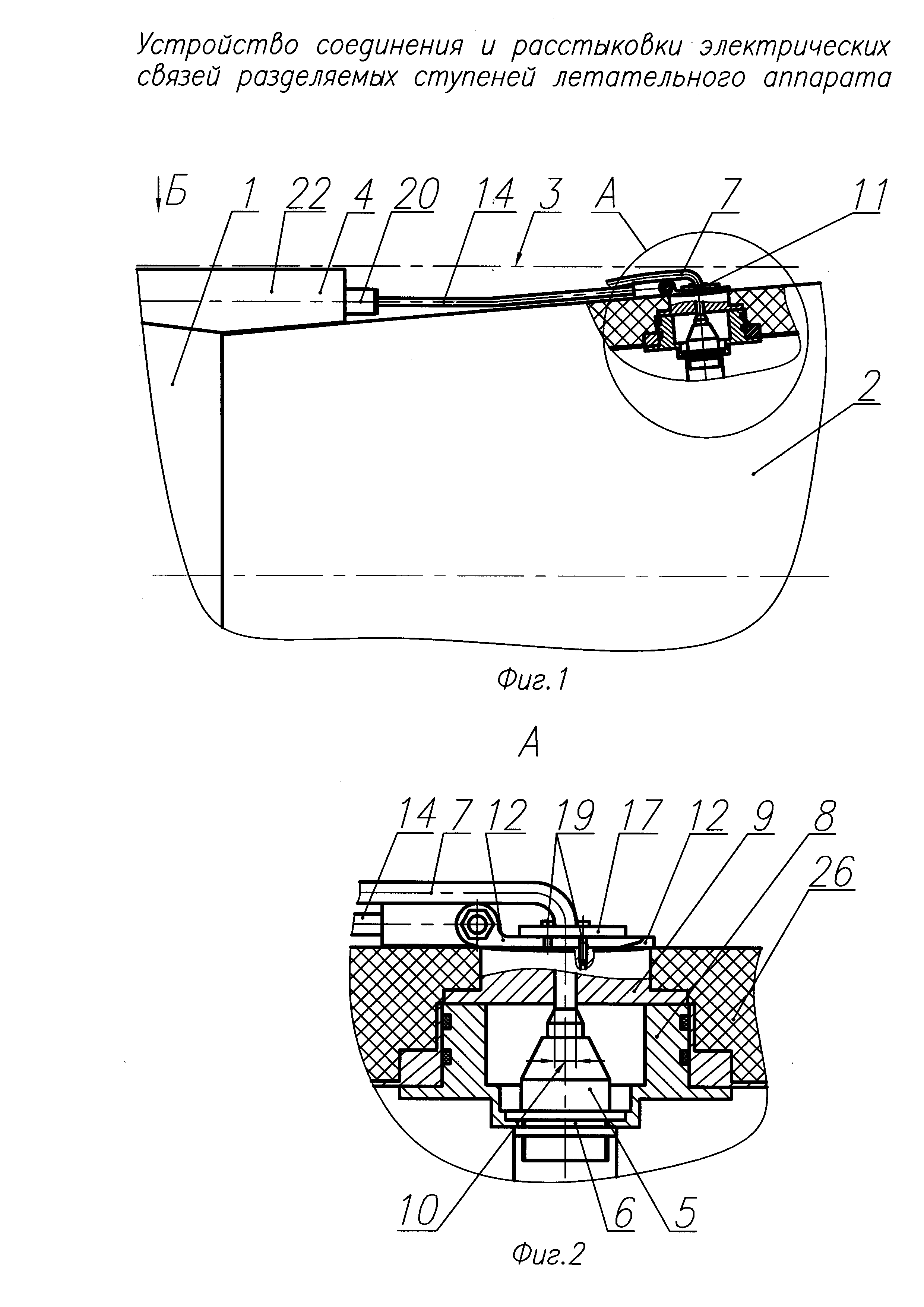
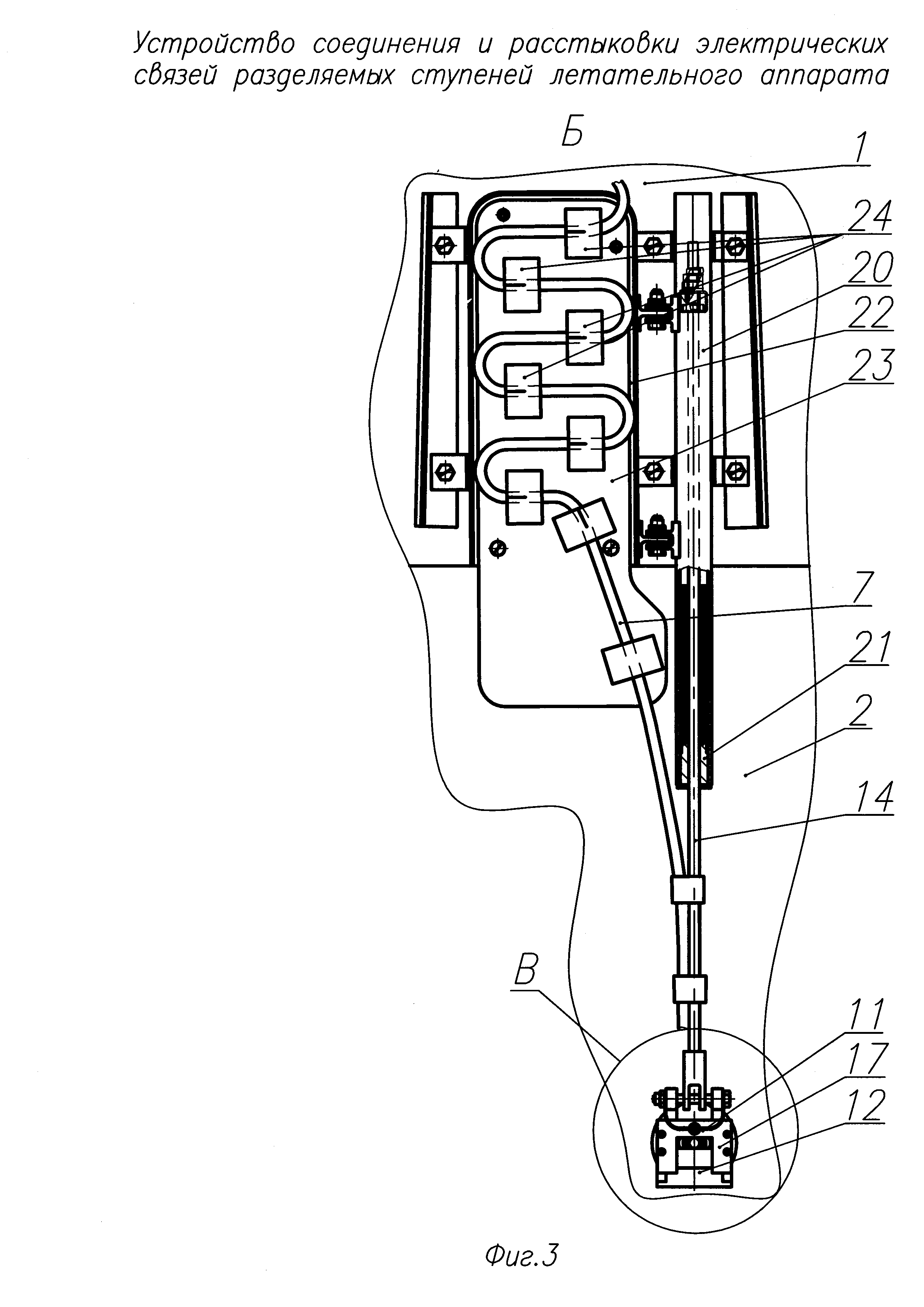
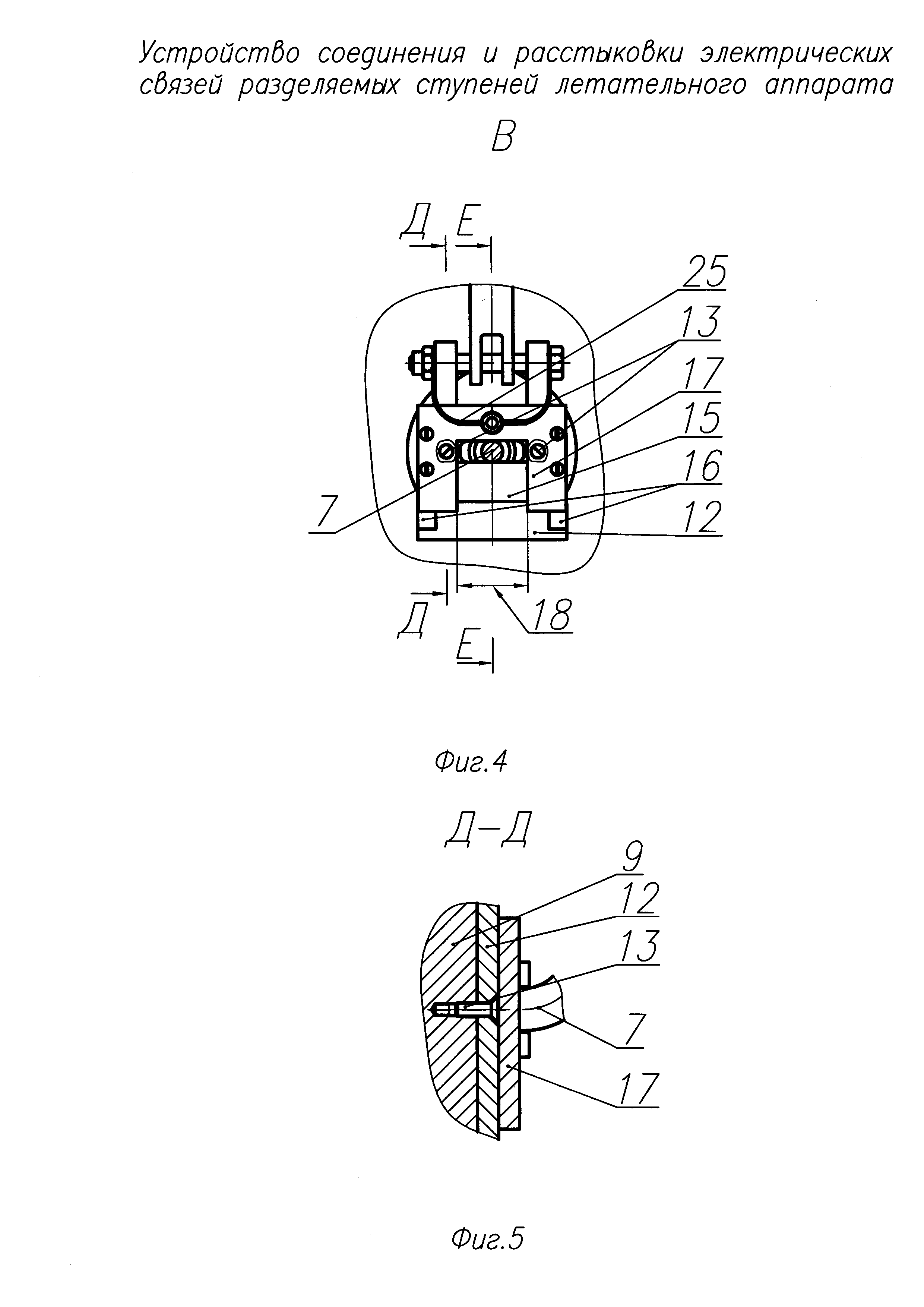
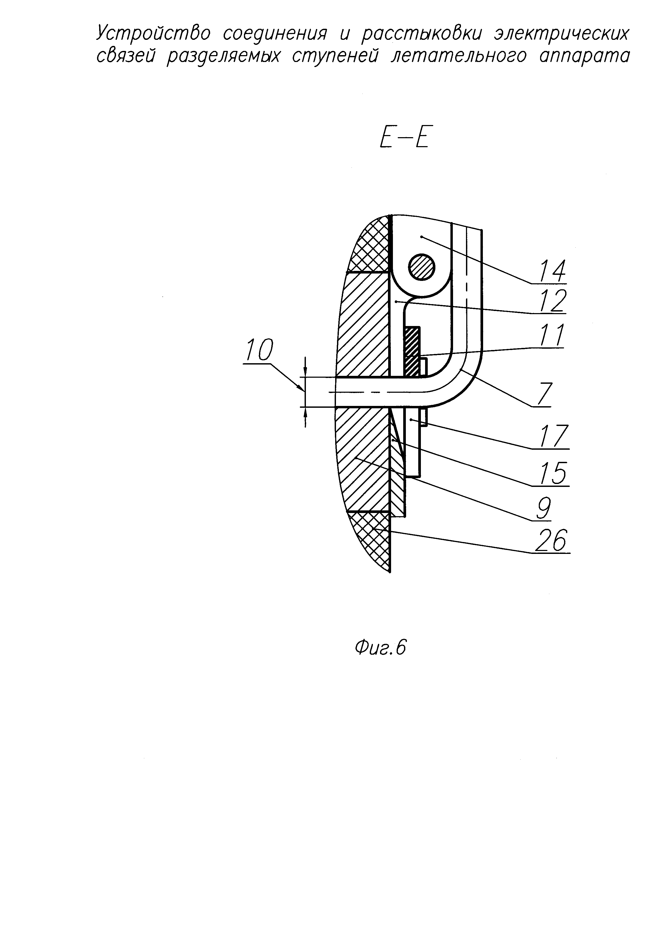
Предложенное техническое решение поясняется чертежами - на фиг. 1-6, где представлены общий вид, выносные виды, вид сверху и сечения по элементам конструкции.

[9]

На фиг. 1-6 указаны позиции в следующем порядке:

[10]

1 - первая ступень;

[11]

2 - вторая ступень;

[12]

3 - линия ТПК;

[13]

4 - устройство отделения;

[14]

5 - узел электрической стыковки;

[15]

6 - электрический разъем;

[16]

7 - жгут;

[17]

8 - втулка;

[18]

9 - крышка;

[19]

10 - паз;

[20]

11 - срезной механизм;

[21]

12 - нож;

[22]

13 - винт;

[23]

14 - тяга;

[24]

15 - центральный срезной элемент;

[25]

16 - боковой срезной элемент;

[26]

17 - направляющая;

[27]

18 - паз;

[28]

19 - винт;

[29]

20 - трубка;

[30]

21 - ограничитель;

[31]

22 - кассета;

[32]

23 - полость;

[33]

24 - накладка;

[34]

25 - перемычка;

[35]

26 - оболочка.

[36]

Устройство соединения и расстыковки электрических связей разделяемых ступеней летательного аппарата установлено на первой (НО) (1) и второй (2) ступенях, вне линии ТПК (3) и содержит устройство отделения (4) и узел электрической стыковки (5), содержащий установленный в корпусе летательного аппарата электрический разъем (6) со жгутом (7). Узел электрической стыковки (5) расположен перпендикулярно к внешнему обводу второй ступени (2) и содержит жестко закрепленную в корпусе ракеты втулку (8), в которой установлен электрический разъем (6). На верхней части втулки жестко закреплена крышка (9), в которой выполнен паз (10) для размещения жгута (7). Верхняя поверхность крышки (9) повторяет внешний обвод летательного аппарата. Устройство отделения (4) выполнено из двух частей. Одна часть устройства отделения представляет собой срезной механизм (11). Срезной механизм (11) установлен на корпусе второй ступени (2) и содержит нож (12), жестко соединенный с крышкой (9) при помощи винтов (13), при этом один конец ножа (12) шарнирно соединен с тягой (14), на которой жестко закреплен жгут (7), а другой конец содержит центральный срезной элемент (15), взаимодействующий со жгутом (7), и два боковых срезных элемента (16). На поверхности ножа (12) установлена направляющая (17) с выполненным в центральной части пазом (18) для размещения жгута (7), жестко соединенная с крышкой (9) при помощи винтов (19). Другая часть устройства отделения (4) содержит жестко соединенную с корпусом первой ступени (1) трубку (20) с ограничителем (21), которая установлена параллельно оси летательного аппарата, и кассету (22) с полостью (23) для размещения с помощью накладок (24) сложенного жгута (7). Кассета (22) шарнирно соединена с трубкой (20). Перемычка (25) соединяет нож (12) с направляющей (17). При этом вторая ступень (2) имеет неметаллическую оболочку (26).

[37]

Устройство работает следующим образом. При выходе ракеты из транспортно-пускового контейнера (ТПК) и разворота ракеты на цель формируется команда на отделение НО, установленного при помощи пироболтов. В результате срабатывания пироболтов «снимается» механическая связь НО (первой ступени (1)) с ракетой (вторая ступень (2)) и НО, под действием тяги установленных в нем двигателей, отделяется и уводится вперед и вниз по отношению к траектории дальнейшего полета ракеты. При отделении НО, трубка (20) с ограничителем (21) и кассета (22) с полостью (23), в которой размещен жгут (7) при помощи накладок (24), перемещаются вместе с НО. Жгут (7) при перемещении кассеты (21) начинает натягиваться, разрывая накладки (24), и распрямляться, при этом тяга (14) остается неподвижной при перемещении трубки (20), до взаимодействия с ограничителем (20). После взаимодействия тяги (14) с ограничителем (21) она начинает перемещаться вместе с трубкой (20). Под действием тяги (14), между направляющей (17) и крышкой (9) перемещается нож (12), срезая винты (13), при этом центральный срезной элемент (15) срезает жгут (7) по контуру ракеты, а затем боковые срезные элементы (16) срезают винты (19) крепления направляющей (17) по контуру ракеты и уводятся вместе с НО, при этом направляющая (17) соединена с ножом (12) при помощи перемычки (25) и уводится вслед за ножом (12). С учетом того, что трубка (20) с установленной в ней тягой (14) расположена параллельно оси ракеты, срезной механизм (11) уводится вместе с НО (первой ступенью (1)), не задевая оболочку (26), при этом устройство отделения не пересекает линию ТПК (3).

[38]

Предложенное техническое решение позволяет реализовать конструкцию устройства соединения и расстыковки электрических связей разделяемого носового обтекателя высокоскоростной ракеты, содержащую неметаллическую оболочку.

Как компенсировать расходы
на инновационную разработку
Похожие патенты