патент
№ RU 2355351
МПК A61C8/00

УСТРОЙСТВО ДЛЯ ЗАВИНЧИВАНИЯ

Авторы:
Силаев Андрей Борисович Шмелёв Михаил Владимирович Тетюхин Дмитрий Владиславович
Все (5)
Номер заявки
2007148851/14
Дата подачи заявки
29.12.2007
Опубликовано
20.05.2009
Страна
RU
Как управлять
интеллектуальной собственностью
Реферат

Изобретение относится к области медицины, в частности стоматологии, и может быть использовано для установки имплантатов и супраструктур в дентальной имплантации. Устройство для завинчивания включает корпус и головную часть с поперечным отверстием, причем внутри головной части от поперечного отверстия до торца выполнено продольное отверстие, в котором размещены ползун с захватным шипом на торце и пружина. В стенке продольного отверстия головной части от торца образована пара противоположных продольных пазов с поперечным пазом на концах, концевая часть корпуса выполнена с парой противоположно направленных выступов и в собранном положении установлена в продольном отверстии головной части, а концы его выступов - в поперечном пазу через посредство продольных пазов, причем пружина размещена между ползуном и концевой частью корпуса. Технический результат - снижение трудоемкости сборки и разборки, а также возможность регулирования величины крутящего момента, прикладываемого при закручивании. Сборка и разборка инструмента с целью стерилизации может производиться непосредственно медицинским персоналом лечебного учреждения. 9 з.п.ф-лы, 21 ил.

Формула изобретения

1. Устройство для завинчивания, включающее корпус и головную часть с поперечным отверстием, причем внутри головной части от поперечного отверстия до торца выполнено продольное отверстие, в котором размещены ползун с захватным шипом на торце и пружина, отличающееся тем, что в стенке продольного отверстия головной части от торца образована пара противоположных продольных пазов с поперечным пазом на концах, концевая часть корпуса выполнена с парой противоположно направленных выступов и в собранном положении установлена в продольном отверстии головной части, а концы его выступов - в поперечном пазу через посредство продольных пазов, причем пружина размещена между ползуном и концевой частью корпуса.

2. Устройство по п.1, отличающееся тем, что концевая часть корпуса выполнена шарообразной формы.

3. Устройство по п.1, отличающееся тем, что поперечные пазы головной части выполнены с дополнительными противоположными пазами, направленными в сторону торца, на который выходит продольное отверстие.

4. Устройство по п.1, отличающееся тем, что продольное отверстие и ползун выполнены цилиндрообразной формы, при этом стенка продольного отверстия между поперечным отверстием и поперечным пазом имеет выступ, а на торце ползуна имеется цилиндрообразный выступ с плоским продольным боковым срезом, и захватный шип образован на торце цилиндрообразного выступа, и, кроме того, в головной части выполнено дополнительное поперечное отверстие, частично пересекающее продольное отверстие между поперечным отверстием и поперечным пазом, в котором размещен штифт, причем в собранном положении плоский продольный боковой срез цилиндрообразного выступа контактирует с поверхностью штифта.

5. Устройство по п.4, отличающееся тем, что выступ выполнен кольцевой формы.

6. Устройство по п.1, отличающееся тем, что торец, на который выходит продольное отверстие, имеет угловые выступы, причем одна пара диагонально противоположных выступов имеет меньшую высоту, чем пара других, а торцевые поверхности между выступами, на которые выходят противоположные продольные пазы, выполнены наклонными от наружных ребер головной части во внутрь.

7. Устройство по п.6, отличающееся тем, что корпус имеет концевую часть с парой противоположно направленных выступов и основную часть, содержащую соединенный с концевой частью корпуса штырь, имеющий на противоположном конце участок с винтовой резьбой, охватывающий штырь трубчатый элемент, один конец которого заужен и оперт на торцевые наклонные поверхности между выступами головной части, причем в кольцевом зазоре между трубчатым элементом и штырем размещена пружина, одним концом опертая на выступ, выполненный на стенке полости трубчатого элемента с зауженного конца, а другим концом поджата торцом введенного в кольцевой зазор цилиндра с продольной полостью, имеющей винтовую резьбу на внутренней поверхности, навинченную на винтовую резьбу штыря.

8. Устройство по п.7, отличающееся тем, что на торце зауженного конца трубчатого элемента выполнена пара противоположных лунок с возможностью расположения каждого из них в собранном положении напротив соответствующего ей ребра, ограничивающего снаружи в собранном положении торцевую наклонную поверхность между выступами головной части.

9. Устройство по п.7, отличающееся тем, что штырь имеет шестигранный выступ на торце, а на торце ползуна, противоположном торцу с захватным шипом, выполнена выемка с дополнительным пазом шестигранной формы.

10. Устройство по п.1, отличающееся тем, что пара выступов концевой части корпуса представляют собой концы штифта, жестко закрепленного внутри сквозного отверстия.

Описание

[1]

Изобретение относится к области медицины, а именно к стоматологии, а конкретно к инструментам для установки имплантатов и супраструктур в дентальной имплантации, в частности к устройствам для завинчивания.

[2]

Примечание: супраструктура - это опора, прямая (вертикальная) или угловая (под углом от вертикали), на которую насаживается стоматологическая конструкция, например коронка.

[3]

В стоматологической практике большое значение имеют устройства для завинчивания, которые на практике иногда называют реверсный ключ, динамометрический ключ, ключ-трещотка, храповая муфта и т.д. Они входят в хирургические наборы инструментов и аксессуаров для установки имплантатов и бывают двух типов: устройства для завинчивания с контролируемой величиной крутящего момента, прикладываемого при закручивании (обычно их называют динамометрический ключ) и устройства для завинчивания без контроля величины крутящего момента, прикладываемого при закручивании (реверсный ключ, ключ-трещотка). Первые позволяют дозировать усилие, прикладываемое к объекту вращения, вторые - нет. В хирургический набор к устройству для завинчивания (реверсному ключу, динамометрическому ключу, ключу-трещотке) прилагается комплект различных насадок, предназначенных для установки различных элементов дентальной системы (имплантатов, супраструктур, винтов и т.д.).

[4]

Сразу после операции устройства для завинчивания должны быть разобраны, тщательно очищены, продезинфицированы, проверены и вновь собраны. Это объясняется тем, что внутрь их во время проведения операции может попасть, в частности, кровь, которую невозможно извлечь без разборки инструмента.

[5]

Известно неразборное устройство для завинчивания (динамометрический ключ) с контролем максимальной величины крутящего момента, прикладываемого при закручивании, равного 30 Н·см (1). При превышении максимального значения его головная часть со сквозным отверстием поворачивается («ломается») относительно корпуса. Оно бывает двух типов: моментом на 20 Н·см и на 30 Н·см (1). Этот инструмент не разборный. Поэтому он очень не удобен при эксплуатации, поскольку не позволяет надежно очистить и продезинфицировать его после операции. Кроме того, он не имеет регулировки усилия величины крутящего момента.

[6]

Известно устройство для завинчивания (динамометрический ключ) неразборное с контролем максимальной величины крутящего момента, прикладываемого при закручивании. Его преимуществом является возможность регулировать максимальную величины крутящего момента, при котором головная часть со сквозным отверстием поворачивается («ломается») относительно корпуса в пределах от 0 до 45 Н·см (2). Однако и этот ключ не допускает разборку головной части. По этой причине тщательная очистка, например от крови, и дезинфекция не возможны.

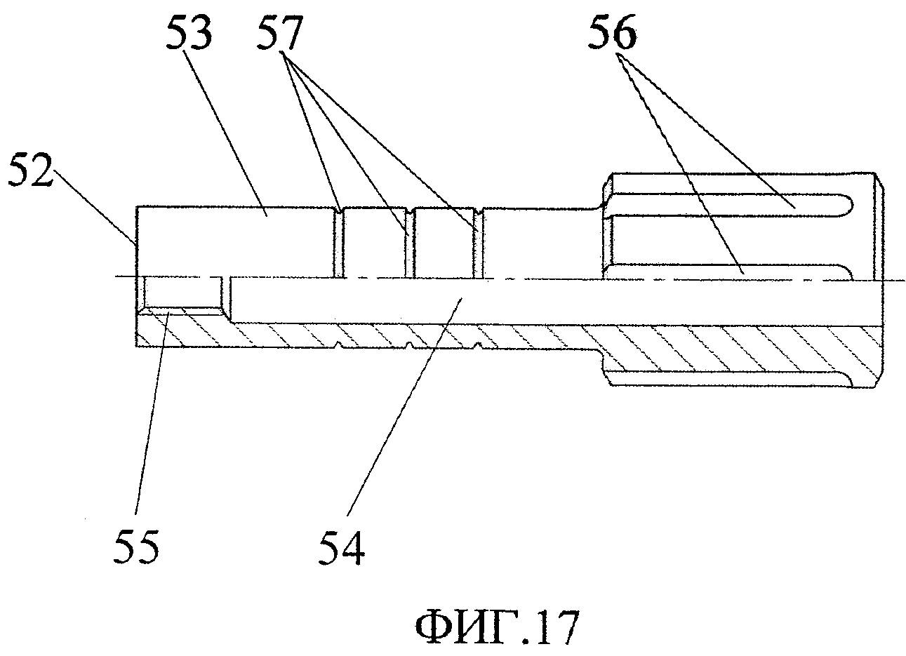
[7]

Известно устройство для завинчивания, включающее корпус и головную часть с поперечным отверстием, причем внутри головной части от поперечного отверстия до торца выполнено продольное отверстие, в котором размещены ползун с захватным шипом на торце и пружина (3).

[8]

Данное техническое решение принято в качестве прототипа заявленного изобретения, поскольку является наиболее близким к нему по совокупности общих существенных признаков и достигаемому техническому результату.

[9]

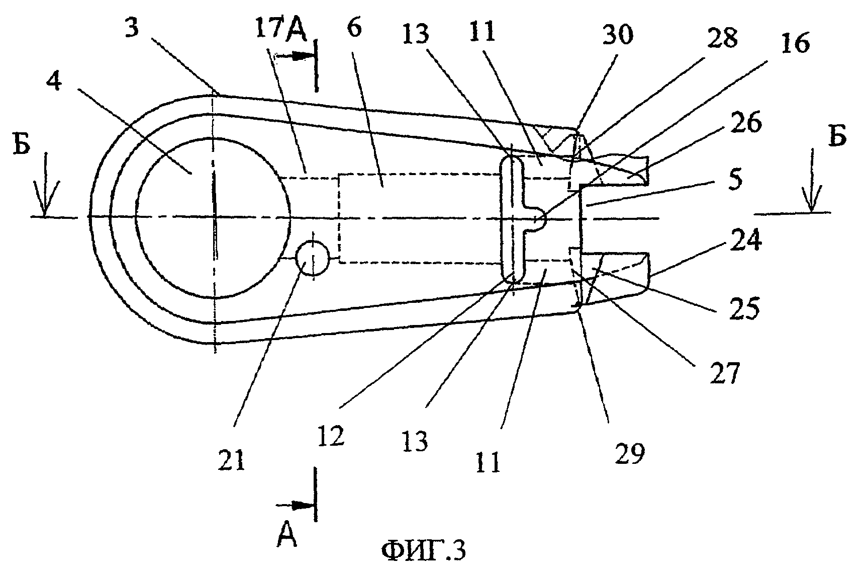
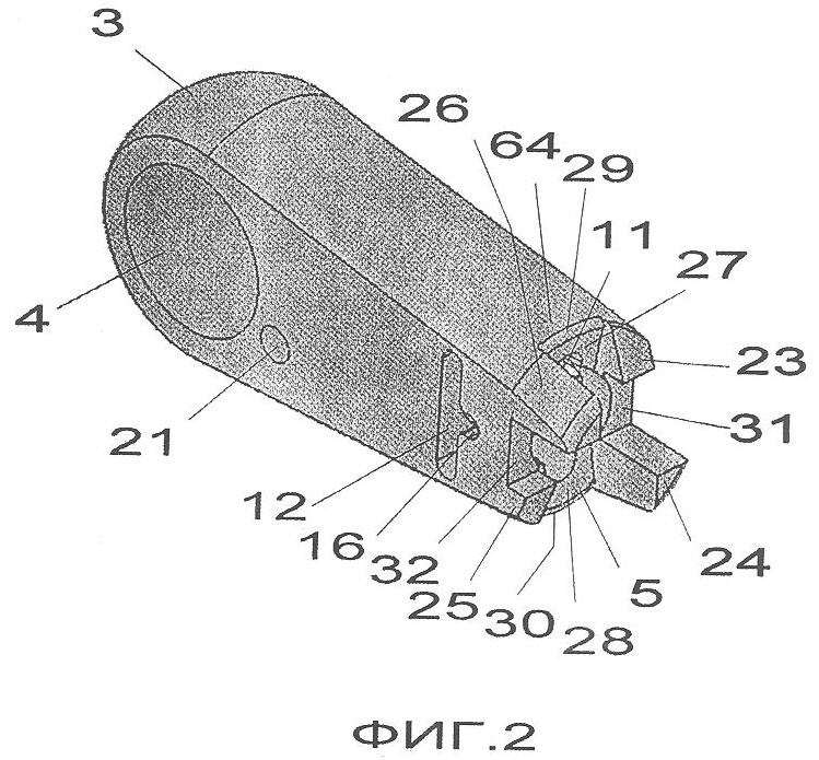
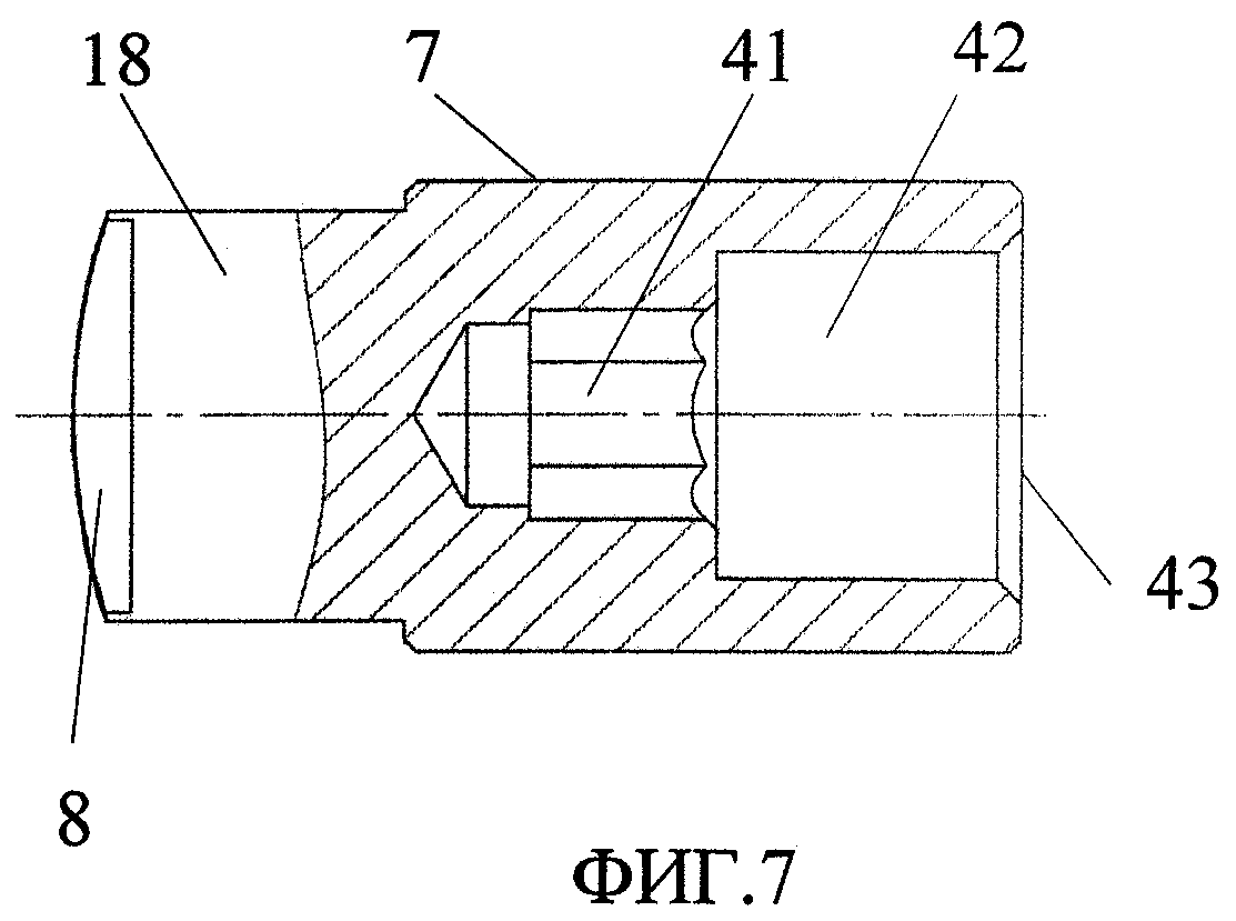
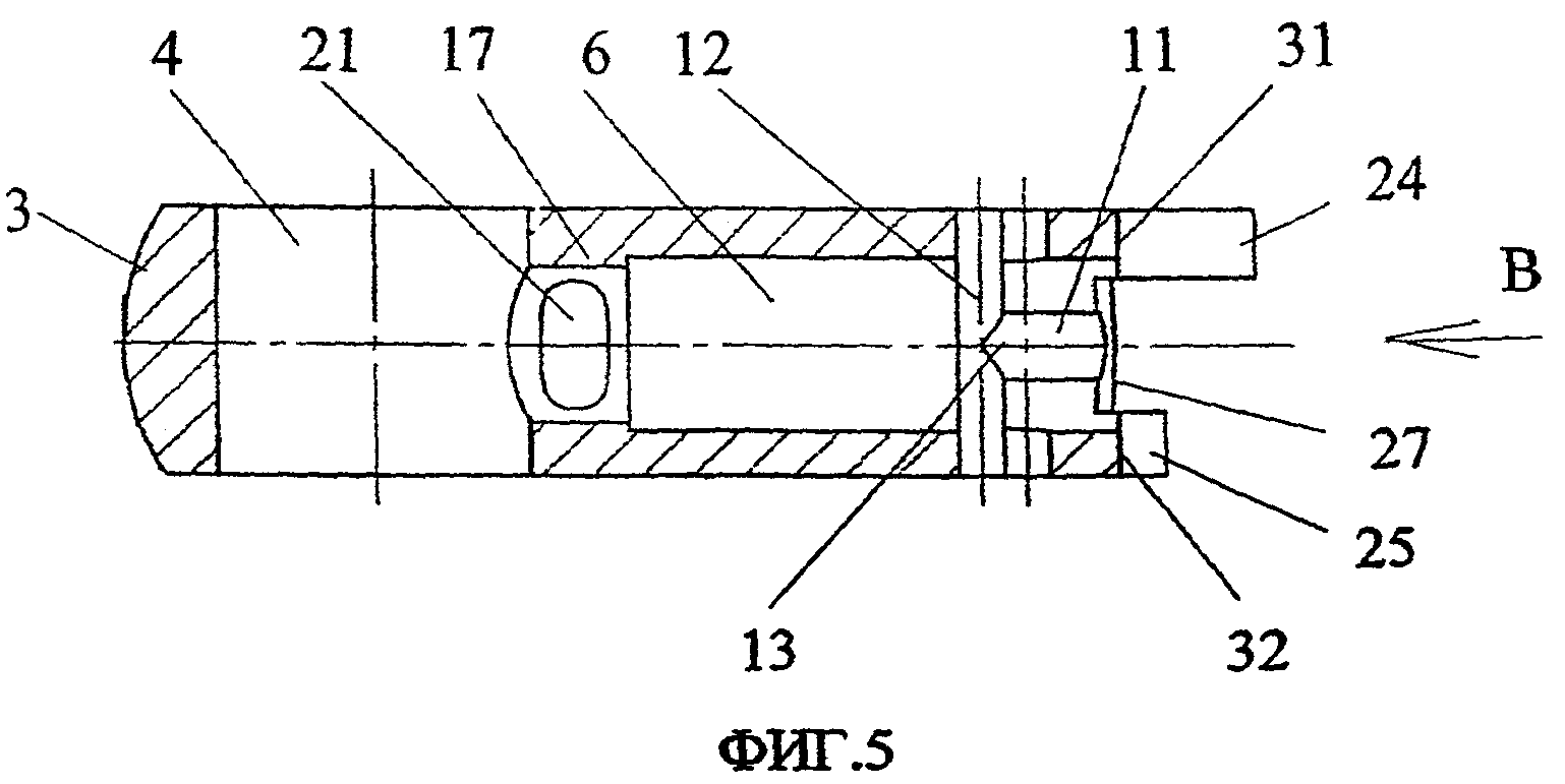
По сравнению с описанными выше техническими решениями это устройство позволяет не только регулировать максимальную величину крутящего момента, но допускает разборку для очистки от сгустков крови и дезинфицирование. Однако разборка и сборка очень сложны. Необходим специальный ключ, чтобы раскрутить гайку и извлечь внутренние детали. Дополнительно сборку и разборку усложняет то, что приходится иметь дело с мелкими деталями, которые, к тому же, легко теряются.

[10]

В итоге, необходимо периодически посылать данный инструмент изготовителю для полной разборки и очистки, что неудобно.

[11]

Технической задачей заявленного изобретения является создание такого устройства для закручивания, позволяющего производить разборку и сборку без применения специального инструмента непосредственно врачом-стоматологом для очистки и дезинфекции с одновременным сохранением всех других преимуществ, в частности с возможностью регулировать максимальную величину крутящего момента, прикладываемого при закручивании.

[12]

Поставленная техническая задача решается тем, что устройство для завинчивания, включающее корпус и головную часть с поперечным отверстием, причем внутри головной части от поперечного отверстия до торца выполнено продольное отверстие, в котором размещены ползун с захватным шипом на торце и пружина, согласно изобретению характеризуется тем, что в стенке продольного отверстия головной части от торца образована пара противоположных продольных пазов с поперечным пазом на концах, концевая часть корпуса выполнена с парой противоположно направленных выступов и в собранном положении установлена в продольном отверстии головной части, а концы его выступов - в поперечных пазах через посредство продольных пазов, причем пружина размещена между ползуном и концевой частью корпуса.

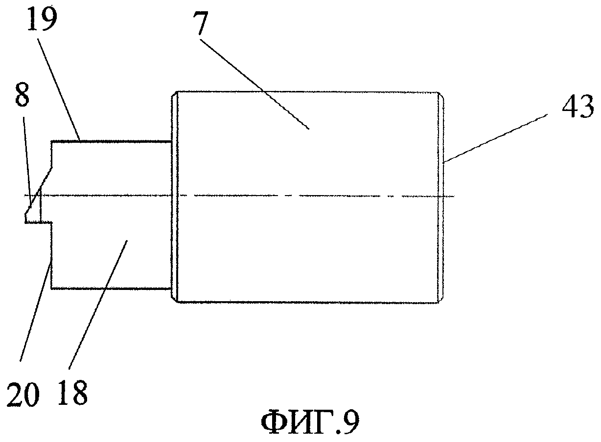
[13]

Техническим результатом изобретения является снижение трудоемкости разборки и сборки с одновременным сохранением всех других преимуществ, в частности с возможностью регулировать максимальную величину крутящего момента, прикладываемого при закручивании. Важно отметить, что разборку и сборку инструмента можно производить непосредственно медицинским персоналом лечебного учреждения.

[14]

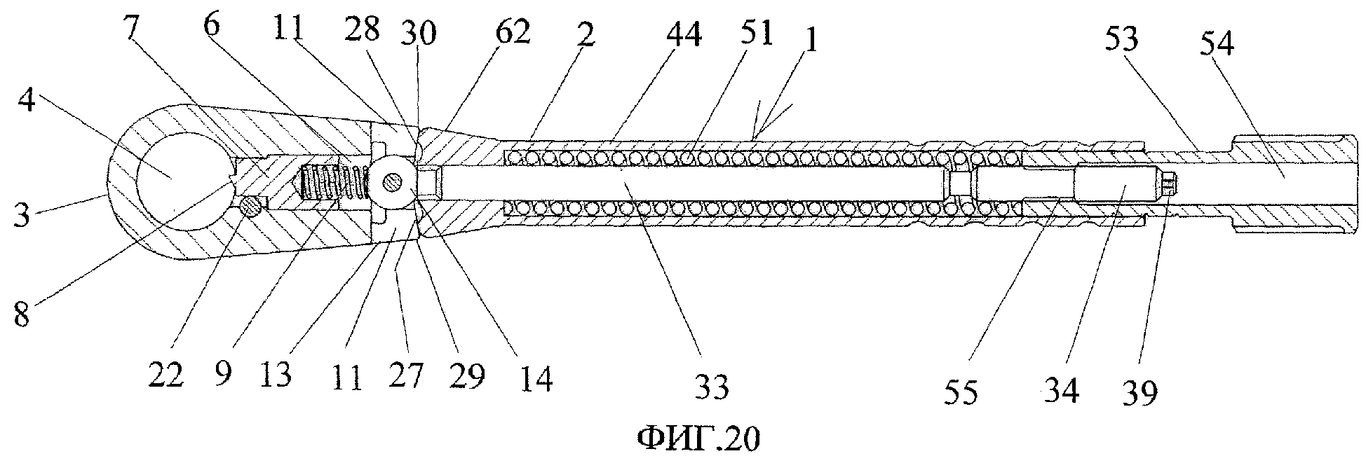
Кроме того, мы считаем необходимым выделить следующие развития и/или уточнения совокупности его общих существенных признаков, относящиеся к частным случаям выполнения или использования.

[15]

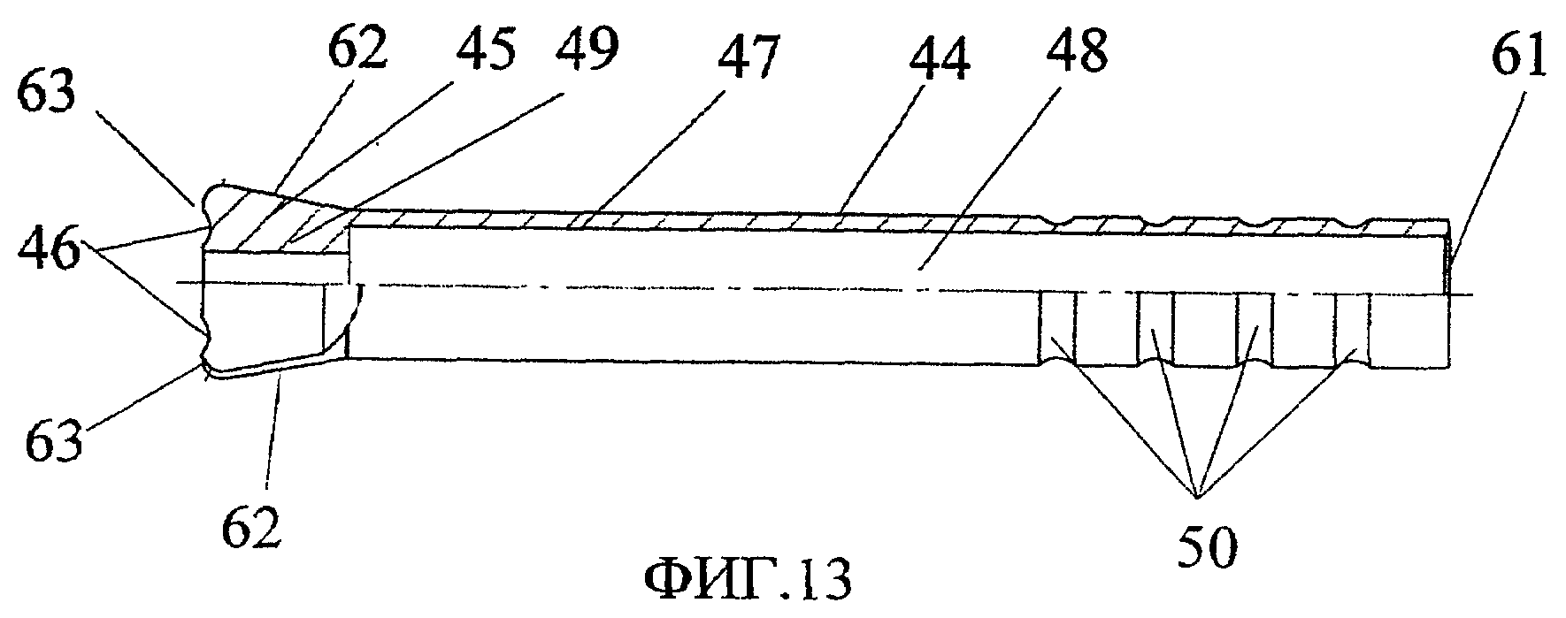
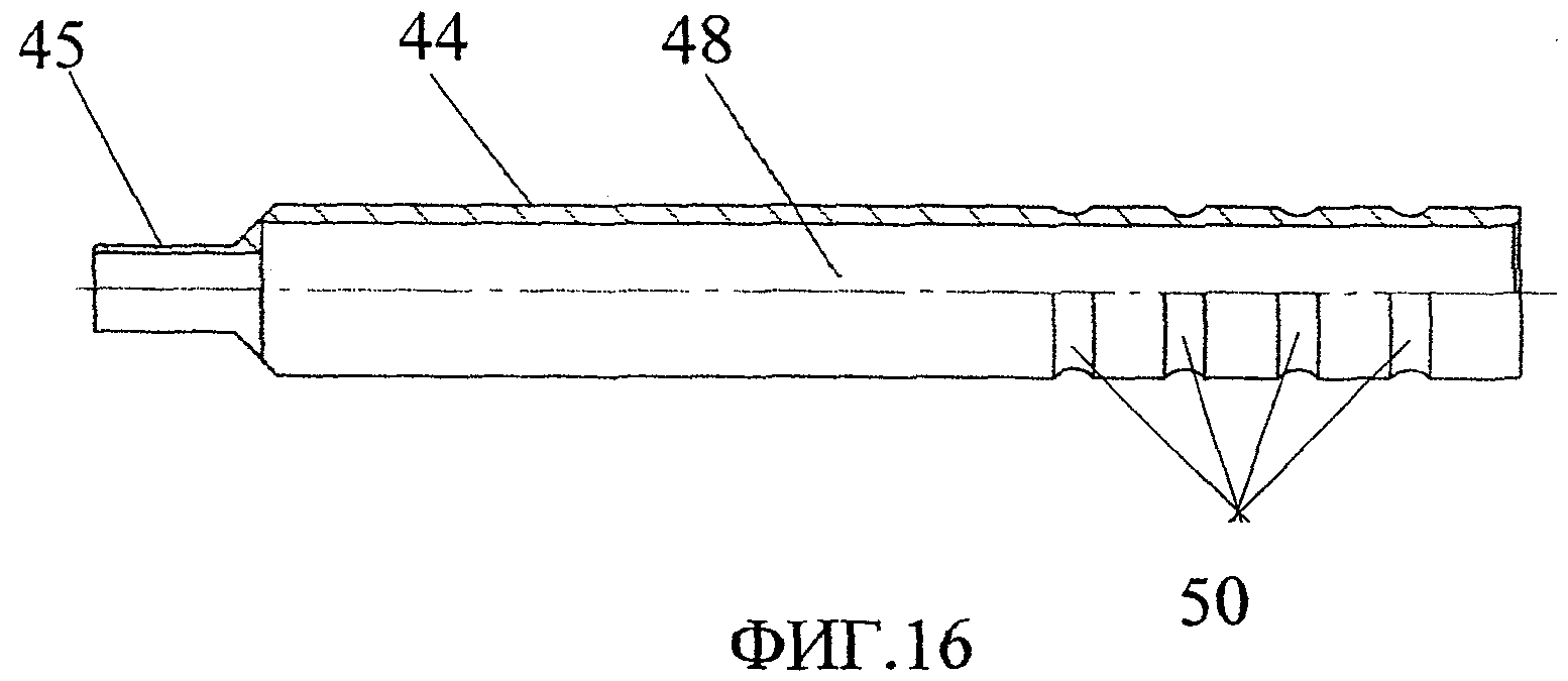
Они вызваны тем, что, вообще говоря, можно сконструировать множество различных по конструкции отдельных узлов и блоков заявленного устройства, в частности головной части, корпуса, ползуна, узлов соединения головной части с корпусом и т.д., причем во всех случаях сохранится сущность изобретения, обеспечивающая легкость сборки-разборки. Заявитель сам разработал их несколько модификаций. Ниже заявитель предлагает некоторые наиболее оптимальные варианты.

[16]

По мнению заявителя наиболее желательно, чтобы концевая часть корпуса была бы выполнена шарообразной формы, так как такая форма позволяет быстро и без ограничений положения осуществлять эксплуатацию устройства.

[17]

Целесообразно также, чтобы поперечные пазы головной части были бы выполнены с дополнительными противоположными пазами, направленными в сторону торца, на который выходит продольное отверстие. Это позволяет фиксировать положение головной части инструмента относительно корпуса, что повышает удобство пользования им, надежность и долговечность.

[18]

Конструкция ползуна и его расположение в продольном отверстии головной части инструмента могут быть различны. Однако, по мнению заявителя, наиболее предпочтительна конструкция, при которой продольное отверстие и ползун выполнены цилиндрообразной формы, при этом стенка продольного отверстия между поперечным отверстием и поперечным пазом имеет выступ, а на торце ползуна имеется цилиндрообразный выступ с плоским продольным боковым срезом, и захватный шип образован на торце цилиндрообразного выступа, и, кроме того, в головной части выполнено дополнительное поперечное отверстие частично пересекающее продольное отверстие между поперечным отверстием и поперечным пазом, в котором размещен поперечный штифт, причем в собранном положении плоский продольный боковой срез цилиндрообразного выступа контактирует с поверхностью поперечного штифта.

[19]

Выполнение торца головной части инструмента может быть различно. Однако наиболее желательно выполнение, при котором торец, на который выходит продольное отверстие, имел бы угловые выступы, причем одна пара диагонально противоположных выступов имела бы меньшую высоту, чем пара других, а торцевые поверхности между выступами с противоположными продольными пазами имели бы наклон от наружи вовнутрь.

[20]

При такой конструкции корпус имеет множество модификаций. Но заявитель считает наиболее целесообразной такую, согласно которой корпус имеет концевую часть с парой противоположно направленных выступов и основную часть, содержащую соединенный с концевой частью корпуса штырь, имеющий на противоположном конце участок с винтовой резьбой, охватывающий штырь трубчатый элемент, один конец которого заужен и оперт на имеющие наклон торцевые поверхности, причем в кольцевом зазоре между трубчатым элементом и штырем размещена пружина, одним концом опертая на выполненный на внутренней стенке полости трубчатого элемента с зауженного конца выступ, а другим концом поджата торцом введенного в кольцевой зазор цилиндра с продольной полостью, имеющей винтовую резьбу на внутренней поверхности, навинченную на винтовую резьбу штыря.

[21]

Данная конструкция обеспечивает не только разборность, но и возможность регулировать максимальную величину крутящего момента, прикладываемого при закручивании.

[22]

При этом целесообразно, чтобы на торце зауженного конца трубчатого элемента была бы выполнена пара противоположных лунок в собранном положении с возможностью их расположения напротив ребер, ограничивающих снаружи имеющие наклон торцевые поверхности головной части.

[23]

Желательно также, чтобы на торце ползуна, противоположному торцу с захватным шипом, был бы выполнен паз. Это позволяет ориентировать продольно пружину внутри головной части.

[24]

Для повышения удобства при сборке устройства и исключения необходимости использования специальных инструментов целесообразно, чтобы штырь имел бы шестигранный выступ на торце, а продольная полость цилиндрообразного тела захватного средства была выполнена с дополнительным пазом шестигранной формы.

[25]

Для повышения технологичности изготовления заявленного устройства желательно, чтобы пара выступов концевой части корпуса, выполненной в виде шара, представляла бы собой концы штифта, жестко закрепленного внутри сквозного диаметрального отверстия шара.

[26]

Изобретение поясняется чертежом.

[27]

На фиг.1 изображено устройство для завинчивания в разобранном виде, общий вид, аксонометрия;

[28]

На фиг.2 изображена отдельно головная часть устройства, аксонометрия;

[29]

На фиг.3 - то же, вид сбоку;

[30]

На фиг.4 - сечение А-А на фиг.3;

[31]

На фиг.5 - то же, сечение Б-Б на фиг.3;

[32]

На фиг.6 - то же, вид по стрелке В на фиг.5;

[33]

На фиг.7 изображен ползун, вид сверху;

[34]

На фиг.8 - то же, вид по стрелке Г на фиг.7;

[35]

На фиг.9 - то же, вид сбоку;

[36]

На фиг.10 изображен штифт, вид сбоку;

[37]

На фиг.11 - изображен штырь, вид сбоку (изображен без пары противоположно направленных выступов;

[38]

На фиг.12 - то же, сечение Д-Д фиг.11;

[39]

На фиг.13 изображен трубчатый элемент, вид сбоку;

[40]

На фиг.14 - то же, вид с не зауженного конца;

[41]

На фиг.15 - то же, вид с зауженного конца;

[42]

На фиг.16 - то же, вид сверху;

[43]

На фиг.17 изображен цилиндр с продольной полостью;

[44]

На фиг.18 - то же, вид с торца, на который выходит продольная полость;

[45]

На фиг.19 - то же, вид с торца, на который выходит винтовая резьба на внутренней поверхности;

[46]

На фиг.20 изображено в сборе заявленное устройство, продольное сечение;

[47]

На фиг.21 - то же, поперечное сечение.

[48]

Устройство 1 для завинчивания включает корпус 2 и головную часть 3 с поперечным отверстием 4. Внутри головной части 3 от поперечного отверстия 4 до торца 5 выполнено продольное отверстие 6, в котором размещены ползун 7 с захватным шипом 8 на торце и пружина 9. В стенке 10 продольного отверстия 6 головной части 3 от торца 5 образована пара противоположных продольных пазов 11 с поперечным пазом 12 на концах 13 продольных пазов 11. Концевая часть 14 корпуса 2 выполнена с парой противоположно направленных выступов 15 и в собранном положении установлена в продольном отверстии 6 головной части 3, а концы его выступов 15 - в поперечном пазу 12 через посредство продольных пазов 11, причем пружина 9 размещена между ползуном 7 и концевой частью 14 корпуса 2.

[49]

В представленном варианте выполнения заявленного устройства концевая часть 14 корпуса 2 выполнена шарообразной формы.

[50]

Рассмотрим подробнее конструкции отдельных деталей инструмента.

[51]

Головная часть 3 представляет собой объемное тело, которое может иметь различную форму (например, каплевидной (фиг.1-6, 20, 21), цилиндрической и т.д.), на котором с двух противоположных сторон сняты лыски (сделаны срезы по параллельным плоскостям). Размер головной части 3 определяется габаритами детали (например, специальной насадки), на которую она надевается поперечным отверстием, а точнее габаритами той части детали, которую надо вращать и затянуть, или с помощью которой надо установить различные супраструктуры, или вкрутить имплантат.

[52]

Как было отмечено выше, головная часть 3 выполнена с поперечным отверстием 4. Внутри головной части 3 от поперечного отверстия 4 до торца 5 образовано продольное отверстие 6, в котором размещены ползун 7 с захватным шипом 8 на торце и пружина 9. В стенке 10 продольного отверстия 6 головной части 3 от торца 5 образована пара противоположных продольных пазов 11 с поперечным пазом 12 на концах 13 продольных пазов 11. Концевая часть 14 корпуса 2 выполнена с парой противоположно направленных выступов 15 и в собранном положении установлена в продольном отверстии 6 головной части 3, а концы его выступов 15 - в поперечном пазу 12 через посредство продольных пазов 11, причем пружина 9 размещена между ползуном 7 и концевой частью 14 корпуса 2.

[53]

Поперечный паз 12 головной части 3 изготавливают путем образования сквозного разреза поперек головной части 3 так, чтобы концы разреза соединялись бы с концами 13 продольных пазов 7, поскольку данный вариант изготовления наиболее технологичен. В результате образуется поперечный паз 12, состоящий из четырех следующих друг за другом участков, из которых пара противоположных участков представляет собой пазы в стенке 10 продольного отверстия 6 головной части 3, а другая пара противоположных участков представляет собой сквозные щели в стенке 10 продольного отверстия 6. Кроме того, поперечный паз 12 выполнен с дополнительными противоположными пазами 16, направленными в сторону торца 5, на который выходит продольное отверстие 6.

[54]

Продольное отверстие 6 и устанавливаемый в нем ползун 7 выполнены цилиндрообразной формы, при этом стенка продольного отверстия 6 между поперечным отверстием 4 и поперечным пазом 12 имеет выступ 17 кольцевой формы.

[55]

На торце ползуна 7 образован цилиндрообразный выступ 17 с плоским продольным боковым срезом 19, и захватный шип 8 выполнен на торце 20 цилиндрообразного выступа.

[56]

Кроме того, в головной части 3 выполнено дополнительное поперечное отверстие 21, частично пересекающее продольное отверстие между поперечным отверстием и поперечным пазом, в котором размещен штифт 22, причем в собранном положении плоский продольный боковой срез 19 цилиндрообразного выступа 18 контактирует с поверхностью штифта 22 (фиг.20).

[57]

Торец 5, на который выходит продольное отверстие 6, имеет угловые выступы 23, 24, 25, 26, причем одна пара диагонально противоположных выступов, а именно 23 и 25, имеет меньшую высоту, чем пара других, а именно 24 и 26. Важно отметить, что торцевые поверхности 27 и 28 между выступами, на которые выходят противоположные продольные пазы 11, не плоские, а выполнены наклонными (имеют срез) от наружных ребер 29 и 30 головной части 3 внутрь (фиг.2, 3, 20). Другие торцевые поверхности 31 и 32 между выступами 23-26 выполнены плоскими, проходящими поперек продольной оси головной части 3.

[58]

Рассмотрим подробнее конструкцию корпуса 2. Как было отмечено ранее, он составной и содержит несколько деталей. Его конструкций может быть выполнено множество. Но в любом случае из корпуса выступает концевая часть 14 с парой противоположно направленных выступов 15. Эта концевая часть 14 соединена с основной частью корпуса. Конструкция основной части также может быть различна. Заявитель считает предпочтительной следующую конструкцию.

[59]

Основная часть корпуса содержит соединенный с концевой частью 14 корпуса штырь 33, имеющий на противоположном конце участок 34 с винтовой резьбой 35. Кроме того, штырь имеет гладкий цилиндрический участок 36. Между участком 34 с винтовой резьбой 35 и гладким цилиндрическим участком 36 имеется технологическая проточка 37 для выхода резьбы при изготовлении, а между гладким цилиндрическим участком 36 и концевой частью 14 корпуса 2 имеется технологическая шейка 38. Дополнительно штырь 33 имеет шестигранный выступ 39 на торце 40. Данный шестигранный выступ по размеру соответствует размеру дополнительного паза 41 шестигранной формы, выполненного внутри выемки 42 ползуна 7. Выемка 42 образована на торце 43 ползуна 7, противоположном торцу с захватным шипом 8 (подробные пояснения необходимости этого приведены ниже при описании сборки и разборки инструмента).

[60]

Кроме штыря 33 корпус 2 содержит охватывающий штырь 33 трубчатый элемент 44 (фиг.13 - 16). Трубчатый элемент 44 выполняет функцию ручки. Один конец 45 его заужен. На торце зауженного конца 45 трубчатого элемента 44 выполнена пара противоположных лунок 46 для фиксации при изломе корпуса относительно головной части (смотри ниже описание эксплуатации устройства). На стенке 47 полости 48 трубчатого элемента с зауженного конца 45 выполнен выступ 49. Кроме того, на наружной поверхности трубчатого элемента образованы поперечные канавки 50 для уменьшения скольжения пальцев руки. В собранном положении охватывающий штырь 33 трубчатый элемент 44 зауженным концом 45 оперт на торцевые наклонные поверхности 27 и 28 между выступами головной части 3.

[61]

В кольцевом зазоре между штырем 33 и трубчатым элементом 44 размещена пружина 51, которая также является деталью корпуса 2. Одним концом она оперта на выступ 49, выполненный на стенке 47 полости 48 трубчатого элемента 44 с зауженного конца 45. Другим концом пружина 51 поджата торцом 52 введенного в кольцевой зазор цилиндра 53 с продольной полостью 54, имеющей винтовую резьбу 55 на внутренней поверхности, навинченную на винтовую резьбу 35 штыря 33. На наружной поверхности цилиндра 53 образованы продольные канавки 56 для уменьшения скольжения пальцев руки. Кроме того, на этой наружной поверхности нанесены кольцевые риски 57 для установки крутящего момента, развиваемого устройством при закручивании, при котором происходит «перелом» корпуса относительно головной части (смотри ниже описание эксплуатации).

[62]

Как отмечалось ранее, на торце зауженного конца 45 трубчатого элемента 44 выполнена пара противоположных лунок 46. Важно отметить, что данные лунки выполнены так, что в собранном положении каждая из них располагается напротив соответствующего ей ребра 29 или 30, ограничивающих снаружи в собранном положении торцевую наклонную поверхность между выступами головной части.

[63]

Следует отметить, что пара противоположно направленных выступов 15 концевой части 14 корпуса 2 представляют собой концы 58 штифта 59, жестко закрепленного внутри сквозного отверстия 60 (фиг.10).

[64]

Такова конструкция заявленного устройства в статике.

[65]

Сборка заявленного устройства

[66]

В продольное отверстие 6 головной части 3 со стороны торца 5 вставляют ползун 7 с захватным шипом 8, направленным в сторону поперечного отверстия 4. После этого берут штырь 33 и вводят его торец 40 в выемку 42 ползуна 7 так, чтобы расположенный на торце 40 шестигранный выступ 39 вошел в дополнительный паз 41 шестигранной формы, выполненный в выемке 41. Начинают вращать штифт 33 по часовой или против часовой стрелки до тех пор, пока ползун 7 не «провалится» в направлении поперечного отверстия 4 и его захватный шип 8 не вылезет в это поперечное отверстие 4. Это произойдет в тот момент, когда плоский продольный боковой срез 19 выступа 17 совпадет с цилиндрической поверхностью штифта 22. Вытаскивают штифт 33 из выемки 42 ползуна 7, и вставляют в нее пружину 9. Выемка 42 предназначена для того, чтобы иметь возможность поворачивать (ориентировать) ползун 7 внутри продольного отверстия 6 (внутри нее находится дополнительный паз шестигранной формы под шестигранный выступ на торце 40 штыря 33), а также для того, чтобы направить пружину 9 вдоль продольного отверстия 6.

[67]

После этого необходимо взять штырь 33. Один концевой участок штыря 33 выполнен шарообразной формы с парой противоположно направленных выступов 15. На противоположном конце штырь 33 имеет участок 34 с винтовой резьбой 35. Штырь 33 участком шарообразной формы вводят с торца 5 внутрь продольного отверстия 6 головной части. Одновременно вводят и его противоположно направленные выступы 15 в продольные пазы 11. Введение продолжают до упора концов выступов 15 в стенку поперечного паза 12. Это происходит в конце 13 каждого продольного паза 11. При перемещении штыря 33 участок шарообразной формы сжимает пружину 9. После этого штырь 33 поворачивают на 90° по часовой или против часовой стрелки и отпускают. Пара противоположно направленных выступов 15 под действием пружины 9 вталкивается в дополнительные пазы 16. Затем надевают на штырь 33 трубчатый элемент 44 до упора со стороны зауженного конца 45 в торцевые наклонные поверхности 27 и 28 между выступами 23, 24, 25, 26. Вставляем пружину 51 в кольцевой зазор между штырем 33 и трубчатым элементом 44 до упора в выступ 49. После этого, сжимая противоположный конец пружины 51, вставляем конец цилиндра 53 внутрь трубчатого элемента и начинаем навинчивать его винтовую резьбу 55 на винтовую резьбу 35 штыря 33. При этом происходит сжатие пружины 51. Вращение продолжаем до тех пор, пока у торца трубчатого элемента 44 не окажется требуемая риска 57 для установки крутящего момента, развиваемого устройством при закручивании, при котором происходит «перелом» корпуса относительно головной части. Как видно на фиг.1, цилиндр 53 имеет три риски 57. При закручивании цилиндра 53 до крайне левой риски максимальный момент, при котором произойдет «перелом» головной части 3 относительно корпуса 2, будет равен, например, 10 Н·см. При дальнейшем закручивании и достижении следующей риски «перелом» произойдет, например, при 20 Н·см. Еще при дальнейшем закручивании и достижении крайней правой риски «перелом» произойдет, например, при 30 Н·см. В зависимости от усилия, развиваемого пружиной, могут развиваться и другие максимальные моменты при достижении той или иной риски. Для их задания, соответственно, вращают цилиндр 53, сжимая пружину до риски, указывающей на установленный необходимой величины максимальный крутящий момент. Риска в этом случае совместится с торцом ручки.

[68]

Таким образом, когда торец 61 трубчатого элемента 44 размещается над одной из рисок 57 цилиндра 53, то риска показывает конкретное значение крутящего момента, при котором происходит срабатывание устройства, то есть переламывание головной части относительно корпуса.

[69]

Таким образом, вращением цилиндра 53 обеспечивается плавное настраивание инструмента на величину крутящего момента, при котором произойдет указанное выше срабатывание инструмента при завинчивании.

[70]

Инструмент готов для эксплуатации.

[71]

Эксплуатация

[72]

Для завинчивания накидывают головную часть 3 устройства для завинчивания 1 на часть, которую надо вращать и затянуть или с помощью которой надо установить различные супраструктуры или вкрутить имплантат. Захватный шип 8 ползуна 7 выполнен с возможностью сцепления, по меньшей мере, с деталью, вставленной в поперечное отверстие 4. Начинают совершать устройством возвратно-поступательные угловые движения. Это означает, что сначала, например, поворачивают инструмент по часовой стрелке на определенный угол, во время которого захватный шип 8 ползуна 7 захватывает и поворачивает указанную выше часть, которую надо вращать и затянуть или с помощью которой надо установить различные супраструктуры или вкрутить имплантат. После этого поворачивают устройство в обратную сторону, то есть против часовой стрелки, на тот же угол, во время которого захватный шип 8 ползуна 7 проскальзывает. Затем снова поворачивают инструмент по часовой стрелке и т.д., производя постепенную закрутку. После выполнения закрутки продолжают поворачивать устройство по часовой стрелке. При этом происходит постепенное увеличение сопротивления затяжке, для преодоления которого необходимо прилагать больший крутящий момент. При достижении определенного значения крутящего момента происходит «срабатывание» устройства, то есть "излом" головной части 3 относительно корпуса 2. Это свидетельствует, что установленная при вращении цилиндра 53 величина крутящего момента достигнута.

[73]

Остановимся на этом подробнее.

[74]

При закручивании зауженный конец 45 трубчатого элемента взаимодействует с торцевыми наклонными поверхностями 27 и 28 между выступами головной части. При этом развиваемое при закручивании усилие стремится сжать пружину 51. Когда крутящий момент станет больше, чем установлен риской, то пружина 51 начинает сжиматься. В результате этого начнется поворот корпуса 2 относительно головной части 3. Этому способствует также то, что между каждой лункой 46 и боковой гранью 62 зауженного конца 45 трубчатого элемента 44 имеется скругленный участок 63.

[75]

Как отмечалось ранее, на торце зауженного конца 45 трубчатого элемента 44 выполнена пара противоположных лунок 46. Данные лунки выполнены так, что при повороте в крайнем положении каждая из них располагается напротив соответствующего ей ребра 29 или 30, ограничивающих снаружи в собранном положении торцевую наклонную поверхность между выступами головной части. Лунка начинает взаимодействовать с соответствующим ребром, упираясь в боковую грань 64 головной части. Это прекращает дальнейший поворот головной части относительно корпуса. Лунка может представлять собой выемку цилиндрической формы или эллиптической формы, или иной криволинейной формы. В этом положении можно развить крутящий момент, превышающий тот, который настроен при помощи рисок 57 на цилиндре 53.

[76]

Однако можно изначально настроить инструмент так, чтобы при помощи него развивать крутящий момент больший, чем наибольший возможный, установленный на рисках. Для этого трубчатый элемент необходимо при сборке установить зауженным концом 45 не на торцевые наклонные поверхности 27 и 28, а на поперечные плоские торцевые поверхности 31 и 32. В результате головная часть 3 и корпус 2 становятся одним целым и инструментом можно создать значительно больший крутящий момент, нежели рассчитанный момент затяжки, при этом «переламыванию» головной части 3 относительно корпуса 2 будут мешать два высоких угловых выступа.

[77]

Разборка

[78]

Для разборки устройства 1 вывинчивают цилиндр 53 из трубчатого элемента 44, вынимают пружину 51 и снимают трубчатый элемент 44 со штыря 33. Затем надавливают на штырь 33 в сторону поперечного отверстия 4 головной части 3 до упора, сжимая пружину 9 внутри головной части. При этом выступы 15 на участке сферической формы 14 штыря 33 выходят из дополнительных пазов 16. После этого поворачивают штырь 33 на 90° по часовой или против часовой стрелки. В результате поворота выступы 15 становятся из поперечного паза 12 в продольные пазы 11. Затем вынимают штырь 33 из продольной полости 6 головной части 3. Ставят головную часть 3 вертикально продольной полостью 6 вниз и/или встряхивают ее так, чтобы выпали пружина 9 и ползун 7.

[79]

Устройство разобрано на детали, каждую из которых можно промыть и продезинфицировать.

[80]

Изобретение позволяет значительно снизить трудоемкость разборки и сборки инструмента с одновременным сохранением всех других преимуществ, в частности с возможностью регулировать максимальную величину крутящего момента, прикладываемого при закручивании. Важно отметить, что разборку и сборку инструмента можно производить непосредственно медицинским персоналом лечебного учреждения.

[81]

Помимо приведенных вариантов изобретения, возможны и другие его многочисленные его модификации.

[82]

Все они охватываются приведенной далее формулой изобретения.

[83]

Источники информации

[84]

1. Система Alpha Bio. Каталог продукции 2006. стр.5, №4571-DT 30. Ключи с контролем усилия.

[85]

2. Система Alpha Bio. Каталог продукции 2006. стр.5, №4572-URATT. Универсальный динамометр.

[86]

3. Инструкция для дентальной имплантации. Хирургический этап. TIOLOX IMPLANTS GmbH, выпущено ЗАО "Дентаурум", Москва, 2006, с.8-9 (прототип).

Как компенсировать расходы
на инновационную разработку
Похожие патенты