патент
№ RU 2663949
МПК F16H59/20

УЗЕЛ ИЗВЕЩАЮЩИЙ ДЛЯ ЭЛЕКТРОННОЙ ПЕДАЛИ АКСЕЛЕРАТОРА

Авторы:
Орешин Андрей Сергеевич
Номер заявки
2017140380
Дата подачи заявки
20.11.2017
Опубликовано
13.08.2018
Страна
RU
Как управлять
интеллектуальной собственностью
Чертежи 
3
Реферат

Изобретение относится к механическим узлам электронных педалей акселератора для сигнализации о включении ускоряющей передачи автоматической коробки переключения передач в зависимости от положения педали акселератора. Узел извещающий для электронной педали акселератора содержит корпус в виде прямоугольного параллелепипеда, кнопку, которая расположена в корпусе и ее округлая часть через отверстие в корпусе выступает за его пределы, а также цилиндр. В средней части к цилиндрической поверхности прикреплен шип, поверх которого установлена возвратная пружина. Корпус выполнен полым, внутри в средней части разделен неполной перегородкой. С одной стороны перегородки выполнен стакан для возвратной пружины, а с другой стороны выполнено седло для выпуклой опорной части Г-образной кнопки. Внутренние поверхности Г-образной кнопки пересекаются под тупым углом. Сверху Г-образной кнопки расположен выступ, для которого в корпусе выполнен направляющий паз. Внутренняя перегородка и направляющий паз образуют проем для округлой нажимной части Г-образной кнопки, которая прилегает к цилиндру, возвратная пружина которого с другой стороны прилегает к основанию стакана. Цилиндр выполнен с возможностью поперечного перемещения в полости, образованной смежными стенками корпуса, внутренней перегородкой и стаканом. Достигается повышение надежности работы. 3 ил.

Формула изобретения

Узел извещающий для электронной педали акселератора, содержащий корпус в виде прямоугольного параллелепипеда, кнопку, которая расположена в корпусе и ее округлая часть через отверстие в корпусе выступает за его пределы, а также цилиндр, в средней части к цилиндрической поверхности которого прикреплен шип, поверх которого установлена возвратная пружина, отличающийся тем, что корпус выполнен полым, внутри в средней части разделен неполной перегородкой, с одной стороны перегородки выполнен стакан для возвратной пружины, а с другой стороны выполнено седло для выпуклой опорной части Г-образной кнопки, внутренние поверхности Г-образной кнопки пересекаются под тупым углом, сверху Г-образной кнопки расположен выступ, для которого в корпусе выполнен направляющий паз, внутренняя перегородка и направляющий паз образуют проем для округлой нажимной части Г-образной кнопки, которая прилегает к цилиндру, возвратная пружина которого с другой стороны прилегает к основанию стакана, при этом цилиндр выполнен с возможностью поперечного перемещения в полости, образованной смежными стенками корпуса, внутренней перегородкой и стаканом.

Описание

[1]

Изобретение относится к механическим узлам электронных педалей акселератора для сигнализации о включении ускоряющей передачи автоматической коробки переключения передач в зависимости от положения педали акселератора. [F16H 59/20, G05G 1/30].

[2]

Из уровня техники известно УСТРОЙСТВО ПОЗИЦИОНИРОВАНИЯ РУЧКИ УПРАВЛЕНИЯ С ТАКТИЛЬНОЙ ОБРАТНОЙ СВЯЗЬЮ [US 6220114 В1, опубл. 24.04.2001 г.], состоящее из двух расположенных на некотором расстоянии друг относительно друга частей, при этом на одной части выполнены в ряд округлые выемки для закругленного окончания подпружиненной цилиндрической детали, пружина которой расположена в ответном стакане второй части, указанные части выполнены с возможностью линейного перемещения относительно друг друга.

[3]

Недостатком аналога является низкая надежность использования, которая обусловлена тем, что при перемещении частей устройства друг относительно друга подпружиненная цилиндрическая деталь может стирать бортики, образованные соседними выемками, что снижает уровень тактильной обратной связи.

[4]

Наиболее близким по технической сущности является МЕХАНИЗМ КИКДАУН ДЛЯ ПЕДАЛИ АКСЕЛЕРАТОРА [US 6418813 В1, опубл. 16.07.2002 г.], содержащий корпус в виде прямоугольного параллелепипеда, в котором выполнено 2 несквозных отверстия, оси которых пересекаются под прямым углом, в одном отверстии расположена кнопка в виде цилиндрической детали одно окончание, которой выполнено в виде стакана для возвратной пружины, а другое выполнен округлым и выступает за пределы корпуса, на цилиндрической поверхности кнопки выполнена кольцевая выемка для цилиндрического фиксатора, который расположен во втором отверстии перпендикулярно его оси, при этом на его цилиндрической поверхности установлен шип для второй возвратной пружины. Основной технической проблемой прототипа является расположение цилиндрического фиксатора в кольцевой выемке кнопки, которое не обеспечивает холостого хода для кнопки, может привести к ее залипанию или примерзанию, кроме того во время перемещения кнопки на нее поверхность непрерывно воздействует фиксатор, что может обеспечить истирание цилиндрической поверхности кнопки - появление на ней углублений, удалению кольцевой канавки и выходу ее из строя.

[5]

Целью изобретения является устранение недостатков прототипа.

[6]

Техническим результатом изобретения является повышение надежности работы.

[7]

Указанный технический результат достигается за счет того, что узел извещающий для электронной педали акселератора, содержащий корпус в виде прямоугольного параллелепипеда, кнопку, которая расположена в корпусе и ее округлая часть через отверстие в корпусе выступает за его пределы, а также цилиндр, в средней части к цилиндрической поверхности которого прикреплен шип, поверх которого установлена возвратная пружина, отличается тем, что корпус выполнен полым, внутри в средней части разделен неполной перегородкой, с одной стороны перегородки выполнен стакан для возвратной пружины, а с другой стороны выполнено седло для выпуклой опорной части Г-образной кнопки, внутренние поверхности Г-образной кнопки пересекаются под тупым углом, сверху Г-образной кнопки расположен выступ, для которого в корпусе выполнен направляющий паз, внутренняя перегородка и направляющий паз образуют проем для округлой нажимной части Г-образной кнопки, которая прилегает к цилиндру, возвратная пружина которого с другой стороны прилегает к основанию стакана, при этом цилиндр выполнен с возможностью поперечного перемещения в полости, образованной смежными стенками корпуса, внутренней перегородкой и стаканом.

[8]

Краткое описание чертежей.

[9]

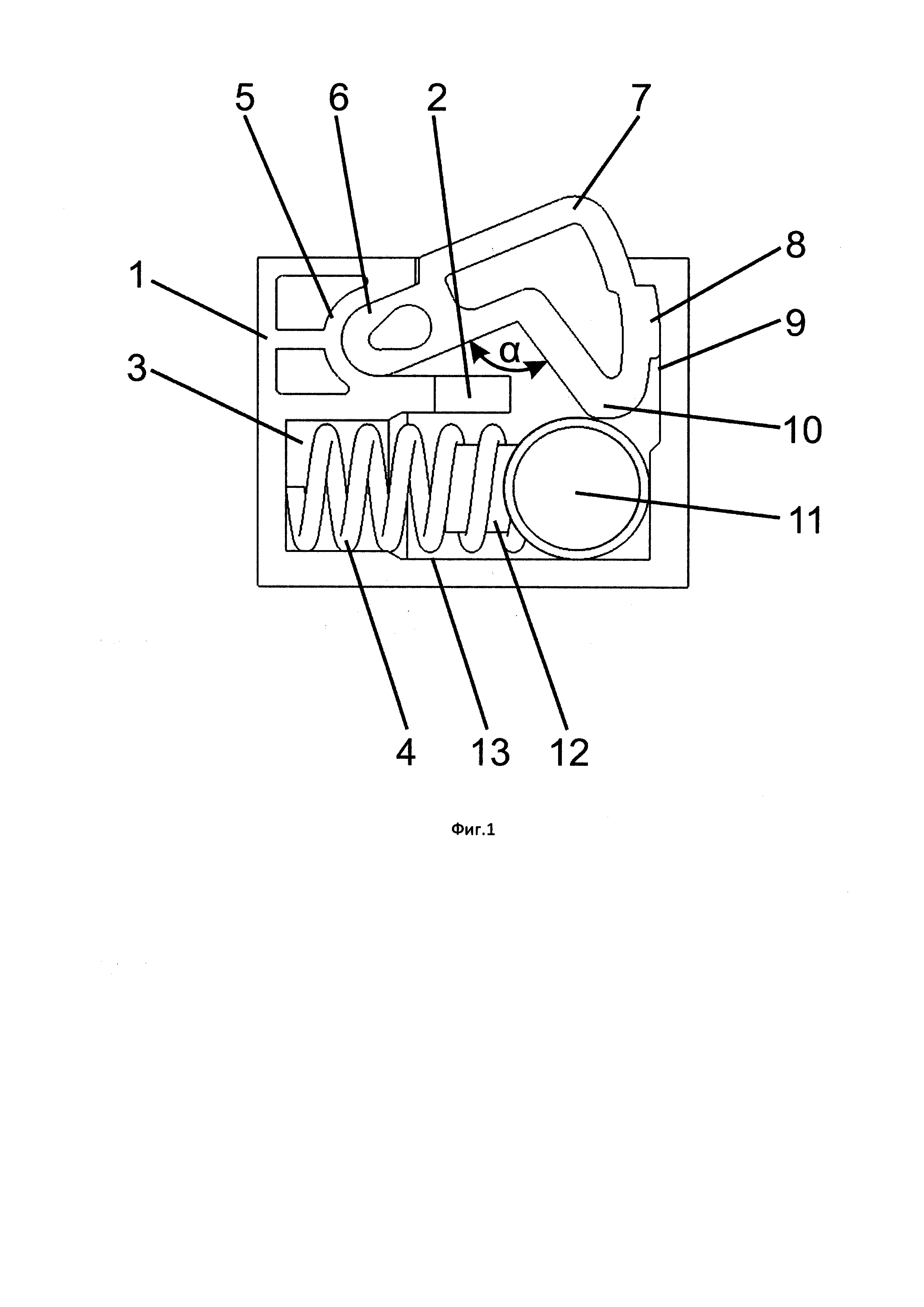
На фиг. 1 показано исходное положение деталей узла извещающего для электронной педали акселератора.

[10]

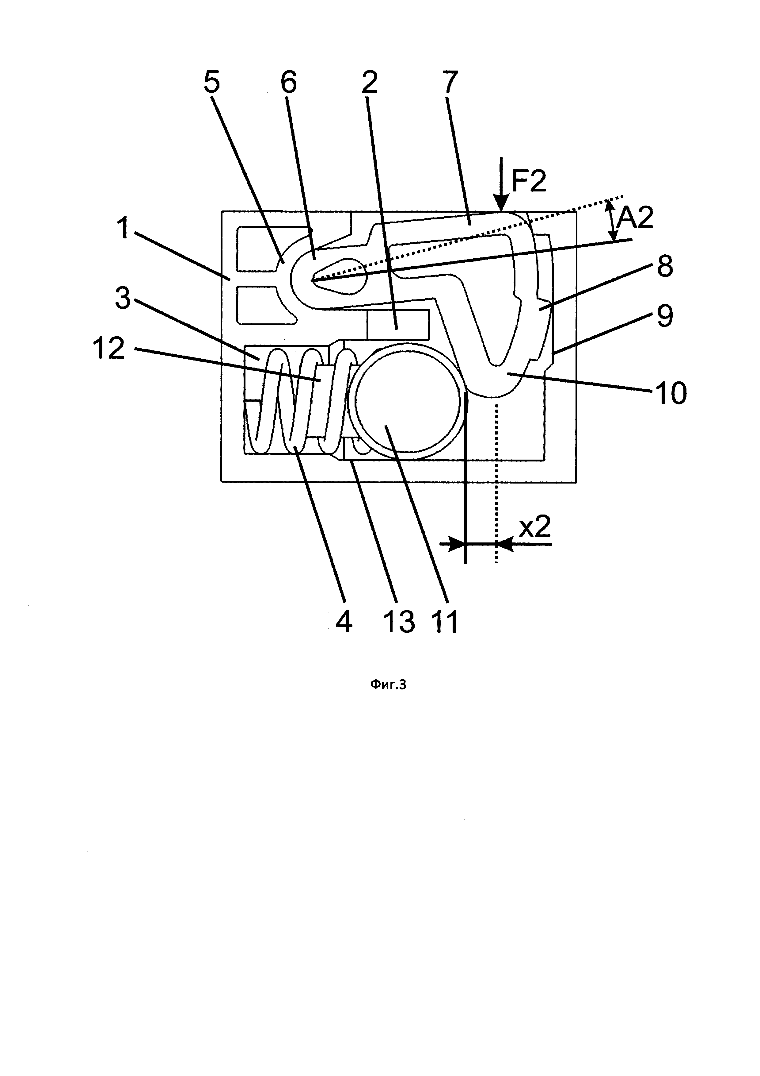
На фиг. 2 показан принцип взаимодействия деталей узла извещающего для электронной педали акселератора при нажатии кнопки.

[11]

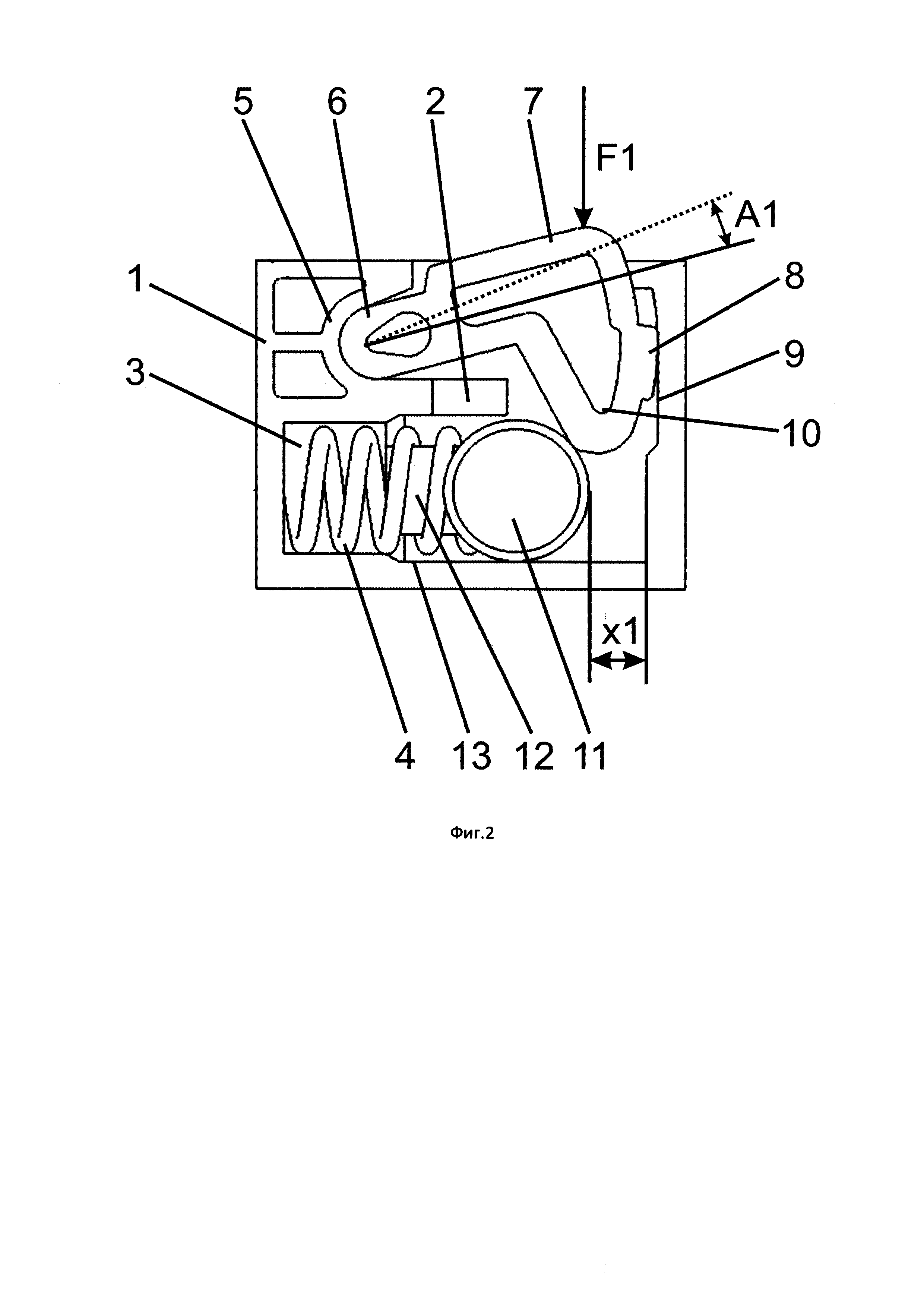
На фиг. 3 показано положение деталей узла извещающего для электронной педали акселератора при полностью нажатой кнопке.

[12]

На фигурах обозначено: 1 - корпус, 2 - неполная перегородка в корпусе, 3 - стакан для пружины. 4 - возвратная пружина, 5 - седло для опорной части Г-образной кнопки, 6 -опорная часть Г-образной кнопки, 7 - Г-образная кнопка, 8 - фиксирующий выступ кнопки, 9 - направляющий паз в корпусе, 10 - нажимная часть Г-образной кнопки, 11 - цилиндр, 12 - шип, 13 - полость для поперечного перемещения цилиндра.

[13]

Осуществление изобретения.

[14]

Узел извещающий для электронной педали акселератора содержит полый корпус 1, который внутри разделен неполной перегородкой 2. С одной стороны перегородки 2 выполнен стакан 3 для возвратной пружины 4, а с другой ее стороны выполнено седло 5 для опорной части 6 Г-образной кнопки 7. Опорная часть 6 выполнена выпуклой по форме вогнутого седла 5. Кнопка 7 выполнена по форме Г-образной детали, у которой внутренние поверхности пересекаются под тупым углом α. Сверху кнопки 7 расположен выступ 8, для которого в корпусе 1 выполнен направляющий паз 9. Перегородка 2 и направляющий паз 9 образуют проем для нажимной части 10 кнопки 7. Нажимная часть 10 прилегает к цилиндру 11, в средней части к цилиндрической поверхности которого прикреплен шип 12, поверх которого расположена возвратная пружина 4.

[15]

Цилиндр 11 выполнен с возможностью поперечного перемещения в полости 13, образованной смежными стенками корпуса 1, перегородкой 2 и стаканом 3. Перед использованием корпус узла извещающего устанавливают у рычага педали акселератора таким образом, чтобы при глубоком нажатии на педаль ее рычаг нажимал на кнопку 7.

[16]

Узел извещающий для электронной педали акселератора работает следующим образом. Во время движения на автомобиле для резкого его ускорения, например, при обгоне водитель нажимает ногой на педель акселератора до достижения ее рычагом кнопки 7, при этом для дальнейшего движения педали водитель значительно усиливает нажатие на педаль акселератора и до достижения значения прилагаемой силы значения F1 нажимная часть 10 кнопки 7 воздействует на цилиндр 11 и перемещает его в полости 13 на расстояние ×1 в направлении стакана 3, при этом цилиндр 11 сжимает пружину 4, одновременно кнопка 7 в седле 5 поворачивается на опорной части на угол А1. Для дальнейшего поворота кнопки 7 и сжатия пружины 4 водитель прилагает меньшее усилие F2 на педаль акселератора. Уменьшение прилагаемой силы давления на педаль акселератора является сигналом того, что автоматическая коробка передач перешла в режим работы с низким передаточным числом (кик-даун).

[17]

Работа узла извещающего обеспечивает обратную тактильную связь, при которой максимальное усилие нажатия на педаль акселератора и последующее движение педали с меньшим усилием нажатия (ощущение «соскока», «продавливания») дает понять водителю, что режим работы АКПП изменился.

[18]

Технический результат изобретения достигается за счет того, что конструкция узла извещающего обеспечивает поворот Г-образной кнопки 7 при нажатии на нее, а также то, что на цилиндр 11 воздействует округлая нажимная часть 10 Г-образной кнопки 7, которая имеет большую площадь соприкосновения, меньше подвержена истиранию и при ее истирании незначительно снижается уровень тактильной обратной связи.

Как компенсировать расходы
на инновационную разработку
Похожие патенты