патент
№ RU 2629977
МПК A23G1/00

СПОСОБ РАБОТЫ ПНЕВМАТИЧЕСКОЙ СИСТЕМЫ МЕЛАНЖЕРА

Авторы:
Алексеев Юрий Алексеевич
Номер заявки
2016120647
Дата подачи заявки
26.05.2016
Опубликовано
05.09.2017
Страна
RU
Как управлять
интеллектуальной собственностью
Чертежи 
4
Реферат

Изобретение относится к пищевой промышленности, а именно к способам управления работой меланжеров, предназначенных для изготовления шоколада из какао-бобов методом перемалывания. В процессе осуществления способа задают в блоке управления эталонное значение электрического сигнала, эквивалентное оптимальной температуре перемалываемого сырья. После этого подают в блок управления электрический сигнал с термопары, которая непрерывно измеряет температуру перемалываемой смеси, и сравнивают его с эталонным значением. При этом блок управления формирует управляющий электрический сигнал, эквивалентный разнице входных электрических сигналов, и подает его к электромагнитному пневматическому клапану, который открывается пропорционально значению управляющего сигнала. Клапан пропорционально открытию уменьшает давление поступающего на вход воздуха и подает его к пневматическому приводу, который перемещает шток. Шток изгибает нажимную пластину, которая осуществляет передачу упругой силы опорам прижимного механизма растирочного диска. Так, в случае превышения значения электрического сигнала термопары над эталонным значением блок управления подает к клапану электрический сигнал меньшего значения, который уменьшает открытие клапана. В этом случае шток смещается к исходному положению и уменьшает изгиб нажимной пластины. В случае превышения эталонного значения над значением сигнала термопары блок управления увеличивает значение выходного сигнала, который увеличивает открытие электромагнитного пневматического клапана и тем самым повышает давление штока пневматического привода на нажимную пластину, соединенную с опорами прижимного механизма растирочного диска, опирающегося на дно чаши меланжера. Использование изобретения позволит осуществить поддержание стабильной температуры перетираемой меланжером смеси. 3 з.п. ф-лы, 5 ил.

Формула изобретения

1. Способ управления пневматической системой меланжера, включающий передачу упругой силы опорам прижимного механизма растирочных дисков, отличающийся тем, что для передачи упругой силы в блоке управления задают эталонное значение электрического сигнала, эквивалентное оптимальной температуре перемалываемого сырья, после чего подают в блок управления электрический сигнал с термопары, которая непрерывно измеряет температуру перемалываемой смеси, и сравнивают его с эталонным значением, при этом блок управления формирует управляющий электрический сигнал, эквивалентный разнице входных электрических сигналов, и подает его к электромагнитному пневматическому клапану, который открывается пропорционально значению управляющего сигнала, при этом клапан пропорционально открытию уменьшает давление поступающего на вход воздуха и подает его к пневматическому приводу, который перемещает шток, при этом шток изгибает нажимную пластину, которая осуществляет передачу упругой силы опорам прижимного механизма растирочного диска, причем в случае превышения значения электрического сигнала термопары над эталонным значением блок управления подает к клапану электрический сигнал меньшего значения, который уменьшает открытие клапана, при этом шток смещают к исходному положению, уменьшая изгиб нажимной пластины, а в случае превышения эталонного значения над значением сигнала термопары блок управления увеличивает значение выходного сигнала, который увеличивает открытие электромагнитного пневматического клапана и тем самым повышает давление штока пневмопривода на нажимную пластину.

2. Способ по п. 1, отличающийся тем, что в блоке управления задают значение, эквивалентное минимально допустимой разнице входных сигналов, при котором не производят изменение выходного управляющего сигнала.

3. Способ по п. 1, отличающийся тем, что измеряют давление воздуха на входе и выходе из электромагнитного пневматического клапана и подают указанные значения давлений в блок управления.

4. Способ по п. 3, отличающийся тем, что блок управления формирует управляющий электрический сигнал, эквивалентный разнице входных электрических сигналов и пропорциональный разнице давлений на входе и выходе из электромагнитного пневматического клапана.

Описание

[1]

Изобретение относится к пищевой промышленности, а именно к способам управления меланжеров, предназначенных для изготовления шоколада из какао-бобов методом перемалывания [A23G 1/16, A23G 1/18].

[2]

Из уровня техники известна коншмашина периодического действия [патент РФ на изобретение №2020831], включающая корпус, цилиндрическую термостатируемую емкость открытого типа, разделенную на два концентрически расположенных отсека, сообщенных через перекрываемые заслонкой окна, электроприводное приспособление для перемещения заслонок относительно окон с контролирующим устройством, загрузочный лоток, сливную магистраль с клапаном, перемешивающие устройства внутреннего и внешнего отсеков с электроприводом, состоящие из соответственно вертикального шнека и трех гранитных конусов и шарнирно закрепленных на большой шестерне редуктора мешалок и двух ножей, и пульт управления работой машины, с пультом управления сообщены датчик-реле уровня и датчик конечного положения обрабатываемой шоколадной массы, при этом датчик-реле уровня установлен в клапане сливной магистрали выше ее оси, а датчик конечного положения смонтирован во внешнем отсеке емкости, ножи перемешивающего устройства внешнего отсека оснащены контрольными штырями, делящими рабочий объем емкости на равные части, коншмашина снабжена пробоотбортником, выполненным из размещенного в стенке емкости корпуса в виде тройника с входным и выходным отверстиями и хвостовой частью с П-образным пазом и клапаном с рукояткой, установленного в корпусе заподлицо в закрытом положении с внутренней стенкой емкости, при этом хвостовая часть корпуса и клапан снабжены поршневыми уплотнениями, а контролирующее устройство приспособления для перемещения заслонок выполнено в виде датчика конечного положения и включает размещенную вдоль приводного вала с резьбой направляющую с электроконтактными элементами и установленную на приводном валу ходовую гайку с регулируемыми упорами.

[3]

Известно электромеханическое устройство для измельчения и перемешивания пищевых продуктов [патент РФ на изобретение №2045194], содержащее вертикальную емкость с торцевыми щитами, загрузочным и разгрузочным патрубками, сообщенный с приводным валом двигателя перемешивающий орган, размещенные в емкости измельчающие ферромагнитные элементы в форме шариков и постоянный электромагнит, выполненный из магнитопроводов с регулируемыми токовыми обмотками управления, сообщенными с источником питания, емкость выполнена в виде диамагнитного тонкостенного стакана прямоугольного сечения и размещена в диамагнитном цилиндрическом корпусе, магнитопроводы имеют С-образную форму с плоскими полюсами и вмонтированы горизонтально в диамагнитный корпус, при этом токовые обмотки управления соединены с источником питания через коммутатор с возможностью поочередного включения, перемешивающий орган представляет собой спирали, навитые из пластин ферроэласта, причем длина пластин, шаг и средний диаметр витков спиралей уменьшаются в направлении к оси емкости, концы спиралей жестко прикреплены к обоймам, установленным в торцевых щитах емкости с возможностью вращения, а верхняя обойма соединена с приводным валом двигателя через вариатор скоростей.

[4]

Недостатком аналогов является сложность поддержания стабильной температуры перетираемой смеси, а также невозможность приготовления смеси из нескольких компонентов исходных продуктов, содержащих частицы различной величины и твердости.

[5]

В настоящее время для производства шоколада из какао-бобов применяются «меланжеры» - устройства, предназначенные для приготовления конечной однородной массы из нескольких компонентов исходных продуктов, содержащих частицы различной величины и твердости, путем растирания компонент между чашей и растирочными дисками, при этом устройство снабжено системой механического регулирования давления гранитных растирочных дисков на дно чаши. К такому устройству относится меланжер фирмы KADZAMA [http://kadzama.ru/tehnologii/melanzher.html; опубл. 14.05.2014], в котором для поддержания стабильной температуры смеси изменяют силу прижатия растирочных дисков ко дну чаши путем изменения положения гайки-барашка на стержне, которая сжимает пружину, при этом пружина передает упругую силу опорам прижимного механизма растирочных дисков. Увеличение силы прижатия растирочных дисков увеличивает теплопритоки в растираемую смесь от трения дисков о дно чаши, при этом уменьшение силы прижатия приводит к остыванию перетираемой смеси.

[6]

Недостатком прототипа является низкое качество приготовления готовой смеси, которое обусловлено сложностью поддержания стабильной температуры перетираемой смеси.

[7]

Техническим результатом изобретения является поддержание стабильной температуры перетираемой смеси меланжером.

[8]

Технический результат достигается за счет того, что в способе управления пневматической системой меланжера, характеризующемся тем, что передают упругую силу опорам прижимного механизма растирочных дисков, согласно изобретению задают в блоке управления эталонное значение электрического сигнала, эквивалентное оптимальной температуре перемалываемого сырья, после чего подают в блок управления электрический сигнал с термопары, которая непрерывно измеряет температуру перемалываемой смеси, и сравнивают его с эталонным значением, при этом блок управления формирует управляющий электрический сигнал, эквивалентный разнице входных электрических сигналов, и подает его к электромагнитному пневматическому клапану, который открывается пропорционально значению управляющего сигнала, при этом клапан пропорционально открытию уменьшает давление поступающего на вход воздуха и подает его к пневматическому приводу, который перемещает шток, при этом шток изгибает нажимную пластину, которая передает упругую силу опорам прижимного механизма растирочного диска; в случае превышения значения электрического сигнала термопары над эталонным значением блок управления подает к клапану электрический сигнал меньшего значения, который уменьшает открытие клапана, при этом шток смещают к исходному положению, уменьшая изгиб нажимной пластины, а в случае превышения эталонного значения над значением сигнала термопары блок управления увеличивает значение выходного сигнала, который увеличивает открытие электромагнитного пневматического клапана и тем самым повышает давление штока пневмопривода на нажимную пластину.

[9]

В частности, в блоке управления задают значение, эквивалентное минимально допустимой разнице входных сигналов, при котором не производят изменение выходного управляющего сигнала.

[10]

В частности, измеряют давление воздуха на входе и выходе из электромагнитного пневматического клапана и подают указанные значения давлений в блок управления.

[11]

В частности, блок управления формирует управляющий электрический сигнал, эквивалентный разнице входных электрических сигналов и пропорциональный разнице давлений на входе и выходе из электромагнитного пневматического клапана.

[12]

Краткое описание чертежей.

[13]

На фиг. 1 представлен общий вид меланжера, который реализует изобретение.

[14]

На фиг. 2 представлена функциональная схема прохождения электрических сигналов, предназначенных для обеспечения работы пневматической системы меланжера.

[15]

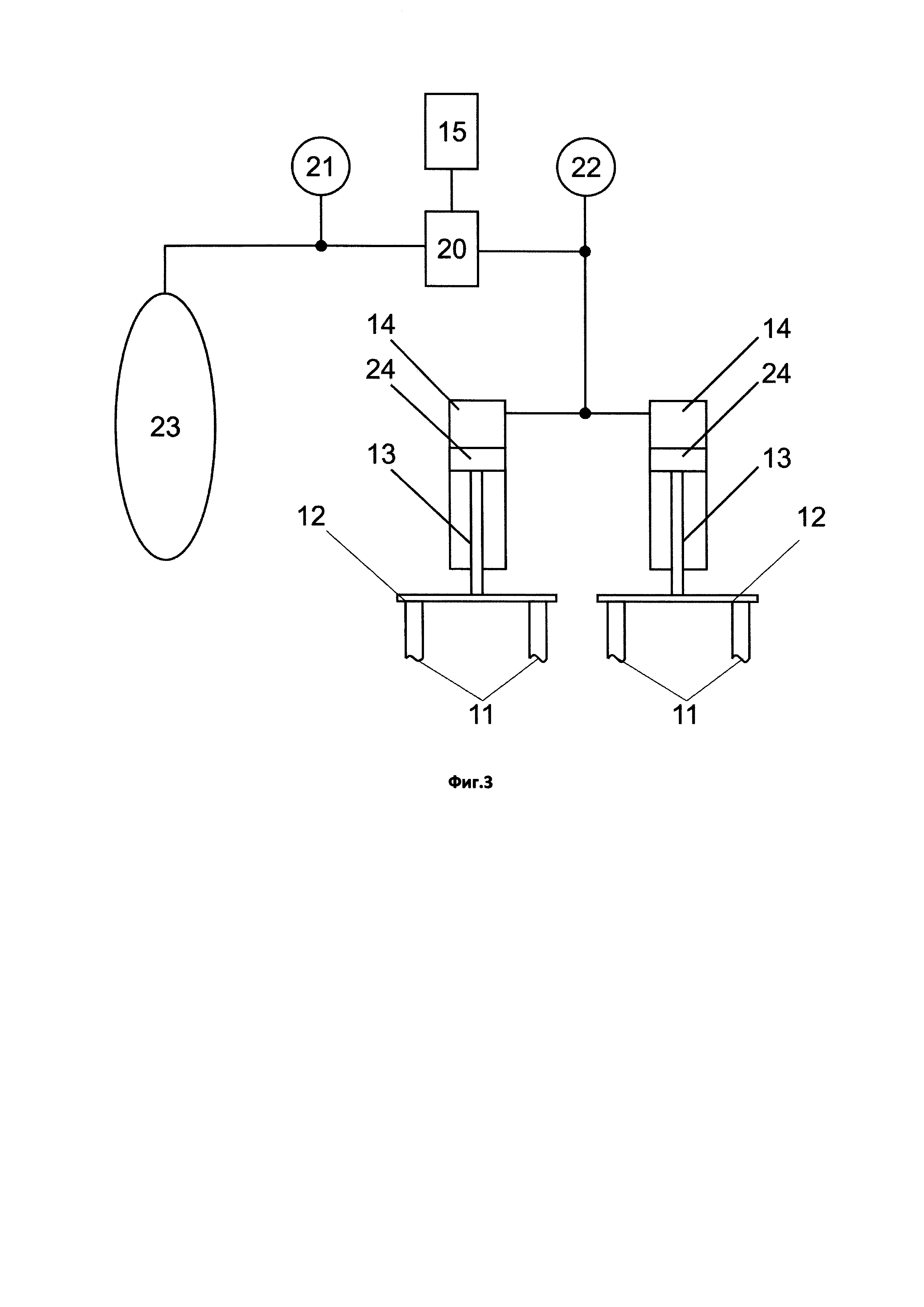
На фиг. 3 представлено схематичное изображение основных узлов и компонентов пневматической системы меланжера.

[16]

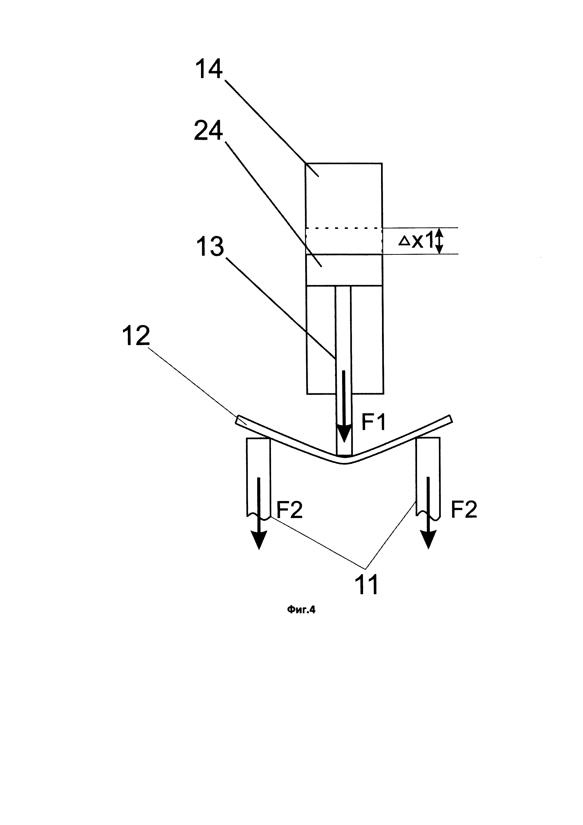
На фиг. 4 и 5 показаны примеры работы пневматической системы меланжера.

[17]

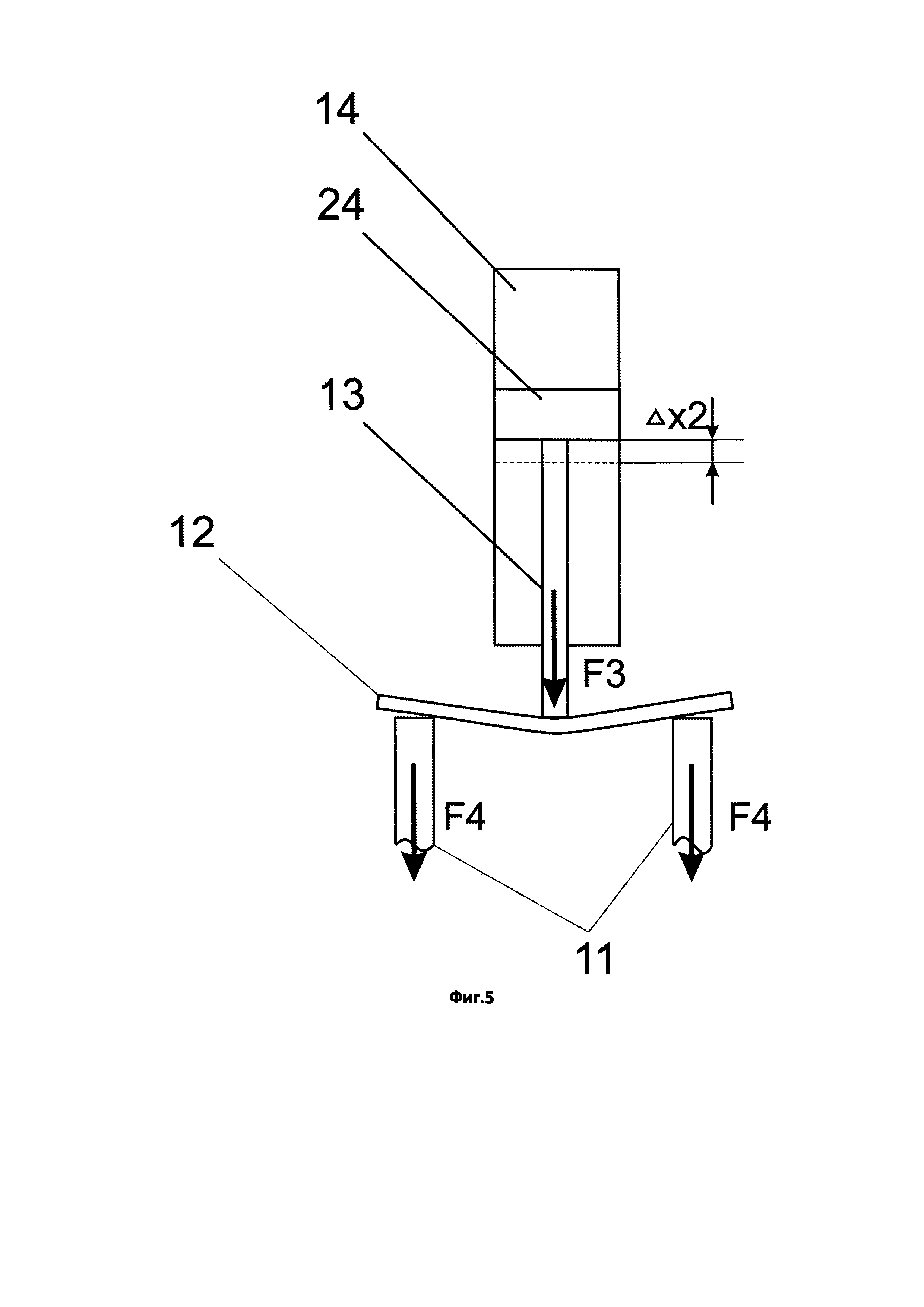
На чертежах обозначено: 1 - станина, 2 - опорные стойки; 3 - механизм опрокидывания, 4 - поворотная рама, 5 - электродвигатель, 6 - чаша, 7 - растирочные диски, 8 - валы, 9 - радиально-упорные подшипники, 10 - посадочные места подшипников, 11 - опоры прижимных механизмов, 12 - нажимные пластины, 13 - штоки, 14 - пневмоприводы, 15 - блок управления, 16 - органы управления, 17 - термопара, 18 - блок сравнения, 19 - блок формирования управляющих сигналов, 20 - электромагнитный пневматический клапан, 21 - датчик давления вводной пневматической магистрали, 22 - датчик давления рабочей пневматической магистрали, 23 - ресивер, 24 - поршни пневмоприводов, 25 - гранитный диск.

[18]

Осуществление изобретения.

[19]

Способ управления пневматической системы реализуется в меланжере, который содержит станину 1 (см. фиг. 1), на опорных стойках 2 которой установлен механизм опрокидывания 3 поворотной рамы 4. Внизу поворотной рамы 4 установлен электродвигатель 5, который кинематически связан с чашей 6. На дне чаши 6 расположен гранитный диск 25, на котором симметрично его вертикальной оси установлены растирочные диски 7 с валами 8, на концах которых установлены радиально-упорные подшипники 9. Подшипники 9 расположены в посадочных местах 10 опор 11 прижимных механизмов. Сверху между парами опор 11 установлены нажимные пластины 12. Сверху в районе средних частей нажимных пластин 12 расположены штоки 13 поршней 24 пневмоприводов 15. Блок управления установлен на станине 1, при этом на лицевой стороне блока управления 15 расположены органы управления 16.

[20]

Термопара 17 (см. фиг. 2) установлена внутри чаши 6, при этом выход термопары соединен с блоком сравнения 18, к другим входам которого подключены органы управления 16. Выход блока сравнения 18 подключен к входу блока формирования управляющих сигналов 19, при этом к другим входам блока 19 подключены датчики давления 21 и 22. Управляющий выход блока 19 подключен к управляющему входу электромагнитного пневматического клапана 20.

[21]

Ресивер 23 (см. фиг. 3) вводной магистралью соединен с клапаном 20, при этом к указанной магистрали подключен датчик давления 21. Выход электромагнитного пневматического клапана 20 подключен к рабочей пневматической магистрали, которая подключена к пневмоприводам 14, при этом к указанной магистрали подключен датчик давления 22.

[22]

Способ работы пневматической системы меланжера реализуется следующим образом. Первоначально органами управления 16 задают эталонное значение электрического сигнала, эквивалентное оптимальной температуре перемалываемого сырья, а также значение минимально допустимой разницы температур и запоминают их в блоке сравнения 18. Затем в чашу 6 засыпают сырье и включают электродвигатель 5, который приводит ее во вращение, при этом за счет силы трения о диск 25 начинают вращаться вокруг валов 8 растирочные диски 7. Во время движения дисков 7 компоненты сырья приводятся в движение центробежными силами, возникающими от вращения чаши 6, а также за счет турбулентности увлекаются в пространство между растирочными дисками 7 и гранитным диском 25 чаши 6, в котором происходит их перемалывание, при этом в указанном месте за счет силы трения дисков 7 о диск 25 в перетираемую смесь поступают тепловые притоки.

[23]

Термопара 21 непрерывно измеряет температуру перетираемого сырья и передает электрический сигнал, эквивалентный температуре сырья, в блок сравнения 18, в котором сравнивают указанное значение с эталонным сигналом, при этом результат сравнения - разницу сигналов сравнивают по модулю со значением минимально допустимой разницы температур,при этом, если разница входных электрических сигналов меньше по модулю указанного значения, тогда в блок 19 подают сигнал с условным значением ноль, при котором блок 19 не формирует новый управляющий сигнал, иначе блок 18 передает в блок 19 электрический сигнал со значением, эквивалентным разнице входных сигналов.

[24]

После этого блок 19 в зависимости от значений входных сигналов от блока 18, датчиков давлений 21 и 22 формирует управляющий сигнал и подает его в электромагнитный пневматический клапан 20.

[25]

Например, на выходе термопары 17 электрический сигнал имеет значение 50 мВ (эквивалентное температуре 50°С), эталонное значение составляет 100 мВ (эквивалентное температуре 100°С) и минимально допустимая разница составляет 10 мВ (эквивалентное разнице температур в 10°С), соответственно смесь имеет недостаточную температуру. Для увеличения температуры смеси необходимо увеличить давление растирочных дисков 7 на диск 25, при этом за счет увеличения силы трения возрастут теплопритоки в перетираемую смесь. Для этого блок 19 подает управляющий электрический сигнал на открытие электромагнитного клапана 20, который уменьшает давление вводной магистрали пропорционально открытию и подает его в рабочую магистраль, при этом возрастает давление в рабочей магистрали, которое смещает поршни 24 на величину Δ×1 (см. фиг. 4). Штоки 13 смещают на величину Δ×1 средние части нажимных пластин 12, при этом нажимные пластины 12 выгибаются и передают упругую силу, соответствующую силе давления F1 штоков 13 опорам 11, которые посредством подшипников 9 передают дополнительное усилие F2 растирочным дискам 7, при этом увеличиваются теплопритоки в перетираемую смесь.

[26]

После этого перетираемая смесь будет нагреваться, термопара будет фиксировать увеличение температуры, при этом будет увеличиваться значение выходного электрического сигнала, соответственно выходной сигнал блока сравнения 18 также будет уменьшаться, при этом блок формирования управляющего сигнала 19 подаст на клапан 20 сигнал меньшего потенциала, при этом значение давления в рабочей магистрали уменьшится и штоки 13 сместятся к исходному положению на величину Δ×2, соответственно значения сил F3 и F4 будут меньше значений сил F1 и F2.

[27]

Следовательно, при нагревании перетираемой смеси будут уменьшаться теплопритоки, образованные трением растирочных дисков 7 о диск 25 и температура будет стабилизирована в районе оптимально заданной температуры с погрешностью минимально допустимой разницы температур.

[28]

Технический результат изобретения - поддержание стабильной температуры перетираемой смеси меланжером, достигается за счет того, что пневматическая система обеспечивает обратную связь между значением разницы текущей температуры и заданным эталонным значением, а также значением теплопритоков в перетираемую смесь, обусловленных силой прижатия и трением растирочных дисков 7 о гранитное дно 25.

Как компенсировать расходы
на инновационную разработку
Похожие патенты