патент
№ RU 2200332
МПК G01S13/89

РАДИОЛОКАТОР ДЛЯ ОБНАРУЖЕНИЯ НЕОДНОРОДНОСТЕЙ В ПОДПОВЕРХНОСТНОМ СЛОЕ ЗЕМЛИ

Авторы:
Семейкин Н.П. Трушков В.Н. Шаршин Ю.А.
Все (8)
Правообладатель:
Все (8)
Номер заявки
2002111021/09
Дата подачи заявки
25.04.2002
Опубликовано
10.03.2003
Страна
RU
Как управлять
интеллектуальной собственностью
Чертежи 
4
Реферат

[29]

Изобретение относится к геофизике, в частности к устройствам геоэлектроразведки с использованием электромагнитных волн высокой частоты, и может быть использовано при разведке полезных ископаемых, а также для поиска инженерных коммуникаций и других скрытых неоднородностей в исследуемом подповерхностном слое земли. Техническим результатом изобретения является повышение точности и разрешающей способности путем уменьшения влияния помех от переотражений сигналов, возникающих в соединительных кабелях, и достижения возможности привязки к местности обнаруженного подповерхностного объекта. Сущность изобретения состоит в том, что радиолокатор для обнаружения неоднородностей в подповерхностном слое земли содержит последовательно соединенные передатчик и передающую антенну, приемную антенну, широкополосный усилитель, сигнальный процессор и аналого-цифровой преобразователь, а также устройство выборки и хранения, стробоскопическое устройство, электронно-оптический преобразователь, оптико-электронный преобразователь, постоянное запоминающее устройство, первый двунаправленный оптико-электронный преобразователь, второй двунаправленный оптико-электронный преобразователь и датчик перемещений. 5 ил.

Формула изобретения

Радиолокатор для обнаружения неоднородностей в подповерхностном слое земли, состоящий из последовательно соединенных передатчика и передающей антенны, приемной антенны, широкополосного усилителя, сигнального процессора и аналогово-цифрового преобразователя, отличающийся тем, что дополнительно введены устройство выборки и хранения, стробоскопическое устройство, электронно-оптический преобразователь, оптико-электронный преобразователь, постоянное запоминающее устройство, первый двунаправленный оптико-электронный преобразователь, второй двунаправленный оптико-электронный преобразователь и датчик перемещений, причем приемная антенна соединена с входом широкополосного усилителя, выход которого подключен к первому входу устройства выборки и хранения, первый выход сигнального процессора подключен к входу электронно-оптического преобразователя, выход электронно-оптического преобразователя связан оптическим кабелем с оптико-электронным преобразователем, выход оптико-электронного преобразователя подключен к входу передатчика, второй выход сигнального процессора подключен к первому входу стробоскопического устройства, выход стробоскопического устройства соединен со вторым входом устройства выборки и хранения, выход устройства выборки и хранения подключен к входу аналогово-цифрового преобразователя, первый вход-выход сигнального процессора соединен с входом-выходом первого двунаправленного оптико-электронного преобразователя, вход-выход первого двунаправленного оптико-электронного преобразователя связан оптическим кабелем с входом-выходом второго оптико-электронного преобразователя, вход-выход второго оптико-электронного преобразователя является входом-выходом радиолокатора для обнаружения неоднородностей в подповерхностном слое земли, второй вход-выход сигнального процессора соединен шиной данных с первым входом-выходом стробоскопического устройства и выходом постоянного запоминающего устройства, выход аналогово-цифрового преобразователя подключен к первому входу сигнального процессора, а выход датчика перемещений соединен со вторым входом сигнального процессора.

Описание

[1]

Предлагаемый радиолокатор для обнаружения неоднородностей в подповерхностном слое земли относится к устройствам геоэлектроразведки с использованием электромагнитных волн высокой частоты и может быть использован при разведке полезных ископаемых, а также для поиска инженерных коммуникаций и других скрытых неоднородностей.

[2]

Известно ["Устройство для обнаружения неоднородностей в массивах горных пород" AC 397877, G 01 V 3/06, 1971 г.], содержащее приемник, передатчик, приемную и передающую антенны, линию задержки. В данном устройстве для радиолокационного зондирования используется широкополосный сигнал с линейной частотной модуляцией. Однако данное устройство обладает низкой точностью и разрешающей способностью по глубине.

[3]

Наиболее близким по технической сущности является геофизический радиолокатор [RU патент 2105330 С1, опубл. 20.02.98 г.], сущность которого состоит в том, что геофизический радиолокатор содержит спецвычислитель, интерфейс, передатчик, передающую антенну, первый смеситель стробоскопического преобразователя, первый формирователь строба, второй смеситель стробоскопического преобразователя, линию задержки, триггер, ключ, цифроаналоговый преобразователь, усилитель, аналогово-цифровой преобразователь, звуковой индикатор, жидкокристаллический индикатор.

[4]

Недостатками известных геофизических радиолокаторов являются их малая помехозащищенность от помех, возникающих в соединительных цепях используемых средств, и как следствие этого уменьшение точности и разрешающей способности по глубине.

[5]

Техническим результатом предлагаемого изобретения является повышение точности и разрешающей способности путем уменьшения влияния помех от переотражений сигналов, возникающих в соединительных кабелях, и достижения возможности привязки к местности обнаруженного подповерхностного объекта.

[6]

Сущность изобретения состоит в том, что предлагаемый радиолокатор для обнаружения неоднородностей в подповерхностном слое земли содержит последовательно соединенные передатчик и передающую антенну, приемную антенну, широкополосный усилитель, сигнальный процессор и аналогово-цифровой преобразователь. Отличительными признаками заявляемого радиолокатора для обнаружения неоднородностей в подповерхностном слое земли является то, что дополнительно введены устройство выборки и хранения, стробоскопическое устройство, электронно-оптический преобразователь, оптико-электронный преобразователь, постоянное запоминающее устройство, первый двунаправленный оптико-электронный преобразователь, второй двунаправленный оптико-электронный преобразователь и датчик перемещений. Приемная антенна соединена с входом широкополосного усилителя, выход которого подключен к первому входу устройства выборки и хранения. Первый выход сигнального процессора подключен к входу электронно-оптического преобразователя, выход электронно-оптического преобразователя связан оптическим кабелем с оптико-электронным преобразователем, выход оптико-электронного преобразователя подключен к входу передатчика, второй выход сигнального процессора подключен к первому входу стробоскопического устройства, выход стробоскопического устройства соединен со вторым входом устройства выборки и хранения, выход устройства выборки и хранения подключен к входу аналогово-цифрового преобразователя. Первый вход-выход сигнального процессора соединен с входом-выходом первого двунаправленного оптико-электронного преобразователя, вход-выход первого двунаправленного оптико-электронного преобразователя связан оптическим кабелем с входом-выходом второго оптико-электронного преобразователя, вход-выход второго оптико-электронного преобразователя является входом-выходом радиолокатора для обнаружения неоднородностей в подповерхностном слое земной поверхности. Второй вход-выход сигнального процессора соединен шиной данных с первым входом-выходом стробоскопического устройства и выходом постоянного запоминающего устройства, выход аналогово-цифрового преобразователя подключен к первому входу сигнального процессора, а выход датчика перемещений соединен со вторым входом сигнального процессора.

[7]

На фиг. 1 представлена блок-схема предлагаемого радиолокатора для обнаружения неоднородностей в подповерхностном слое земли.

[8]

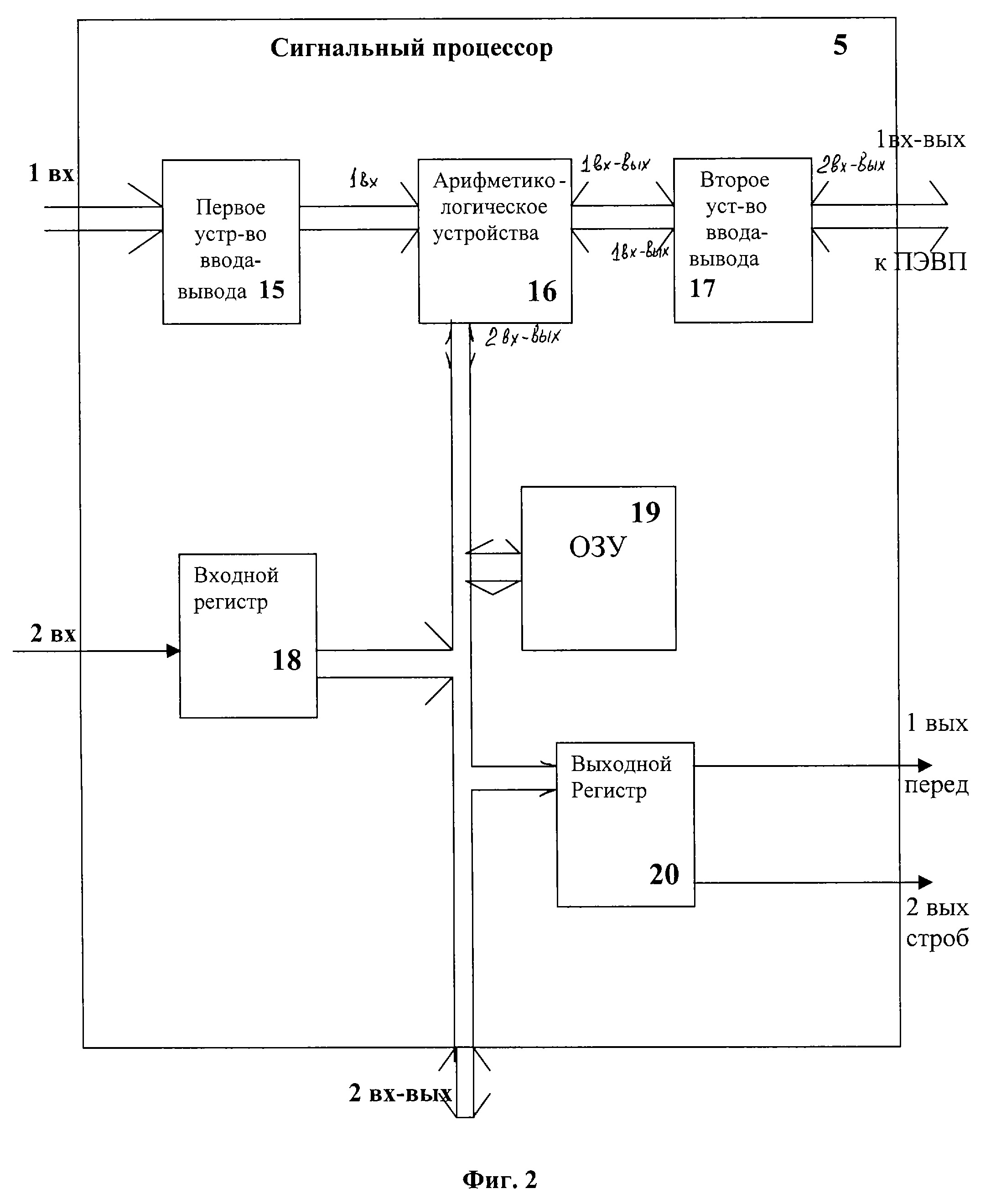
На фиг.2 представлен пример выполнения сигнального процессора.

[9]

На фиг.3 представлен пример выполнения стробоскопического устройства.

[10]

На фиг.4 представлен пример выполнения устройства выборки и хранения.

[11]

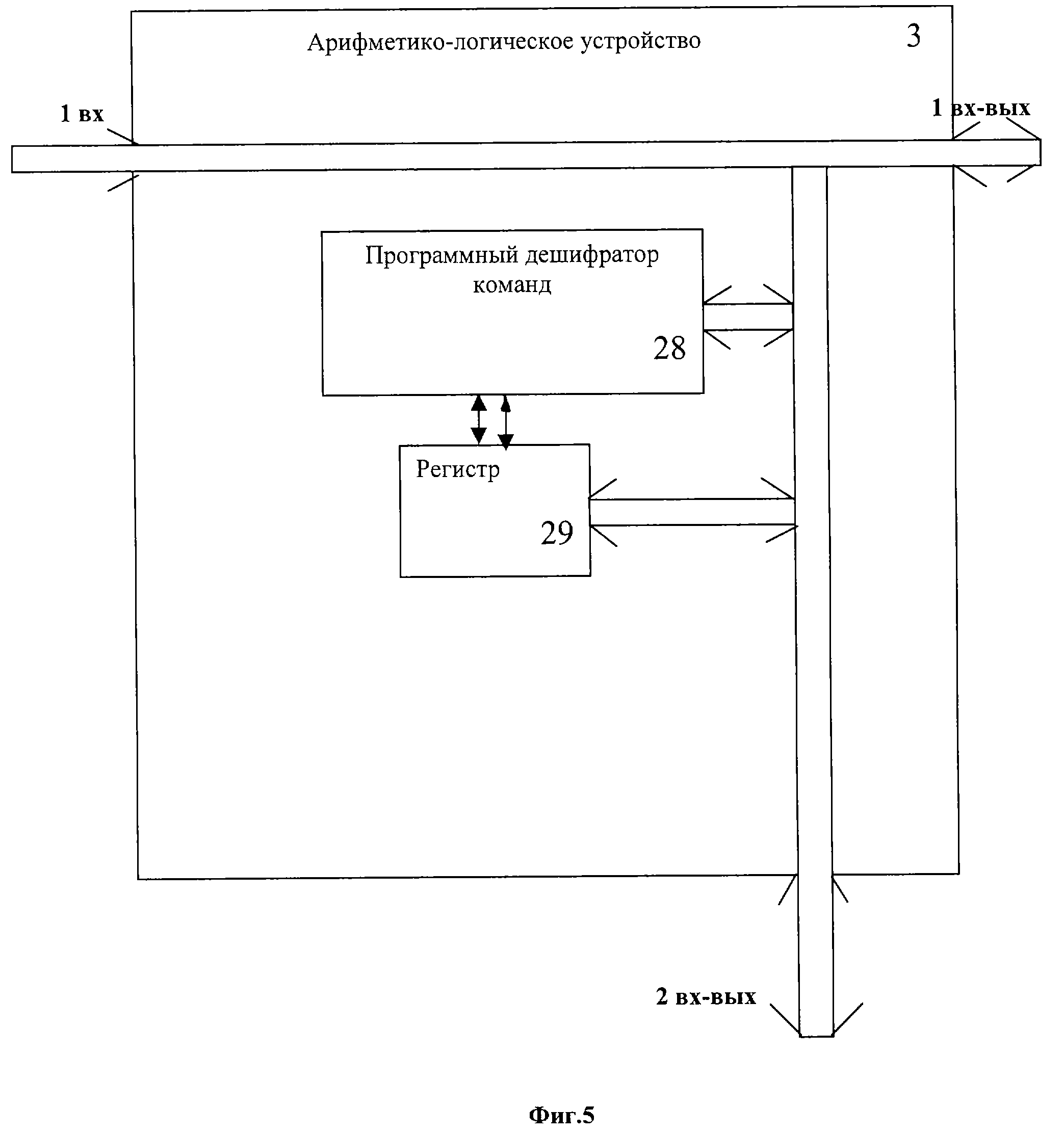
На фиг.5 представлен пример выполнения арифметико-логического устройства
Радиолокатор для обнаружения неоднородностей в подповерхностном слое земли состоит из приемной антенны 1, широкополосного усилителя 2, устройства выборки и хранения 3, аналогово-цифрового преобразователя 4, сигнального процессора 5, первого двунаправленного оптико-электронного преобразователя 6, второго двунаправленного оптико-электронного преобразователя 7, электронно-оптического преобразователя 8, оптико-электронного преобразователя 9, передатчика 10, передающей антенны 11, датчика перемещения 12, выполненного например в виде цифрового счетчика количества оборотов колеса, подвижного средства, на котором установлен радиолокатор для обнаружения неоднородностей в подповерхностном слое земли, преобразующего линейно-пройденное расстояние в цифровую форму, постоянного запоминающего устройства (ПЗУ) 13, стробоскопического устройства 14.

[12]

Приемная антенна 1 соединена с широкополосным усилителем 2, выход которого подключен к первому входу устройства выборки и хранения 3. Выход устройства выборки и хранения 3 подключен к входу аналогово-цифрового преобразователя 4, выход которого шиной соединен с первым входом сигнального процессора 5.

[13]

Первый выход сигнального процессора 5 соединен с входом электронно-оптического преобразователя 8, выполненного на средствах волоконной оптики, например на светодиодах, выход электронно-оптического преобразователя связан оптическим кабелем с оптико-электронным преобразователем 9, выполненным, например, на светодиодах, выход его подключен к входу передатчика 10, соединенного с передающей антенной 11.

[14]

Второй выход сигнального процессора 5 подключен к первому входу стробоскопического устройства 14, выход стробоскопического устройства 14 соединен со вторым входом устройства выборки и хранения 3.

[15]

Первый вход-выход сигнального процессора 5 подключен к входу-выходу первого двунаправленного оптико-электронного преобразователя 6, выполненного, например, на светодиодах, оптический вход-выход которого связан оптическим кабелем с оптическим входом-выходом второго двунаправленного оптико-электронного преобразователя 7, выполненного, например, на светодиодах, вход-выход которого является входом-выходом радиолокатора для обнаружения неоднородностей в подповерхностном слое земли.

[16]

Второй вход-выход сигнального процессора 5 шиной данных подключен к первому входу-выходу стробоскопического устройства 14 и выходу постоянного запоминающего устройства 13, а ко второму входу сигнального процессора 5 подключен выход датчика перемещения 12.

[17]

Сигнальный процессор 5, пример выполнения которого приведен на фиг.2, состоит из первого устройства ввода-вывода 15, арифметико-логического устройства 16, являющегося блоком управления режимами работы, второго устройства ввода-вывода 17, входного регистра 18, оперативного запоминающего устройства (ОЗУ) 19, выходного регистра 20, причем выход первого устройства ввода-вывода 15, вход которого является первым входом сигнального процессора 5, соединен шиной с первым входом арифметико-логического устройства 16, первый вход-выход которого подключен к первому входу-выходу второго устройства ввода-вывода, второй вход-выход второго устройства ввода-вывода является первым входом-выходом сигнального процессора 5. Второй вход-выход арифметико-логического устройства 16 шиной соединен с входом-выходом ОЗУ 19, выходом входного регистра 18 и входом выходного регистра 20 и является вторым входом-выходом сигнального процессора 5.

[18]

Стробоскопическое устройство 14, пример выполнения которого приведен на фиг. 3, состоит из источника тока 21, ключа 22, компаратора 23, цифроаналогового преобразователя 24 и накопительного конденсатора 25.

[19]

Устройство выборки и хранения 3, пример выполнения которого приведен на фиг.4, состоит из коммутатора 26 и накопителя 27.

[20]

Арифметико-логическое устройство 16, пример выполнения которого приведен на фиг.5, состоит из программируемого дешифратора команд 28 и регистра 29.

[21]

Работа радиолокатора для обнаружения неоднородностей в подповерхностном слое земли основана на использовании для радиолокационного зондирования подповерхностного слоя земли широкополосного моноимпульсного высокочастотного сигнала при движении по поверхности земли. Для преобразования отраженного от подповерхностного объекта сигнала в цифровую форму используется способ стробоскопической развертки, при котором за один такт работы передатчика получается оцифрованное значение только одной точки по глубине. Полностью принятый сигнал преобразуется в цифровую форму последовательным перебором этих точек.

[22]

При включении питания из постоянного запоминающего устройства (ПЗУ) 13 предварительно записанный программный код поступает на арифметико-логическое устройство 16 сигнального процессора 5 и далее переписывается в оперативное запоминающее устройство 19 сигнального процессора 5. Арифметико-логическое устройство 16 после этого переходит в режим ожидания команды от оператора ПЭВМ.

[23]

Оператор с ПЭВМ выдает команду "Принять данные". Эта команда содержит последовательность операций о порядке действий, последовательно производимых в сигнальном процессоре 5, и проходит через второй двунаправленный оптико-электронный преобразователь 7, где преобразуется из электрического сигнала в оптический, оптический кабель, первый двунаправленный оптико-электронный преобразователь 6, где преобразуется из оптического сигнала в электрический, и через второе устройство ввода-вывода 17 сигнального процессора 5 поступает на программный дешифратор команд 28 арифметико-логического устройства 16, где она дешифрируется. По этой команде арифметико-логическое устройство 16 по шине данных записывает в цифроаналоговый преобразователь (ЦАП) 24 устройства стробоскопической развертки 14 код первой точки. Первая точка соответствует началу принятого сигнала. Далее по той же команде арифметико-логическое устройство 16 через регистр 29 и выходной регистр 20 выдает импульс запуска передатчика, который преобразуется в оптический сигнал в электронно-оптическом преобразователе 8, по оптическому кабелю передается в оптико-электронный преобразователь 9, где преобразуется в электрический сигнал, который и запускает передатчик 10. Передатчик 10 формирует моноимпульсный высокочастотный сигнал, излучаемый передающей антенной 11.

[24]

Принятый приемной антенной 1, усиленный в широкополосном усилителе 2 и отраженный от подповерхностного объекта сигнал поступает на первый вход устройства выборки и хранения 3.

[25]

Одновременно с импульсом запуска передатчика арифметико-логическое устройство 16 через выходной регистр 20 выдает импульс запуска стробоскопического устройства 14, который открывает ключ 22, и накопительная емкость 25 начинает заряжаться от источника тока 21. При этом напряжение на накопительной емкости 25 начинает возрастать. Это напряжение подается на первый вход компаратора 23, на второй вход которого подается напряжение с ЦАП 24, пропорциональное записанному коду первой точки. При совпадении этих напряжений компаратор 23 выдает сигнал, который поступает на второй вход коммутатора 26 устройства выборки и хранения 3 с задержкой, пропорциональной записанному коду первой точки.

[26]

Устройство выборки и хранения 3 в накопителе 27 по сигналу с компаратора 23 стробоскопического устройства 14 запоминает амплитуду принятого высокочастотного сигнала, поступающего на первый вход коммутатора 26 устройства выборки и хранения 3, на время, необходимое для преобразования его в цифровую форму в аналогово-цифровом преобразователе 4. После преобразования в цифровую форму сигнал поступает через первое устройство ввода-вывода 15 сигнального процессора 5 на арифметико-логическое устройство 16 и записывается в оперативное запоминающее устройство (ОЗУ) 19. Затем процесс повторяется для следующей точки.

[27]

После набора заданного количества точек арифметико-логическое устройство 16 по той же команде считывает через входной регистр 18 информацию с датчика перемещений 12 и записывает их в ОЗУ 19. Затем АЛУ 16 считывает весь массив данных из ОЗУ 19 и через второе устройство ввода-вывода 17 сигнального процессора 5 первый двунаправленный электронно-оптический преобразователь 6, оптический кабель, второй оптико-электронный преобразователь 7 передает их для индикации в ПЭВМ.

[28]

Таким образом, предлагамое построение радиолокатора и использование оптико-электронных преобразователей исключает эффект переотражения сигналов в кабелях, что в конечном результате совместно с достижением возможности привязки к местности обнаруженного подповерхностного объекта повышает точность предлагаемого радиолокатора для обнаружения неоднородностей в подповерхностном слое земли.

Как компенсировать расходы
на инновационную разработку
Похожие патенты