патент
№ RU 2662508
МПК G01L7/04

МАНОМЕТР ПОКАЗЫВАЮЩИЙ

Авторы:
Мулёв Юрий Владимирович
Номер заявки
2017135211
Дата подачи заявки
05.10.2017
Опубликовано
26.07.2018
Страна
RU
Как управлять
интеллектуальной собственностью
Чертежи 
6
Реферат

Изобретение относится к области измерительной техники и может быть использовано для измерения давления газообразных и жидких веществ в условиях производственных и иных процессов. Устройство включает корпус с чувствительным элементом, представляющим собой трубчатую пружину, связанную тягой с передаточным механизмом и держателем, при этом в подводящем канале держателя установлена резьбовая втулка с образованием зазора между резьбой втулки и резьбой на стенке подводящего канала. Техническим результатом изобретения является устранение пульсационных выбросов давления измеряемой среды перед поступлением ее во внутреннюю полость чувствительного элемента прибора. 8 з.п. ф-лы, 6 ил.

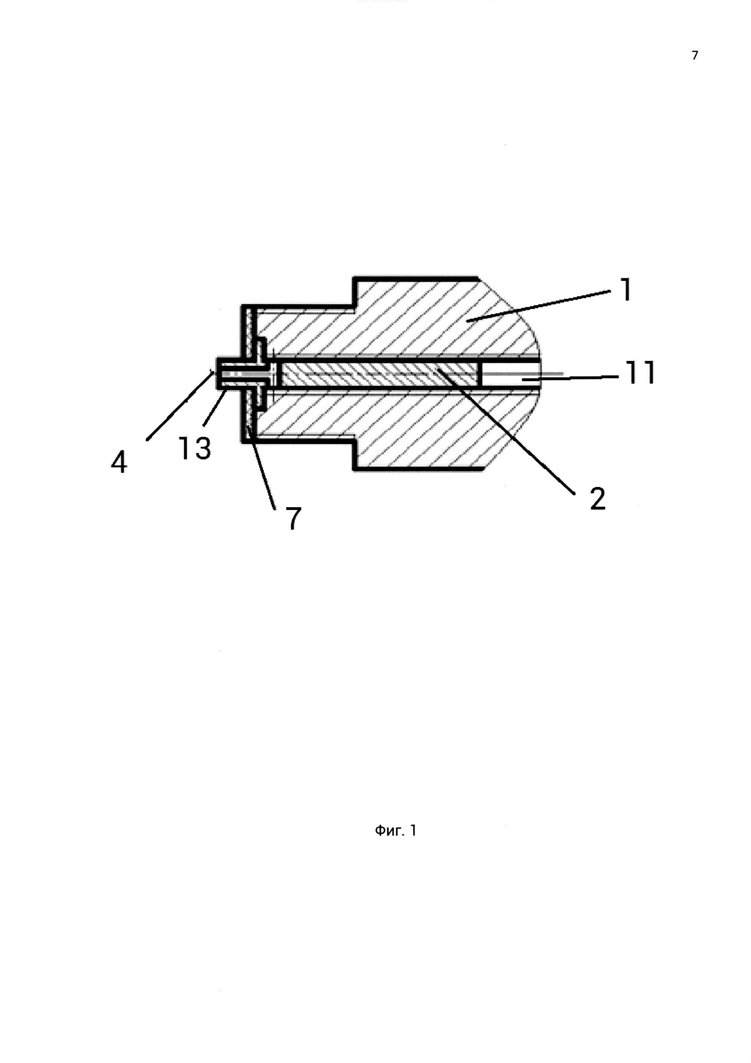
Формула изобретения

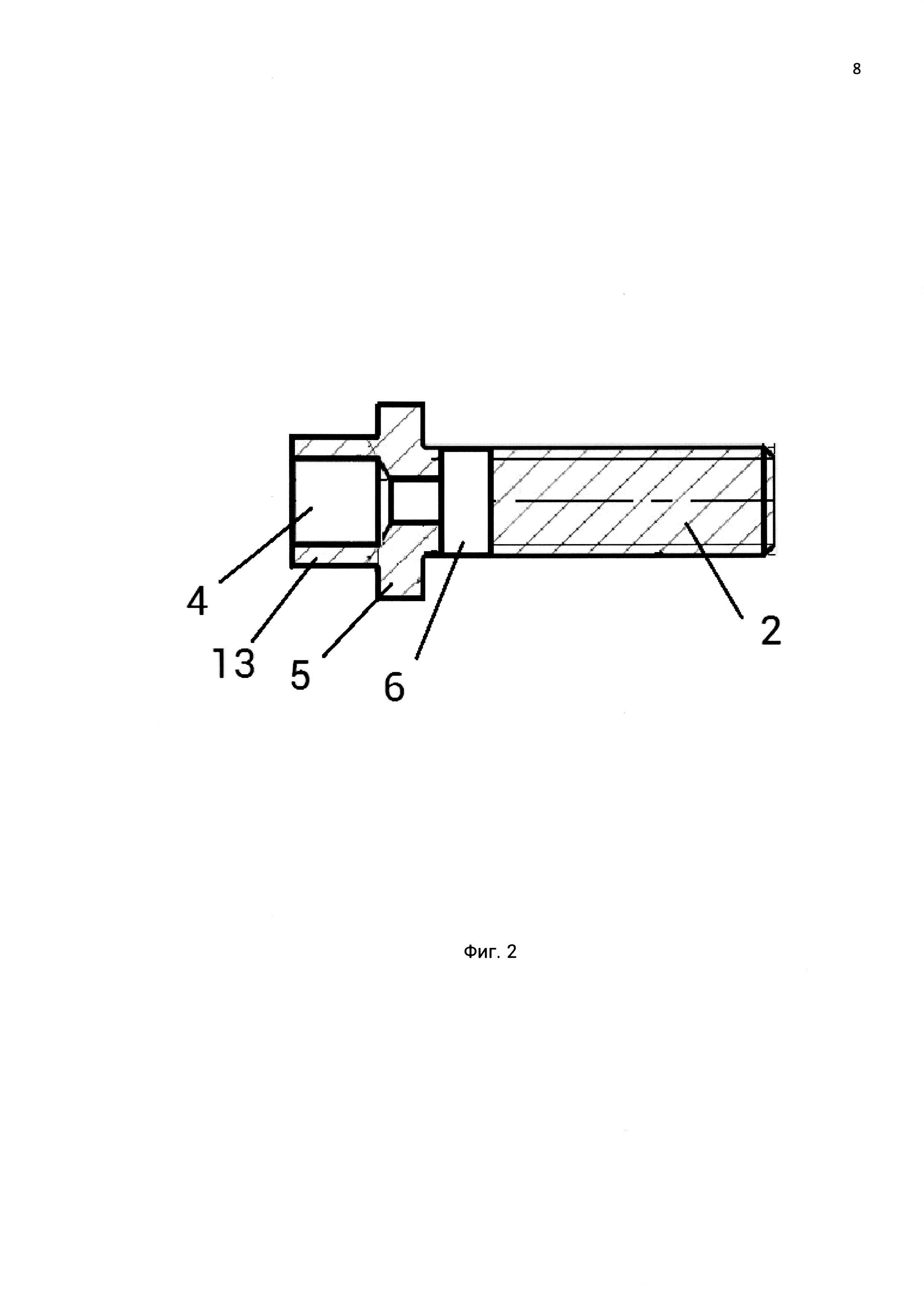
1. Манометр показывающий, включающий корпус с чувствительным элементом, представляющим собой упругий элемент, связанный тягой или толкателем с передаточным механизмом и держателем, отличающийся тем, что в подводящем канале держателя установлена резьбовая втулка с образованием зазора между резьбой втулки и резьбой на стенке подводящего канала, при этом втулка имеет Т-образный канал.

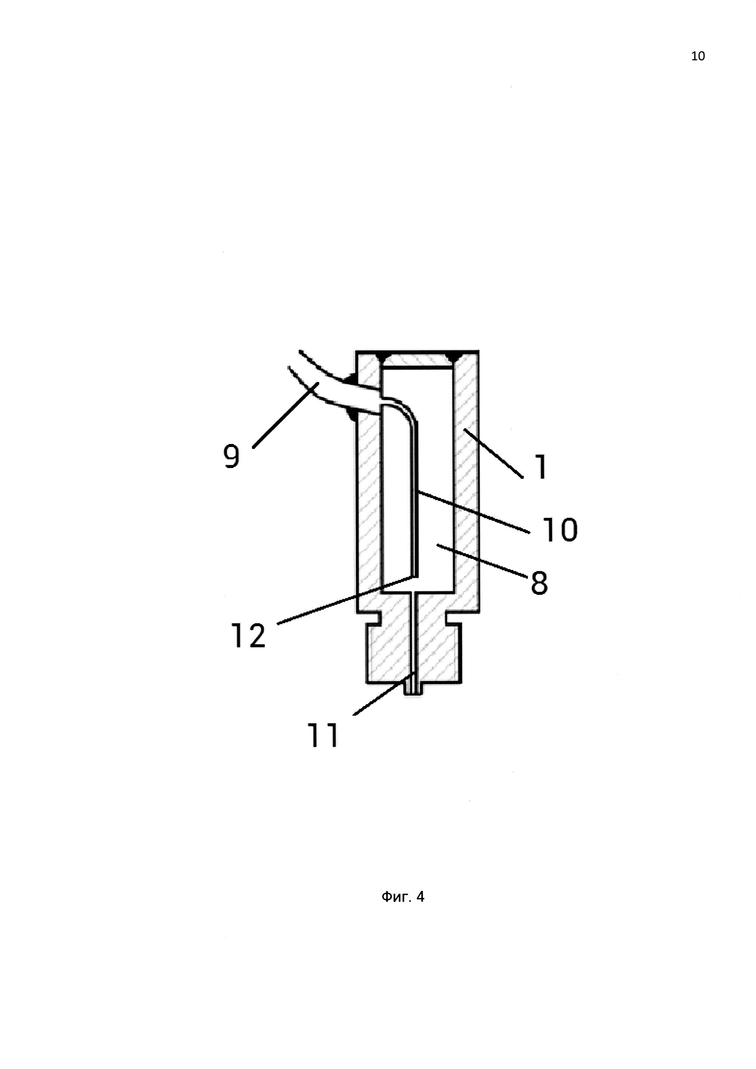
2. Манометр показывающий по п. 1, характеризующийся тем, что втулка выполнена с выступом.

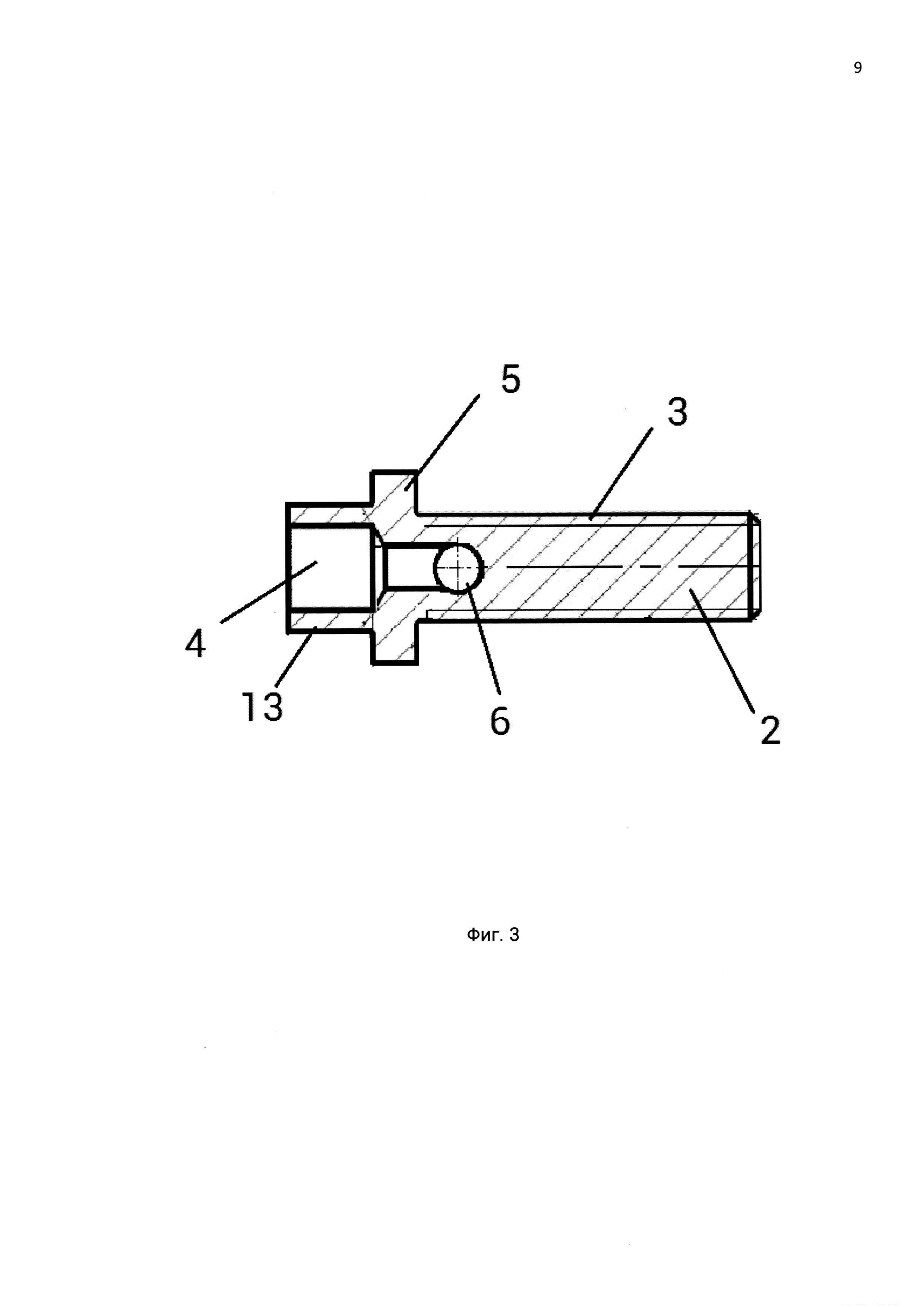
3. Манометр показывающий по п. 1, характеризующийся тем, что втулка со свободной стороны имеет сосок, определяющий установку уплотнительной прокладки.

4. Манометр показывающий по п. 1, характеризующийся тем, что внутренняя полость держателя манометра включает цилиндрический объем, через который проходит подводящая к чувствительному элементу измеряемую среду трубка.

5. Манометр показывающий по п. 4, характеризующийся тем, что на входе в подводящий канал устанавливается сужающее устройство.

6. Манометр показывающий по п. 4, характеризующийся тем, что цилиндрический объем с подводящей измеряемую среду трубкой размещены в отдельном блоке, устанавливаемом на подводе к манометру измеряемой среды.

7. Манометр показывающий по п. 6, характеризующийся установкой на входе в подводящий трубчатый канал сужающего элемента.

8. Манометр показывающий по п. 5, характеризующийся тем, что подводящий трубчатый канал на входе измеряемой среды повернут на 10÷180° относительно направления движения этой среды.

9. Манометр показывающий по п. 1, отличающийся тем, что корпус и оболочка соединены между собой посредством резьбового соединения с номинальным диаметром 50, 63, 100, 160 мм и шагом резьбы 1÷5 мм.

Описание

[1]

Изобретение относится к области измерительной техники и может быть использовано для измерения давления газообразных и жидких веществ в условиях производственных и иных процессов.

[2]

Из уровня техники известны следующие решения.

[3]

Известен манометр показывающий для измерения давления жидких и газообразных сред, конструкция которого включает корпус с чувствительным элементом в виде трубчатой пружины, передаточный механизм и держатель для трубчатой пружины (Мулев Ю.В. Манометры. М.: МЭИ, 2003, с. 53).

[4]

Недостаток известного устройства проявляется в низкой механической надежности его работы при пульсационных нагрузках измеряемой среды.

[5]

Также известен манометр показывающий, во внутреннюю полость держателя которого на входе в манометр монтируется набор шайб с шахматным расположением отверстий и дистанциирующими втулками между ними (патент РФ №163269, 10.07.2016).

[6]

Недостаток такого решения заключается в низкой эффективности его работы, особенно, на несжимаемых средах.

[7]

Наиболее близким аналогом патентуемого решения является манометр показывающий с демпферным устройством, в котором измеряемая среда перед поступлением в измерительную полость прибора проходит по тонкому капиллярному каналу, образованному стенкой внутренней полости корпуса и конусом, вставленным во внутреннюю полость корпуса (Мулев Ю.В. Манометры. М.: МЭИ, 2003, с. 230).

[8]

Недостаток наиболее близкого аналога заключается в технологической сложности изготовления подобного демпферного устройства, а также недостаточной эффективности его работы.

[9]

Техническая проблема, решаемая изобретением, заключается в необходимости устранения пульсационных выбросов давления измеряемой среды перед поступлением ее во внутреннюю полость чувствительного элемента прибора.

[10]

Поставленная задача решается тем, что в подводящем канале манометра монтируется резьбовая втулка.

[11]

Техническим результатом изобретения является устранение пульсационных выбросов давления измеряемой среды перед поступлением ее во внутреннюю полость чувствительного элемента прибора.

[12]

Указанный технический результат достигается за счет конструкции манометра показывающего, включающего корпус с чувствительным элементом, связанным тягой с передаточным механизмом и держателем, при этом, в подводящем канале держателя установлена резьбовая втулка, с образованием зазора между резьбой втулки и резьбой на стенке подводящего канала, при этом втулка имеет Т-образный канал.

[13]

Втулка выполнена с выступом, препятствующим свободному ее перемещению.

[14]

Втулка со свободной стороны имеет сосок, определяющий установку уплотнительной прокладки.

[15]

Прокладка предназначена для герметизации держателя манометра в посадочном гнезде объекта, где проводятся измерения. В отсутствие прокладки среда может поступать на резьбу втулки через зазор между выступом и телом держателя. Чтобы это избежать, внутри втулки со стороны центрального отверстия держателя выполнен Т-образный канал, по которому среда поступает к зазору между резьбой.

[16]

Указанный технический результат достигается за счет того, что проходя путь через Т-образный канал и зазор между резьбами втулки и канала держателя, среда не может быстро передать импульс давления через очень малый зазор между резьбой втулки и резьбой тела держателя, происходит "торможение" импульса и чувствительный элемент не подвергается воздействию резких скачков измеряемого давления.

[17]

Во внутренней полости держателя манометра установлен цилиндр, через который проходит дополнительная трубка, подводящая к чувствительному элементу прибора измеряемую среду.

[18]

Подводящая трубка и цилиндр образовывают тупиковое пространство, в котором в рабочем режиме находится воздух. Наличие воздуха в этом объеме обеспечивает амортизацию (демпфирование, сглаживание) скачков давления несжимаемой жидкости.

[19]

Далее решение поясняется ссылками на фигуры, на которых приведено следующее.

[20]

Фиг. 1 - Схема монтажа винтовой вставки в подводящем канале держателя манометра.

[21]

Фиг. 2 - Вид винтовой вставки в разрезе сбоку.

[22]

Фиг. 3 - Вид винтовой вставки в разрезе сверху.

[23]

Фиг. 4 - Схема установки дополнительной подводящей трубки в держателе манометра.

[24]

Фиг. 5 - Вариант исполнения схемы с фиг. 4 в качестве выносного блока.

[25]

Фиг. 6 - Вариант исполнения схемы с фиг. 4 с увеличенным подводящим каналом.

[26]

Манометр показывающий включает корпус с чувствительным элементом 9, связанным тягой с передаточным механизмом и держателем 1. В подводящем канале 11 держателя 1 установлена резьбовая втулка 2, с образованием зазора между резьбой 3 втулки 2 и резьбой на стенке подводящего канала 11 (зазор не показан на чертежах). Втулка со стороны входного отверстия держателя имеет канал 4, соосный каналу держателя и сообщающийся с ним канал 6, поперечный каналу держателя с образованием Т-образного канала.

[27]

Разница резьбовых допусков внутренней и внешней резьб втулки и подводящего канала пропорциональна величине демпфирования и вязкости демпфируемой среды, определяемой экспериментально.

[28]

Втулка выполнена с выступом 5, препятствующим свободному ее перемещению.

[29]

Втулка со свободной стороны имеет сосок 13, определяющий установку уплотнительной прокладки 7 для герметизации держателя манометра в посадочном гнезде объекта, где проводятся измерения.

[30]

Во внутренней полости держателя манометра установлен цилиндр 8, через который проходит дополнительная трубка 10, подводящая измеряемую среду к чувствительному элементу 9 прибора. Подводящая трубка 10 на входе измеряемой среды повернута на 10÷180° относительно направления движения этой среды.

[31]

Указанный цилиндр может быть размещен в отдельном выносном блоке (фиг. 5), а также с увеличенным подводящим каналом (фиг. 6). В обоих случаях на входе в подводящий канал устанавливается сужающее устройство 12.

[32]

Передаточный механизм представляет собой трибко-секторный механизм, на ведомой оси которого размещена показывающая стрелка с возвратной спиральной пружиной и циферблатом.

[33]

Корпус держателя и оболочка манометра соединены между собой посредством резьбового соединения с номинальным диаметром 50, 63, 100, 160 мм и шагом резьбы Н5 мм.

[34]

Устройство работает следующим образом.

[35]

Жидкость попадает в центральное отверстие корпуса держателя, откуда поступает в подводящий Т-образный канал держателя, далее в зазор между резьбой 3 винта 2 и резьбой канала 11 держателя 1, после чего попадает в подводящую трубку 10 через сужающее устройство 12.

[36]

Поступая во внутреннюю полость чувствительного элемента 9 и воздействуя на этот элемент, среда передает измеряемое давление, т.е. происходит изменение геометрии чувствительного элемента под воздействием давления.

[37]

Линейное перемещение упругого чувствительного элемента преобразуется в круговое движение показывающей стрелки через передаточный механизм, связанный через тягу с чувствительным элементом.

Как компенсировать расходы
на инновационную разработку
Похожие патенты