патент
№ RU 2568820
МПК F41F3/04

МОБИЛЬНАЯ ПУСКОВАЯ СИСТЕМА ДЛЯ ТРАНСПОРТИРОВКИ И ПУСКА РАКЕТ ИЗ ТРАНСПОРТНО-ПУСКОВЫХ КОНТЕЙНЕРОВ ПРИ ПОМОЩИ ПОРОХОВЫХ АККУМУЛЯТОРОВ ДАВЛЕНИЯ ИЛИ ПАРОГАЗОГЕНЕРАТОРВ

Авторы:
Зайцев Борис Иванович Ненартович Николай Эдуардович Бологов Константин Владимирович
Все (11)
Номер заявки
2014112938/11
Дата подачи заявки
03.04.2014
Опубликовано
20.11.2015
Страна
RU
Как управлять
интеллектуальной собственностью
Чертежи 
10
Реферат

Изобретение относится к ракетной технике, а именно к мобильным пусковым системам. Мобильная пусковая система (МПС) для транспортирования и пуска ракет из транспортно-пусковых контейнеров (ТПК) при помощи пороховых аккумуляторов давления или парогазогенераторов содержит сменные кассеты с грузозахватными устройствами, опорными балками с электроразъемами электрической связи системы управления пуском с ТПК, со средствами для удержания и фиксации ТПК и средствами для штабелирования с элементами зацепления, со шпоночными направляющими, взаимодействующими с соответствующими бугелями ТПК, с приводами продольного перемещения ТПК с винтовым механизмом, первую платформу, закреплённую на колесном транспортном средстве, с качающейся частью с двумя опорными рамами и узлами для закрепления кассет в виде первого ложемента с элементами зацепления с центрирующими направляющими элементами в виде штырей с конической заходной частью, привод поворота качающейся части, вторую платформу, средства для фиксации взаимного положения качающейся части и первой платформы в транспортировочном и рабочем положениях, опоры для контактирования с грунтом, подводные упоры, смонтированные на второй опорной раме. Средства для штабелирования содержат ложементы, имитирующие первые ложементы. Присоединительные элементы ТПК имитируют присоединительные элементы одиночных ТПК. Вторая опорная рама содержит съемные части для перевозки МПС железнодорожным транспортом. Изобретение позволяет повысить боевую эффективность МПС. 13 з.п. ф-лы, 11 ил.

Формула изобретения

1. Мобильная пусковая система для транспортирования и пуска ракет из транспортно-пусковых контейнеров при помощи пороховых аккумуляторов давления или парогазогенераторов, содержащая сменные кассеты, выполненные с возможностью установки транспортно-пусковых контейнеров, неподвижно закрепленную на транспортном средстве первую платформу, на которой с возможностью поворота в вертикальной плоскости смонтирована качающаяся часть с узлами для закрепления кассет, привод поворота качающейся части, средства для фиксации взаимного положения качающейся части и первой платформы в транспортировочном и рабочем положениях и опоры, устанавливаемые с возможностью контактирования с грунтом, при этом качающаяся часть включает первую и вторую опорные рамы, расположенные во взаимно ортогональных плоскостях, пересекающихся по горизонтально расположенной прямой, причем качающаяся часть выполнена с возможностью опирания на концевую часть упомянутой платформы с помощью второй опорной рамы в рабочем положении пусковой системы, каждая кассета снабжена средствами для удержания и фиксации транспортно-пусковых контейнеров и средствами для штабелирования, последние снабжены элементами зацепления, выполненными с возможностью взаимодействия с соответствующими ответными элементами зацепления первой опорной рамы и/или других кассет, при этом кассета со стороны, обращенной ко второй опорной раме, снабжена опорной балкой с возможностью взаимодействия с соответствующими подводными упорами, которые смонтированы на второй опорной раме, при этом на опорной балке смонтированы электроразъемы электрической связи системы управления пуском с транспортно-пусковыми контейнерами.

2. Пусковая система по п. 1, отличающаяся тем, что по меньшей мере две из упомянутых опор закреплены на первой платформе.

3. Пусковая система по п. 1, отличающаяся тем, что средства для удержания и фиксации транспортно-пусковых контейнеров включают закрепленные на кассете шпоночные направляющие, взаимодействующие с соответствующими бугелями транспортно-пусковых контейнеров при загрузке последних в кассету и при штатном положении транспортно-пусковых контейнеров, и установленные на упомянутой опорной балке захватные устройства для фиксации транспортно-пусковых контейнеров от продольных перемещений относительно кассеты, взаимодействующие с ответными опорными элементами транспортно-пусковых контейнеров при штатном положении транспортно-пусковых контейнеров.

4. Пусковая система по п. 1, отличающаяся тем, что кассета содержит приводы продольного перемещения транспортно-пусковых контейнеров относительно кассеты, которые смонтированы в нижней части кассеты со стороны торца, противоположного опорной балке, и снабжены каждый элементом зацепления, выполненным с возможностью взаимодействия с соответствующим ответным элементом зацепления транспортно-пускового контейнера при загрузке последнего в кассету.

5. Пусковая система по п. 4, отличающаяся тем, что в качестве привода продольного перемещения транспортно-пускового контейнера относительно кассеты она содержит винтовой механизм.

6. Пусковая система по п. 1, отличающаяся тем, что узлы для закрепления кассет выполнены каждый в виде первого ложемента, который образует неразъемное соединение с первой опорной рамой, при этом каждый первый ложемент снабжен элементами зацепления, выполненными с возможностью взаимодействия с ответными элементами зацепления кассеты, устанавливаемой на первый ложемент.

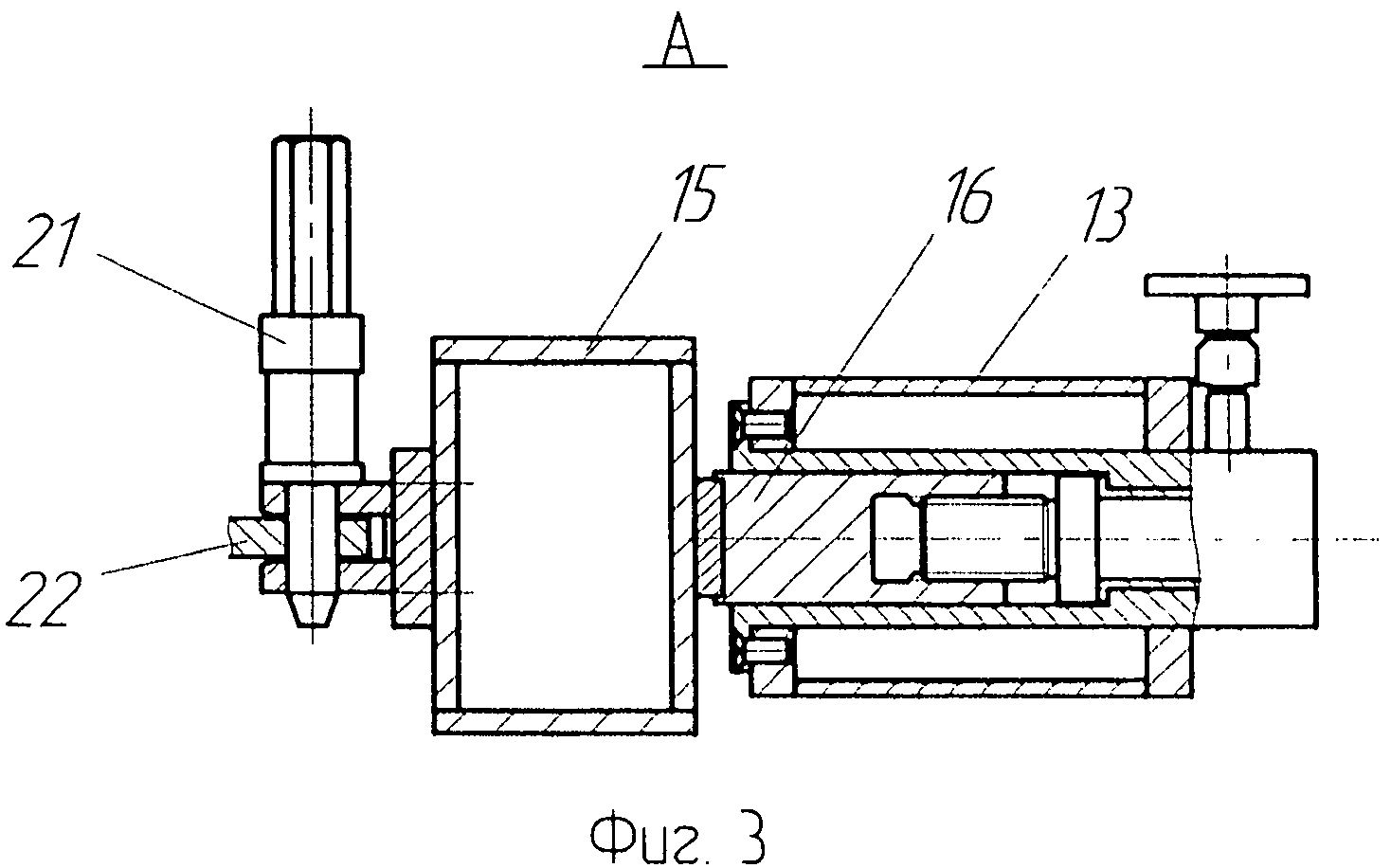
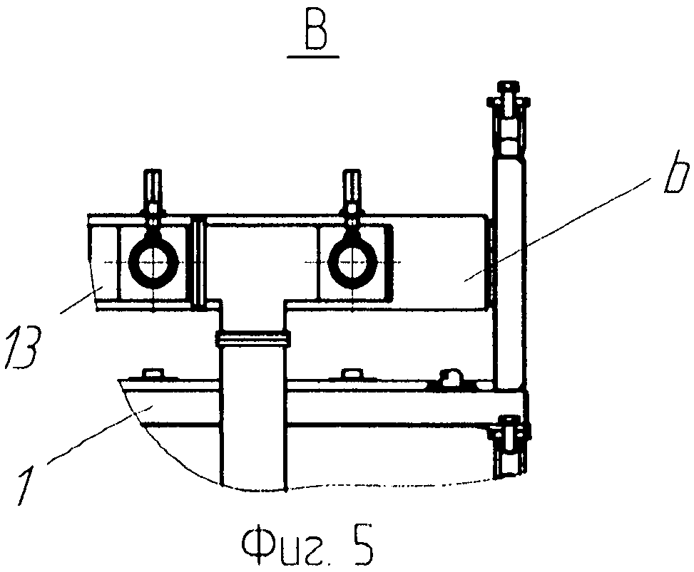
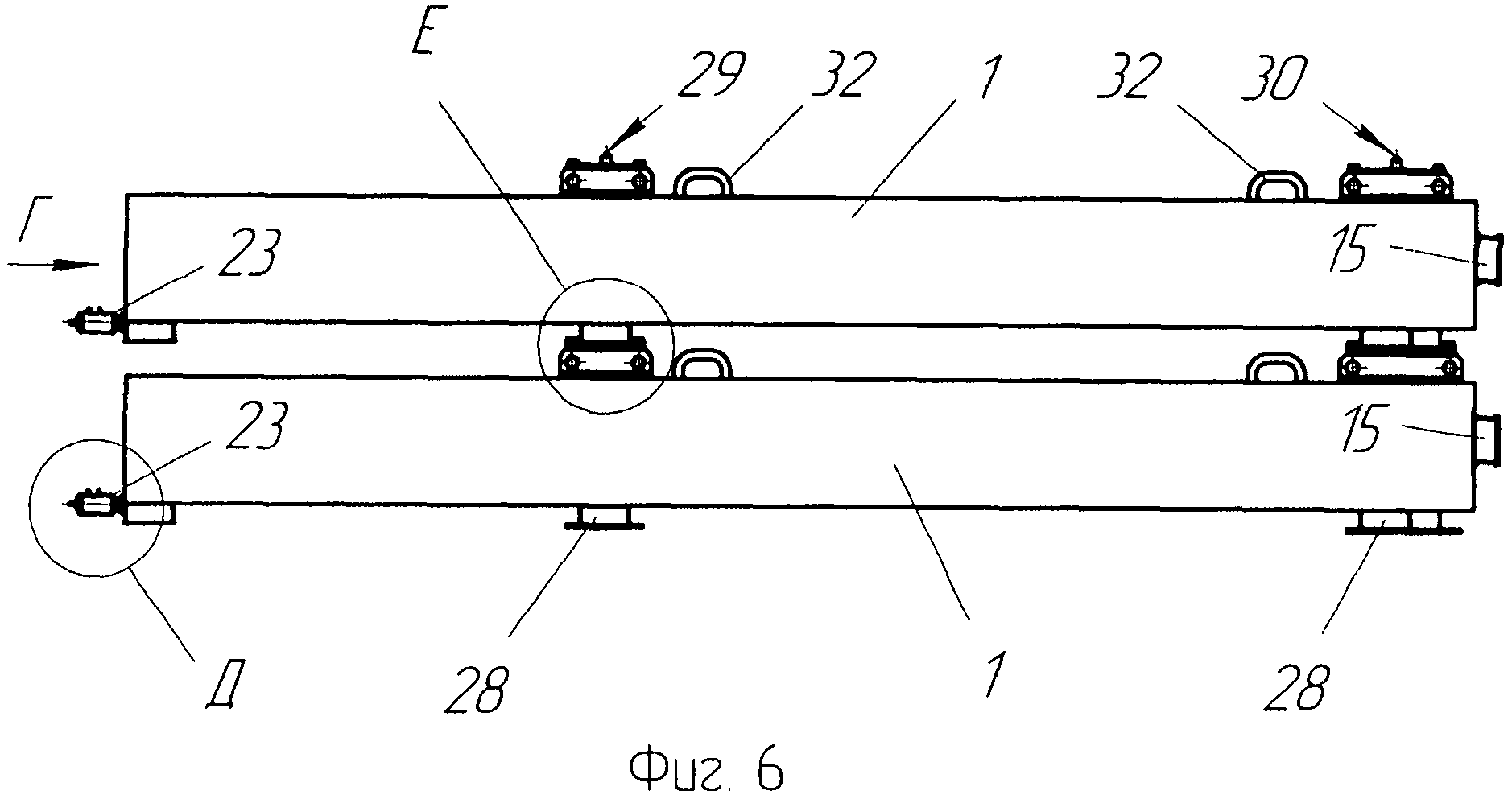
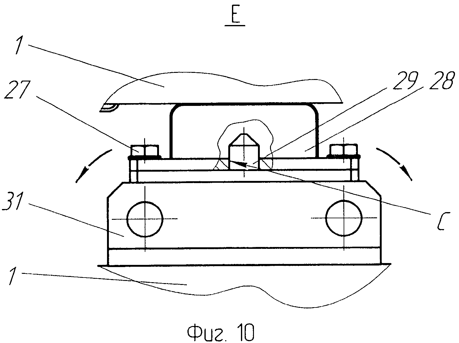
7. Пусковая система по п. 6, отличающаяся тем, что первые ложементы снабжены центрирующими направляющими элементами, которые выполнены с возможностью взаимодействия с ответными элементами, которые выполнены на ответных первым ложементам элементах кассеты.

8. Пусковая система по п. 7, отличающаяся тем, что центрирующие направляющие элементы выполнены в виде штырей с конической заходной частью, а ответные им элементы выполнены в виде отверстий.

9. Пусковая система по п. 6, отличающаяся тем, что средства для штабелирования включают ложементы, которые имитируют первые ложементы.

10. Пусковая система по п. 1, отличающаяся тем, что кассета выполнена с возможностью установки на ней транспортно-пусковых контейнеров и/или блоков транспортно-пусковых контейнеров, присоединительные элементы которых имитируют присоединительные элементы упомянутых одиночных транспортно-пусковых контейнеров.

11. Пусковая система по п. 1, отличающаяся тем, что кассета снабжена грузозахватными устройствами.

12. Пусковая система по п. 1, отличающаяся тем, что содержит неподвижно закрепленную на транспортном средстве вторую платформу, которая выполнена с возможностью размещения оборудования и аппаратуры мобильной пусковой системы.

13. Пусковая система по п. 1, отличающаяся тем, что вторая опорная рама содержит съемные части, которые разъемно закреплены на последней с возможностью отсоединения от нее для перевозки мобильной пусковой системы железнодорожным транспортом в пределах верхнего очертания габарита 02-ВМ.

14. Пусковая система по п. 1, отличающаяся тем, что в качестве транспортного средства она содержит колесное транспортное средство.

Описание

[1]

Изобретение относится к вооружению, в частности,к мобильным пусковым системам для запуска зенитных, управляемых ракет ПВО, и может быть использовано при создании многоместных пусковых установок (ПУ) вертикального пуска при использовании блоков (модулей, пакетов, кассет) транспортно-пусковьгх контейнеров (ТПК).

[2]

Известна самоходная пусковая установка для транспортирования и пуска ракет из транспортно-пусковьгх контейнеров при помощи пороховых аккумуляторов давления (RU 93519 U1, F41F 3/04, 2010). Самоходная ПУ содержит колесное шасси с опорами, устанавливаемыми с возможностью контактирования с грунтом. В передней части шасси установлены кабина и моторный отсек. На кабине и на шасси размещено навесное оборудование. Над моторным отсеком размещено антенно-мачтовое устройство. В задней части шасси с возможностью поворота в вертикальной плоскости смонтирована качающаяся часть с транспортно-пусковыми контейнерами и размещен механизм подъема (поворота) качающейся части. В варианте исполнения на качающейся части размещается четыре ТПК. При развертывании ПУ сначала с помощью опор с гидроцилиндрами вывешивается и устанавливается горизонтально шасси. Затем качающуюся часть с помощью механизма подъема устанавливают вертикально с опорой днищем ТПК на грунт.

[3]

К недостаткам известного устройства можно отнести относительно большое время, требующееся для перезарядки ПУ. Отмеченный недостаток связан с тем, что конструктивная схема подобной ПУ предполагает раздельную поочередную установку транспортно-пусковьгх контейнеров на качающуюся часть, что существенно увеличивает период перезарядки ПУ.

[4]

Известна самоходная пусковая установка по патенту RU 2343390 C1 F41А 23/42, 2007.

[5]

Известная самоходная ПУ содержит самоходное шасси, на котором установлен автономный источник электропитания и общая съемная рама, на которой закреплены боевой пост управления и пусковая установка. Общая рама вместе с боевым постом управления и ПУ может быть в течение малого времени снята с шасси и транспортироваться отдельно. ПУ состоит из моноблока транспортно-пусковых контейнеров, переходной рамы, подъемной рамы и гидропривода подъема. Подъемная рама и гидравлический привод подъема ПУ закреплены на общей раме. ТПК с ракетами в них закреплены на переходной раме, образуя единый моноблок, что позволяет погрузить на самоходную ПУ весь боезапас одновременно. ТПК закреплены на переходной раме откидными болтами. Переходная рама закреплена на подъемной, которая в свою очередь шарнирно закреплена на основной (общей) раме и шарнирно связана с рычагами гидропривода. После выполнения пусков самоходная ПУ сворачивается и переходит на запасную позицию, где производится перезаряжание ПУ - снимается переходная рама с отработанными ТПК и загружается моноблок заранее подготовленных и закрепленных на переходной раме ТПК. Перегрузочные операции выполняют с помощью автокрана или специализированной транспортно-перегрузочной машины (TПM), причем ТПМ может транспортировать подготовленный к перегрузке моноблок ТПК. Устройство позволяет сократить время загрузки боезапаса ракет на самоходную ПУ за счет установки блоков ТПК на переходной раме.

[6]

Однако известная самоходная ПУ предполагает наклонный пуск ракет и предназначена для мобильных береговых подвижных противокорабельных ракетных комплексов, т.е. имеет ограниченную область использования. Кроме того, ПУ не предполагает возможности замены одного или нескольких ТПК (т.е. перезарядки моноблока) непосредственно на стартовой позиции, что сужает эксплуатационные возможности.

[7]

Известна самоходная пусковая установка для запуска зенитных ракет по патенту RU 2262647 C1 F41F 23/42, 2005.

[8]

Известная пусковая установка включает самоходное гусеничное шасси с поворотной платформой, на которой смонтирована качающаяся часть с узлами для закрепления ракет. Качающаяся часть содержит, как минимум, две шарнирно связанные с поворотной платформой стрелы, снабженные штыревыми фиксаторами для закрепления транспортно-пусковых контейнеров и оборудованные индивидуальными гидроприводами вертикального наведения, установленными с возможностью независимого подключения к гидронасосу. По существу, пусковая часть установки выполнена в виде установленных на поворотной платформе двух независимых качающихся частей с индивидуальными приводами вертикального наведения, параллельно подключенными к гидронасосу пусковой установки. Контейнеры с ракетами закрепляют на стрелах в два яруса. На стрелах имеются первые штыревые фиксаторы для закрепления ТПК нижнего яруса. ТПК верхнего яруса установлены на транспортно-пусковые контейнеры нижнего яруса и закреплены с помощью вторых штыревых фиксаторов. В варианте исполнения на установке размещается 12 ТПК с ракетами. Пусковую установку снаряжают в следующем порядке. Первые шесть ТПК устанавливают на стрелы (по три на каждую стрелу) и закрепляют первыми штыревыми фиксаторами. Вторые шесть ТПК устанавливают непосредственно на ТПК нижнего яруса и закрепляют вторыми штыревыми фиксаторами. После запуска всех двенадцати ракет пусковую установку перемещают на позицию техобслуживания. Здесь пустые ТПК снимают, а взамен устанавливают другие ТПК с ракетами, как описано выше. Известное устройство позволяет повысить огневую мощь установки без увеличения нагрузок на привод.

[9]

Однако особенности конструктивного исполнения ПУ не предполагают возможности обеспечения вертикального пуска.

[10]

Наиболее близкой по совокупности существенных признаков с заявляемым изобретением является самоходная пусковая установка для транспортирования и пуска ракет из транспортно-пусковых контейнеров при помощи пороховых аккумуляторов давления по патенту RU 2239764 C1 F41F 3/04, 2004. Известное устройство содержит самоходное колесное шасси (транспортное средство), на котором неподвижно закреплена рама кузова (платформа), стрелу (качающуюся часть), которая шарнирно установлена на раме кузова (платформе), механизм подъема стрелы (привод поворота качающейся части), раму подвижную, которая размещена на стреле с возможностью продольного перемещения по стреле до жесткого упора, ТПК, закрепленные в ложементах на раме подвижной. На раме кузова и стреле установлены опоры, шарнирно связанные рычагами и тягами механизма привода опор. Опора выполнена в виде двухштокового гидроцилиндра двустороннего действия с верхним штоком, нижним штоком с шарнирно установленной опорной плитой. Известное устройство позволяет снизить время развертывания и свертывания пусковой установки. Это достигается тем, что механизм привода опор переводит опоры из походного положения в рабочее и, наоборот, одновременно с подъемом или опусканием стрелы за счет взаимодействия рычагов, установленных шарнирно с одной стороны на раме кузова, а с другой стороны - на двухштоковых гидроцилиндрах двустороннего действия, и тяг, установленных шарнирно с одной стороны на стреле, а с другой - на рычагах.

[11]

Однако известная самоходная ПУ имеет недостаточный боезапас ракет (недостаточную огневую мощь), что ограничивает возможности зенитной ракетной системы при отражении массированных ударов средств воздушного нападения.

[12]

Задачей, решаемой изобретением, является создание облегченной мобильной пусковой системы, обеспечивающей транспортирование, хранение, предстартовую подготовку и пуск достаточно большого количества зенитных управляемых ракет.

[13]

Указанная задача решается тем, что предложена мобильная пусковая система для транспортирования и пуска ракет из ТПК при помощи пороховых аккумуляторов давления или парогазогенераторов, содержащая сменные кассеты, выполненные с возможностью установки ТПК, неподвижно закрепленную на транспортном средстве первую платформу, на которой с возможностью поворота в вертикальной плоскости смонтирована качающаяся часть с узлами для закрепления кассет, привод поворота качающейся части, средства для фиксации взаимного положения качающейся части и первой платформы в транспортировочном и рабочем положениях и опоры, устанавливаемые с возможностью контактирования с грунтом (здесь и далее в смысловое содержание понятия «кассета» вкладывается смысловое содержание этого понятие, известное, например, из Словаря русского языка С.И. Ожегова: стандартное по форме устройство, в которое вмещаются какие-нибудь детали, предметы). Качающаяся часть включает первую и вторую опорные рамы, расположенные во взаимно ортогональных плоскостях, пересекающихся по горизонтально расположенной прямой. При этом качающаяся часть выполнена с возможностью опирания на концевую часть упомянутой платформы с помощью второй опорной рамы в рабочем положении пусковой системы. Каждая кассета снабжена средствами для удержания и фиксации ТПК и средствами для штабелирования, последние снабжены элементами зацепления, выполненными с возможностью взаимодействия с соответствующими ответными элементами зацепления первой опорной рамы и/или других кассет. Кассета со стороны, обращенной ко второй опорной раме, снабжена опорной балкой с возможностью взаимодействия с соответствующими подводными упорами, которые смонтированы на второй опорной раме. При этом на опорной балке смонтированы электроразъемы электрической связи системы управления пуском с транспортно-пусковыми контейнерами.

[14]

В варианте выполнения по меньшей мере две из упомянутых опор закреплены на первой платформе.

[15]

Вместе с этим средства для удержания и фиксации ТПК включают закрепленные на кассете шпоночные направляющие, взаимодействующие с соответствующими бугелями ТПК при загрузке последних в кассету и при штатном положении ТПК, и установленные на упомянутой опорной балке захватные устройства для фиксации ТПК от продольных перемещений относительно кассеты, взаимодействующие с ответными опорными элементами ТПК при штатном положении ТПК.

[16]

Кроме того, кассета содержит приводы продольного перемещения ТПК относительно кассеты, которые смонтированы в нижней части кассеты со стороны торца, противоположного опорной балке, и снабжены каждый элементом зацепления, выполненным с возможностью взаимодействия с соответствующим ответным элементом зацепления транспортно-пускового контейнера при загрузке последнего в кассету.

[17]

В варианте выполнения мобильная пусковая система в качестве привода продольного перемещения транспортно-пускового контейнера относительно кассеты содержит винтовой механизм.

[18]

Вместе с этим узлы для закрепления кассет выполнены каждый в виде первого ложемента, который образует неразъемное соединение с первой опорной рамой. При этом каждый первый ложемент снабжен элементами зацепления, выполненными с возможностью взаимодействия с ответными элементами зацепления кассеты, устанавливаемой на первый ложемент.

[19]

В варианте выполнения первые ложементы снабжены центрирующими направляющими элементами, которые выполнены с возможностью взаимодействия с ответными элементами, которые выполнены на ответных первым ложементам элементах кассеты.

[20]

В этом варианте центрирующие направляющие элементы выполнены в виде штырей с конической заходной частью, а ответные им элементы выполнены в виде отверстий.

[21]

Возможен вариант выполнения, при котором средства для штабелирования включают ложементы, которые имитируют первые ложементы.

[22]

Кроме того, кассета может быть выполнена с возможностью установки на ней транспортно-пусковых контейнеров и/или блоков транспортно-пусковых контейнеров, присоединительные элементы которых имитируют присоединительные элементы упомянутых одиночных транспортно-пусковых контейнеров. Применение блоков транспортно-пусковых контейнеров позволяет повысить боезапас пусковой системы, что расширяет ее эксплуатационные возможности.

[23]

Кассета может быть снабжена грузозахватными устройствами.

[24]

В варианте выполнения мобильная пусковая система содержит неподвижно закрепленную на транспортном средстве вторую платформу, которая выполнена с возможностью размещения оборудования и аппаратуры мобильной пусковой системы.

[25]

В другом варианте выполнения вторая опорная рама содержит съемные части, которые разъемно закреплены на последней с возможностью отсоединения от нее для перевозки мобильной пусковой системы железнодорожным транспортом в пределах верхнего очертания габарита 02-ВМ.

[26]

Вместе с этим мобильная пусковая система в качестве транспортного средства содержит колесное транспортное средство.

[27]

Технический результат использования изобретения состоит в том, что оно придает мобильной пусковой системе приспособляемость к сменным многоместным кассетам с транспортно-пусковыми контейнерами с обеспечением возможности многорярусного (многоуровнего) штабелирования кассет и позволяет повысить эксплуатационные характеристики пусковой системы.

[28]

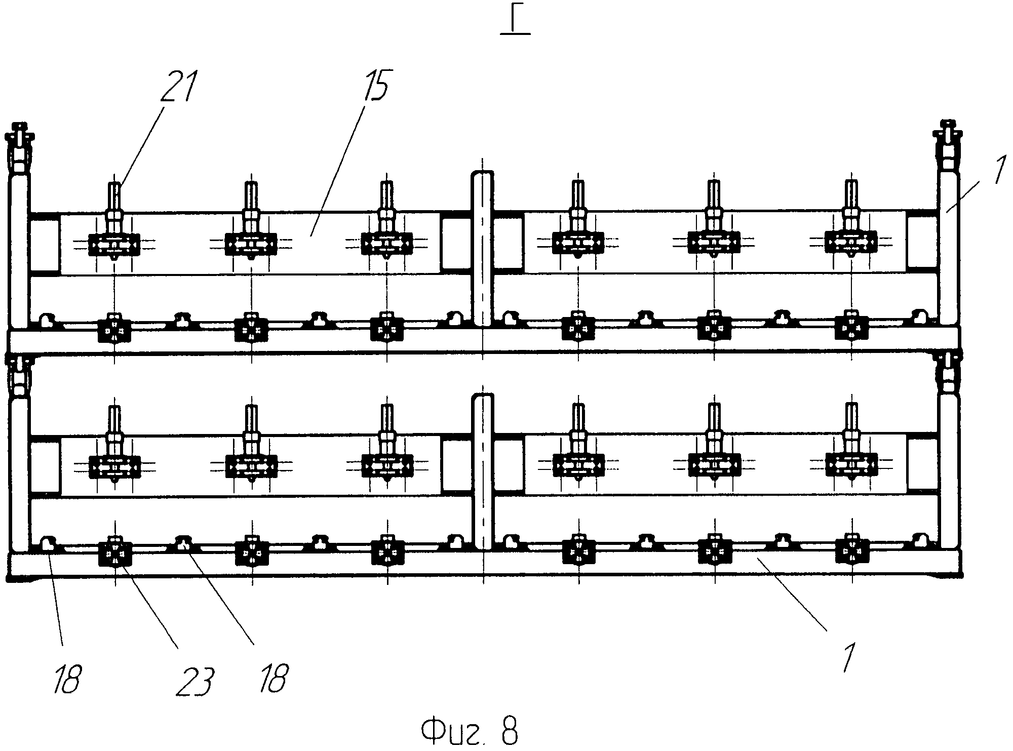
На фиг. 1 схематично показана мобильная пусковая система, походное положение, общий вид; на фиг. 2 - то же, рабочее положение, общий вид; на фиг. 3 - опорная балка кассеты с устройством фиксации ТПК от продольных перемещений и подводной упор, смонтированный на опорной раме качающейся части, элемент А на фиг. 1; на фиг. 4 - узел для закрепления кассеты на опорной раме качающейся части, элемент Б на фиг. 1; на фиг. 5 - фрагмент опорной рамы качающейся части, вид по В на фиг. 1; на фиг. 6 - пакет из двух сменных кассет, общий вид сбоку (качающаяся часть условно не показана); на фиг. 7 - сменная кассета, общий вид сверху; на фиг. 8 - расположение устройств фиксации ТПК от продольных перемещений и приводов перемещения ТПК относительно кассеты, вид по Г на фиг. 6; на фиг. 9 - привод продольного перемещения ТПК относительно кассеты, элемент Д на фиг. 6; на фиг. 10 - устройство узла соединения сменных кассет, элемент Е на фиг. 6; на фиг. 11 - ТПК, установленный в направляющих кассеты.

[29]

В варианте осуществления изобретения мобильная пусковая система для транспортирования и пуска ракет из ТПК при помощи пороховых аккумуляторов давления или парогазогенераторов содержит многоместные сменные кассеты 1 в форме открытых коробчатых лотков, выполненные с возможностью установки транспортно-пусковых контейнеров 2, неподвижно закрепленную на колесном транспортном средстве 3 платформу 4, на которой с возможностью поворота в вертикальной плоскости смонтирована качающаяся часть 5 с узлами 6 для закрепления кассет 1, гидравлический привод 7 поворота качающейся части 5, средства 8 и 9 для фиксации взаимного положения качающейся части 5 и платформы 4 соответственно в транспортировочном и рабочем положениях и передние и задние опоры соответственно 10, 11, устанавливаемые с возможностью контактирования с грунтом. В качестве упомянутых опор устройство содержит, например, гидравлические домкраты с шарнирно установленными опорными плитами. В варианте выполнения задние опоры 11 закреплены на платформе 4. Качающаяся часть 5 включает опорные рамы 12 и 13. Рамы 12 и 13 расположены во взаимно ортогональных плоскостях, пересекающихся по горизонтально расположенной прямой. Качающаяся часть 5 выполнена с возможностью опирания на концевую часть «а» платформы 4 с помощью опорной рамы 13 в рабочем положении мобильной пусковой системы. Опорная рама 13 содержит съемные части «в», которые разъемно закреплены на последней, например, с помощью фланцевых соединений с возможностью отсоединения от нее для перевозки мобильной пусковой системы железнодорожным транспортом в пределах верхнего очертания габарита 02-ВМ (02-Т) ГОСТ 9238-83 (т.е. в пределах габарита для подвижного состава, допускаемого к обращению на всей сети дорог, например, азиатских стран).

[30]

В варианте выполнения мобильная пусковая система также содержит неподвижно закрепленную на колесном транспортном средстве 3 платформу 14, которая выполнена с возможностью размещения на ней оборудования и аппаратуры мобильной пусковой системы (на чертеже не показано). В другом варианте выполнения (на чертеже не показано) платформа 14 представляет собой единое целое с платформой 4.

[31]

Каждая многоместная сменная кассета 1 снабжена средствами для удержания и фиксации транспортно-пусковых контейнеров 2 и средствами для штабелирования. Средства для штабелирования снабжены элементами зацепления, выполненными с возможностью взаимодействия с соответствующими ответными элементами зацепления опорной рамы 12 и/или других кассет.

[32]

Кассета со стороны, обращенной к опорной раме 13, снабжена опорной балкой 15, установленной с возможностью взаимодействия с подводными упорами 16, которые смонтированы на опорной раме 13. С наружной стороны на опорной балке 15 смонтированы электроразъемы 17 электрической связи системы управления пуском с ТПК.

[33]

Средства для удержания и фиксации ТПК 2 включают закрепленные на кассете 1 передние 18 и задние 19 шпоночные продольные направляющие, взаимодействующие с соответствующими бугелями (ползунами) 20 ТПК 2, при загрузке последних в кассету 1 и при штатном положении ТПК, а также установленные на опорной балке 15 захватные устройства 21 для фиксации ТПК от продольных перемещений относительно кассеты 1, взаимодействующие с ответными опорными элементами 22 ТПК при штатном положении ТПК. В варианте осуществления изобретения захватное устройство 21 выполнено в виде, например, штыревого фиксатора с винтовым механизмом. Для бугелей 20 ТПК на направляющих 18 и 19 кассеты предусмотрены приемные узлы (на чертеже не показано). Направляющие 18 и 19 обеспечивают фиксацию ТПК в поперечном направлении.

[34]

Кассета содержит приводы 23 продольного перемещения ТПК относительно кассеты. В варианте выполнения мобильной пусковой системы в качестве приводов 23 она содержит, например, винтовые механизмы. Приводы 23 смонтированы в нижней части кассеты со стороны торца, противоположного опорной балке 15, и снабжены каждый элементом 24 зацепления, выполненным с возможностью взаимодействия с ответным элементом 25 зацепления транспортно-пускового контейнера при загрузке ТПК в кассету. В варианте осуществления изобретения элемент 24 выполнен, например, в виде вилки, а элемент 25 - в виде крюка.

[35]

Узлы для закрепления кассет на качающейся части 5 выполнены каждый в виде ложемента 26, который образует неразъемное соединение с опорной рамой 12 качающейся части 5. Каждый ложемент 26 снабжен элементами зацепления, выполненными с возможностью взаимодействия (разъемного соединения) с соответствующими ответными элементами кассеты. В варианте осуществления изобретения крепление кассеты на качающейся части осуществляется посредством откидных болтов 27, шарнирно установленных на ложементах 26 опорной рамы 12 и входящих в пазы ответных элементов (фитингов) 28 кассеты 1. На ложементах 26 также закреплены штыри-ловители 29 и 30. Штыри-ловители 29 и 30 выполнены с возможностью взаимодействия с ответными элементами, выполненными на элементах 28 кассет. В варианте выполнения штыри-ловители выполнены с конической заходной частью, а ответные им элементы выполнены в виде отверстий «с». По существу, штыри-ловители 29 и 30 выполняют функцию центрирующих направляющих элементов и фиксируют положение кассеты 1 на опорной раме 12. Таким образом, штыри-ловители 29 и 30 обеспечивают удержание и фиксацию кассет в продольном и поперечном направлениях.

[36]

В варианте осуществления изобретения средства для штабелирования включают элементы 28 и ложементы 31, которые имитируют ложементы 26, закрепленные на опорной раме 12 качающейся части 5. Пусковая система выполнена с возможностью размещения на качающейся части, например, двух съемных кассет.

[37]

Съемная кассета выполнена с возможностью установки на ней ТПК и/или блоков ТПК (на чертеже не показано), присоединительные элементы которых имитируют присоединительные элементы одиночных ТПК. Таким образом, пусковой системе обеспечивается приспособляемость к различным типам зенитных управляемых ракет, что расширяет эксплуатационные возможности пусковой системы и повышает ее унификацию. Для обращения с кассетой предусмотрены грузозахватные устройства 32.

[38]

Использование мобильной пусковой системы для транспортирования и пуска ракет из транспортно-пусковых контейнеров при помощи пороховых аккумуляторов давления или парогазогенераторов осуществляется следующим образом.

[39]

Снаряжение кассет производят на технической позиции или арсенале. ТПК с помощью грузоподъемного средства вывешивают над соответствующими направляющими кассеты, обеспечивая предварительную ориентацию ТПК в горизонтальной плоскости. Ползуны (бугеля) 20 ТПК устанавливают в приемные узлы направляющих 18 и 19. Крюк 25 ТПК занимает место между зубьями вилки 24 привода 23 продольного перемещения ТПК. Вилку 24 привода 23 вводят в зацепление с крюком 25 ТПК. Затем с помощью привода 23 транспортно-пусковой контейнер перемещают (досылают) до упора опорного элемента 22 в опорную балку 15 кассеты 1. ТПК занимает штатное положение на направляющих 18 и 19, которые обеспечивают фиксацию ТПК в поперечном направлении. После этого ТПК фиксируют в штатном положении с помощью винтового механизма захватного устройства 21. При этом штырь захватного устройства входит в соответствующее отверстие опорного элемента 22 транспортно-пускового контейнера, обеспечивая фиксацию ТПК в продольном направлении. Крюк 25 ТПК освобождают от вилки 24 привода 23. Затем ТПК подключают к соответствующему электроразъему 17. Далее последовательно загружают остальные ТПК. В таком виде кассета с ТПК может транспортироваться любыми видами транспорта, а также находится на пусковых установках, не требуя обслуживания. Освобождение кассет от ТПК осуществляется в обратном порядке. Особенности конструктивного исполнения сменной кассеты обеспечивают, при необходимости, возможность перезагрузки кассеты верхнего яруса непосредственно на стартовой позиции.

[40]

К месту развертывания мобильной пусковой системы снаряженную сменную кассету 1 транспортируют с помощью транспортно-заряжающей машины (ТЗМ), оборудованной, например, манипулятором. Заряжание мобильной пусковой системы производят следующим образом. К грузозахватным устройствам 32 кассеты 1, установленной на ТЗМ, подсоединяют грузовую траверсу, установленную на манипуляторе (на чертеже не показано). Затем с помощью манипулятора приподнимают сменную кассету на заданную высоту и переносят ее на платформу 4 транспортного средства 3, где с помощью штырей-ловителей 29 и 30 сменную кассету устанавливают на четыре ложемента 26 опорной рамы 12 качающейся части 5 и закрепляют с помощью восьми откидных болтов 27, входящих в пазы соответствующих фитингов 28 кассеты. Благодаря закрепленным на ложементах 26 штырям-ловителям 29 и 30, взаимодействующим с ответными элементами, выполненными на фитингах 28 кассеты, обеспечивается быстрая самоустановка сменной кассеты 1 в заданное положение относительно опорной рамы 12 качающейся части 5. После этого на качающуюся часть 5 сверху установленной сменной кассеты аналогичным образом устанавливают еще одну сменную кассету, которую с помощью соответствующих фитингов 28 и откидных болтов 27 закрепляют на ложементах 31 ранее установленной кассеты (закрепленной непосредственно на качающейся части). После установки сменных кассет в штатное положение упоры 16, смонтированные на опорной раме 13, подводят к соответствующим опорным балкам 15 сменных кассет 1. Благодаря этому обеспечивается гарантированное прилегание опорных балок 15 к опорной раме 13 качающейся части, что позволяет обеспечить равномерную передачу нагрузок при пуске ракет из ТПК. После этого ТПК через электроразъемы 17 подключают к системе управления пуском.

[41]

Снятие сменных кассет 1 с качающейся части 5 платформы 4 транспортного средства 3 осуществляется в обратном порядке.

[42]

В процессе эксплуатации мобильная пусковая система может находиться в транспортировочном, в походном и в рабочем (боевом) положениях.

[43]

В случае транспортирования мобильной пусковой системы железнодорожным транспортом, когда верхнее очертание габарита подвижного состава должно соответствовать габариту 02-ВМ (другое обозначение габарита - 02-Т), перевозку пусковой системы осуществляют с ее частичной разборкой. При этом перед погрузкой мобильной пусковой системы на железнодорожную платформу опорную раму 13 качающейся части 5 освобождают от съемных частей «b». Отстыкованные съемные части «b» при транспортировании могут размещаться на платформе 14.

[44]

В походном положении качающаяся часть 5 с установленными снаряженными кассетами 1 располагается вдоль платформы 4 (т.е. занимает горизонтальное положение) и зафиксирована относительно платформы 4 с помощью средств 8, включающих, например, гидромеханический механизм фиксации.

[45]

В боевое (рабочее) положение мобильная пусковая система может быть развернута на необорудованных в инженерном и энергетическом отношении позициях. При развертывании сначала производят вывешивание мобильной пусковой системы с помощью гидравлических домкратов 10 и 11. После качающуюся часть 5 раскрепляют от крепления по-походному. Затем качающуюся часть с помощью гидравлического привода 7 поворота поворачивают в вертикальной плоскости и опорную раму 13 качающейся части доводят до соприкосновения с ответной опорной поверхностью концевой части «а» платформы 4. При этом опорная рама 12 с кассетами 1 и ТПК принимает вертикальное положение. Положение качающейся части 5 фиксируют относительно платформы 4 с помощью средств 9, включающих, например, электромеханический механизм фиксации. Мобильная пусковая система готовя для производства пуска ракет.

[46]

Управление мобильной пусковой системой осуществляется из кабины управления, установленной на транспортном средстве 3, или дистанционно с командного пункта (на чертеже не показано).

[47]

При пуске реализуется способ выброса ракеты из ТПК, например, с помощью катапультного устройства, для работы которого используются газы, образующиеся при работе порохового аккумулятора давления. Само катапультное устройство представляет собой два цилиндра со штоками-тягами, соединенными под ракетой поддоном (на чертеже не показано). Нагрузки «вниз», вызванные работой порохового аккумулятора давления, передаются от опорного элемента 22 ТПК напрямую на опорную балку 15, а затем через подводные упоры 16 - на опорную раму 13 качающейся части 5. Далее нагрузка передается на концевую часть (консоль) «а» платформы 4 и через нее на задние опоры (гидравлические домкраты) 11 на грунт. Нагрузки «вверх», вызванные отдачей катапультного устройства, передаются от опорного элемента 22 ТПК на штырь захватного устройства 21, установленного на опорной балке 15 кассеты 1, затем через штыри-ловители 29 и 30, установленные на ложементах 26, - на опорную раму 12 качающейся части 5 и через элементы (на чертеже не показано) средств 9 фиксации взаимного положения качающейся части и платформы 4 на концевую часть «а» платформы 4.

[48]

Предлагаемое устройство обеспечивает приспособляемость мобильной пусковой системы к многоместным сменным кассетам с возможностью многоярусного (многоуровнего) штабелирования кассет, которым согласно предлагаемому устройству обеспечена приспособляемость к различным типам ТПК. Благодаря тому, что ТПК помещаются во взаимозаменяемые быстросъемные многоместные кассеты, позволяющие осуществлять достаточно быструю перезарядку механизированным способом (при помощи манипулятора ТЗМ), существенно упрощается обращение с пусковой системой.

[49]

Таким образом, благодаря особенности исполнения мобильной пусковой системы для транспортирования и пуска ракет из транспортно-пусковых контейнеров при помощи пороховых аккумуляторов давления или парогазогенераторов изобретение при обеспечении приспособляемости устройства к сменным многоместным кассетам с ТПК позволяет сократить время перезарядки пусковой системы и упростить обращение с пусковой системой при ее техническом обслуживании, что улучшает эксплуатационные характеристики. Вместе с этим, в сравнении с ближайшим аналогом, изобретение позволяет существенно увеличить боезапас, что расширяет возможности зенитной ракетной системы при отражении массированных ударов средств воздушного нападения и в конечном счете обеспечивает возможность повышения боевой эффективности мобильной пусковой системы. Кроме того, изобретение обеспечивает приспособляемость сменных кассет к различным ТПК и блокам ТПК, что расширяет эксплуатационные возможности пусковой системы и повышает ее унификацию.

Как компенсировать расходы
на инновационную разработку
Похожие патенты