патент
№ RU 2535499
МПК A63B29/00
Номер заявки
2013125714/12
Дата подачи заявки
04.06.2013
Опубликовано
10.12.2014
Страна
RU
Как управлять
интеллектуальной собственностью
Чертежи 
4
Реферат

Изобретение относится к разряду соединительных устройств типа карабин с фиксатором, например, используемых для поднятия и перемещения грузов, возможно применение карабина в спасательной технике и при авиадесантировании людей и грузов. Техническим результатом изобретения является повышение быстродействия нагрузки и разгрузки карабина, упрощение конструкции и возможность дистанционного управления размыканием карабина и отделением от него груза. Технический результат достигается тем, что в карабине два звена его выполнены в виде симметричных цилиндров, на внешних концах цилиндров выполнены отверстия для крепления грузовых фалов, внутренние концы цилиндров содержат симметричные сегментные клиновидные уступы, в верхней части муфты выполнены отверстия для управляющего фала, а вдоль образующей муфты выполнен продольный паз, через который в верхнем звене установлен пазовый упор. 5 ил.

Формула изобретения

Карабин, содержащий два звена и муфту, размещенную на одном из звеньев с возможностью продольного перемещения и фиксации на нем посредством пазового упора, отличающийся тем, что звенья карабина выполнены в виде симметричных цилиндров, на внешних концах цилиндров выполнены отверстия для крепления грузовых фалов, внутренние концы цилиндров содержат симметричные, сегментные клиновидные уступы, в верхней части муфты выполнены отверстия для управляющего фала, а вдоль образующей муфты выполнен продольный паз, через который в верхнем звене установлен пазовый упор.

Описание

[5]

Изобретение относится к разряду соединительных устройств типа карабин с фиксатором, например, используемых для поднятия и перемещения грузов. Возможно применение карабина в спасательной технике и при авиадесантировании людей и грузов.

[6]

Известен карабин, снабженный защелкой с муфтой. Защелка предназначена для ввода троса во внутреннее тело карабина. Муфта зажимает защелку в месте зацепления защелки с телом карабина. На внутренней поверхности карабина выполнен выступ, трос размещен в карабине с образованием вытянутой коренной петли, ветви которой расположены с противоположных сторон от выступа и с противоположных сторон от плоскости карабина. Патент Российской Федерации №2027458, МПК: А63В 29/02, 1995.

[7]

Известен карабин, содержащий силовую скобу, шарнирно соединенное с ней замыкающее звено, пружину его возврата в закрытое положение, подпружиненную контровочную муфту, размещенную на замыкающем звене с возможностью вращательно-поступательного перемещения и фиксации на нем посредством пазового пальца, палец закреплен в стенках муфты, а замыкающее звено имеет полость и направляющие пазы под палец, при этом пружина контровочной муфты расположена в полости замыкающего звена между пружиной его возврата и пальцем. Авторское Свидетельство СССР №502534, МПК: А63В 29/00,1983.

[8]

Известен карабин по дополнительному авторскому свидетельству №502534, содержащий силовую скобу с крюками и спинкой и замыкающее звено с защелкой. Авторское Свидетельство СССР №1094613, МПК: А63В 29/00, 1984. Прототип.

[9]

Недостаток указанных конструкций карабина с фиксатором заключается в том, что фиксирующий элемент и прижимная пружина находятся на одной оси, которая постоянно испытывает двойное напряжение при эксплуатации и, как следствие, при этом снижается надежность устройства. Кроме того, известные карабины имеют усложненную конструкцию, и при работе с большими грузами карабин сравнительно долго разъединяется.

[10]

Техническим результатом изобретения является повышение быстродействия нагрузки и разгрузки карабина, упрощение конструкции и возможность дистанционного управления размыканием карабина и отделением от него груза.

[11]

Технический результат достигается тем, что в карабине, содержащем два звена и запирающую муфту, размещенную на одном из звеньев с возможностью продольного перемещения и фиксации на нем посредством пазового упора, звенья карабина выполнены в виде одинаковых цилиндров, на внешних концах цилиндров выполнены отверстия для крепления фалов, внутренние концы цилиндров содержат симметричные сегментные клиновидные уступы, а вдоль образующей муфты выполнен продольный паз, в верхнем звене через паз муфты жестко установлен пазовый упор.

[12]

Сущность изобретения поясняется на фиг.1-5.

[13]

На фиг.1 схематично представлен продольный разрез карабина, где: 1 - верхнее звено, 2 - нижнее звено, 3 - муфта с кольцевым уступом 12, 4 - пазовый упор, 5 и 6 - отверстия для грузовых фалов, 7 - продольный паз, 8 и 9 - сегментные клиновидные уступы, 10 - отверстие для управляющего фала.

[14]

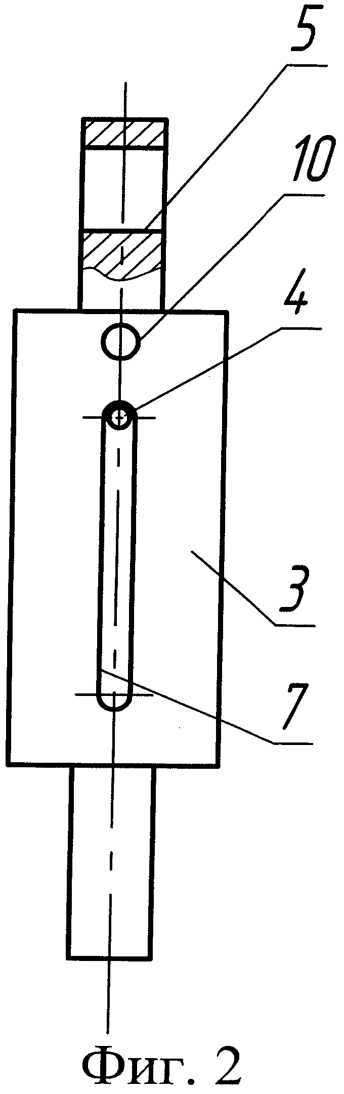
На фиг.2 схематично представлена профильная проекция карабина, где: 3 - муфта с кольцевым уступом 12, 4 - пазовый упор, 5 - отверстие для грузового фала, 7 - продольный паз, 10 -отверстие для управляющего фала.

[15]

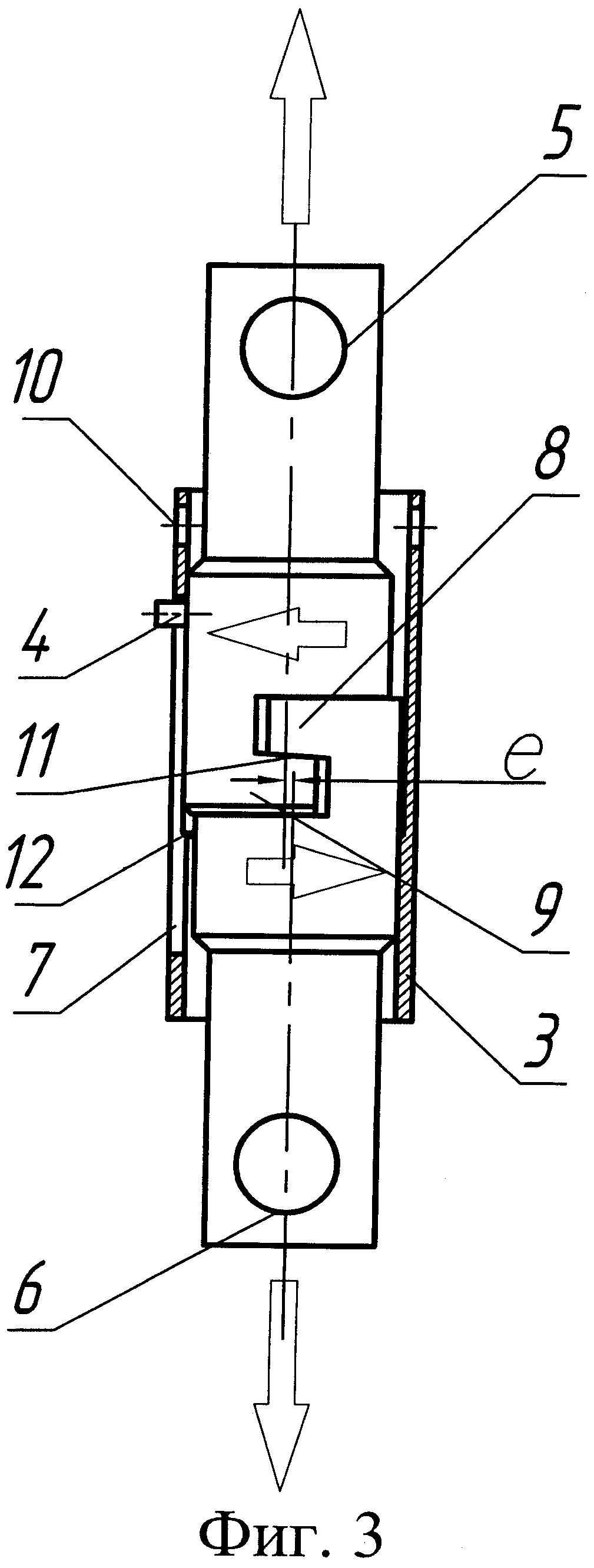
На фиг.3 схематично представлен продольный разрез карабина при перенесении груза, где: 3 - муфта, 4 - пазовый упор, 5 и 6 - отверстия для грузовых фалов, 7 - продольный паз, 8 и 9 - сегментные клиновидные уступы, 10 - отверстие для управляющего фала, 11 - общая плоскость сегментных клиновидных уступов 8 и 9, е - величина радиального смещения звеньев карабина. Стрелками показано действие сил смещения.

[16]

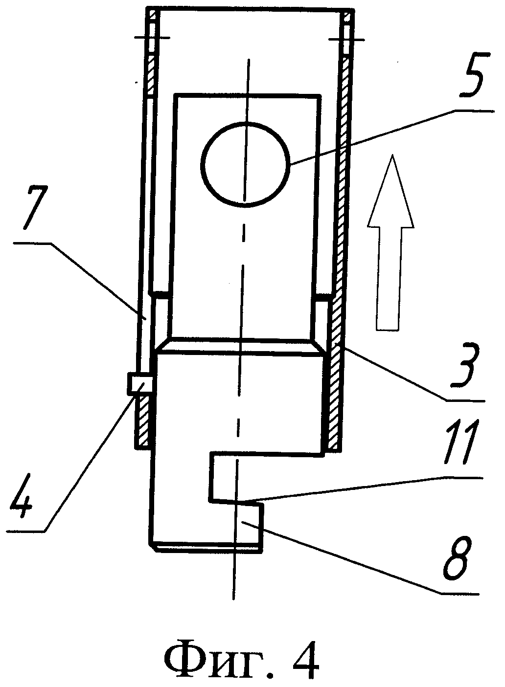
На фиг.4 схематично представлен продольный разрез верхнего звена карабина, где: 3 - муфта, 4 - пазовый упор, 5 - отверстие для грузового фала, 7 - продольный паз, 8 - сегментный клиновидный уступ, 10 - отверстие для управляющего фала, 11 - общая плоскость клиновидных уступов.

[17]

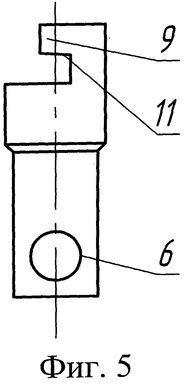
На фиг.5 схематично представлен продольный разрез нижнего звена карабина, где: 6 - отверстие для грузового фала, 9 - сегментный клиновидный уступ, 11 - общая плоскость клиновидных уступов.

[18]

Перед использованием производят сборку карабина. В отверстиях 5 и 6 закрепляют соответственно цепь или трос грузоподъемного механизма и поднимаемого груза. Соединяют верхнее 1 и нижнее 2 звенья карабина клиновидными уступами 8 и 9 и опускают муфту 3 до пазового упора 4 (фиг.1 и фиг.2).

[19]

Нагруженный карабин во время подъема-опускания груза замкнут, верхнее 1 и нижнее 2 звенья автоматически радиально смещаются на величину е. Таким образом, муфта 3 заблокирована от произвольного перемещения кольцевым уступом 12, упирающимся в торец звена 1 (фиг.3).

[20]

После перемещения груза и его установки тяговый элемент (цепь или трос) ослабляют и перемещением вверх муфты 3 (управляющим фалом, прикрепленным к технологическим отверстиям 10) до пазового упора 4 звенья 1 и 2 освобождают для взаимного горизонтального перемещения. Последующим перемещением муфты 3 звенья 1 и 2 выводят из зацепления взаимным скольжением по общей клиновой плоскости 11.

Как компенсировать расходы
на инновационную разработку
Похожие патенты