патент
№ RU 2673050
МПК C02F1/44

Комбинированная ветроэнергетическая опреснительная установка

Авторы:
Туманов Владимир Леонидович
Номер заявки
2017144101
Дата подачи заявки
15.12.2017
Опубликовано
21.11.2018
Страна
RU
Как управлять
интеллектуальной собственностью
Чертежи 
1
Реферат

Изобретение относится к технологии опреснения морской воды. Предпочтительная область использования - морские суда и корабли, в частности подводные обитаемые плавсредства и подводные лодки. Комбинированная ветровая опреснительная установка содержит обратноосмотический мембранный модуль, насос, подающий соленую или загрязненную воду к обратноосмотическому мембранному модулю, ветроэлектрогенератор, преобразующий энергию ветрового потока в электрическую энергию, блок термической утилизации концентрата, выполняющий функцию упаривания образующегося при работе обратноосмотического модуля рассола, накопитель опресненной воды, накопитель рассола, блок импульсного ультрафиолетового обеззараживания, электрический преобразователь, согласующий напряжения на входах насоса и блока термической утилизации концентрата с выходом ветродвигателя, автоматизированную систему управления, осуществляющую контроль мощности ветродвигателя, насоса, контроль давления и расхода жидкости в мембранном модуле, уровня жидкости в накопителях рассола и опресненной воды, ограничение тока, потребляемого насосом, и подключение блока термической утилизации концентрата при превышении мощности ветроэлектрогенератора над расчетной, необходимой для достижения безопасного давления в обратноосмотическом блоке. В установке значительно снижен объем стоков, генерируемых опреснительной установкой, и повышена степень полезного использования энергии ветрового потока. 3 з.п. ф-лы, 1 ил.

Формула изобретения

1. Комбинированная ветровая опреснительная установка, содержащая обратноосмотический мембранный модуль, насос, подающий соленую или загрязненную воду к обратноосмотическому мембранному модулю, ветроэлектрогенератор, преобразующий энергию ветрового потока в электрическую энергию, блок термической утилизации концентрата, выполняющий функцию упаривания образующегося при работе обратноосмотического модуля рассола, накопитель опресненной воды, накопитель рассола, отличающаяся тем, что снабжена блоком импульсного ультрафиолетового обеззараживания, электрическим преобразователем, согласующим напряжения на входах насоса и блока термической утилизации концентрата с выходом ветроэлектрогенератора, автоматизированной системой управления, осуществляющей контроль мощности ветроэлектрогенератора, насоса, контроль давления и расхода жидкости в мембранном модуле, уровня жидкости в накопителях рассола и опресненной воды, ограничение тока, потребляемого насосом, и подключение блока термической утилизации концентрата при превышении мощности ветроэлектрогенератора над расчетной, необходимой для достижения безопасного давления в обратноосмотическом блоке.

2. Комбинированная ветровая опреснительная установка по п. 1, отличающаяся тем, что к электрическому преобразователю подключена батарея суперконденсаторов с водным или органическим электролитом, используемая для выравнивания профиля выдачи мощности ветроэлектрогенератора.

3. Комбинированная ветровая опреснительная установка по п. 2, отличающаяся тем, что батарея суперконденсаторов снабжена активной системой контроля и управления, обеспечивающей выравнивание напряжений на элементах батареи и перераспределение энергии от элементов с более высоким уровнем заряда к менее заряженным.

4. Комбинированная ветровая опреснительная установка по любому из пп. 1-3, отличающаяся тем, что к электрическому преобразователю подключена в качестве гарантирующего источника электропитания электрогенерирующая установка на основе теплового двигателя, использующего органическое топливо, в том числе дизель-генератор, газовая турбина, двигатель Стирлинга, либо электрохимический генератор, либо линия электропитания от централизованной энергетической сети.

Описание

[1]

Изобретение относится к технологии опреснения морской воды. Предпочтительная область использования - морские суда и корабли, в частности подводные обитаемые плавсредства и подводные лодки.

[2]

Известно устройство для опреснения воды обратного осмоса (CN 202358969, кл. C02F 1/44, опубл. 01.08.2012), которое содержит систему генерирования энергии ветра и систему обессоливания обратного осмоса, содержащую обратноосмотический мембранный модуль, насос, подающий соленую или загрязненную воду к обратноосмотическому мембранному модулю. Система генерирования ветровой энергии включает в себя систему генератора ветряных турбин, выпрямитель, инвертор и усилительный трансформатор. Устройство использует энергию ветра для самостоятельной генерации энергии, без загрязнения, имеет преимущества низкого энергопотребления, низкой стоимости, низкий уровень шума, работает безопасно, стабильно, эффективно и надежно. Однако устройство имеет повышенный объем стоков и низкую степень использования ветрового потока.

[3]

Технической проблемой, на решение которой направлено изобретение, является устранение отмеченных недостатков. Технический результат заключается в создании установки, в которой значительно снижен объем стоков, генерируемых опреснительной установкой, и повышена степень полезного использования энергии ветрового потока.

[4]

Проблема решается, а технический результат обеспечивается тем, что комбинированная ветровая опреснительная установка содержит обратноосмотический мембранный модуль, насос, подающий соленую или загрязненную воду к обратноосмотическому мембранному модулю, ветроэлектрогенератор, преобразующий энергию ветрового потока в электрическую энергию, блок термической утилизации концентрата, выполняющий функцию упаривания образующегося при работе обратноосмотического модуля рассола, накопитель опресненной воды, накопитель рассола, блок импульсного ультрафиолетового обеззараживания, электрический преобразователь, согласующий напряжения на входах насоса и блока термической утилизации концентрата с выходом ветродвигателя, автоматизированную систему управления, осуществляющую контроль мощности ветродвигателя, насоса, контроль давления и расхода жидкости в мембранном модуле, уровня жидкости в накопителях рассола и опресненной воды, ограничение тока, потребляемого насосом, и подключение блока термической утилизации концентрата при превышении мощности ветроэлектрогенератора над расчетной, необходимой для достижения безопасного давления в обратноосмотическом блоке. К электрическому преобразователю может быть подключена батарея суперконденсаторов с водным или органическим электролитом для выравнивания профиля выдачи мощности ветродвигателя, которая может быть снабжена активной системой контроля и управления, обеспечивающей выравнивание напряжений на элементах батареи и перераспределение энергии от элементов с более высоким уровнем заряда к менее заряженным. К электрическому преобразователю может быть также подключена в качестве гарантирующего источника электропитания электрогенерирующая установка на основе теплового двигателя, использующего органическое топливо, в том числе дизель-генератор, газовая турбина, двигатель Стерлинга, либо электрохимический генератор, либо линия электропитания от централизованной энергетической сети.

[5]

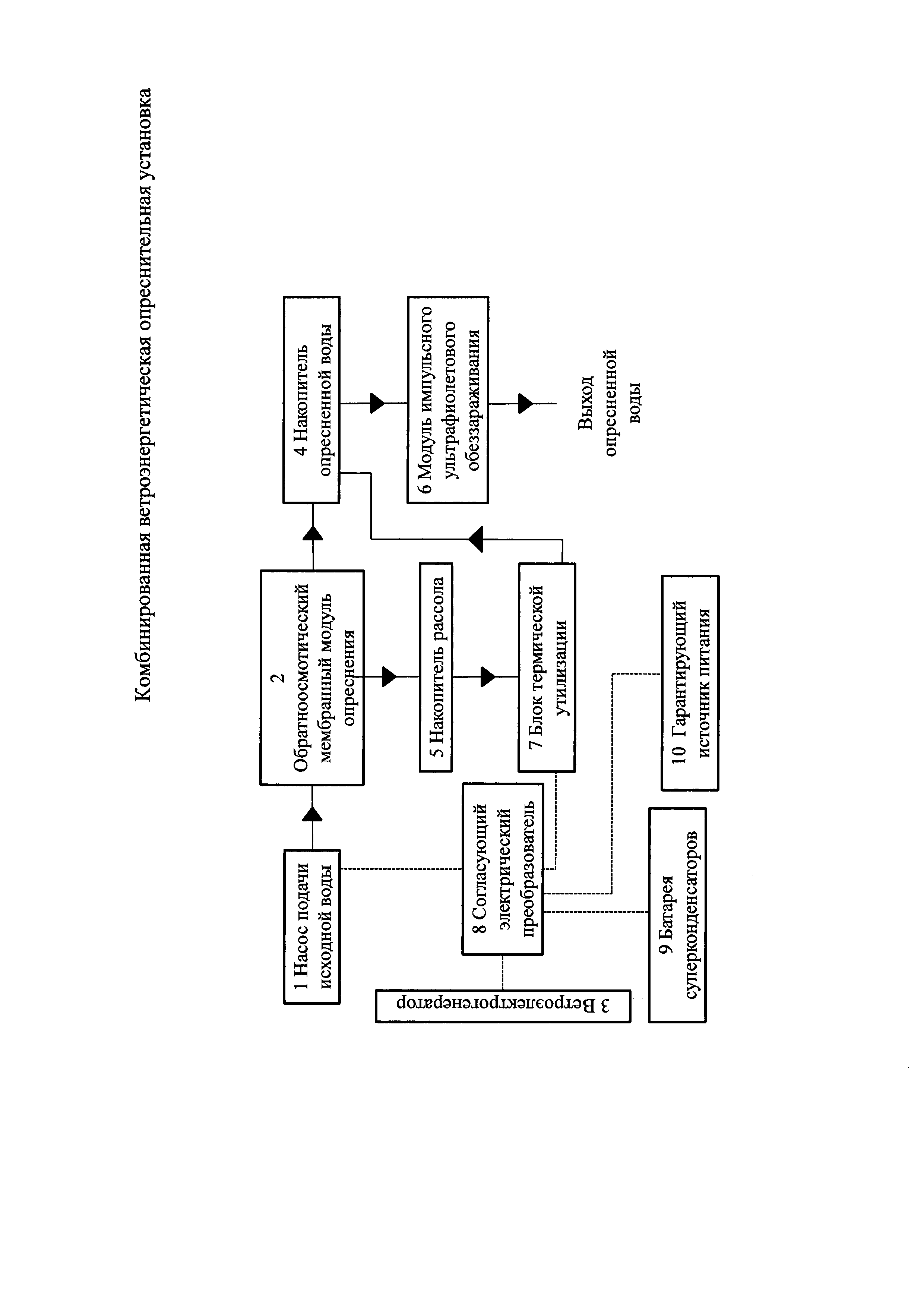
На чертеже представлена схема предлагаемой установки, на которой показаны основные ее составляющие и связь между ними.

[6]

При работе установки соленая (морская) или загрязненная вода подается насосом 1 в обратноосмотический мембранный модуль опреснения 2. Установка содержит ветроэлектрогенератор 3, преобразующий энергию ветрового потока в электрическую энергию, необходимую для питания всех составляющих установки. Модуль 2 соединен с накопителями опресненной воды 4 и рассола 5. Опресненная вода проходит модуль импульсного ультрафиолетового обеззараживания 6 и подается потребителю. Рассол из накопителя направляют в блок термической утилизации 7, где рассол упаривается, а воду перепускают в накопитель 4. В установке имеется электрический преобразователь 8, согласующий напряжения на входах насоса 1 и блока термической утилизации концентрата 7 с выходом ветроэлектрогенератора 3. Установка оснащена автоматизированной системой управления, осуществляющей контроль мощности ветроэлектрогенератора 3, насоса 1, контроль давления и расхода жидкости в мембранном модуле 2, уровня жидкости в накопителях рассола 5 и опресненной воды 4, ограничение тока, потребляемого насосом 1, и подключение блока термической утилизации концентрата 7 при превышении мощности ветроэлектрогенератора 3 над расчетной, необходимой для достижения безопасного давления в обратноосмотическом модуле 2. К электрическому преобразователю 8 подключена батарея суперконденсаторов 9 с водным или органическим электролитом, используемая для выравнивания профиля выдачи мощности ветроэлектрогенератора 3 (компенсации коротких колебаний мощности ветроэлектрогенератора 3 длительностью 2-40 с), что позволяет увеличить время работы обратноосмотического модуля 2 при высоких скоростях ветра и повысить ресурсные характеристики мембран за счет снижения числа и амплитуды бросков давления. Батарея суперконденсаторов 9 снабжена активной системой контроля и управления, обеспечивающей выравнивание напряжений на элементах батареи и перераспределение энергии от элементов с более высоким уровнем заряда к менее заряженным, что позволяет снизить потери энергии и увеличить срок службы суперконденсаторов. К электрическому преобразователю 8 также подключена в качестве гарантирующего источника электропитания 10 электрогенерирующая установка на основе теплового двигателя, использующего органическое топливо, в том числе дизель-генератор, газовая турбина, двигатель Стирлинга, либо электрохимический генератор, либо линия электропитания от централизованной энергетической сети. Запуск гарантирующего источника электропитания 10 осуществляется автоматической системой управления в случае наличия потребности в опресненной воде, длительном отсутствии ветра (по показаниям анемометра и уровню воды в накопителе опресненной воды).

Как компенсировать расходы
на инновационную разработку
Похожие патенты