патент
№ RU 2620589
МПК H04B10/25

Устройство регистрации импульсного ионизирующего и импульсного оптического излучения с передачей по ВОЛС

Авторы:
Коротков Кирилл Евгеньевич Москаленко Илья Николаевич Игнатьев Николай Георгиевич
Все (4)
Номер заявки
2016107963
Дата подачи заявки
04.03.2016
Опубликовано
29.05.2017
Страна
RU
Как управлять
интеллектуальной собственностью
Чертежи 
2
Реферат

Изобретение относится к технике связи и может использоваться для регистрации импульсного ионизирующего и импульсного оптического излучения микро-, наносекундного временного диапазона и передаче по волоконно-оптическим линиям связи (ВОЛС) с использованием внешней модуляции излучения. Технический результат состоит в повышении точности восстановления формы зарегистрированного импульсного ионизирующего излучения. Для этого устройство регистрации импульсного ионизирующего и импульсного оптического излучения с передачей по ВОЛС содержит N≥1 каналов, каждый канал которой состоит из лазерного модуля, входного одномодового волокна, выходного одномодового волокна, электрооптического модулятора интенсивности по схеме интерферометра Маха-Цандера, источника питания для подачи постоянного напряжения на электроды сдвига модулятора, приемника оптического излучения и оцифровщика. 3 ил.

Формула изобретения

Устройство регистрации импульсного ионизирующего и импульсного оптического излучения с передачей по ВОЛС, содержащее N≥1 каналов, каждый канал которой состоит из лазерного модуля, входного одномодового волокна, выходного одномодового волокна, электрооптического модулятора интенсивности по схеме интерферометра Маха-Цандера, источника питания для подачи постоянного напряжения на электроды сдвига модулятора, приемника оптического излучения и оцифровщика, оптический выход лазерного модуля соединен через входное одномодовое волокно с оптическим входом модулятора, источник питания для подачи постоянного напряжения на электроды сдвига модулятора соединен с электродами сдвига модулятора, оптический информационный выход модулятора соединен через выходное одномодовое волокно с оптическим входом приемника оптического излучения, аналоговый выход которого соединен с аналоговым входом оцифровщика, отличающаяся тем, что в каждом из N каналов системы передачи электрический сигнальный вход модулятора соединен с выходом фотоэлемента, оптический вход которого соединен с оптическим выходом источника калибровочного оптического сигнала.

Описание

[1]

Изобретение относится к системам регистрации импульсного ионизирующего и импульсного оптического излучения микро-, наносекундного временного диапазона и передаче по волоконно-оптическим линиям связи (ВОЛС) с использованием внешней модуляции излучения и может быть использовано для восстановления формы регистрируемого импульсного ионизирующего или импульсного оптического излучения по оптическому аналогу.

[2]

Функция пропускания электрооптического модулятора интенсивности по схеме интерферометра Маха-Цандера (далее по тексту модулятор) (зависимость пропускания модулятора от приложенного к электрическому сигнальному входу напряжения) по форме близка к синусоидальной. Поэтому при передаче аналоговых сигналов с использованием таких модуляторов для точного восстановления формы передаваемого сигнала необходимо знать как функцию пропускания (заранее определенную), так и рабочую точку модулятора (пропускание модулятора при отсутствии напряжения на электрическом сигнальном входе). Изменение интенсивности на выходе модулятора при подаче сигнала на электрический сигнальный вход модулятора зависит от положения рабочей точки модулятора. Дрейф рабочей точки (изменение пропускания модулятора с течением времени при отсутствии напряжения на электрическом сигнальном входе модулятора) вызван тепловыми процессами в модуляторе (поглощение лазерного излучения в модуляторе, изменение температуры модулятора и т.д.), поэтому требуется постоянный контроль и стабилизация рабочей точки. В качестве рабочей точки чаще всего выбирают минимум, максимум или середину склона функции пропускания модулятора, так как эти точки наиболее просто поддаются настройке и контролю при помощи специализированных устройств (контроллеров рабочей точки).

[3]

Определение рабочей точки и функции пропускания для одного модулятора основано на подаче калибровочного электрического сигнала заранее известной формы на электрический сигнальный вход модулятора непосредственно перед подачей на тот же вход передаваемого (информационного) электрического сигнала, при этом амплитуда калибровочного электрического сигнала должна быть равна или превышать амплитуду передаваемого сигнала. По изменению оптического сигнала после модулятора, вызванному воздействием калибровочного электрического сигнала, точно определяются рабочая точка и функция пропускания модулятора, а по полученным значениям рабочей точки и функции пропускания производится точное восстановление передаваемого (информационного) электрического сигнала. Метод также применим при многоканальной (N>1) (многоранговой) передаче сигнала, при этом определение рабочей точки и функции пропускания модулятора для каждого канала передачи производится аналогичным способом.

[4]

Известна система передачи аналогового сигнала по ВОЛС, в которой задание и контроль рабочей точки модулятора осуществляется при помощи специализированного устройства - контроллера рабочей точки и дополнительного источника оптического излучения, описанная в работе Limin Л «А Novel Electro-Optic Measurement System using Multiple Wavelengths» Submitted in Partial Fulfillment of the Requirement for the Degree Doctor of Philosophy, University of Rochester Rochester, New York 2011 (www.ofuturescholar.com//paperpage?docid=574429), где для настройки и стабилизации рабочей точки модулятора используется излучение одного лазерного диода и контроллер рабочей точки, а для передачи информационного сигнала используется излучение лазерного диода с другой длиной волны. Для разделения излучений диодов используются WDM-разветвители. Для восстановления сигнала используется заранее определенная функция пропускания модулятора.

[5]

Недостатком этой системы является необходимость использования двух источников оптического излучения (лазерных диодов), WDM-разветвителей и контроллера рабочей точки, что увеличивает стоимость системы передачи.

[6]

Известна система передачи аналогового сигнала по ВОЛС, в которой задание и контроль рабочей точки модулятора осуществляется при помощи контроллера рабочей точки без использования дополнительного источника оптического излучения, описанная в работе W.R. Donaldson et al., «A single-shot, multiwavelength electro-optic data-acquisition system for inertial confinement fusion applications (invited)», Rev. Sci. Instrum. 83, 10D726 (2012), где для настройки и стабилизации рабочей точки модулятора и передачи информационного сигнала используется излучение одного и того же лазерного диода. Из непрерывного излучения лазерного диода при помощи акустооптического модулятора вырезаются три прямоугольных импульса, первый используется для настройки рабочей точки модулятора интенсивности, далее напряжение на электродах смещения фиксируется, затем подается второй оптический импульс, на котором производится передача информационного сигнала, затем подается третий оптический импульс, на котором производится проверка положения рабочей точки. Для восстановления сигнала также используется заранее определенная функция пропускания модулятора интенсивности.

[7]

Недостатками данной системы являются необходимость внесения изменений в схему контроллера рабочей точки для фиксации напряжения на электродах сдвига модулятора во время передачи информационного сигнала, необходимость формирования трех прямоугольных оптических импульсов для проведения процедур настройки рабочей точки модулятора и передачи информационного сигнала, длительное время подготовки к передаче информационного сигнала, следствием чего являются усложнение процедуры передачи сигнала и увеличение стоимости системы передачи.

[8]

Наиболее близким техническим решением к предлагаемому (прототипом) является система передачи аналогового сигнала, описанная в работе В.V. Beeman, et al., «Mach-Zehnder Detector System Issues and Enhancements for use on the NIF DANTE X-Ray Diagnostic», LLNL-CONF-657917, SPIE Optics + Photonics 2014 San Diego, CA, United States August 17, 2014 through August 20, 2014, содержащая лазерный диод, акустооптический модулятор, волоконный разветвитель, модуляторы Маха-Цандера, контролер рабочей точки, одномодовый волоконный ответвитель, фотодиод, цифровой осциллограф, вакуумный рентгеновский детектор, где для настройки и контроля положения рабочей точки модулятора используется контроллер рабочей точки, подающий на электроды сдвига модулятора биполярное пилообразное напряжение, и по оптическому отклику на выходе модулятора настраивающий положение рабочей точки модулятора, и производящий периодический контроль положения рабочей точки.

[9]

При использовании контроллеров рабочей точки с использованием вспомогательной частоты (принцип dither) для настройки рабочей точки модулятора требуется продолжительное время. В прототипе для сокращения времени настройки на электроды сдвига модулятора подают пилообразный биполярный сигнал с амплитудой ~18 В для определения минимума и максимума пропускания модулятора (значение минимума и максимума оптической мощности на выходе модулятора). Далее происходят настройка рабочей точки модулятора и ее тонкая корректировка. Подача пилообразного напряжения на электроды сдвига и последующая подстройка рабочей точки модулятора занимают время порядка 3,5 с, после чего производится настройка регулируемого оптического ослабителя, который задает необходимый уровень оптической мощности после модулятора, но уже не влияет на напряжение смещения подаваемого на электроды сдвига. Циклы настройки модулятора повторяются каждые 5 с. По заданному положению рабочей точки и предварительно определенной функции пропускания модулятора производится восстановление информационного электрического сигнала по зарегистрированному оптическому сигналу после модулятора.

[10]

Недостатками прототипа является невозможность точного восстановления формы зарегистрированного импульсного ионизирующего излучения по оптическому аналогу, передающемуся по ВОЛС с внешней модуляцией, без проведения процедур настройки и периодического контроля рабочей точки модулятора, а следовательно, без использования специализированных устройств (контроллеров рабочей точки) и без необходимости подачи постоянного оптического излучения на вход модулятора.

[11]

Техническим результатом, обеспечиваемым заявляемым изобретением, является возможность точного восстановления формы зарегистрированного импульсного ионизирующего излучения по оптическому аналогу, передающемуся по ВОЛС с внешней модуляцией, без проведения процедур настройки и периодического контроля рабочей точки модулятора, а следовательно, без использования специализированных устройств (контроллеров рабочей точки) и без необходимости подачи постоянного оптического излучения на вход модулятора.

[12]

Технический результат достигается тем, что устройство регистрации импульсного ионизирующего и импульсного оптического излучения с передачей по ВОЛС, содержащее N≥1 каналов, каждый канал которой состоит из лазерного модуля, входного одномодового волокна, выходного одномодового волокна, электрооптического модулятора интенсивности по схеме интерферометра Маха-Цандера, источника питания для подачи постоянного напряжения на электроды сдвига модулятора, приемника оптического излучения и оцифровщика, оптический выход лазерного модуля соединен через входное одномодовое волокно с оптическим входом модулятора, источник питания для подачи постоянного напряжения на электроды сдвига модулятора соединен с электродами сдвига модулятора, оптический информационный выход модулятора соединен через выходное одномодовое волокно с оптическим входом приемника оптического излучения, аналоговый выход которого соединен с аналоговым входом оцифровщика, в каждом из N каналов системы передачи электрический сигнальный вход модулятора соединен с выходом фотоэлемента, оптический вход которого соединен с оптическим выходом источника калибровочного оптического сигнала.

[13]

Таким образом, осуществляется последовательная подача на фотоэлемент калибровочного оптического сигнала и регистрируемого информационного сигнала, фотоэлемент преобразует последовательность указанных оптических сигналов в последовательность электрических аналогов указанных оптических сигналов.

[14]

Таким образом, может быть проведено восстановление формы электрического аналога регистрируемого информационного сигнала по оптическому аналогу при передаче по ВОЛС с использованием внешней модуляции излучения, заключающееся в том, что происходит предварительное определение передаточной функции и рабочей точки одного модулятора, а именно: предварительно грубо выставляется рабочая точка модулятора путем подачи постоянного напряжения на электроды сдвига, функция пропускания и рабочая точка точно определяются непосредственно перед подачей на электрический сигнальный вход модулятора электрического аналога регистрируемого информационного сигнала, путем подачи на электрический сигнальный вход модулятора электрического аналога калибровочного оптического сигнала заранее известной (например, пилообразной) формы, амплитуда которого больше или равна предполагаемой амплитуде электрического аналога регистрируемого информационного сигнала, а затем в процессе обработки зарегистрированного оптического сигнала после модулятора по известной форме электрического аналога калибровочного оптического сигнала и по изменению оптического сигнала после модулятора, вызванному электрическим аналогом калибровочного оптического сигнала, однозначно определяются функция пропускания и рабочая точка модулятора, после этого, по известному изменению оптического сигнала после модулятора, вызванному приходом электрического аналога регистрируемого информационного сигнала, и полученной ранее функции пропускания модулятора, восстанавливается форма электрического аналога регистрируемого информационного сигнала, а следовательно. и форма регистрируемого информационного сигнала. Метод также применим при многоканальной (N>1) (многоранговой) передаче сигнала, при этом определение рабочей точки и функции пропускания модулятора для каждого канала передачи производится аналогичным способом.

[15]

Поскольку подача на вход модулятора электрического аналога калибровочного оптического сигнала, а значит определение рабочей точки и функции пропускания модулятора, происходит непосредственно перед моментом прихода электрического аналога регистрируемого информационного сигнала, это в свою очередь позволяет пренебречь дрейфом рабочей точки модулятора за время между приходом электрических аналогов калибровочного оптического и регистрируемого информационного сигналов, а следовательно, дает возможность отказаться от использования специализированных устройств для постоянного контроля рабочей точки модулятора.

[16]

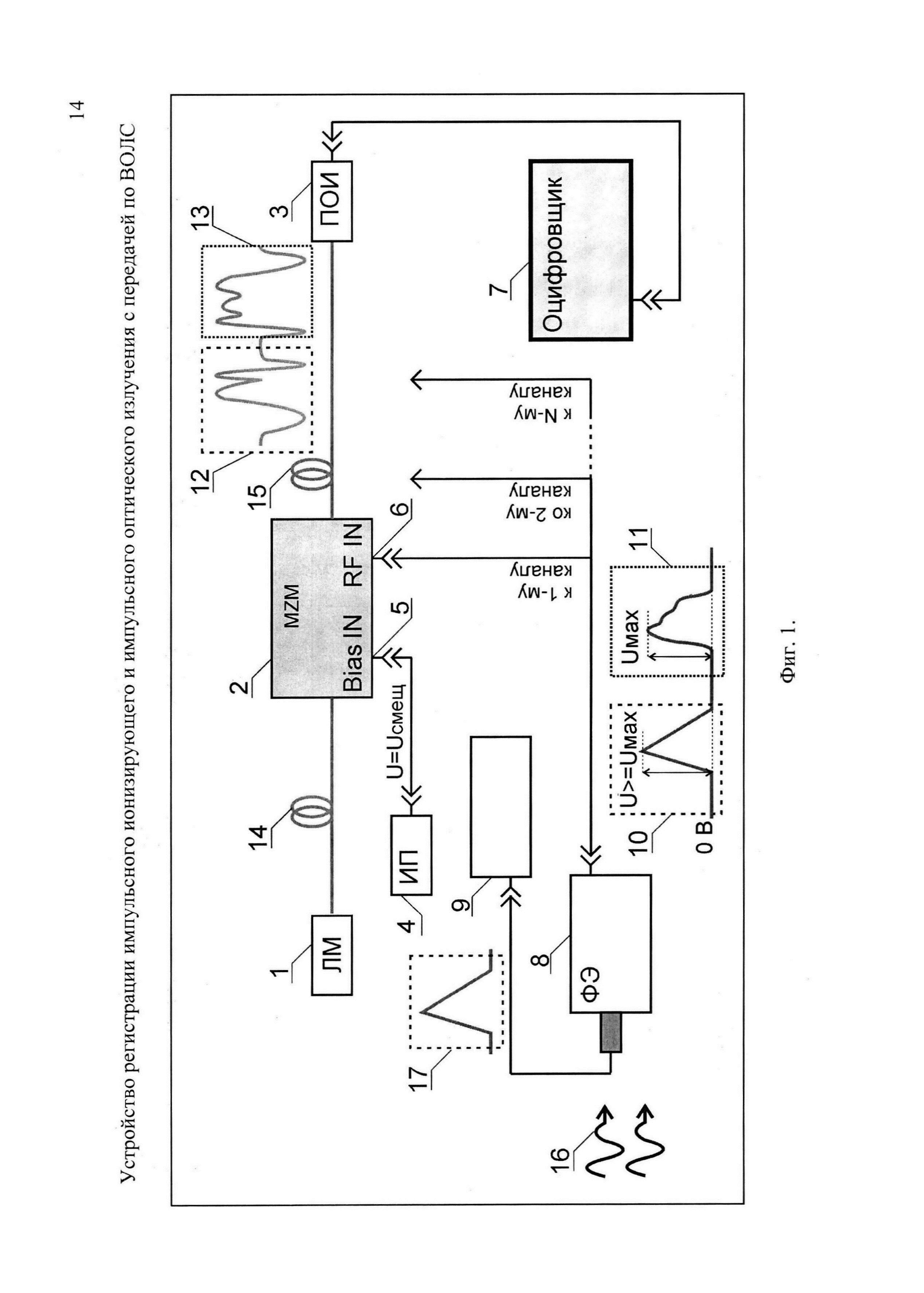
На фиг. 1 приведена схема одного канала системы передачи и восстановления электрического сигнала по оптическому аналогу при передаче по ВОЛС с использованием внешней модуляции излучения, для реализации способа передачи и восстановления электрического сигнала по оптическому аналогу.

[17]

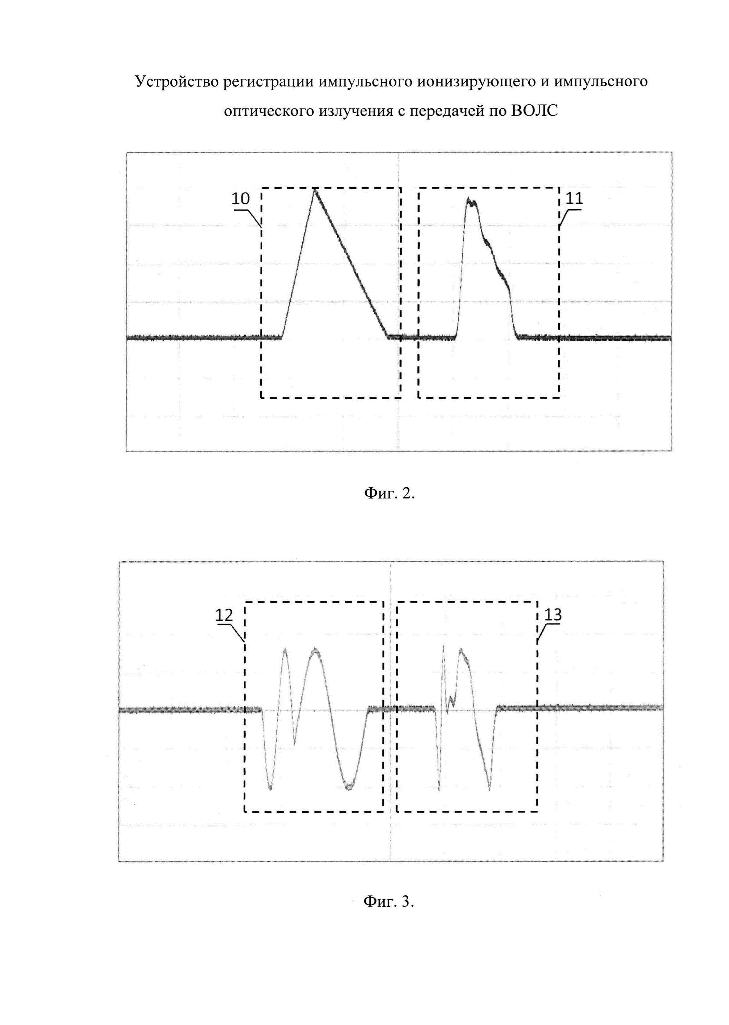
На фиг. 2 представлен пример осциллограммы электрического сигнала, поступающего на электрический сигнальный вход модулятора.

[18]

На фиг. 3 приведена осциллограмма оптического сигнала на выходе модулятора.

[19]

На представленных фиг. 1-3:

[20]

1 - лазерный модуль (источник оптического излучения); 2 - электрооптический модулятор интенсивности по схеме интерферометра Маха-Цандера; 3 - приемник оптического излучения (например, фотодиод или хронографический электронно-оптический регистратор (ЭОР)); 4 - источник питания для подачи постоянного напряжения на электроды сдвига модулятора; 5 - электроды сдвига модулятора; 6 - электрический сигнальный вход модулятора; 7 - оцифровщик (например, осциллограф, если в качестве приемника оптического излучения 3 используется фотодиод, или ПЗС-регистратор, если в качестве приемника оптического излучения 3 используется хронографический ЭОР); 8 - фотоэлемент (например, фотоэлектронный умножитель сцинтилляционного детектора ионизирующего излучения или полупроводниковый чувствительный элемент); 9 - источник калибровочного оптического сигнала, 10 - электрический аналог калибровочного оптического сигнала; 11 - электрический аналог регистрируемого информационного сигнала; 12 - изменение оптического сигнала на выходе модулятора, вызванное калибровочным электрическим сигналом, 13 - изменение оптического сигнала на выходе модулятора, вызванное приходом информационного электрического сигнала; 14 - входное одномодовое волокно (например, волокно с сохранением поляризации); 15 - выходное одномодовое волокно; 16 - регистрируемый информационный сигнал (например, импульсное ионизирующее излучение или импульсное оптическое излучение); 17 - калибровочный оптический сигнал.

[21]

Устройство содержит: лазерный модуль 1, оптический выход которого соединен через входное одномодовое волокно 14 с оптическим входом электрооптического модулятора 2 интенсивности по схеме интерферометра Маха-Цандера, оптический информационный выход модулятора 2 соединен через выходное одномодовое волокно 15 с оптическим входом приемника 3 оптического излучения, аналоговый выход которого соединен с аналоговым входом оцифровщика 7, источник питания 4 для подачи постоянного напряжения на электроды сдвига модулятора соединен с электродами сдвига 5 модулятора 2, выход фотоэлемента 8 соединен с электрическим сигнальным входом 6 модулятора 2, к оптическому входу фотоэлемента 8 подсоединен оптический выход источника 9 калибровочного оптического сигнала.

[22]

Устройство работает следующим образом: излучение лазерного модуля 1 подают по входному одномодовому волокну 14 на оптический вход модулятора 2. Предварительно на модуляторе 2 выставляют рабочую точку путем подачи постоянного напряжения от источника питания 4 на электроды сдвига 5 модулятора 2. Электрический сигнальный вход 6 модулятора 2 соединен с выходом фотоэлемента 8, на оптический вход которого последовательно подаются калибровочный оптический сигнал 17 от источника 9 калибровочного оптического сигнала и регистрируемый информационный сигнал 16. Калибровочный оптический сигнал 17 должен находиться в области линейности фотоэлемента 8. Фотоэлемент 8 производит преобразование последовательности калибровочного оптического сигнала 17 и регистрируемого информационного сигнала 16 в последовательность электрического аналога 10 калибровочного оптического сигнала 17 и электрического аналога 11 регистрируемого информационного сигнала 16 соответственно, поступающую на электрический сигнальный вход 6 модулятора 2. Промодулированное оптическое излучение лазерного модуля 1 с оптического выхода модулятора 2 по выходному одномодовому волокну 15 передают на вход приемника 3 оптического излучения, сигнал приемника 3 оптического излучения регистрируют оцифровщиком 7. В оптическом излучении после модулятора 2 приемником 3 оптического излучения регистрируют последовательные изменения 12 и 13 оптического сигнала, вызванные электрическим аналогом 10 калибровочного оптического сигнала 17 и электрическим аналогом 11 регистрируемого информационного сигнала 16 соответственно.

[23]

По заранее известной форме калибровочного оптического сигнала 17 от источника 9 калибровочного оптического сигнала и изменению оптического сигнала 12 на выходе модулятора 2, вызванного подачей на электрический сигнальный вход 6 электрического аналога 10 калибровочного оптического сигнала 17 в диапазоне от 0 до U В (под значением U В понимается амплитуда электрического аналога 10 калибровочного оптического сигнала 17), определяют зависимость оптического сигнала на выходе модулятора 2 от величины напряжения, приложенного к электрическому сигнальному входу 6 для диапазона от 0 до U В, а также рабочую точку, в которой находится модулятор 2 в данный момент времени. Амплитуда напряжения электрического аналога 11 регистрируемого информационного сигнала 16 не должна превышать амплитуду электрического аналога 10 калибровочного оптического сигнала 17. Время задержки прихода электрического аналога 11 регистрируемого информационного сигнала 16 по отношению к электрическому аналогу 10 калибровочного оптического сигнала 17 не превышает длительности электрического аналога 11 регистрируемого информационного сигнала 16, благодаря чему можно считать, что положение рабочей точки модулятора 2 не изменилось, а следовательно, модулятор 2 находится в том же рабочем состоянии. Таким образом, зная изменение оптического сигнала 13 на выходе модулятора 2, вызванное приходом электрического аналога 11 регистрируемого информационного сигнала 16, а также определив рабочую точку и функцию пропускания модулятора 2 при помощи электрического аналога 10 калибровочного оптического сигнала 17, можно однозначно восстановить форму электрического аналога 11 регистрируемого информационного сигнала 16, а следовательно, и форму регистрируемого информационного сигнала 16.

[24]

Таким образом, достигается заявленный технический результат, а именно возможность точного восстановления формы зарегистрированного импульсного ионизирующего излучения по оптическому аналогу, передающемуся по ВОЛС с внешней модуляцией, без проведения процедур настройки и периодического контроля рабочей точки модулятора, а следовательно, без использования специализированных устройств (контроллеров рабочей точки) и без необходимости подачи постоянного оптического излучения на вход модулятора.

[25]

При регистрации на фотодиод в качестве лазерного модуля 1 может быть использован лазерный диод типа WDM8-C-16A-20-NM фирмы Thorlabs, установленный в шасси PRO800 фирмы Thorlabs, в качестве электрооптического модулятора 2 интенсивности по схеме интерферометра Маха-Цандера может быть использован электрооптический модулятор интенсивности по схеме интерферометра Маха-Цандера LN56S фирмы Thorlabs, в качестве приемника 3 оптического излучения - фотодиод DET01CFC фирмы Thorlabs, в качестве источника 4 питания для подачи постоянного напряжение на электроды сдвига модулятора - может быть использован источник питания ΑΤΗ-1023 фирмы Aktakom, в качестве оцифровщика 7 может быть использован цифровой осциллограф LeCroy Waverunner 640 Zi, в качестве фотоэлемента 8 может быть использован детектор ССДИ38, в качестве источника 9 калибровочного оптического сигнала может быть использован лазерный диод Т11-Л9, в качестве входного одномодового волокна 14 и выходного одномодового волокна 15 могут быть использованы оптические волокна РМ1550-ХР фирмы Thorlabs (входное одномодовое волокно 14 может быть с сохранением поляризации и без сохранения поляризации, выходное одномодовое волокно 15 может быть с сохранением поляризации и без сохранения поляризации).

[26]

При регистрации на хронографический ЭОР в качестве лазерного модуля 1 может быть использован лазерный диод типа PH852DBR120BF фирмы Photodigm, установленный в контроллер температуры и тока ЕМ595 фирмы Gooch&Housego, в качестве электрооптического модулятора 2 интенсивности по схеме интерферометра Маха-Цандера может быть использован электрооптический модулятор интенсивности по схеме интерферометра Маха-Цандера NIR-MX800 фирмы Photline, в качестве приемника 3 оптического излучения - регистратор хронографический электронно-оптический СФЭР6 производства ФГУП НИИИТ, в качестве источника 4 питания для подачи постоянного напряжение на электроды сдвига модулятора - может быть использован источник питания ΑΤΗ-1023 фирмы Aktakom, в качестве оцифровщика 7 может быть использован регистратор СПМ20 производства ФГУП НИИИТ, в качестве фотоэлемента 8 может быть использован детектор ССДИ38, в качестве источника 9 калибровочного оптического сигнала может быть использован лазерный диод Т11-Л9, в качестве входного одномодового волокна 14 и выходного одномодового волокна 15 могут быть использованы оптические волокна РМ780-НР фирмы Thorlabs (входное одномодовое волокно 14 может быть с сохранением поляризации и без сохранения поляризации, выходное одномодовое волокно 15 может быть с сохранением поляризации и без сохранения поляризации).

Как компенсировать расходы
на инновационную разработку
Похожие патенты