патент
№ RU 2551267
МПК F41G3/22

СИСТЕМА УПРАВЛЕНИЯ ВООРУЖЕНИЕМ ЛЕТАТЕЛЬНЫХ АППАРАТОВ

Авторы:
Белоусов Евгений Леонидович Корчагин Валерий Михайлович Салдаев Владимир Ильич
Все (10)
Правообладатель:
Все (10)
Номер заявки
2014105144/12
Дата подачи заявки
12.02.2014
Опубликовано
20.05.2015
Страна
RU
Как управлять
интеллектуальной собственностью
Чертежи 
12
Реферат

Изобретение относится к области авиационного приборостроения и может быть использовано предприятиями авиационной и оборонной промышленности, ведущими разработку систем управления вооружением (СУВ) и систем передачи/приема данных. Технический результат - повышение эффективности боевых действий смешанных группировок летательных аппаратов (боевых самолетов и вертолетов) 4-го и 5-го поколений. Для достижения данного результата система содержит: многофункциональную бортовую радиолокационную станцию; оптико-электронную визирную систему; бортовой комплект аппаратуры наведения; бортовой комплект навигационного оборудования с датчиками полетной информации; вычислительную систему; комплект индикаторов прицельной, навигационной и пилотажной информации; индикатор тактической обстановки; пультовое оборудование с кнопками передачи приказов на атаку и отмены заданий; бортовой комплект аппаратуры радиотелеметрической связи с цифровым интегрированным модулем средств связи, именуемым в ряде модификаций, как модуль связи и передачи данных. 2 з.п. ф-лы, 13 ил.

Формула изобретения

1. Система управления вооружением летательных аппаратов, включающая многофункциональную бортовую радиолокационную станцию и оптико-электронную, например, телевизионную визирную систему, бортовой комплект аппаратуры наведения и бортовой комплект навигационного оборудования с датчиком полетной информации, комплект индикаторов прицельной, навигационной и пилотажной информации, а также вычислительную систему, связанную с перечисленными устройствами и с бортовым комплектом аппаратуры радиотелеметрической связи, отличающаяся тем, что дополнительно содержит цифровой интегрированный модуль средств связи, подключенный своими входами/выходами к приемо-передающим устройствам бортового комплекта аппаратуры радиотелеметрической связи для приема/передачи информации и данных при взаимодействии с летательными аппаратами и пунктами управления, оборудованными телеметрически связанной аппаратурой, а выходами/входами к вычислительной системе для выдачи и получения по мультиплексным линиям связи сигналов взаимодействия в сети обмена данными с собственным радиоэлектронным оборудованием летательного аппарата с выдачей «экипажу» результатов взаимодействия для отображения и регистрации, связанный входами с пультом управления режимами работы в системе обмена данными и приема по мультиплексным линиям связи сигналов управления комплектом аппаратуры радиотелеметрической связи и специализированными выходами/входами с блоками шифрования речевой информации и данных в сетях радиотелеметрической связи.

2. Система управления вооружением летательных аппаратов по п.1, отличающаяся тем, что цифровой интегрированный модуль средств связи на модернизированных летательных аппаратах подключен управляющими входами/выходами к авиационному терминалу автоматизированной системы объединенной связи, навигации и обмена данными для передачи/приема по мультиплексной линии связи информации.

3. Система управления вооружением летательных аппаратов по п.2, отличающаяся тем, что при наличии общей магистральной шины данных летательного аппарата цифровой интегрированный модуль средств связи и авиационный терминал подключены своими входами/выходами к магистральной шине данных линиями мультиплексного информационного обмена для информационного взаимодействия с вычислительной системой летательных аппаратов.

Описание

[1]

Изобретение относится к авиационному оборудованию, более конкретно - к оборудованию, предназначенному для обеспечения боевого применения вооружения летательных аппаратов (ЛА) (боевых самолетов, боевых вертолетов). Оно может быть использовано предприятиями авиационной и оборонной промышленности, ведущими разработку систем управления вооружением (СУВ) и систем передачи/приема данных.

[2]

Известна система управления вооружением истребителя, предназначенная для обеспечения эффективного поражения воздушных и наземных целей за счет точного выхода в район атаки группы истребителей, взаимного обмена информацией, централизованного сбора данных воздушной и наземной обстановки, обработки данных и последующего решения задач целераспределения (целеуказания) на самолете командира общего боевого порядка. Эта система в предлагаемом техническом решении принята в качестве аналога [Патент №2024818 F41G 3/22 Опубл. 15.12.1994 г.].

[3]

В состав современной системы управления вооружением летательного аппарата, например, СУВ ЛА истребителя (фиг.1), независимо от уровней функциональной и конструктивной интеграции оборудования и способов ее соединения: непосредственное подключение друг к другу по локальным линиям мультиплексной связи или через общую самолетную магистральную шину данных (МШД), управляемой вычислительной системой самолета, входят: многофункциональная бортовая радиолокационная станция (БРЛС) 1, предназначенная для обнаружения воздушных и наземных целей на удалениях в пределах радиовидимости станции; бортовая оптико-электронная (в частном случае телевизионная) визирная система 2, предназначенная для обнаружения воздушной цели в пределах оптической видимости (после предварительного выхода в район ее нахождения с помощью указанной выше аппаратуры) и для обеспечения ее автоматического и полуавтоматического сопровождения в расчете на измерение ее координат и параметров движения с помощью измерителей, входящих в состав визирной системы; бортовой комплект аппаратуры наведения 3, телеметрически связанной с аналогичной по назначению аппаратурой, размещенной на командных пунктах наземных и воздушных (летательных аппаратах типа «АВАКС») автоматизированных систем управления (наведения); бортовой комплект навигационного оборудования 4 с датчиками полетной информации, рассчитанный на его использование при прицеливании, а также для осуществления навигации (например, после завершения атаки цели, с заданием возвратиться на аэродром и совершить посадку); вычислительная (информационно-аналитическая) система 5 реального времени, содержащая несколько цифровых вычислительных машин (ЦВМ) и аналоговых вычислителей, предназначенных для обработки информации, получаемой от указанных датчиков и измерителей, для решения задачи прицеливания, для решения навигационной задачи и других вычислительных действий, связанных с подготовкой, применением средств поражения и контролем результатов этого применения, в том числе в учебных полетах; бортовой комплект индикаторов 6, предназначенных для демонстрирования летчику необходимых сведений по результатам работы названной визирной системы, аппаратуры наведения и навигации, а также для представления результатов работы вычислительной системы, реализуемых путем соответствующего пилотирования, в частности, результатов решения задачи прицеливания; индикатор тактической обстановки (ИТО) 7; бортовой комплект аппаратуры радиотелеметрической связи (телефонной и телекодовой) для информационной поддержки истребителя путем приема данных с командного пункта наземной (воздушной) автоматизированной системы управления (наведения) авиации и для связи с истребителями, оборудованными аналогичной аппаратурой, при их взаимодействии в группе (группировках) с регистрацией и хранением информации, включающий: приемо-передающее устройство 8, программное устройство 9 перестройки приемо-передающего устройства 8, шифратор 10, связывающий вычислительную систему 5 с передающим блоком приемопередающего устройства 8, дешифратор 11, связывающий приемный блок приемо-передающего устройства 8 с вычислительной системой 5, пульт управления режимами работы 12, подключенный выходами его образующих галетных переключателей «РЕЖИМ РАБОТЫ» и «КТО Я» с аналоговыми сигналами через преобразователь сигналов 13 к вычислительной системе 5 и блокам 8 и 9, пульт целераспределения (целеуказания) 14, подключенный через преобразователь сигналов 15 к вычислительной системе 5 и блокам 8 и 9, цифро-аналоговый преобразователь сигналов 16, входом соединенный с вычислительной системой 5, а выходом с индикатором тактической обстановки 7.

[4]

Данная система, дополненная авиационным терминалом (AT) 17 автоматизированной системы объединенной связи, навигации и обмена данными (ОСНОД) (фиг.2), подключенным своим входом к программному устройству 9, а выходами/входами к вычислительной системе 5, в предлагаемом техническом решении принята в качестве прототипа [Патент №2439461 F41G 3/22. Опубл. 10.01.2012 г.].

[5]

Информационно-логическое сопряжение и схемное объединение упомянутых бортовых измерительных и исполнительных устройств образуют многорежимную техническую систему, функционально решающую одну задачу: эффективное боевое применение вооружения летательного аппарата, чем и определено сложившееся наименование такой системы. Для всех последующих выпусков отечественных и зарубежных ЛА боевого применения, перечисленный выше состав СУВ ЛА является типовым, определяя совместно с «экипажем» «бортовой интеллект» летательного аппарата.

[6]

Упомянутая система управления вооружением в разных вариантах комплектации рекомендована для использования на летательных аппаратах 4-го (принятых на снабжение ЛА) и 5-го (строящихся и проектируемых ЛА) поколений в целях обеспечения возможности формирования смешанных боевых порядков и организации взаимного обмена данными между летательными аппаратами, радикально повышая их боевую эффективность. В системе сохраняется возможность взаимного обмена данными, как между летательными аппаратами, так и летательных аппаратов с наземными (воздушными) командными пунктами управления (наведения), оборудованными аппаратурой, телеметрически связанной с авиационным оборудованием ЛА, в двух независимых системах связи: в первой, условно названной система обмена данными типового комплекса связи (СОД ТКС) (далее по тексту сокращенно ТКС), посредством приемо-передающих и оконечных устройств обработки информации (поз.8-16, фиг.1) бортового комплекта аппаратуры радиотелеметрической связи СУВ ЛА 4-го поколения и во второй - ОСНОД, посредством авиационного терминала AT (поз.17, фиг.2) бортового комплекта аппаратуры радиотелеметрической связи СУВ ЛА 5-го поколения. Однако установка дополнительного оборудования, а именно авиационного терминала AT системы ОСНОД, увеличивает общую массу летательного аппарата, снижая его летно-тактические характеристики (ЛТХ), что следует из известной формулы Брега: L=K·V/C·ln(Мсн/Мсн+Мт/Мсн), где L - дальность полета, К - коэффициент аэродинамического качества на крейсерском режиме, V - крейсерская скорость, С - удельный расход топлива в кг/кг тяги в час. Мсн - масса снаряжения ЛА, Мт - масса топлива. Очевидно, что увеличение массы снаряжения ЛА приводит к уменьшению дальности и снижению высоты полета. На ЛА 4-го поколения получены наилучшие ЛТХ с полным снаряжением при значениях К=10, С=0,85, Мт=0,3 Мсн. Это является принципиальным для летательных аппаратов, уже принятых на снабжение, и дооборудование их ценой снижения ЛТХ нежелательно. Кроме того, на летательных аппаратах 4-го поколения просто не имеется свободных объемов для размещения дополнительного оборудования. Поэтому система управления вооружением СУВ с авиационным терминалом системы ОСНОД в данное время может устанавливаться только на проектируемые летательные аппараты, относящиеся к 5-му поколению ЛА и частично на ЛА, находящиеся в завершающей фазе строительства, которые относятся к поколению летательных аппаратов 4++, которые по техническому облику стоят ближе к ЛА 5-го поколения.

[7]

Следовательно, формирование смешанного боевого порядка из ЛА различных поколений в целях радикального повышения их совместной боевой эффективности за счет организации взаимного обмена данными в современных сетях системы связи ОСНОД ЛА 5-го поколения и ЛА 4-го поколения невозможно из-за отсутствия, в составе СУВ последних авиационного терминала системы ОСНОД, а формирование смешанного боевого порядка из ЛА различных поколений путем организации взаимного обмена данными в сетях СОД ТКС возможно, но мало эффективно, так как установленное оборудование на ЛА 4-го поколения способно реализовать только «жесткую» по подчиненности (рангам ЛА) циклограмму связи с частотно-временным разделением абонентов («экипажей» ЛА) в сети обмена данными, как между ЛА в группировках, так и между ЛА и наземными (воздушными) командными пунктами управления (наведения), что не позволяет оптимально адаптировать частотно-временной ресурс сети связи к непрерывно изменяющейся воздушной обстановке, требующей в реальном времени производить исключение потерянных или выбывших из сети связи ЛА и аккредитацию новых ЛА, заранее неизвестных, но опознанных средствами идентификации как свои. Кроме того, оборудование на ЛА 4-го поколения имеет большой вес и габариты, так как создано на технических решениях 1980-90-х годов.

[8]

Указанные недостатки устраняются предлагаемым техническим решением. Задачей настоящего изобретения является радикальное повышение эффективности боевых действий при их осуществлении смешанной группировкой, состоящей из летательных аппаратов 4-го и 5-го поколений и их модификаций за счет использования многофункционального малогабаритного цифрового интегрированного модуля средств связи (ЦИМСС) бортового комплекта аппаратуры радиотелеметрической связи СУВ ЛА для взаимного обмена информацией и автоматической передачи приказов на атаку, позволяющего одновременно исключить полностью или частично из состава бортового комплекта аппаратуры радиотелеметрической связи значительную часть аппаратных средств, например, в модификациях СУВ ЛА (фиг.1 и фиг.2 позиции 9, 10, 11, 12, 13, 14, 15 и 16), функции которых он может выполнить своими программно-аппаратными средствами. Цифровой интегрированный модуль средств связи 18 (фиг.3) по сути представляет собой многофункциональный связной процессор - электронный блок, состоящий из специализированных субблоков на базе сигнальных процессоров: субблока организации обмена данными по каналам радиотелеметрической связи с обеспечением помехоустойчивого кодирования информации Сб.18-1, субблока речевого воспроизведения принимаемых стандартных цифровых сообщений Сб. 18-2, субблока приема специализированных команд управления Сб. 18-3, субблока абонентской внутренней связи и коммутации Сб. 18-4, субблоков организации последовательных и параллельных интерфейсов Сб.18-5 и резервных входов/выходов Сб. 18-6, комплекта субблоков питания, коммутаторов, фильтров Сб. 18-7 и двух мультиплексных шин VME, одна из которых связывает все субблоки в единый блок, конструктивно и функционально исполненный как составная часть комплекта аппаратуры радиотелеметрической связи, другая служит для выхода и связи с внешними системами. Блок наделен собственным адресом для его идентификации в составе радиоэлектронного оборудования СУВ летательного аппарата и взаимодействует с ним своими входами/выходами по протоколам информационно-логического сопряжения. Он может быть связан с вычислительной системой «СУВ» как через локальную мультиплексную шину данных, так и через мультиплексную общую магистральную шину данных летательного аппарата. При этом выигрыш относительно аналога по соотношению массы высвобожденной аппаратуры к массе установленной составляет 4,8 раза и, соответственно, по соотношению объемов упомянутой аппаратуры в 7,1 раза (фиг.4). Высвобожденные объемы позволяют дополнительно размещать на летательных аппаратах 4-го поколения авиационные терминалы без ухудшения ЛТХ ЛА и обеспечивать взаимный обмен данными в сетях системы ОСНОД как между ЛА 4-го и 5-го поколений в смешанных группировках, так и ЛА с наземными (воздушными) командными пунктами управления (наведения) авиации.

[9]

Наряду с этим, в отличие от аналога и прототипа, имеющих возможность использования в интересах организации информационного взаимодействия истребителей в смешанной группировке ЛА, только общий канал радиотелеметрической связи ТКС, доступ к которому на передачу информации осуществляется по команде командира группы с использованием «жесткой» циклограммы работы в сетях ТКС (фиг.5), то есть с использованием «жесткого» режима разделения времени работы и принципа «запрос-ответ» по принятой в авиации иерархической структуре подчиненности по рангам, ограничивая возможности «экипажам» ЛА адаптировать связь к условиям внезапного изменения оперативно-тактической обстановки, в предлагаемом техническом решении программными средствами ЦИМСС в СУВ ЛА, не оборудованных авиационными терминалами AT системы ОСНОД, обеспечивается возможность реализации «мягкой» циклограммы работы в сетях системы обмена данными ТКС (фиг.6), способной адаптироваться к изменениям оперативно-тактической обстановки, путем незначительной реструктуризации программными средствами ЦИМСС и программными средствами наземных (воздушных) командных пунктов управления (наведения) авиации структурно-адресной части (САЧ) в формулярах (кодограммах), принятых на снабжение для обмена данными как между ЛА в группировках, так и ЛА с наземными (воздушными) командными пунктами управления (наведения) авиации. Предлагается, за счет наличия избыточности по количеству бит в САЧ, использовать ее не только для идентификации конкретного пользователя, но и для индицирования текущего состояния «сетевых адресов» группировки ЛА, находящихся на обслуживании командного пункта управления (наведения). Программное обеспечение ЦИМСС при формировании «мягкой» циклограммы взаимодействия с летательными аппаратами позволяет абонентам, взаимодействующим с пунктом управления, максимально оптимизировать время нахождения на канале связи с пунктом управления, что дает возможность разделять по времени использование имеющиеся на пунктах управления (ПУ) средства связи для взаимодействия с группировками летательных аппаратов. Взаимодействие летательного аппарата с ПУ основано на присутствии в служебно-адресной части САЧ сообщений, передаваемых между пунктом управления и несколькими абонентами «сетевой матрицы», структура которой может быть такой, как это представлено, например, на фиг.7 для 12 абонентов связи, при этом индицирование текущего состояния сетевых адресов на пункте управления может быть представлено следующим образом:

[10]

- 00 - признак свободного сетевого адреса, который пункт управления может присвоить любому абоненту, прошедшему аккредитацию на канале связи пункта управления по системному (уникальному) адресу. Системный адрес может быть известен на пункте управления заранее или определен, например, во время процедуры государственного опознавания;

[11]

- 01 - признак сетевого адреса, по которому пункт управления готов аккредитовать известного ему абонента. Сетевой адрес присваивается абоненту до начала его работы с пунктом управления;

[12]

- 10 - сетевой адрес, обладатель которого аккредитован на канале связи пункта управления, и к которому пункт управления не готовит обращения;

[13]

- 11 - сетевой адрес, обладатель которого аккредитован на канале связи пункта управления, и к которому пункт управления готовит обращение.

[14]

Содержание абонентской части «сетевой матрицы» в сообщениях абонентов всегда дублируется из сообщений, получаемых с пункта управления.

[15]

Адресная часть «сетевой матрицы» (Адрес приемника и Адрес источника) определяет направление передачи текущего сообщения:

[16]

- коды «0001»…«1100» - сетевые адреса абонентов. В сообщениях пункта управления используется для идентификации абонента, которому адресовано текущее сообщение (Адрес приемника). В сообщениях абонентов используется для собственной идентификации (Адрес источника);

[17]

- «0000» - адрес пункта управления. В сообщениях пункта управления (Адрес источника) используется для индикации отсутствия планирования процедуры аккредитации абонентов, которым сетевые адреса не были назначены заранее. Код «0000» всегда используется абонентами (аккредитованными или аккредитуемыми по сетевому адресу) для обращения к пункту управления (Адрес приемника);

[18]

- «1111» - адрес пункта управления. Используется только пунктом управления (Адрес источника) для индикации планирования процедуры аккредитации абонентов, которым сетевые адреса не были назначены заранее.

[19]

Из приведенного выше описания «сетевой матрицы» следует, что практически во время каждого сеанса связи в канале связи пункта управления присутствует информация о текущем состоянии абонентов, которые находятся на сопровождении у пункта управления. Для пункта управления, формирующего соответствующие состояния признаков «сетевой матрицы», это дает возможность исходя из тактической обстановки индицировать перспективу взаимодействия с любым из абонентов, а абонентам - определять время, которое необходимо находиться на канале пункта управления.

[20]

Таким образом, предлагаемый способ организации взаимодействия в канале связи пункта управления позволяет:

[21]

- оперативно менять конфигурацию абонентов сети, без нарушения работы абонентов по решению других связных задач;

[22]

- строить циклограмму взаимодействия между пунктом управления и абонентами сети, исходя из реального числа сопровождаемых абонентов, что позволяет оптимально использовать информационный ресурс канала связи;

[23]

- максимально сократить время нахождения абонентов на канале связи пункта управления и оптимизировать использование технических средств пунктов управления группировками ЛА на решение других связных задач.

[24]

К примеру, для реализации «жесткой» циклограммы на пункте управления при сопровождении объединенной группы или четырех автономных групп ЛА необходимо иметь как минимум четыре одновременно работающие радиостанции, каждая из которых закреплена за одной из автономных групп, а при реализации «мягкой» циклограммы достаточно одной радиостанции для обеспечения взаимодействия с несколькими группами ЛА.

[25]

Технический результат достигается тем, что в известную систему управления вооружением СУВ ЛА (фиг.1), включающую многофункциональную бортовую радиолокационную станцию и оптико-электронную, например, телевизионную визирную систему, бортовой комплект аппаратуры наведения и бортовой комплект навигационного оборудования с датчиками полетной информации, комплект индикаторов прицельной, навигационной и пилотажной информации, а также вычислительную систему, связанную с перечисленными устройствами и с бортовым комплектом аппаратуры радиотелеметрической связи, включающим приемопередающее устройство, подключенное входом через шифратор и выходом через дешифратор к вычислительной системе и двумя другими входами соединенное с преобразователями сигналов в цифровую форму, программное устройство перестройки частоты приемопередающего устройства, подключенное его выходом к приемопередающему устройству и входами к двум преобразователям сигналов в цифровую форму и к вычислительной системе, пульт управления с двумя галетными переключателями для задания режимов работы радиотелеметрической связи и ранга летательного аппарата в групповом взаимодействии, пульт целераспределения с кнопками ввода и отмены заданий, передаваемых по радиотелеметрической связи, и наборным полем этих заданий, индикатор тактической обстановки для воспроизведения результатов обмена информацией и заданий, при этом пульты управления и целераспределения снабжены преобразователями их выходных сигналов в цифровую форму, а индикатор тактической обстановки - цифроаналоговым преобразователем, и все три устройства соединены с вычислительной системой, авиационный терминал автоматизированной системы объединенной связи, навигации и обмена данными, подключенный входом к программному устройству бортового комплекта аппаратуры радиотелеметрической связи для приема команд управления терминалом, а выходами/входами к вычислительной системе для передачи/приема сигналов взаимодействия терминала с собственным радиоэлектронным оборудованием летательного аппарата, в бортовой комплект аппаратуры радиотелеметрической связи дополнительно введен цифровой интегрированный модуль средств связи, позволяющий программными средствами обеспечить решение функциональных задач значительной части аппаратуры (фиг.1, поз.9-11, 13, 15), исключив их полностью или частично из состава бортового комплекта аппаратуры телеметрической связи, предоставляя тем самым возможность на освободившиеся места на борту летательного аппарата 4-го поколения, разместить авиационный терминал AT и организовать «мягкую», адаптивную к текущей оперативно-тактической обстановке летательных аппаратов в воздухе, циклограмму взаимного обмена данными ЛА различных поколений в смешанных боевых порядках (группировках ЛА) как между собой, так и с наземными (воздушными) командными пунктами управления (наведения) авиации, оборудованными аппаратурой, телеметрически связанной с авиационным оборудованием летательных аппаратов, в двух по выбору независимых сетях системы обмена данными, а именно: средствами ТКС (СОД с обеспечением возможности адаптации к текущей воздушной обстановке) и средствами авиационного терминала системы ОСНОД, обеспечивая высокую надежность взаимного обмена данными воздушной и наземной обстановки, радикально повышая их боевую эффективность, подключенного своим выходом/входом к цифровому интегрированному модулю средств связи бортового комплекта аппаратуры радиотелеметрической связи для приема/передачи по локальной линии (цепи) мультиплексной связи команд (сигналов) управления и информационных сигналов обмена данными, полученных с взаимодействующих ЛА (фиг.8); или, при интеграции в системе управления вооружением СУВ ЛА всех пультов, устройств индикации и регистрации в информационное поле управления единого кабинного бортового оборудования (ЕКБО) в составе вычислительной системы СУВ ЛА, получившее в ряде модификаций СУВ летательных аппаратов наименование как многофункциональный пульт-индикатор (МФПИ), а в ряде модификаций - как многофункциональный пульт управления (МФПУ), и использования общей на ЛА магистральной шины данных (МШД), подключенный своими входами/выходами к общей на ЛА магистральной шине данных, управляемой вычислительной системой, организующей в МШД все процедуры информационного взаимодействия собственного радиоэлектронного оборудования СУВ ЛА по командам (сигналам), поступающим с информационного поля управления единого ЕКБО ЛА (фиг.9). Использование в составе аппаратуры радиотелеметрической связи многофункционального малогабаритного цифрового интегрированного модуля средств связи, способного алгоритмическими методами решать функции значительной части аппаратных средств аналога и прототипа (практически за счет развития программных средств в блоке 9 (фиг.1), образуя в единой конструкции многофункциональный модуль связи и передачи данных) и создавать программными средствами перестраиваемые информационные сети связи и обмена данными в смешанных группировках ЛА 4-го и 5-го поколения, существенно улучшает ЛТХ летательного аппарата и повышает боевую эффективность группировок ЛА. Этим обусловлено полное наименование отличительной части предлагаемого технического решения: цифровой интегральный модуль средств связи, или в некоторых вариантах его комплектации как модуль связи и передачи данных (МСПД).

[26]

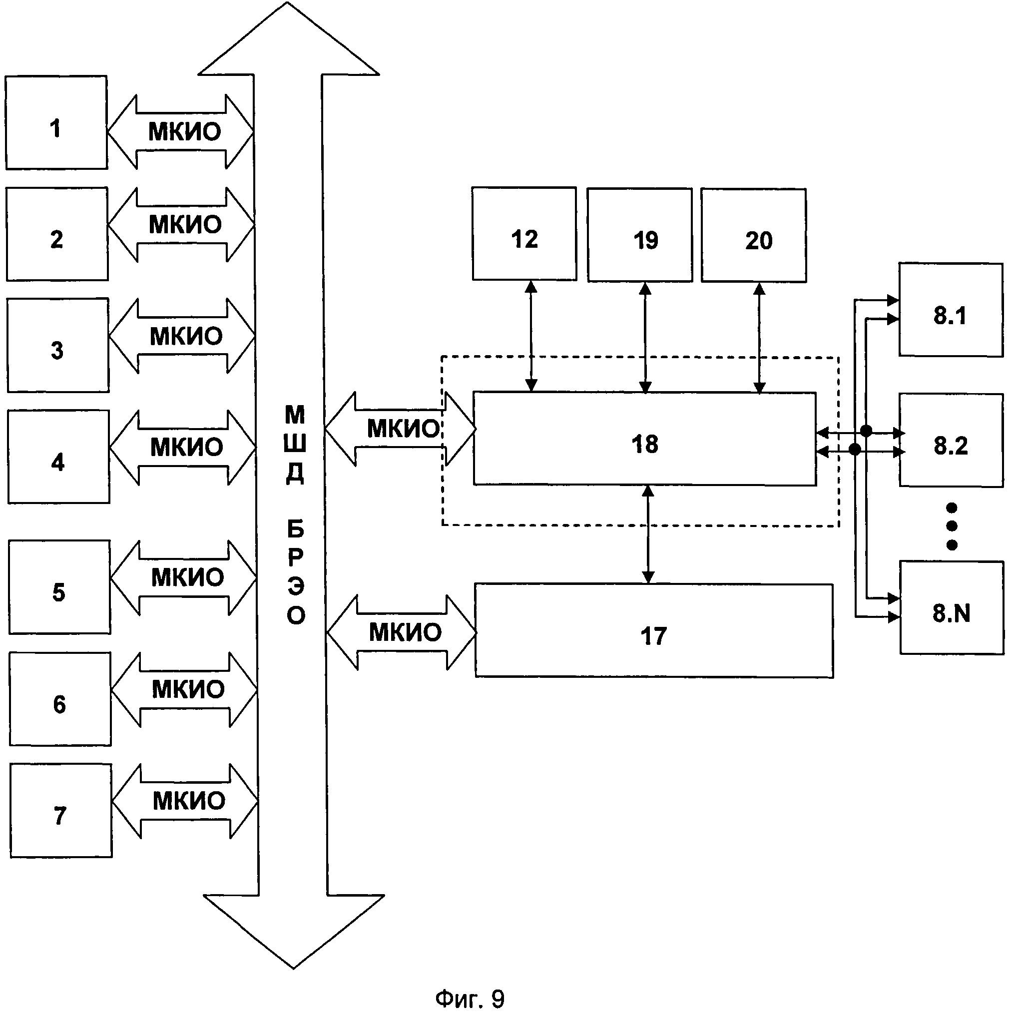
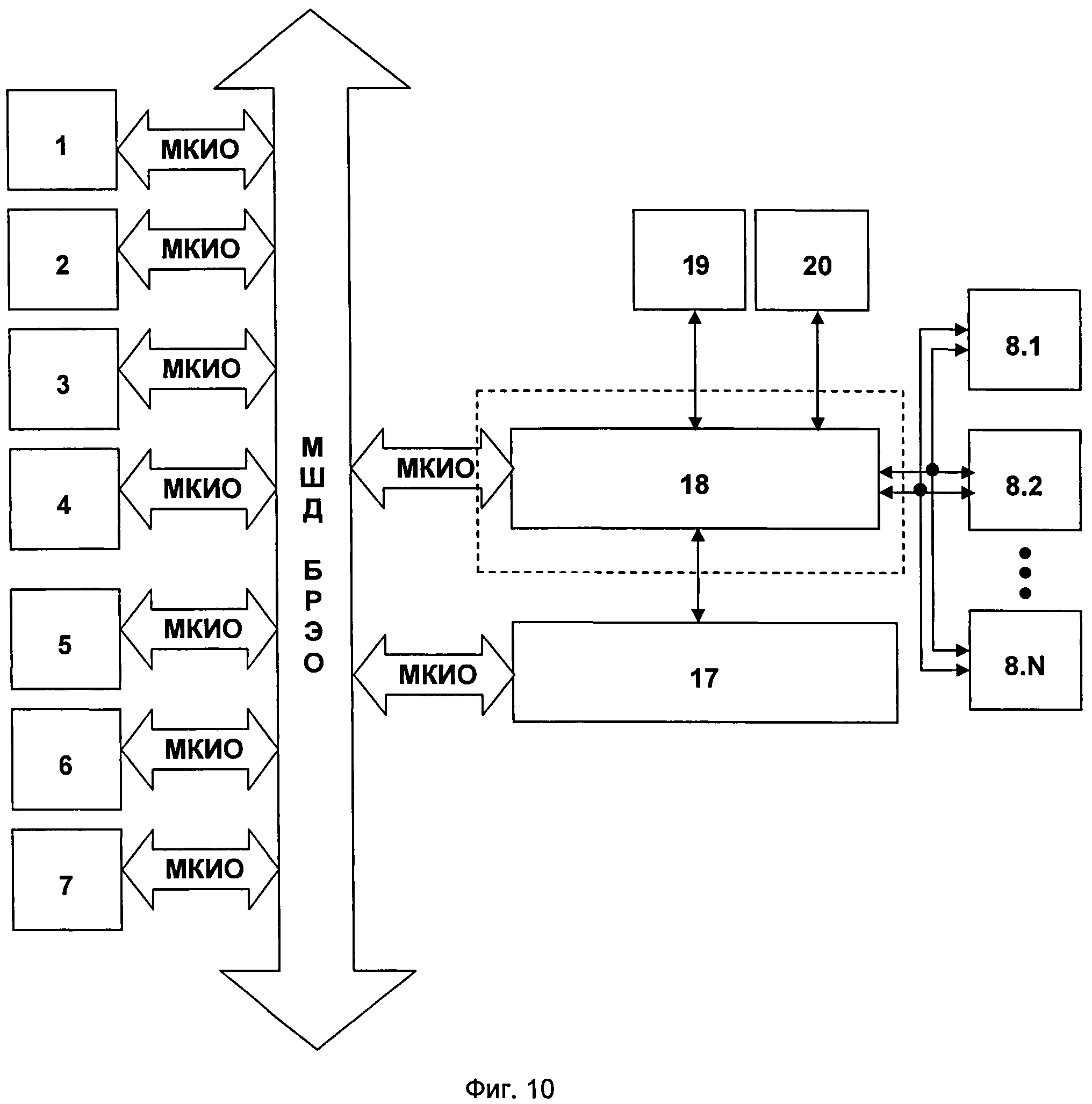
В состав предлагаемой по данному техническому решению системы управления вооружением летательного аппарата (фиг.8, фиг.9) входят: многофункциональная бортовая радиолокационная станция 1; оптико-электронная (в частном случае телевизионная) визирная система 2; бортовой комплект аппаратуры наведения 3; бортовой комплект навигационного оборудования 4 с датчиками полетной информации; вычислительная система 5, связанная с названным оборудованием; бортовой комплект индикаторов прицельной, навигационной и пилотажной информации 6, подключенный к вычислительной системе 5; аналогично включенный в схему индикатор тактической обстановки (ИТО) 7; приемопередающие устройства 8 системы радиотелеметрической связи, обеспечивающей взаимодействие с СУВ других летательных аппаратов, подключенный к ним своими входами/выходами цифровой интегрированный модуль средств связи 18, а выходами/входами к вычислительной системе 5, пульт управления 12 для задания режимов работы комплекта аппаратуры системы радиотелеметрической связи, подключенный своими входами/выходами к цифровому интегрированному модулю средств связи, авиационный терминал 17 автоматизированной системы объединенной связи, навигации и обмена данными, подключенный своими входами/выходами к цифровому интегрированному модулю средств связи 18 (фиг.8) или, при наличии общей МШД, непосредственно к вычислительной системе 5 системы управления вооружением летательного аппарата (фиг.9), блоки 19 и 20 шифрования речи и данных, своими входами/выходами односторонне подключенные к цифровому интегрированному модулю средств связи 18. При более глубокой интеграции пультового оборудования в составе бортового радиоэлектронного оборудования летательного аппарата блок 12 из комплекта аппаратуры радиотелеметрической связи может быть исключен (фиг.10). Блок 18, обведенный штриховой линией на фиг.8, фиг.9 и фиг.10, образует отличительную часть технического решения (конкретно предлагаемый предмет предлагаемого изобретения). Блок-схема цифрового интегрированного модуля средств была представлена на фиг.3.

[27]

Цифровой интегрированный модуль средств связи обеспечивает возможность организации сети связи и обработки данных ТКС собственными средствами в нескольких информационных сетях (ИС), выбранных в соответствии с заданием на полет:

[28]

- в сети обзора оперативно-тактической обстановки (ИС ОТО),

[29]

- в сети управления тактической группой (ИС ГР),

[30]

- в сети управления объединенной группой (ИС ОГ),

[31]

- в сети взаимодействия с пунктом управления (ИС ПУ) с частотно-временным разделением (доступом) абонентов к общему каналу в перечисленных сетях связи и адаптивного использования выделенного временного ресурса сетей связи в зависимости от оперативно-тактической обстановки летательных аппаратов в воздухе за счет организации «мягкой» циклограммы обмена данными абонентов (летательных аппаратов и пунктов управления) связи.

[32]

Кроме того, цифровой интегрированный модуль средств связи обеспечивает возможность установки на летательные аппараты 4-го поколения, принятые на снабжение МО России, авиационного терминала системы ОСНОД и его управления для организации одновременной и независимой работы в вышеупомянутых сетях связи в смешанных строевых порядках летательных аппаратов различных поколений в целях повышения боевой эффективности их группировок.

[33]

Таким образом, существенное отличие предложенного технического решения сводится к тому, что с введением в комплект аппаратуры радиотелеметрической связи СУВ ЛА цифрового интегрированного модуля средств связи обеспечивается организация взаимного обмена данными в информационных сетях радиотелеметрической связи между летательными аппаратами 4-го и 5-го поколений и смешанных группировок летательных аппаратов с пунктами управления (наведения) как программно-аппаратными средствами цифрового интегрированного модуля средств связи, образуя «мягкую», адаптивную к оперативно-тактической обстановке в воздухе, циклограмму обмена данными, так и средствами авиационного терминала системы ОСНОД с высокой надежностью отдания и исполнения приказов на атаку целей, радикально повышая боевую эффективность группировки летательных аппаратов.

[34]

При этом реализуется возможность раздельного и одновременного обмена данными в различных информационных каналах комплекта аппаратуры радиотелеметрической связи как средствами цифрового интегрированного модуля средств связи, так и средствами AT, посредством включения в состав информационного поля ЕКБО дополнительных управляющих функций или органов управления, например, в варианте исполнения ЕКБО как многофункционального пульта-индикатора (МФПИ) органы управления могут быть представлены в виде электронных страниц с циклическим их перебором по принадлежности к управляемому оборудованию и выполняемым функциям, при этом многофункциональные кнопки (МФК) выбора страниц и строк могут быть механического или сенсорного типа. Информация о выбранных режимах работы в строках страницы может быть представлена в виде текстовых транспарантов различной цветовой окраски с точки зрения эргономики и дополнительной информации «экипажу». Возможная организация формы страниц и состава органов управления МФПИ для комплекта аппаратуры радиотелеметрической связи, в частном случае для варианта комплектации с наименованием комплекс средств связи (КСС) с цифровым интегрированным модулем средств связи и AT, представлена на фиг.11 и фиг.12.

[35]

На фиг.13 представлен вариант формирования сведений на ИТО в ситуации, когда подразделение из четырех летательных аппаратов атакует противника, включающего четыре реально обнаруженные цели.

[36]

Признаком изображения цели на экране ИТО, если она обнаружена с помощью БРЛС, является треугольник. При обнаружении цели с помощью оптико-электронной визирной системы цель изображается в виде треугольника, не замкнутого в основании. Если цель задана с помощью наземной автоматизированной системы управления (НАСУ), но еще не обнаружена ни одной бортовой визирной системой, то ее признаком служит отсутствие треугольника. Для своих ЛА аналогичным образом введена отметка в виде кружочка. Переменный по длине горизонтальный штрих, примыкающий к комбинированному изображению цели (к указанному признаку ее опознавания), в условно принятом масштабе индицирует величину скорости цели, вертикальный - высоту ее нахождения в пространстве, а разворотом всего изображения вокруг точки пересечения штрихов указывается относительный курс цели. Аналогичными штрихами обозначаются скорости и высоты своих ЛА. Принятый масштаб изображения линейных величин записан цифрой в левом нижнем углу экрана с приложением к ней сопоставляемых линейных размеров. Для каждой изображенной цели цифрой записан ее упорядоченный в СУВ истребителя номер (слева от вертикальной черты). Справа от этой черты может быть обозначен номер того ЛА, которому назначено атаковать эту цель.

[37]

Аналогичным образом пронумерованы и свои ЛА. Под чертой в кружочке, изображающем положение того ЛА, для которого на его же ИТО сформирована описанная картинка, обозначен номер того ЛА, которым управляет командир группы. Пользуясь записанным масштабом линейных величин, по относительному смещению меток на экране ИТО можно прочитать координаты всех индицированных объектов (своих истребителей и целей). В нижней правой части экрана, по вертикали повторяемыми номерами, обозначены атакуемые цели в порядке возрастания их опасности для атакующей группы, если этот порядок рассматривать снизу. Форма представления тактической информации может быть разнообразной в СУВ ЛА различного функционального назначения. Данная форма представления тактической информации в настоящее время используется в системе управления вооружением ЛА аналога и прототипа и может быть принята при использовании предлагаемого технического решения без изменений.

[38]

Включение режимов работы цифрового интегрированного модуля средств связи производится по команде командира боевого строя ЛА установленным порядком. Команда на включение цифрового интегрированного модуля средств связи поступает с пультового оборудования комплекта системы радиотелеметрической связи (или с вычислительной системы СУВ ЛА по сигналу (команде) управления, поступающего с информационного поля ЕКБО в варианте исполнения СУВ ЛА с интегрированным оборудованием). Одновременно с установкой переключателя «РЕЖИМ РАБОТЫ» в позицию «ГД» и переключателя «КТО Я» в позицию «КОГ» на своем самолете командир группы с пульта управления 12 осуществляет включение цифрового интегрированного модуля средств связи 18:

[39]

- в режим формирования и обработки данных ТКС с организацией «мягкой», адаптивной к текущей оперативно-тактической обстановке в воздухе, циклограммы обмена данными в группе ЛА и группы ЛА с пунктом управления в информационной сети, параметры которой (частотно-временная матрица работы группы ЛА в цикле связи, адреса абонентов связи, ранги абонентов, количество групп, число абонентов в группе) заранее определены полетным заданием, и, в случае существенных изменений оперативно-тактической обстановки, на пункте управления формируется запрос ведущему группы на изменение параметров циклограммы и данных пользователей сети. Информация об этом закладывается в САЧ формуляра запроса и, в соответствии с запросом СОД ЛА, перестраивается;

[40]

- в режим настройки авиационного терминала AT 17 на информационную сеть (ИС) управления в оперативно-тактической группе летательных аппаратов, путем выдачи в AT набора абонентских параметров, включающих:

[41]

- собственный сетевой адрес в ИС ОТО;

[42]

- количество абонентов в ИС ОТО;

[43]

- число групп в ИС ГР;

[44]

- собственный сетевой адрес истребителя в ИС ОГ;

[45]

- номер собственной группы в ИС ОГ;

[46]

- число абонентов в собственной группе;

[47]

- собственный сетевой адрес истребителя в группе;

[48]

- режим работы в ИС ОТО: «ВКЛ-ВЫКЛ»;

[49]

- режим работы в ИС ОГ: «ВКЛ-ВЫКЛ»;

[50]

- режим работы в ИС ГР: «ГРУППА-ПАРА-ВЫКЛ».

[51]

Ведомым ЛА командир автономной группы (АГ) свое решение на переход из режима управления от командного пункта наземной (воздушной) автоматизированной системы управления к управлению по его командам в сетях системы ТКС или системы ОСНОД сообщает предварительно по обычной системе переговорной связи. Получив такое решение, «экипажи» ведомых ЛА свои галетные переключатели с наименованием «РЕЖИМ РАБОТЫ» устанавливают в одну и ту же позицию «ГД», а переключатели «КТО Я» - в позицию «ВДЩ» или «ВДМ» (в зависимости от ранга летательного аппарата) и, таким образом, задают сигналы в свой цифровой интегрированный модуль средств связи для настройки радиосети, пригодной для радиотелеметрического обмена информацией с командиром объединенной группы в системе ТКС или AT системы ОСНОД. Если обмен данными осуществляется в объединенной группе (ОГ), то переключатель «РЕЖИМ РАБОТЫ» устанавливается: КОГ и ВДМ в положение «ГД», а ВДЩ в положение «ОТКЛ»).

[52]

Экспериментально выполненные работы в упомянутых информационных сетях с использованием программно-аппаратных средств цифрового интегрированного модуля средств связи показывают, что для всех взаимодействующих СУВ обеспечивается автоматический обмен информацией и представление конечных результатов экипажам в том виде, как это изображено в качестве возможного примера фиг.13. Для использования данного технического решения символика, принятая на индикаторе тактической обстановки, не требует доработок. При этом командир объединенной группы или командир автономной группы непосредственно командирам звеньев или своим ведомым могут ставить задачи на осуществление атаки назначенных целей, путем нажатия соответствующих кнопок на пульте целераспределения, практически в режиме реального времени. Ошибки своих манипуляций командир может исправлять нажатием кнопки «СБРОС» и повторением набираемого задания в новом качестве. Разными позициями установки переключателя «КТО Я» реализуются соответствующие различия в программах настройки и обработки информации и разное проявление результата манипуляций кнопками пульта целераспределения. На самолете ведомого «экипажа» этот пульт фактически отключается, поскольку такой «экипаж» может только получать задания. Передача всех сведений в пространство в системе обмена данными ТКС производится радиокодами, формирование которых обеспечивается шифратором, а обратное преобразование в цифровую форму, характерную для работы вычислительных систем СУВ, дешифраторами цифрового интегрированного модуля средств связи. При необходимости передачи/приема конфиденциальной речи и конфиденциальной информации о цифровых данных в цифровом интегрированном модуле средств связи предусмотрены соответствующие выходы/входы для подключения специальной аппаратуры.

[53]

При групповых действиях в автономной группе командир звена устанавливает переключатель «КТО Я» в положение «ВДЩ» и переключатель «РЕЖИМ РАБОТЫ» в положение «ГД», а ведомые в автономной группе устанавливают переключатель «КТО Я» в положение «ВДМ» и переключатель «РЕЖИМ РАБОТЫ» в положение «ГД».

[54]

При групповых действиях в автономных парах командиры групп переключатели «КТО Я» устанавливают в положение «ВДЩ», а ведомые пары в положение «ВДМ». Номер пары у ведущего и его ведомого устанавливается переключателем «РЕЖИМ ОБМЕНА» в положение «ПАРА 1» или «ПАРА 2» для разных пар.

[55]

Если командир первой пары в любом звене с разрешения вышестоящего командира или своим собственным решением предполагает перейти к автономным действиям, то перестройку СУВ своего самолета и самолета своего ведомого на предельно упрощенную схему взаимообмена информацией в пределах одной пары ЛА он осуществляет переводом переключателя «РЕЖИМ РАБОТЫ» в позицию «ПАРА 1». Аналогичным образом может поступить и командир второй пары, для которого определена позиция того же переключателя с обозначением «ПАРА 2».

[56]

В случае отсутствия в составе ЕКБО пульта МФПИ установкой переключателя «СЕТЬ ОБМЕНА» в положение «ПН» (НАВЕДЕНИЕ), или в варианте исполнения СУВ ЛА с МФПИ - позиции «БАН» - бортовое автономное наведение, переключателя «РЕЖИМ ОБМЕНА» в положение «ОТКЛ» и переключателя «КТО Я» в положение «КОГ» или «ВДМ» «экипаж» любого ЛА выключает себя из групповых действий и подключается к централизованному управлению (наведению своего ЛА) по каналу наземной автоматизированной системы управления. Такая возможность при всей важности утверждаемых в данной заявке групповых действий должна быть предусмотрена хотя бы на случай потери боеспособности какого-либо ЛА. Подключение к наземной автоматизированной системе управления позволит такому ЛА наиболее благополучно возвратиться на свой аэродром.

[57]

К особенностям работы и управления цифрового интегрированного модуля средств связи с авиационным терминалом, следует отнести следующее:

[58]

- переключатели «КТО Я» и «РЕЖИМ ОБМЕНА» обрабатываются вычислительной системой СУВ, которая непосредственно, либо через цифровой интегрированный модуль средств связи выдает в AT управляющие команды, включающие:

[59]

- команду на включение (выключение) сети AT для обмена информацией в группе;

[60]

- собственный номер ЛА в группе, соответствующий номеру собственного передающего канала в сети;

[61]

- состав прослушиваемых каналов других ЛА в группе.

[62]

В ряде модификаций КСС информационная сеть авиационного терминала задается нажатием многофункциональной кнопки, расположенной в МФПИ, через выдачу разовой команды-сигнала, поступающего в AT по шине МКИО, именуемой «БЗ» (боевое задание).

[63]

На модернизируемых самолетах при дополнительной установке терминала управление его по телефонным каналам и каналам обмена данными обеспечивается с объединенного пульта управления (ОПУ) комплекса связи, на котором устанавливается номер телефонного канала AT и номер режима AT. В AT по номеру режима включается заданная в ППИ рабочая информационная сеть. Управляющая информация от ОПУ в AT поступает через цифровой интегрированный модуль средств связи.

[64]

При этом работа абонента сети инварианта к статусу абонента («КОГ», «ВДЩ», «ВДМ»). В сети все абоненты работают одинаково и отличия только в информационном содержании кодограмм.

[65]

При смене положения переключателя «РЕЖИМ ОБМЕНА» «экипаж» ЛА может соответствующим образом менять состав прослушиваемых каналов (абонентов сети), а может и не менять, оставляя возможность прослушивания всех абонентов группы, что позволяет «экипажам», работая (информационно) даже в паре истребителей, получать информацию от других абонентов группы, идентифицируя их состояние в боевом полете, при этом также возможно получение каких-либо других команд (например, сбор группы и т.п.). Так, например, сеть взаимодействия с пунктом управления авиационного терминала работает параллельно с сетью «ГД», т.е. обмен информацией с пунктом управления может осуществляться параллельно с работой в сети «ГД».

[66]

Существующий канал ближней командной связи МВ-ДМВ диапазонов предлагается использовать параллельно с работой авиационного терминала, либо для групповых действий (обмена данными) с летательными аппаратами, пока необорудованными авиационными терминалами, либо для приема команд наведения с наземной АСУ, либо для групповых действий в составе объединенной группы параллельно каналам авиационного терминала.

[67]

Экспериментальная проверка предложенного технического решения в учебных полетах на самолетах типа Су-27СМ(3), Су-34, Су-35С показывает, что использование заявляемой системы управления вооружением летательного аппарата позволяет получить новое качество: обеспечить, в отличие от аналога, «мягкую» циклограмму обмена данными в смешанной группировке летательных аппаратов и организовать, в отличие от прототипа, взаимодействие группировок летательных аппаратов различных поколений (по годам выпуска и техническому облику), радикально повышая их боевую эффективность. Настоящее техническое решение предполагается к использованию практически на всех типах боевых самолетов и вертолетов авиации РФ.

Как компенсировать расходы
на инновационную разработку
Похожие патенты