патент
№ RU 2700285
МПК G01N3/58
Номер заявки
2019101337
Дата подачи заявки
17.01.2019
Опубликовано
16.09.2019
Страна
RU
Как управлять
интеллектуальной собственностью
Чертежи 
3
Реферат

Изобретение относится к технике измерения сопротивлений грунтов копанию. Стенд содержит опоры, рычаги, направляющие рельсы, тензометрическую тележку, привод с тяговой лебедкой, винтовой привод. Направляющие рельсы соединяются с рычагами для наклона тензометрической тележки с рабочим органом. Один конец рычагов образует ось вращения с опорами, второй конец рычагов соединяется с приводными стержнями с винтовой резьбой, которые снабжены опорными и подъемными гайками с уголками. Приводные стержни соединяются с опорами, а опоры с отверстиями на краях соединяются с основанием, рабочий орган соединяется с держателем тензометрической тележки, который с одной стороны образует ось вращения с рамой тензометрической тележки, а с другой стороны держателя есть отверстие, которое соосно фиксируется с отверстиями на раме при помощи болтового соединения для изменения угла захвата рабочего органа. Технический результат: возможность изменения углов захвата и наклона рабочего органа землеройной машины и возможность проводить работу в лабораторных или полевых условиях. 3 з.п. ф-лы, 6 ил.

Формула изобретения

1. Стенд для измерения силы сопротивления грунтов резанию, включающий опоры, рычаги, направляющие рельсы, тензометрическую тележку, привод с тяговой лебедкой, винтовой привод, отличающийся тем, что направляющие рельсы соединяются с рычагами для наклона тензометрической тележки с рабочим органом, один конец рычагов образует ось вращения с опорами, второй конец рычагов соединяется с приводными стержнями с винтовой резьбой, которые снабжены опорными и подъемными гайками с уголками, затем приводные стержни соединяются с опорами, а опоры с отверстиями на краях соединяются с основанием, рабочий орган соединяется с держателем тензометрической тележки, который с одной стороны образует ось вращения с рамой тензометрической тележки, а с другой стороны держателя есть отверстие, которое соосно фиксируется с отверстиями на раме при помощи болтового соединения для изменения угла захвата рабочего органа.

2. Стенд для измерения силы сопротивления грунтов резанию по п. 1, отличающийся тем, что привод с тяговой лебедкой устанавливаются на платформу, которая крепится к одному из рычагов.

3. Стенд для измерения силы сопротивления грунтов резанию по п. 1, отличающийся тем, что тензометрическое звено соединяют между тензометрической тележкой и крюком тяговой лебедки.

4. Стенд для измерения силы сопротивления грунтов резанию по п. 1, отличающийся тем, что основанием для установки стенда являются торцы винтовых свай или борта грунтового канала.

Описание

[1]

Настоящее изобретение относится к технике измерения сопротивлений грунтов копанию и может быть использовано для определения сил, действующих на рабочий орган землеройной машины.

[2]

Из существующего уровня техники известен стенд для исследования режимов резания грунта рабочим органом землеройной машины (SU 397797, опубл. 17.09.1973), который включает грунтовый контейнер с закрепленной на ней рамой с направляющими рельсами, по которым перемещается тензометрическая тележка. Недостатком данного технического решения является установка привода на тензометрическую тележку, это увеличивает вес тензометрической тележки, ее инерцию при движении и сопротивление перемещению. Конструкция стенда не позволяет изменять углы наклона и захвата рабочего органа землеройной машины.

[3]

Наиболее близким к заявленному техническому решению является стенд для измерения сопротивления грунтов и снежно-ледяных образований резанию (RU 2461809, опубл. 20.09.2012), который снабжен основанием, на котором установлен жестко держатель с режущим органом, шарнирно связанным с рамой с установленными на ней кронштейнами, горизонтальными тягами и с установленными на них тензодатчиками, регистрирующими составляющие усилия резания. Недостатками данного технического решения является трудность изменения угла захвата рабочего органа, так как для этого надо снимать рабочий орган вместе держателями, также конструкция стенда не позволяет изменять угол наклона рабочего органа.

[4]

Техническим результатом заявленного изобретения является возможность изменения углов захвата и наклона рабочего органа землеройной машины и возможность проводить работу в лабораторных или полевых условиях.

[5]

Заявленный технический результат достигается тем, что стенд для измерения силы сопротивления грунтов резанию включает опоры, рычаги, направляющие рельсы, тензометрическую тележку, привод с тяговой лебедкой, винтовой привод, при этом направляющие рельсы соединяются с рычагами для наклона тензометрической тележки с рабочим органом, один конец рычагов образует ось вращения с опорами, второй конец рычагов соединяется с приводными стержнями с винтовой резьбой, которые снабжены опорными и подъемными гайками с уголками, приводные стержни соединяются с опорами, а опоры с отверстиями на краях соединяются с основанием, рабочий орган соединяется с держателем тензометрической тележки, который с одной стороны образует ось вращения с рамой тензометрической тележки, а с другой стороны держателя есть отверстие, которое соосно фиксируется с отверстиями на раме при помощи болтового соединения для изменения угла захвата рабочего органа.

[6]

С целью проведения экспериментов на стенде в лабораторных и полевых условиях, привод с тяговой лебедкой может устанавливаться на платформу, которая крепится к одному из рычагов.

[7]

С целью измерения силы сопротивления грунтов резанию рабочим органом землеройной машины, тензометрическое звено соединяют между тензометрической тележкой и крюком тяговой лебедки.

[8]

Основанием для установки стенда может быть торцы винтовых свай или борта грунтового канала.

[9]

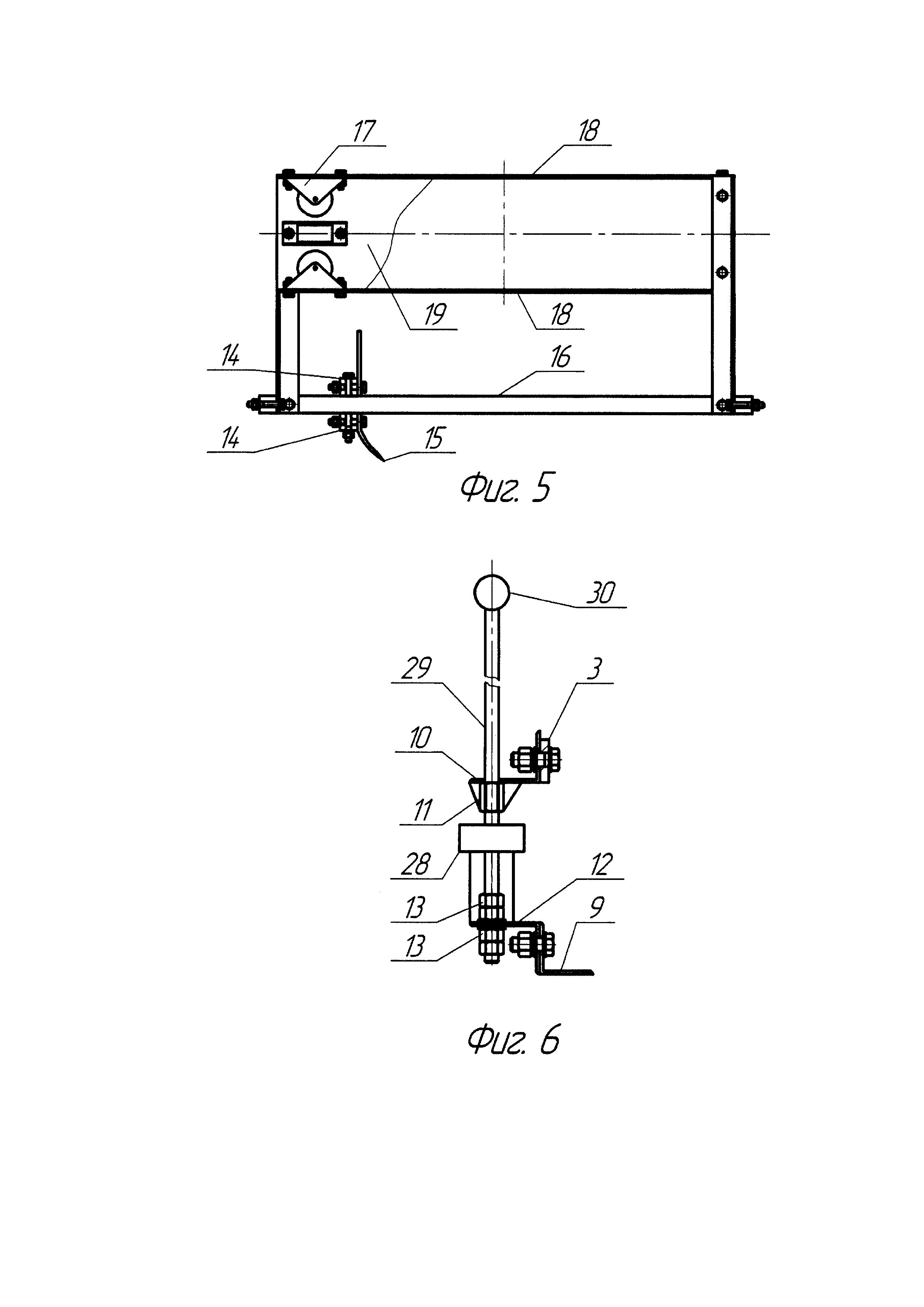
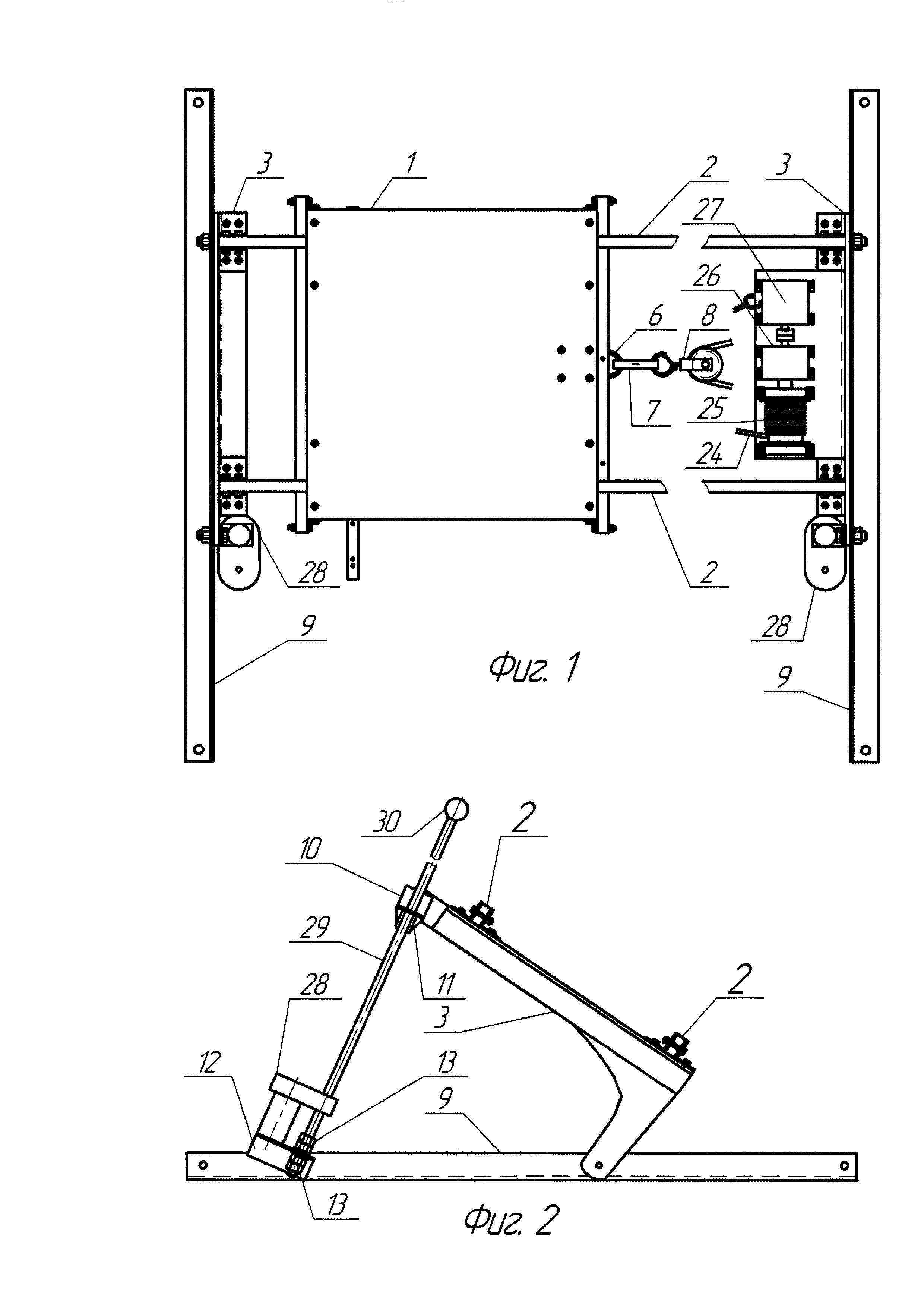
Сущность изобретения поясняется чертежами, на которых изображено: фиг. 1 - стенд; фиг. 2 - механизм изменения угла наклона рельсов; фиг. 3 - тензометрическая тележка; фиг. 4 - тензометрическая тележка, вид А; фиг. 5 - тензометрическая тележка, вид сбоку; фиг. 6 - стержень с винтовой резьбой и приводом.

[10]

Перед работой тензометрическую тележку 1 (фиг. 1) устанавливают на рельсы 2, которые жестко соединяют к рычагам 3 для наклона, на одном из рычагов 3 жестко установлена платформа с приводом для тензометрической тележки 1, тензометрическая тележка снабжена пластиной 4 с уголками 5 (фиг. 3) и звеном 6 для соединения через тензометрическое звено 7 к крюку 8 привода. Рычаги 3 со стороны короткого плеча соединяют соосно с опорами 9 (фиг. 2, 6), с другой стороны рычаги 3 соединяются через уголки 10 и гайки 11 к двум винтовым приводам, которые соединятся через уголки 12 и гайки 13 к опорам 9, которые затем жестко соединятся с основанием в виде торцов винтовых свай или бортов грунтового канала, после этого устанавливается держатель 14 с рабочим органом 15 на раму 16 тензометрической тележки 1.

[11]

Тензометрическая тележка 1 состоит из опорных роликов 17, которые жестко соединяют в проектные положения на элементы 18, 19, 20, двух листов 18, жестко соединенных через пластины 19, к которым приварены уголки 21 по всей их длине и пластин 20, которые соединяются к листам 18 через уголки 22 жестким соединением, пластины 4 с приваренными к ней уголками 5, которая жестко соединяется с листами 18, звена 6, которое соединяется с пластиной 4, стоек 23, которые жестко соединятся к пластинам 20, рамы 16, которая соединяется со стойками 23, держателем 14 на который устанавливается рабочий орган 15 и с одной стороны образует ось вращения на раме 16 для изменения угла захвата рабочего органа (фиг. 4), а с другой стороны отверстия на держателе 14 и раме 16, которые соосно фиксируются разъемным соединением для задания определенного угла захвата рабочего органа 15.

[12]

Тяговый привод (фиг. 1) состоит из крюка 8, троса 24, барабана 25, редуктора 26, мотора 27.

[13]

Винтовой привод (фиг. 2) состоит из уголка 12 на котором жестко установлен мотор-редуктор 28, стержня 29 который соединяется с уголком 12 гайками 13, таким образом, чтобы обеспечить только вращение стержня 29 (фиг. 6), также стержень 29 жестко соединяется с выходной шестерней (на схеме не изображена) мотор-редуктора 28 и является ее осью вращения, гайка 11 жестко соединена с уголком 10 и завинчивается на стержень 29, ограничителя хода 30, который затем жестко соединяется со стержнем 29.

[14]

Рычаг 3 (фиг. 2) выполнен Г-образным для того, чтобы ось вращения рабочего органа 15 в вертикальной плоскости была близкой к оси вращения рычага 3 и изготовлена из стального листа и к нему приварен уголок для придания жесткости и крепления рельсов 2.

[15]

Стенд работает следующим образом. Тензометрическая тележка 1 выкатывается на начальное положение, держатель 14 с рабочим органом 15 вращают и фиксируют на раме 16 с необходимым углом захвата, при помощи винтовых стержней 29, которые вращаются синхронно, наклоняем рельсы 2 с тензометрической тележкой 1 на необходимый угол. Включается тяговый привод и крюк 8 через тензометрическое звено 7 тянет тензометрическую тележку 1 и его показания передаются в измерительный комплекс для записи.

[16]

Таким образом, предлагаемое техническое решение позволяет проводить испытания рабочих органов при различных углах захвата и наклона в лабораторных или полевых условиях.

Как компенсировать расходы
на инновационную разработку
Похожие патенты