патент
№ RU 2642048
МПК G08B19/00

Линейный волоконно-оптический сигнализатор для систем оповещения о возгорании

Авторы:
Голубятников Виктор Николаевич Чекирда Павел Александрович Чабан Алексей Николаевич
Все (4)
Номер заявки
2016111083
Дата подачи заявки
25.03.2016
Опубликовано
23.01.2018
Страна
RU
Как управлять
интеллектуальной собственностью
Чертежи 
2
Реферат

Изобретение относится к неэлектрическим средствам обнаружения возгорания и может быть использовано во взрывоопасных зонах, в том числе, и в двигательных отсеках летательных аппаратов. Предложено устройство линейного волоконно-оптического сигнализатора для систем оповещения о возгорании, характеризующееся тем, что включает в себя двухспектральный детектор, источник излучения для контроля состояния оптоволокна, соединительное оптоволокно и чувствительный элемент, выполненный в виде длинного отрезка металлизированного кварцевого оптоволокна (диаметром 100-1000 мкм), причем толщина оптической оболочки составляет 0,05-0,1 от диаметра оптической сердцевины оптоволокна, в котором металлическое покрытие играет роль источника ИК-излучения («черного тела»). Техническим результатом является возможность постоянного мониторинга температуры в защищаемом отсеке, гибкое управление порогами срабатывания, малая инерционность, устойчивость к агрессивной внешней среде, высокая рабочая температура (до 1000°С). 3 з.п. ф-лы, 5 ил.

Формула изобретения

1. Волоконно-оптический сигнализатор для систем оповещения о возгорании, характеризующийся тем, что содержит блок регистрации, включающий в себя двухспектральный фотодетектор, источник света для контроля состояния оптоволокна, соединительное оптоволокно и чувствительный элемент, выполненный в виде длинного отрезка металлизированного кварцевого оптоволокна (диаметром 100-1000 мкм), причем толщина оптической оболочки составляет 0,05-0,1 от диаметра оптической сердцевины оптоволокна, в котором металлическое покрытие играет роль источника ИК-излучения («черного тела»).

2. Волоконно-оптический сигнализатор по п. 1, отличающийся тем, что на противоположном фотодетектору конце нанесено отражающее покрытие, закрытое дополнительным защитным колпачком (фиг. 5, поз. 6).

3. Волоконно-оптический сигнализатор по п. 1, отличающийся тем, что имеет поверх металла тонкую пленку защитного покрытия, повышающую устойчивость чувствительного элемента к данной агрессивной среде.

4. Волоконно-оптический сигнализатор для систем оповещения о возгорании по пп. 1, 3, отличающийся тем, что блок регистрации включает в себя дополнительный канал спектрального детектора, настроенного на регистрацию в длинноволновой области интенсивного поглощения ИК-излучения металлизированного оптоволокна, применяемого в качестве чувствительного элемента, с целью приблизительного определения расстояния места нагрева от фотодетектора.

Описание

[1]

Изобретение относится к неэлектрическим средствам обнаружения возгорания и может быть использовано во взрывоопасных зонах, в том числе и в двигательных отсеках летательных аппаратов. Техническим результатом является возможность постоянного мониторинга температуры в защищаемом отсеке, гибкое управление порогами срабатывания, малая инерционность, устойчивость к агрессивной внешней среде, высокая рабочая температура (до 1000°С).

[2]

Известен линейный датчик перегрева/пожара для систем пожаротушения, состоящий из чувствительной трубки, заполненной гелием, и содержащий сердечник, насыщенный водородом. Один конец чувствительной трубки запаян, а другой подсоединен к газовому коллектору в корпусе сигнализатора, где расположены три чувствительных к давлению переключателя сигнализации пожара, перегрева и проверки целостности датчика (US 5136278, Aug. 4, 1992). При повышении температуры в зоне установки датчика выше предельных значений давление газа в чувствительной трубке повышается, в результате последовательно срабатывают переключатели перегрева и пожара. Достоинство данной конструкции - простота и достаточно высокая надежность, большой допустимый диапазон длин чувствительного элемента. Из недостатков стоит отметить зависимость температуры срабатывания от протяженности нагреваемого участка, невозможность изменять пороги срабатывания переключателей в зависимости от условий эксплуатации, большое время срабатывания (>20 с). При воздействии открытого пламени с температурой порядка 1000°С могут быть ложные срабатывания, связанные с нарушением герметичности чувствительной трубки (Robert W Hefty, Paul A. De Sipio, and William A. Barcklow, «OPERATING CHARACTERISTICS OF CONTINUOUS-TYPE FIRE AND OVERHEAT WARNING SYSTEMS)), Naval Air Warfare Center (Code 6013) Aircraft Division Warminster). Подобные датчики производит компания «Meggitt safety systems inc» (model 801).

[3]

Известен волоконно-оптический линейный пожарный извещатель (RU 2467397 от 21.11.2012), состоящий из блока сигнализации и чувствительного элемента, представляющего собой отрезок многомодового оптоволокна. Работа извещателя основана на регистрации компонент комбинационного рассеяния, зависящих от температуры. Сигнализатор позволяет определять место и температуру нагрева участка волокна, длина которого может достигать нескольких километров. Достоинством его является точность определения температуры, относительно низкая стоимость чувствительного волокна, устойчивость к химическому воздействию и агрессивным средам, неподверженность влиянию ЭМ помех на чувствительный элемент.К недостаткам извещателей такого типа можно отнести большое время срабатывания (десятки секунд), высокую сложность блока сигнализации, что вызвано малой величиной полезного сигнала. Извещатели такого типа производит ООО «Этра-спецавтоматика» («извещатель пожарный тепловой линейный ИП 132-1-Р Елань»).

[4]

Известен датчик температуры, где чувствительный элемент представляет собой отрезок полимерного оптоволокна, коэффициент преломления и апертура которого зависят от температуры. При прохождении света от контрольного источника света в месте изгиба с повышением температуры возрастают и потери, что и регистрируется фотодетектором (Alberto Tapetado Moraleda, and other. «A Temperature Sensor Based on a Polymer Optical Fiber Масrо-Bend», Sensors 2013, 13, 13076-13089; doi:10.3390/sl31013076). Недостатком этого типа датчиков является ограниченный температурный диапазон (до 100°С).

[5]

Наиболее близким по технической сущности к предлагаемому является устройство для измерения температуры, содержащее источник излучения, оптоволокно, имеющее, по крайней мере, один изгиб с радиусом R, на внешнюю поверхность которого, предварительно очищенную от защитной оболочки, нанесено покрытие, выполненное из материала, показатель преломления которого зависит от температуры, другой конец оптоволокна присоединен к фотодетектору. Вследствие изменения коэффициента преломления покрытия изменяется и угол полного внутреннего отражения. Часть излучения покидает волокно во внешнюю среду, т.е. увеличиваются потери. В качестве термочувствительного оптического материала используется силикон или пленка хлористого натрия (RU 2467397, 20.11.2012). Чувствительность датчика можно изменять, изменяя радиус изгиба.

[6]

Недостатком такого датчика является малая механическая прочность чувствительного элемента, связанная с составом используемого термочувствительного оптического материала, малая устойчивость к воздействию окружающей среды. Для нормального функционирования требуется еще и защита от окружающего рассеянного освещения, способного проникать обратно в оптоволокно и вызывать ошибку в измерениях.

[7]

Задача изобретения состоит в создании линейного датчика температуры для пожарного извещателя, способного к постоянному мониторингу температуры, работоспособному в широком диапазоне рабочих температур, в том числе и высоких (до 1000°С), стойкого к агрессивному воздействию окружающей среды, с малым временем срабатывания, что позволит эффективно реагировать на первые признаки возгорания.

[8]

Поставленная задача решена за счет того, что в пожарном сигнализаторе, состоящем из чувствительного элемента и блока регистрации, включающем в себя двухспектральный фотодетектор, источника света для контроля состояния чувствительного элемента и соединительного оптоволокна, чувствительный элемент выполнен в виде отрезка (диаметром 100-1000 мкм) металлизированного кварцевого оптоволокна, причем толщина оптической оболочки составляет 0,05-0,1 от диаметра оптической сердцевины оптоволокна.

[9]

Сущность изобретения заключается в использовании в качестве чувствительного элемента отрезка металлизированного кварцевого оптоволокна, где металлическая оболочка играет роль источника ИК-излучения («черного тела»), причем толщина оптической оболочки составляет 0,05-0,1 от диаметра оптической сердцевины оптоволокна.

[10]

Работа сигнализатора основана на регистрации ИК-излучения черного тела, представляющего из себя металлическую оболочку оптоволокна. Как известно, излучение распространяется в многомодовом оптоволокне по его оптической сердцевине, испытывая полное внутреннее отражение на границе оптической сердцевины и оптической оболочки волокна. При изгибе оптоволокна условия распространения излучения в сердцевине изменяются и часть его попадает в оптическую оболочку, вследствие чего потери при прохождении излучения в волокне возрастают.

[11]

В случае многомодового оптоволокна первыми покидают сердцевину лучи, идущие под большими углами относительно оси оптоволокна, при дальнейшем уменьшении радиуса изгиба растет и количество излучения, покидающего сердцевину. При использовании металлизированного оптоволокна то излучение, которое покинуло сердцевину и попало в оптическую оболочку, испытывает отражение уже и от металла. Часть этого излучения опять проникает в оптическую сердцевину оптоволокна и может в ней распространяться далее (фиг. 2).

[12]

Таким образом, если металлическая оболочка может по какой-либо причине стать источником излучения, то оно частично попадет в сердцевину оптоволокна и достигнет фотодетектора. Чувствительность такого датчика температуры будет зависеть от радиуса изгиба волокна в месте нагрева. На фиг. 3 представлен график зависимости мощности излучения, зафиксированного фотодетектором, от температуры для прямого и изогнутого участка волокна с радиусом 24 мм, общая длина волокна составляла 40 м.

[13]

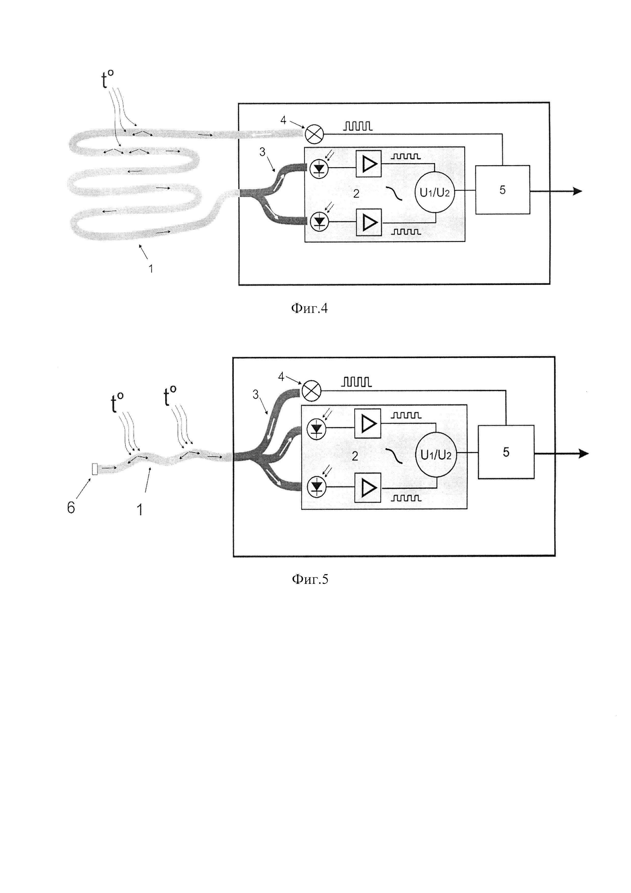
На фиг. 4 представлена конструкция предлагаемого устройства, содержащая чувствительный элемент, выполненный из кварцевого металлизированного оптоволокна (1), двухспектральный фотодетектор или детектор спектрального отношения (2), оптический разветвитель (3), источник модулированного излучения (4), исполнительный блок (5), формирующий необходимые сигналы для системы пожаротушения.

[14]

При нагревании металлической оболочки чувствительного элемента ИК-излучение распространяется по волокну и достигает двухспектрального детектора, где в качестве полезного сигнала служит отношение сигналов с двух фотодетекторов, чувствительных к разным областям спектра. Таким образом, устраняется зависимость от абсолютной величины сигнала, которая может изменяться в результате изгибов и старения волокна, применения оптических разъемов, и т.д. Для проверки целостности чувствительного элемента и соединительного оптоволокна в блоке регистрации используется дополнительный источник модулированного излучения, которое, проходя по волокну до фотодетектора, указывает на состояние оптоволокна.

[15]

В качестве материала для металлизации оптоволокна могут быть использованы металлы, например - Аl (до 400°С), Cu (до 600°С), Ni (до 1000°С) и др. или их сплавы, при условии что температура плавления материала покрытия должна быть ниже температуры плавления кварца (1500-1900°С). Для защиты от агрессивного воздействия окружающей среды на материал оболочки можно использовать тонкие, химически стойкие в данных условиях эксплуатации чувствительного элемента покрытия.

[16]

Суммарная толщина покрытия, нанесенного поверх кварцевой оптической оболочки, не превышает нескольких десятков микрон, что положительно сказывается на быстродействии сигнализатора. Прочность кварцевого оптоволокна с металлическим покрытием достигает 10 ГПа, что близко к теоретической прочности кварцевого стекла.

Как компенсировать расходы
на инновационную разработку
Похожие патенты