патент
№ RU 2658803
МПК G06F3/0488

СПОСОБ И СИСТЕМА ВЫЗОВА ИНТЕРФЕЙСА ПОЛЬЗОВАТЕЛЯ НА ЭКРАНЕ ЭЛЕКТРОННОГО УСТРОЙСТВА

Авторы:
Ильин Николай Олегович
Номер заявки
2016142505
Дата подачи заявки
28.10.2016
Опубликовано
22.06.2018
Страна
RU
Как управлять
интеллектуальной собственностью
Чертежи 
8
Реферат

Изобретение относится к области управления электронными устройствами с помощью графического интерфейса пользователя, в частности к способу и системе для активации интерфейса с помощью заданного типа пользовательского ввода. Технический результат заключается в обеспечении возможности активации графического интерфейса пользователя с помощью траектории пользовательского ввода из двух различных угловых зон дисплея и повышении скорости доступа к графическому интерфейсу. Такой результат достигается за счет создания паттерна жестовой активации приложения, содержащего траекторию ввода с использованием угловых областей экрана. 2 н. и 5 з.п. ф-лы, 8 ил.

Формула изобретения

1. Способ вызова интерфейса пользователя на экране электронного устройства, содержащий этапы, на которых:

- формируют эталонный паттерн активации приложения на экране устройства, причем упомянутый паттерн содержит дугообразную траекторию взаимодействия с экраном или пользовательским интерфейсом, которая содержит по меньшей мере две точки взаимодействия с областью экрана или графического интерфейса, каждая из которых расположена в разных угловых областях одной стороны экрана;

- сохраняют в памяти устройства информацию об упомянутом эталонном паттерне;

- определяют первую область взаимодействия с экраном устройства или графическим интерфейсом, причем первая область содержит по меньшей мере одну точку взаимодействия, расположенную вблизи угла экрана или графического интерфейса;

- определяют факт пользовательского взаимодействия с упомянутой первой областью экрана;

- определяют пользовательское взаимодействие с экраном устройства или графическим интерфейсом, причем упомянутое взаимодействие представляет собой движение по дугообразной траектории из упомянутой первой области взаимодействия во вторую область взаимодействия, без разрыва пользовательского взаимодействия с экраном устройства, причем вторая область взаимодействия содержит по меньшей мере одну точку взаимодействия, расположенную вблизи угла экрана, отличного от упомянутой первой угловой области;

- получают информацию о паттерне траектории выполненного пользовательского взаимодействия с экраном или графическим интерфейсом при перемещении из первой области взаимодействия во вторую область взаимодействия;

- сравнивают информацию об упомянутой траектории пользовательского взаимодействия с информацией о дугообразной траектории сохраненного эталонного паттерна;

и

- в ответ на успешное сравнение паттерна пользовательского взаимодействия выполняется генерирование радиального интерфейса пользователя с формированием области прокрутки элементов в радиальном направлении.

2. Способ по п. 1, характеризующийся тем, что при сравнении траекторий определяются погрешности отклонения формы дугообразного паттерна, формируемого пользователем от сохраненной эталонной формы паттерна в памяти устройства.

3. Способ по п. 1, характеризующийся тем, что пользовательское взаимодействие осуществляется с помощью манипулятора типа мышь или сенсорного дисплея, или тачпада.

4. Способ по п. 3, характеризующийся тем, что при распознавании факта пользовательского взаимодействия с первой областью формируют графический элемент.

5. Способ по п. 1, характеризующийся тем, что на этапе получения информации о паттерне пользовательского взаимодействия устройство находится в заблокированном режиме работы.

6. Способ по п. 5, характеризующийся тем, что при успешном сравнении паттернов переводят устройство из заблокированного режима работы в разблокированный режим работы.

7. Система вызова интерфейса пользователя на экране электронного устройства, содержащая

- по меньшей мере один процессор;

- по меньшей мере одно средство памяти, содержащее машиночитаемые инструкции, которые при их выполнении по меньшей мере одним процессором выполняют способ вызова интерфейса пользователя по любому из пп. 1-6.

Описание

[1]

ОБЛАСТЬ ТЕХНИКИ

[2]

Заявленная группа технических решений относится к области управления электронными устройствами с помощью графического интерфейса пользователя, в частности к способу и системе для активации интерфейса с помощью заданного типа пользовательского ввода.

[3]

УРОВЕНЬ ТЕХНИКИ

[4]

Из существующего уровня техники известен ряд решений, направленный на активацию тех или иных приложений на электронных устройствах.

[5]

Патент US 8,046,721 (Apple Inc., 25.10.2011) раскрывает способ активации графического интерфейса пользователя при разблокировке телефона с помощью жестового ввода в определенной области экрана.

[6]

Известно решение (патент US 9,207,860, BlackBerry Ltd., 08.12.2015) для активации мобильного телефона с помощью жеста, когда он находится в заблокированном режиме, либо для его блокировки с помощью определения заданного паттерна жеста.

[7]

Известно также решение (патент US 9,032,337), позволяющее активировать различные приложения с помощью назначения соответствующих паттернов на каждый вид приложения и их последующего распознавания.

[8]

РАСКРЫТИЕ ИЗОБРЕТЕНИЯ

[9]

Недостатками известных решений является отсутствие возможности назначения траектории паттерна пользовательского ввода, которая бы описывала наименьшую полезную зону рабочей области дисплея при этом позволяла бы выполнить активацию приложения или интерфейса с высокой степенью точности.

[10]

Техническим результатом заявленного решения является обеспечение возможности активации графического интерфейса пользователя с помощью траектории пользовательского ввода из двух различных угловых зон дисплея.

[11]

Дополнительным результатом является повышение скорости доступа к пользовательскому приложению или графическому интерфейсу, за счет формирования паттерна жестовой активации с использованием угловых зон дисплея.

[12]

В одном из предпочтительных вариантов реализации представленного решения заявлен способ вызова интерфейса пользователя на экране электронного устройства, содержащий этапы, на которых:

[13]

- формируют паттерн жестовой активации приложения на экране устройства, причем упомянутый паттерн содержит траекторию жеста, которая содержит по меньшей мере две точки контакта с областью экрана, каждая из которых расположена в разных угловых областях экрана;

[14]

- сохраняют в памяти устройства информацию об упомянутом паттерне;

[15]

- определяют первую область контакта с экраном устройства, причем первая область содержит по меньшей мере одну точку контакта, расположенную вблизи угла экрана;

[16]

- определяют факт пользовательского взаимодействия с упомянутой первой областью экрана;

[17]

- определяют пользовательское взаимодействие с экраном устройства, причем упомянутое взаимодействие представляет собой движение из упомянутой первой области контакта во вторую область контакта, без разрыва пользовательского взаимодействия с экраном устройства, причем вторая область контакта содержит по меньшей мере одну точку контакта, расположенную вблизи угла экрана, отличного от упомянутой первой угловой области;

[18]

- получают информацию о траектории выполненного пользовательского взаимодействия с экраном при перемещении из первой области контакта во вторую область контакта;

[19]

- сравнивают информацию об упомянутой траектории пользовательского взаимодействия с информацией о траектории сохраненного паттерна;

[20]

- выполняют генерирование радиального интерфейса пользователя, если паттерн траектории пользовательского жеста совпадает с сохраненным паттерном.

[21]

В частном варианте реализации при сравнении траекторий определяется погрешности отклонения паттерна траектории пользовательского жеста от сохраненного паттерна в памяти устройства.

[22]

В другом частном варианте реализации пользовательское взаимодействие осуществляется с помощью манипулятора типа мышь или сенсорного дисплея, или тачпада.

[23]

В другом частном варианте реализации при распознавании факта пользовательского взаимодействия с первой областью формируют графический элемент.

[24]

В другом частном варианте реализации траектория перемещения графического элемента формирует паттерн пользовательского жеста.

[25]

В другом частном варианте реализации устройство находится в заблокированном режиме работы.

[26]

В другом частном варианте реализации при успешном сравнении паттернов жестового ввода переводят устройства из заблокированного режима работы в разблокированный режим работы.

[27]

В другом предпочтительном варианте осуществления представленного решения заявлена система вызова интерфейса пользователя на экране электронного устройства, содержащая

[28]

- по меньшей мере один процессор;

[29]

- по меньшей мере одно средство памяти, содержащее машиночитаемые инструкции, которые при их выполнении по меньшей мере одним процессором выполняют способ вызова интерфейса пользователя по способу, представленному выше.

[30]

КРАТКОЕ ОПИСАНИЕ ЧЕРТЕЖЕЙ

[31]

Фиг. 1 иллюстрирует пример вызова интерфейса с помощью угловой траектории.

[32]

Фиг. 2 иллюстрирует пример вызова интерфейса по дугообразной траектории.

[33]

Фиг. 3 иллюстрирует пример вызова интерфейса по дугообразной траектории с помощью дополнительного графического элемента.

[34]

Фиг. 4 иллюстрирует пример вычислительного устройства.

[35]

Фиг. 5 иллюстрирует этапы способа вызова интерфейса в разблокированном режиме работы устройства.

[36]

Фиг. 6 иллюстрирует пример интерфейса устройства в заблокированном режиме.

[37]

Фиг. 7 иллюстрирует этапы способа вызова интерфейса в заблокированном режиме работы устройства.

[38]

Фиг. 8 иллюстрирует пример радиального интерфейса пользователя.

[39]

ОСУЩЕСТВЛЕНИЕ ИЗОБРЕТЕНИЯ

[40]

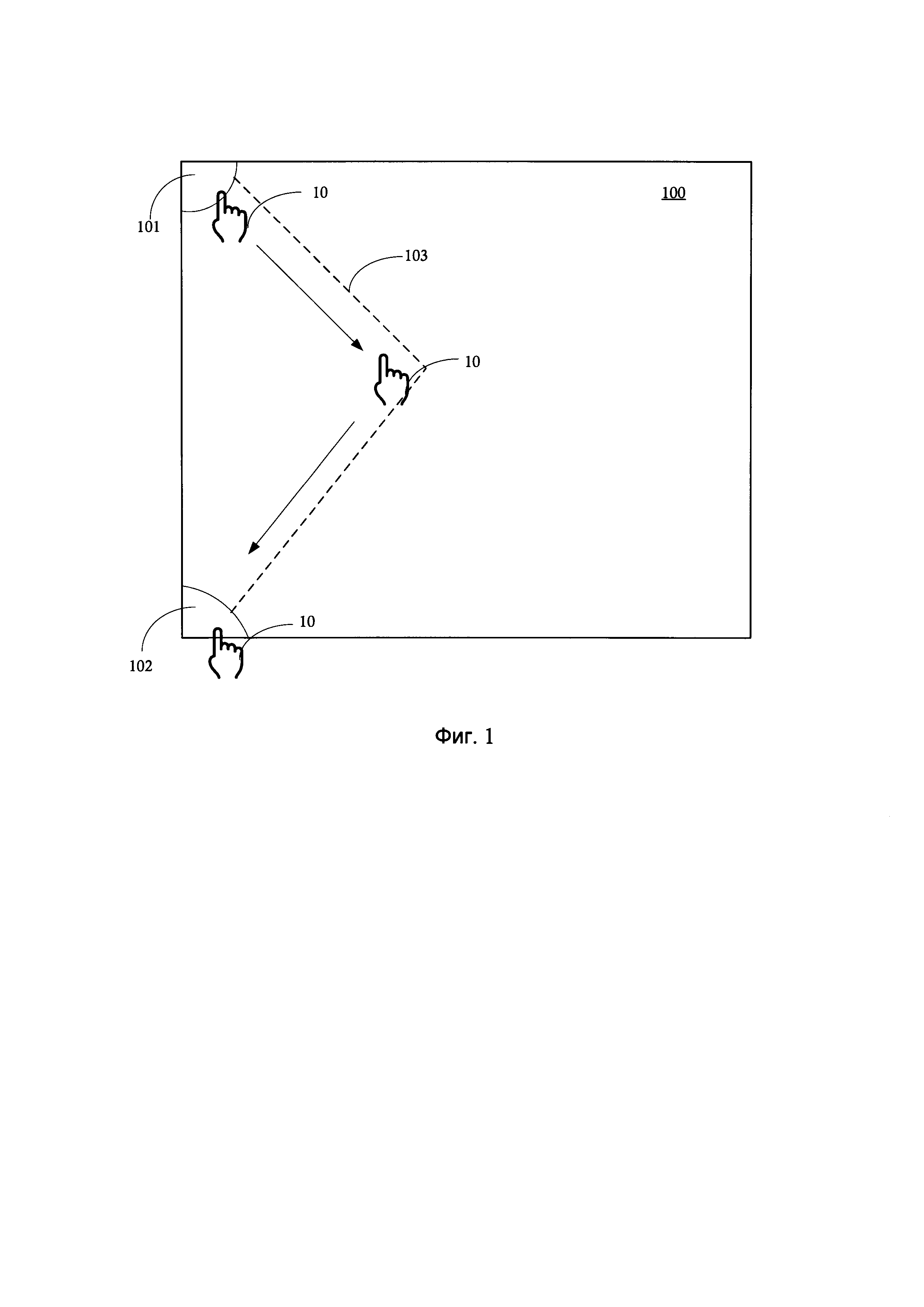
На Фиг. 1 представлена область экрана (100) электронного устройства. Упомянутая рабочая область экрана содержит угловые зоны (101, 102) при взаимодействии с которыми пользователь выполняет перемещение по области экрана (100). При распознавании факта взаимодействия (10) с одной или более точками первой угловой области (101) формируются сигналы, характеризующие начало пользовательского ввода. При перемещении по заданной траектории (103) из первой угловой области (101) во вторую угловую область (102), программное обеспечение, реализующее графический интерфейс пользователя, формирует паттерн пользовательского ввода, который содержит в себе траекторию пользовательского ввода (10).

[41]

Полученный паттерн пользовательского ввода, содержащий паттерн траектории (103) ввода, сравнивается с сохраненным заранее в памяти устройства паттерном активации приложения. Если сохраненный паттерн и паттерн траектории (103) пользовательского ввода совпадают, то выполняется активация связанного с ним приложения, в частности, радиального интерфейса пользователя (Фиг. 8).

[42]

Как представлено на Фиг. 1 пользовательский ввод осуществляется из первой области (101) во вторую область (102) по угловой траектории (103). Форма траектории (103) может быть различной, например, дугообразной (Фиг. 2), или иного вида рисунка. Основное требование к паттерну - это перемещение из одной угловой области в другую без потери пользовательского взаимодействия с экраном или графическим интерфейсом при формировании паттерна.

[43]

Пользовательский ввод (10) зависит от типа устройства (200, Фиг. 4), с которым выполняется взаимодействие. Если устройство (200) выполнено с сенсорным дисплеем (210), то пользовательское взаимодействие (10) будет являться касанием к областям экрана. Паттерн в этом случае будет представлять собой жестовый ввод (10) из первой области (101) во вторую область (102). Выполняя жестовый ввод без разрыва контакта с сенсорным дисплеем (208), выполняется формирование паттерна пользовательского взаимодействия, который впоследствии сравнивается с паттерном в памяти устройства (200).

[44]

Если устройство (200) представляет собой персональный компьютер, ноутбук, или иное устройство, не содержащее сенсорного дисплея (208), то, как это показано на Фиг. 3, в области взаимодействия с экраном может отображаться дополнительный графический элемент (104), например, выполненный в виде круглой дополнительной области. Назначение данного элемента (104) состоит в индикации факта пользовательского взаимодействия (10), что поможет пользователю завершить перемещение из одной области (101) в другую (102) для формирования паттерна для выполнения необходимого приложения.

[45]

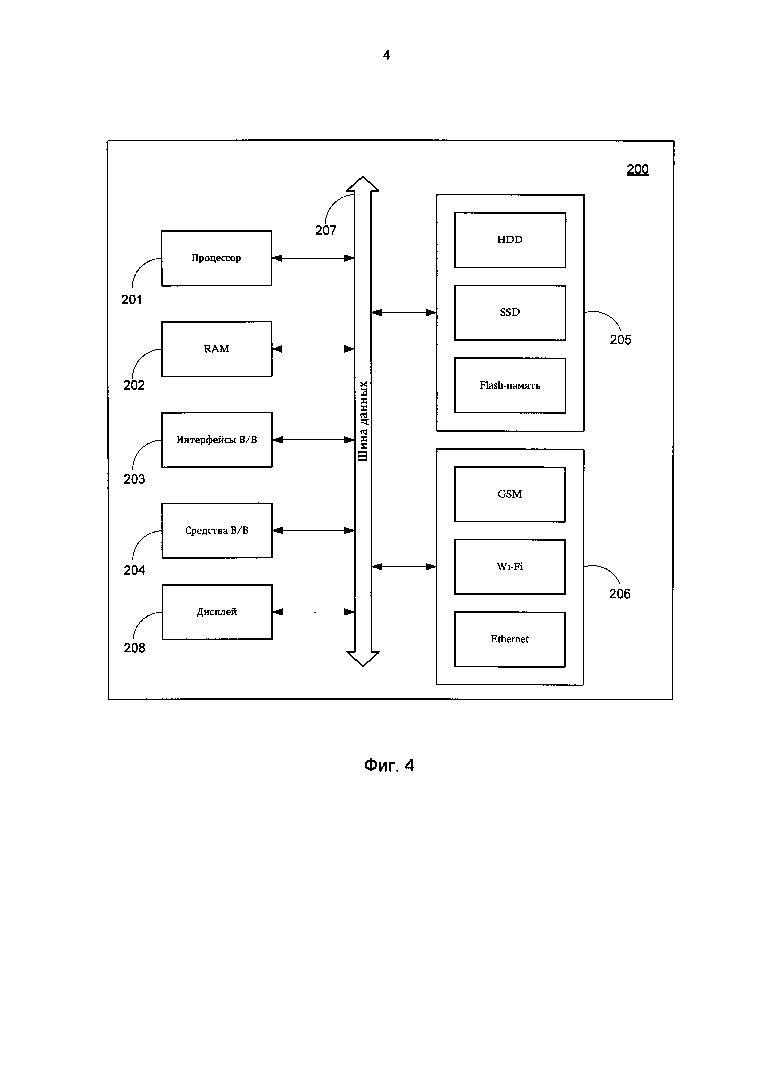
На Фиг. 4 представлена общая схема электронного устройства (200), на котором выполняется заявленный способ активации приложения. В общем случае примерная реализация вычислительного устройства (200) включает в себя объединенные общей шиной данных (207): один или более процессоров (201), оперативную память (RAM) (202), различные интерфейсы ввода/вывода (В/В) (203), средства В/В (204), одно или более средство хранения данных (205), одно или более средств передачи данных (206).

[46]

Интерфейсы В/В (203) могут выбираться из группы: USB, micro-USB, Lightning, USB-С, PS/2, LPT, СОМ и т.п.

[47]

Средства В/В (204) могут представлять собой: джойстик, манипулятор мышь, клавиатуру, сенсорный дисплей, дисплей, монитор, проектор, тачпад, трекбол, световое перо, динамики и т.п.

[48]

Средства хранения данных (205) могут представлять собой: HDD, SSD диски, Flash-память (NAND, EEPROM, SD card), оптические накопители информации (CD, DVD Rom, Blue-Ray disk).

[49]

В качестве средств передачи данных (206) могут использоваться различные устройства и модули, предназначенные для обеспечения проводной или беспроводной передачи данных от одного устройства (200) на другое, в частности, Wi-Fi модуль, NFC модуль, Ethernet модуль, Bluetooth модуль, GSM модуль (2G, 3G, 4G, 5G) и т.п.

[50]

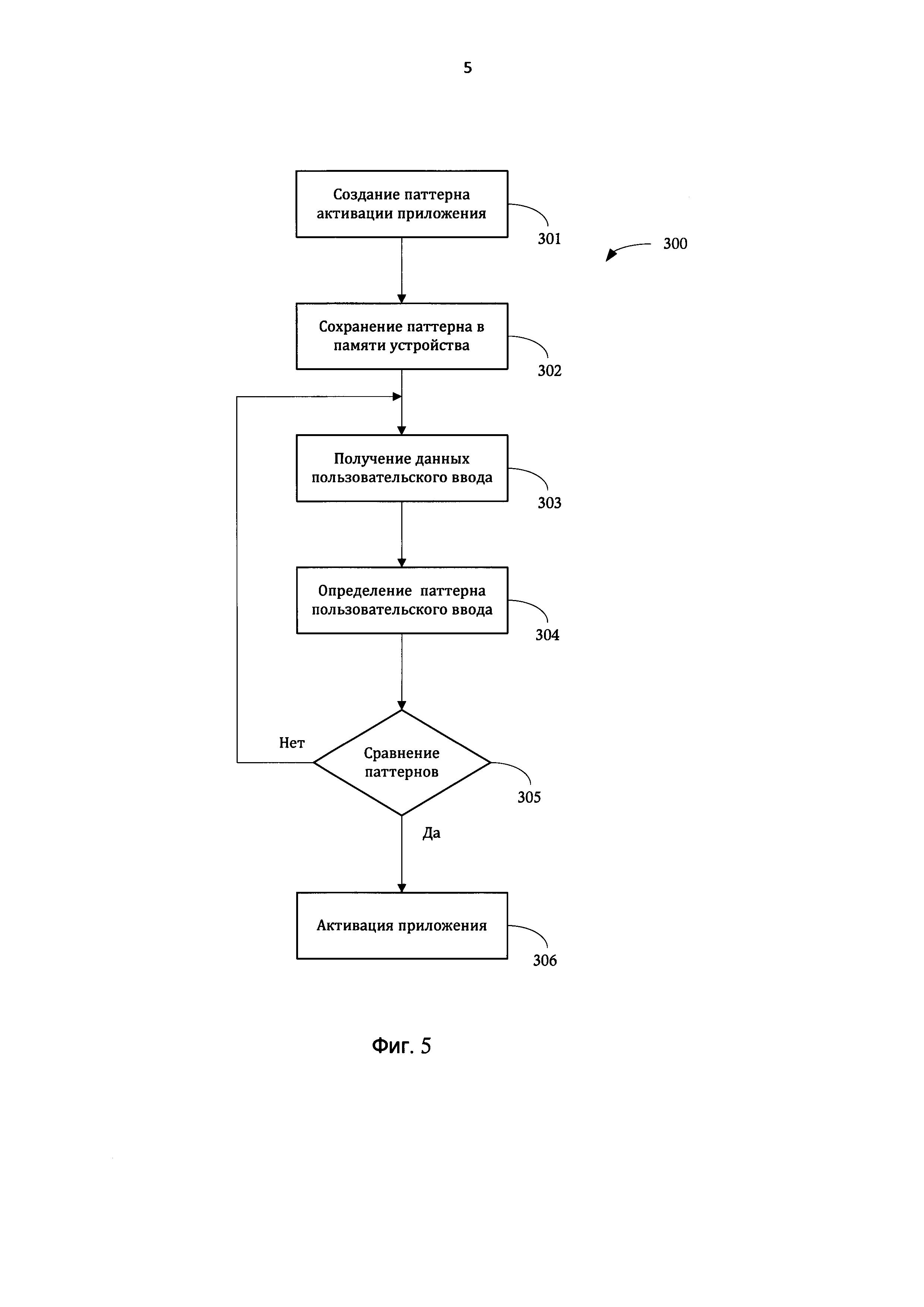
Согласно Фиг. 5 для активации приложения с помощью пользовательского ввода выполняется способ (300), содержащий заданную последовательность этапов. На этапе (301) формируется эталонный паттерн, который сохраняется в памяти (этап 302) устройства (200). Формирование паттерна активации приложения может выполнятся с помощью программного обеспечения, сохраненного в памяти устройства (200). Упомянутое программное обеспечение может назначать различные виды паттернов для различных приложений, типов пользовательского интерфейса и т.п.

[51]

Следующим этапом (303) интерфейс устройства (200) распознает факт пользовательского взаимодействия (10) в области интерфейса (100), при перемещении по траектории (103) из первой области (101) во вторую (102), и получает данные о паттерне пользовательского ввода (10) на этапе (304).

[52]

На этапе (305) полученный паттерн пользовательского ввода сравнивается с паттерном, хранящимся в памяти электронного устройства, с которым пользователь осуществляет взаимодействие, и если паттерны совпадают, то устройство (200) активирует приложение, связанное с упомянутым паттерном. При сравнении паттернов учитывается также погрешность отклонения рисунка траектории пользовательского ввода. Погрешность позволяет учесть отклонения паттерна пользовательского ввода от эталонного паттерна, хранящегося в памяти устройства (200).

[53]

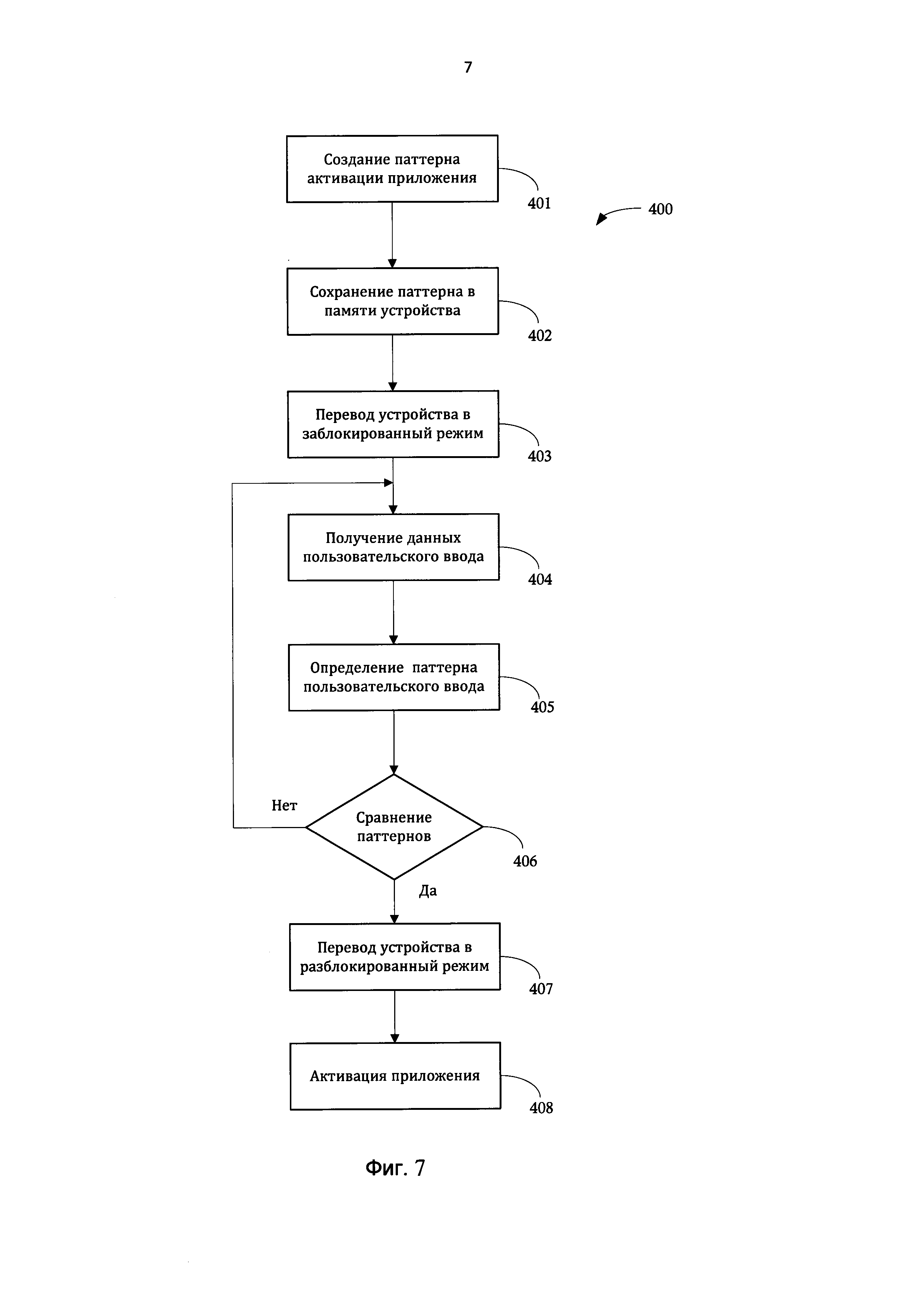
На Фиг. 6 показано, что устройство (200) может также находится в заблокированном режиме. На начальном экране (100), например, экране блокировки смартфона или персонального компьютера (ноутбука), пользователь может выполнить активацию необходимого приложения, связанного с паттерном ввода, с помощью выполнения взаимодействия с экраном по траектории из угловых областей (101, 102) по заданной траектории (103).

[54]

Фиг. 7 отображает основные шаги способа (400) активации связанного с паттерном пользовательского ввода приложения (интерфейса) при работе устройства в заблокированном режиме. Шаги в своей общей части совпадают с шагами способа (300). После создания паттерна (401) и сохранения его в памяти устройства (402), программная часть устройства (200) распознает, что устройство перешло в заблокированный режим (этап 403). После распознавания пользовательского ввода (404), программа анализирует область взаимодействия с экраном устройства и получает данные о паттерне пользовательского ввода (405). Далее выполняется сравнение паттерна пользовательского ввода с сохраненным в памяти устройства паттерном (406) с помощью программно-аппаратных средств устройства (200). Если паттерны совпадают, то выполняется разблокировка устройства (407) и активация связанного с паттерном приложения (408). В противном случае может выдаваться индикация того, что жест не выполнен, либо не происходить никаких действий.

[55]

При заблокированном режиме работы устройства (200), оно может находиться с выключенным дисплеем. В этом случае, если дисплей является сенсорным (резистивным), то пользовательский жест также можно осуществить при выключенном дисплее устройства. В этом случае способ активации приложения выполняет все этапы вышеупомянутого способа (400).

[56]

На Фиг. 8 представлен примерный вид радиального интерфейса, который в предпочтительном варианте активируется при распознавании пользовательского ввода согласно заявленному способу. Интерфейс содержит центральную область (110), с расположенным в ней одним или более элементом интерфейса (1101).

[57]

Интерфейс содержит связанные с центральным элементом (1101) по дереву иерархии элементы интерфейса (1021)-(1026), расположенные во вспомогательной области интерфейса (120). Вспомогательная область (120) представляет собой зону дисплея (100), которая отображает элементы для пользовательского взаимодействия (1021)-(1026), и позволяет управлять выбором элементов (1021)-(1026) с помощью прокрутки данной области (120) в радиальном направлении по или против часовой стрелки.

[58]

Перемещение элементов (1021)-(1026) осуществляется по виртуальной эллиптической дуге (траектория прокрутки), которая содержит количество элементов, соответствующее конкретному N уровню иерархии интерфейса.

[59]

Под элементами интерфейса в настоящем решении понимаются программные приложения, файлы, папки, функции устройства, действия, директории и т.п. Любой элемент интерфейса, реализующий ту или иную функцию устройства, может быть реализован с помощью заявленной архитектуры интерфейса.

[60]

Заявленное решение реализуется также с помощью системы, которая представляет собой совокупность программно-аппаратных средств, состоящих из электронного вычислительного устройства и программных команд, хранимых в его памяти, которые при их выполнении позволяют реализовать этапы заявленного способа по вызову приложения с помощью распознавания соответствующего пользовательского ввода.

[61]

Представленные в настоящих материалах заявки раскрывают лишь предпочтительные примеры реализации заявленного решения и представленное описание заявленного технического решения не должно использоваться как ограничивающие иные, частные примеры реализации, не выходящие за пределы объема испрашиваемой правовой охраны.

Как компенсировать расходы
на инновационную разработку
Похожие патенты