патент
№ RU 2623887
МПК G06F21/57

Способ установки обновления модуля полнодискового шифрования

Авторы:
Кутумов Алексей Алексеевич Федоров Александр Владимирович Бавыкин Дмитрий Валентинович
Все (11)
Номер заявки
2015141549
Дата подачи заявки
30.09.2015
Опубликовано
29.06.2017
Страна
RU
Как управлять
интеллектуальной собственностью
Чертежи 
5
Реферат

Изобретение относится к компьютерной безопасности. Технический результат заключается в обеспечении совместимости загрузочного диска с новой версией модуля полнодискового шифрования. Предложен способ, в котором получают обновление, содержащее новую версию модуля полнодискового шифрования; перед установкой обновления блокируют выполнение операций, выполняемых модулем полнодискового шифрования; заменяют модуль полнодискового шифрования на новую версию модуля, полученную из обновления; изменяют процесс загрузки компьютера для обеспечения запуска новой версии средства предзагрузочной проверки совместимости загрузочного диска с новой версией модуля полнодискового шифрования после инициализации базовой системы ввода-вывода и до запуска операционной системы; преобразовывают данные аутентификации пользователей, которые используются для последующей расшифровки данных на диске и загрузки операционной системы; выполняют предзагрузочную проверку совместимости загрузочного диска с новой версией модуля полнодискового шифрования; выполняют загрузку операционной системы, используя преобразованные данные аутентификации пользователей; завершают установку обновления модуля полнодискового шифрования, отменяя блокировку всех операций, выполняемых модулем полнодискового шифрования. 4 з.п. ф-лы, 5 ил.

Формула изобретения

1. Способ установки обновления модуля полнодискового шифрования (full disk encryption), в котором:

- получают с помощью средства обновления по меньшей мере одно обновление, содержащее новую версию модуля полнодискового шифрования;

- перед началом установки обновления блокируют с помощью средства обновления выполнение операций, выполняемых модулем полнодискового шифрования, который предназначен для выполнения операций шифрования и расшифровки данных на дисках;

- заменяют с помощью средства обновления модуль полнодискового шифрования на новую версию модуля, полученную из обновления;

- изменяют процесс загрузки компьютера с помощью средства обновления для обеспечения запуска новой версии средства предзагрузочной проверки совместимости загрузочного диска с новой версией модуля полнодискового шифрования после инициализации базовой системы ввода-вывода (BIOS) и до запуска операционной системы;

- с помощью средства обновления преобразовывают данные аутентификации пользователей, которые используются для последующей расшифровки данных на диске и загрузки операционной системы;

- выполняют предзагрузочную проверку совместимости загрузочного диска с новой версией модуля полнодискового шифрования с помощью новой версии средства предзагрузочной проверки совместимости;

- выполняют загрузку операционной системы, используя преобразованные данные аутентификации пользователей;

- с помощью средства обновления завершают установку обновления модуля полнодискового шифрования, отменяя блокировку всех операций, выполняемых модулем полнодискового шифрования.

2. Способ по п. 1, в котором обновление модуля полнодискового шифрования может быть получено в виде одного или нескольких файлов:

- на переносном накопителе;

- с сервера локальной сети;

- из сети Интернет.

3. Способ по п. 1, в котором операции модуля полнодискового шифрования применяются к загрузочному диску.

4. Способ по п. 3, в котором загрузочный диск считается совместимым с новой версией модуля полнодискового шифрования при выполнении всех условий:

- положительный результат выполнения тестов аппаратной совместимости диска с аппаратным обеспечением компьютера;

- положительный результат преобразования данных авторизации пользователей, совместимых с текущей версией средства предзагрузочной проверки совместимости, в данные авторизации, совместимые с новой версией средства предзагрузочной проверки совместимости;

- соответствие диска политикам шифрования;

- соответствие диска политикам безопасности.

5. Способ по п. 1, в котором во время изменения процесса загрузки компьютера не удаляют текущую версию средства предзагрузочной проверки совместимости.

Описание

[1]

Область техники

[2]

Изобретение относится к решениям для обеспечения безопасности, конфиденциальности и сохранности информации на компьютерах, а более конкретно к способам установки обновления модуля полнодискового шифрования.

[3]

Уровень техники

[4]

В настоящее время одним из популярных подходов для защиты конфиденциальной информации является шифрование этой информации. Шифрование данных - это в общем случае обратимое преобразование информации в целях ее сокрытия от неавторизованных лиц, с предоставлением, в это же время, авторизованным пользователям доступа к ней. При этом могут использоваться различные методы шифрования.

[5]

Файловое шифрование - это шифрование, применяемое только к конкретным файлам на диске компьютера. Его легче и быстрее применить, но оно имеет свои недостатки. Так, файлы в зашифрованном виде могут быть скопированы и расшифрованы в дальнейшем методом подбора ключа шифрования, программы, которые используют зашифрованные файлы, могут сохранять расшифрованные файлы в кэше, а также исходный файл после шифрования удаляется с диска, но может быть восстановлен средствами восстановления удаленных файлов (программы семейства «undelete»).

[6]

Полнодисковое шифрование (англ. Full Disk Encryption, FDE) - шифрование диска целиком вместе с его логической структурой (логическими разделами, основной учетной записью). Стоит отметить, что в случае полнодискового шифрования данные, которые копируются с зашифрованного диска на другой носитель информации, преобразуются в расшифрованный (начальный) вид. Однако хранение всех данных на зашифрованном диске - более безопасный подход к обеспечению конфиденциальности данных пользователя в случаях утраты устройства пользователем.

[7]

Существует множество средств полнодискового шифрования. Наиболее известные специализированные программные продукты: BitLocker, TrueCrypt, PGPDisk и другие. Также в последнее время средство, выполняющее полнодисковое шифрование, стало частью популярных антивирусных корпоративных продуктов, например Kaspersky Endpoint Security DPE.

[8]

При выполнении полнодискового шифрования загрузочных дисков на диск устанавливается средство предзагрузочной аутентификации (англ. pre-boot authentication). Это средство требует от пользователя ввода пароля, после корректного ввода которого происходит загрузка операционной системы (ОС). Антивирусные программные продукты имеют свои средства предзагрузочной аутентификации. При применении полнодискового шифрования к загрузочному диску антивирусное программное обеспечение меняет последовательность процесса загрузки, внедряя средство предзагрузочной аутентификации в обычный процесс загрузки компьютера. Это средство работает на этапе предзагрузочного выполнения и использует интерфейсы базовой системы ввода-вывода (англ. BIOS) или унифицированный расширяемый интерфейс микрокода (англ. UEFI) для работы с аппаратным обеспечением компьютера. Этап предзагрузочного выполнения - это этап, на котором завершена инициализация микрокода компьютера, но еще не началась загрузка операционной системы.

[9]

На этапе предзагрузочного выполнения взаимодействие с аппаратным обеспечением компьютера возможно через интерфейсы микрокода. Микрокод имеет свои ошибки, ограничения и проблемы, касающиеся аппаратной совместимости устройств. Поэтому компоненты антивирусного программного обеспечения, работающие на данном этапе, также могут иметь различные проблемы совместимости. В случае возникновения таких проблем компьютер может не запуститься, так как средство предзагрузочной аутентификации используется для запуска ОС с зашифрованного диска, но не совместимо с аппаратным обеспечением компьютера.

[10]

Кроме того, регулярно возникает необходимость обновления антивирусного приложения, а также его компонентов, выполняющих функции полнодискового шифрования. Основной проблемой при обновлении является то, что обновленная версия средства предзагрузочной аутентификации, которая доступна в обновлении, не всегда совместима с текущей (более старой) версией средства предзагрузочной аутентификации, которая уже установлена на диск. Во избежание проблем совместимости при обновлении выполняют полную расшифровку данных с диска, обновление средства предзагрузочной аутентификации и затем полное повторное шифрование данных пользователя. Такой способ обновления занимает достаточно долгое время, при этом ограничивая работу пользователя на устройстве. Кроме того, данные пользователя оказываются расшифрованными, что в некоторых случаях может иметь негативные последствия для их конфиденциальности.

[11]

В настоящее время существуют публикации, которые предлагают решения для тестирования совместимости загрузочного диска с модулем шифрования, а также решения, описывающие процесс обновления различных программных продуктов (например, операционных систем).

[12]

Так, публикация US9003176 описывает способ тестирования совместимости загрузочного диска со средством шифрования, в котором модуль предзагрузочной проверки совместимости проводит тесты совместимости загрузочного диска с модулем шифрования. После выполнения тестов анализируются результаты тестирования, происходит сравнение результатов тестирования с политиками шифрования, выносится решение о возможности применения полнодискового шифрования к диску, после чего выполняется полнодисковое шифрование загрузочного диска с помощью модуля шифрования. Способ помогает уменьшить риски потери данных при шифровании.

[13]

Публикация US7584467 описывает один из способов установки обновлений для операционных систем. В одном из вариантов реализации в процессе обновления могут обновляться файлы, затрагиваемые обновлением, без перезагрузки операционной системы. В другом варианте реализации операции над файлами могут быть добавлены в расписание запуска операционной системы. В еще одном варианте реализации установщик определяет, в каких случаях требуется перезагрузка операционной системы для продолжения установки обновления.

[14]

Однако в настоящее время не известны решения, которые позволяют обновлять модуль полнодискового шифрования на загрузочном диске без расшифровки и повторного шифрования данных. Настоящее изобретение решает упомянутую задачу с использованием способа установки обновления модуля полнодискового шифрования.

[15]

Сущность изобретения

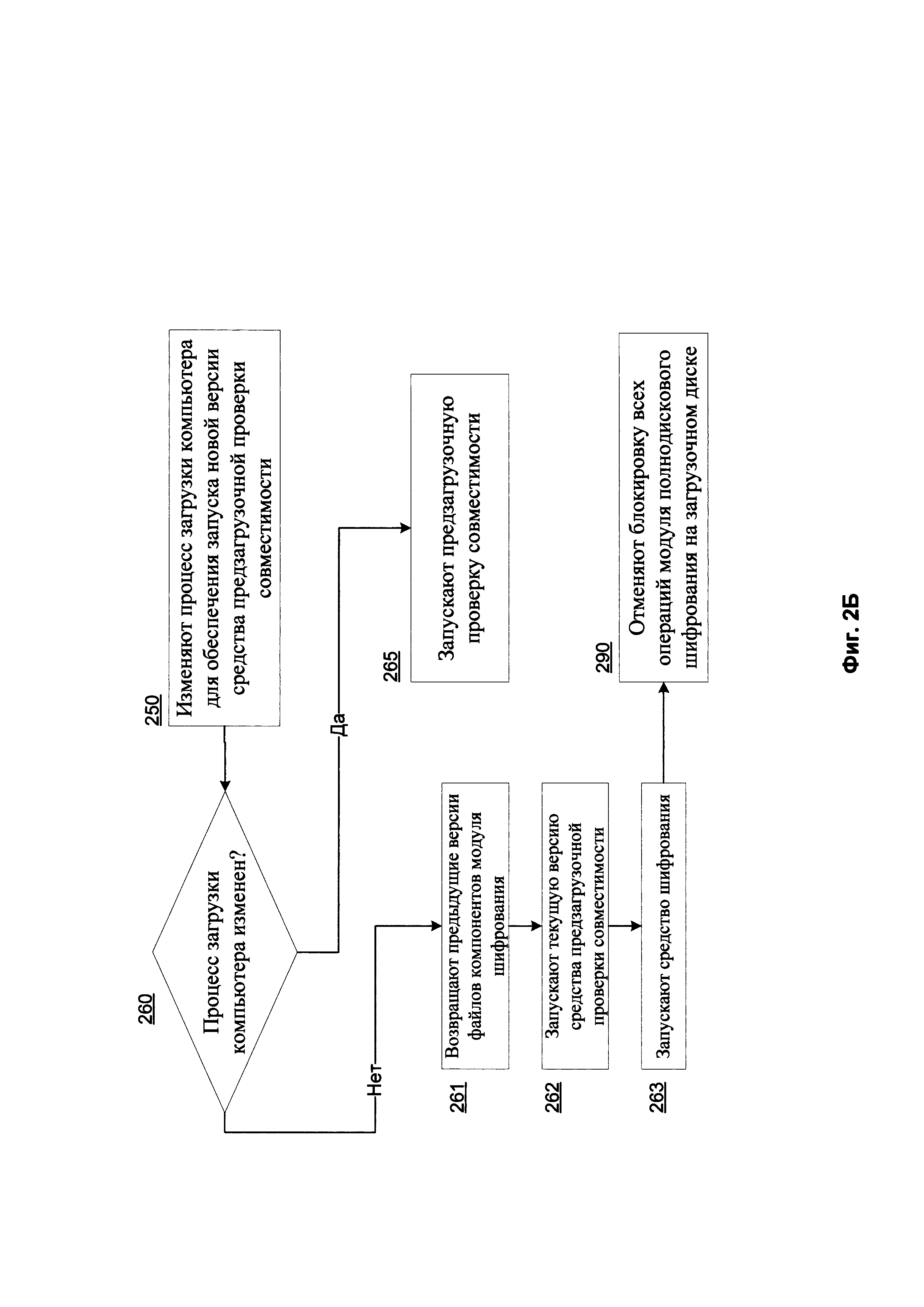
[16]

Технический результат настоящего изобретения заключается в обеспечении совместимости загрузочного диска с новой версией модуля полнодискового шифрования.

[17]

Еще один технический результат настоящего изобретения заключается в обеспечении сохранности данных, которая достигается проверкой совместимости загрузочного диска с новой версией модуля полнодискового шифрования.

[18]

Согласно одному из вариантов реализации, предоставляется способ установки обновления модуля полнодискового шифрования (full disk encryption), в котором: получают с помощью средства обновления по меньшей мере одно обновление, содержащее новую версию модуля полнодискового шифрования; перед началом установки обновления блокируют с помощью средства обновления выполнение операций, выполняемых модулем полнодискового шифрования, который предназначен для выполнения операций шифрования и расшифровки данных на дисках; заменяют с помощью средства обновления модуль полнодискового шифрования на новую версию модуля, полученную из обновления; изменяют процесс загрузки компьютера с помощью средства обновления для обеспечения запуска новой версии средства предзагрузочной проверки совместимости загрузочного диска с новой версией модуля полнодискового шифрования после инициализации базовой системы ввода-вывода (BIOS) и до запуска операционной системы; с помощью средства обновления преобразовывают данные аутентификации пользователей, которые используются для последующей расшифровки данных на диске и загрузки операционной системы; выполняют предзагрузочную проверку совместимости загрузочного диска с новой версией модуля полнодискового шифрования с помощью новой версии средства предзагрузочной проверки совместимости; выполняют загрузку операционной системы, используя преобразованные данные аутентификации пользователей; с помощью средства обновления завершают установку обновления модуля полнодискового шифрования, отменяя блокировку всех операций, выполняемых модулем полнодискового шифрования.

[19]

Согласно одному из частных вариантов реализации предоставляется способ, в котором обновление модуля полнодискового шифрования может быть получено в виде одного или нескольких файлов: на переносном накопителе; с сервера локальной сети; из сети Интернет.

[20]

Согласно другому частному варианту реализации предоставляется способ, в котором операции модуля полнодискового шифрования применяются к загрузочному диску.

[21]

Согласно еще одному частному варианту реализации предоставляется способ, в котором загрузочный диск считается совместимым с новой версией модуля полнодискового шифрования при выполнении всех условий: положительный результат выполнения тестов аппаратной совместимости диска с аппаратным обеспечением компьютера; положительный результат преобразования данных авторизации пользователей, совместимых с текущей версией средства предзагрузочной проверки совместимости, в данные авторизации, совместимые с новой версией средства предзагрузочной проверки совместимости; соответствие диска политикам шифрования; соответствие диска политикам безопасности.

[22]

Согласно еще одному частному варианту реализации предоставляется способ, в котором во время изменения процесса загрузки компьютера не удаляют текущую версию средства предзагрузочной проверки совместимости.

[23]

Краткое описание чертежей

[24]

Дополнительные цели, признаки и преимущества настоящего изобретения будут очевидными из прочтения последующего описания осуществления изобретения со ссылкой на прилагаемые чертежи, на которых:

[25]

Фиг. 1 отображает пример установки обновления модуля шифрования.

[26]

Фиг. 2А изображает способ установки обновления модуля полнодискового шифрования.

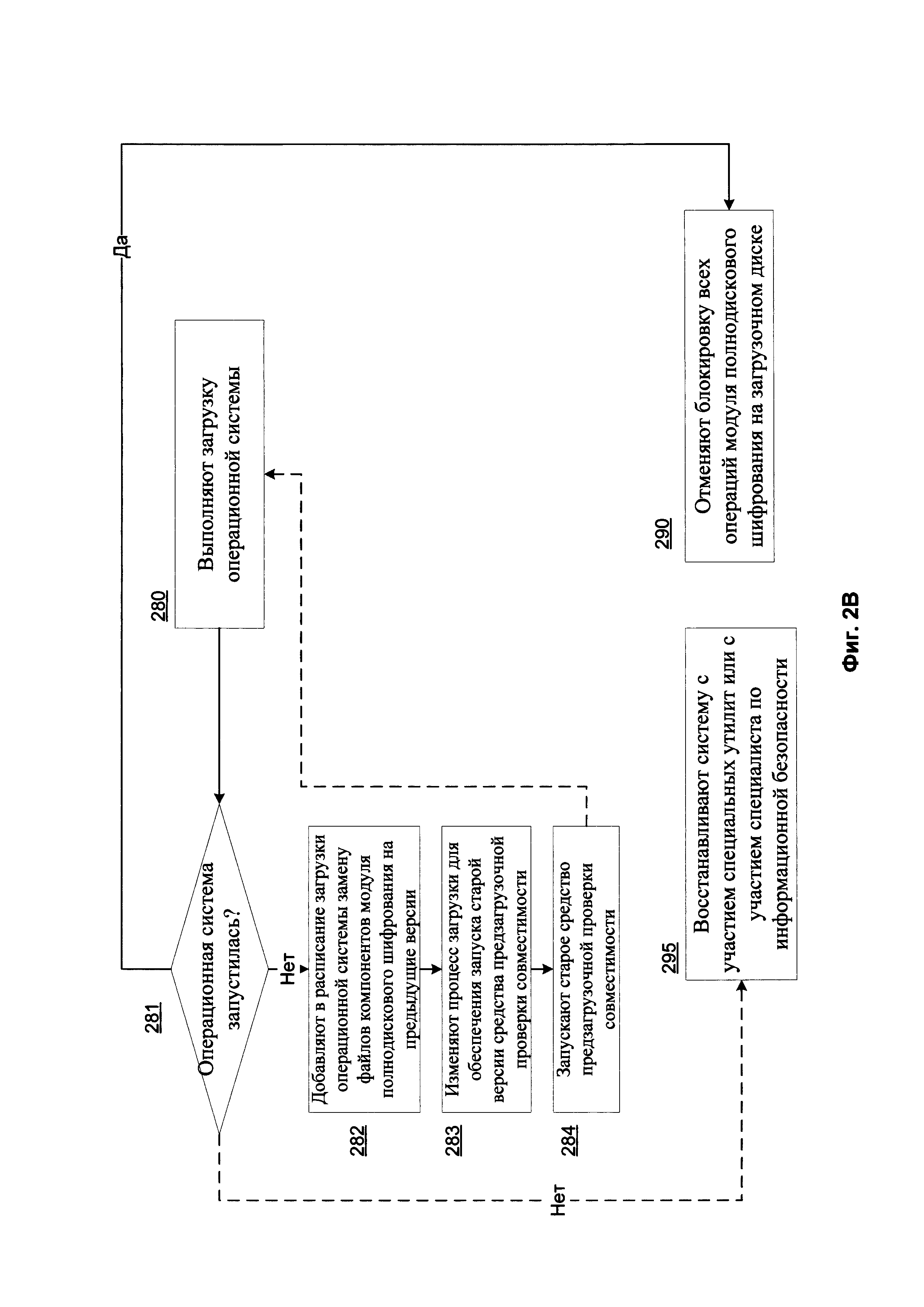
[27]

Фиг. 2Б представляет способ отмены обновления в случае невозможности размещения новой версии средства предзагрузочной проверки совместимости.

[28]

Фиг. 2В представляет способ отмены обновления в случае невозможности запуска операционной системы после обновления модуля полнодискового шифрования.

[29]

Фиг. 3 представляет пример компьютерной системы общего назначения, на которой может быть реализовано настоящее изобретение.

[30]

Описание вариантов осуществления изобретения

[31]

Объекты и признаки настоящего изобретения, способы для достижения этих объектов и признаков станут очевидными посредством отсылки к примерным вариантам осуществления. Однако настоящее изобретение не ограничивается примерными вариантами осуществления, раскрытыми ниже, оно может воплощаться в различных видах. Сущность, приведенная в описании, является ничем иным, как конкретными деталями, обеспеченными для помощи специалисту в области техники в исчерпывающем понимании изобретения, и настоящее изобретение определяется только в объеме приложенной формулы.

[32]

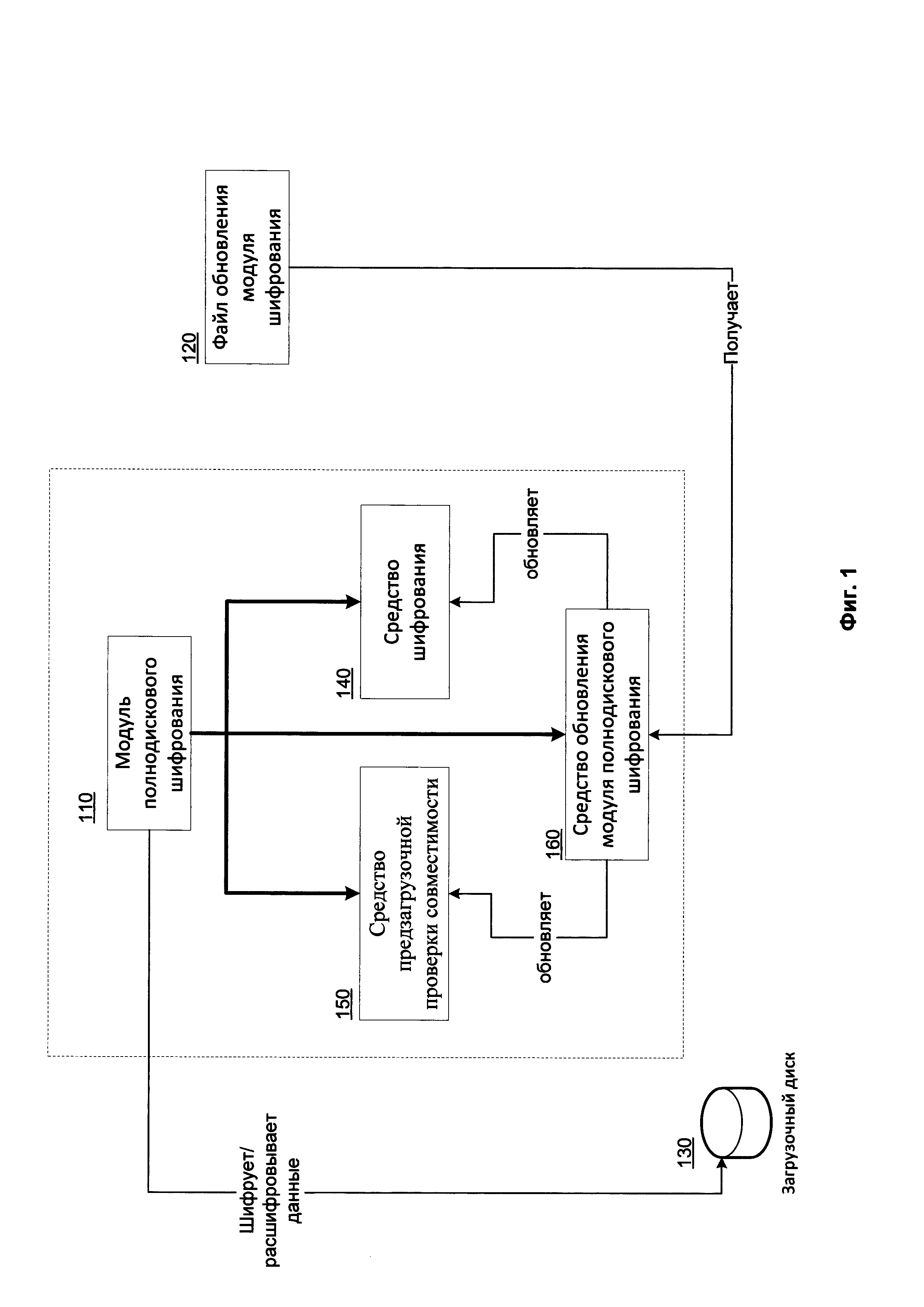
Фиг. 1 отображает пример установки обновления модуля шифрования.

[33]

В рамках настоящего изобретения модуль полнодискового шифрования 110 состоит из средства шифрования 140, средства обновления модуля полнодискового шифрования 160 и средства предзагрузочной проверки совместимости 150, принцип работы которого подробно описан в патенте US 9003176.

[34]

В общем случае средство предзагрузочной проверки совместимости 150 включает в себя функционал средства аутентификации, при этом в «тестовом» режиме средство выполняет проверку совместимости и аутентификацию, а в «обычном» режиме - только аутентификацию. При применении полнодискового шифрования с помощью средства шифрования 140 изменяют процесс загрузки компьютера для обеспечения запуска предзагрузочной проверки совместимости 150, которое проверяет совместимость загрузочного диска 130 с модулем полнодискового шифрования 110.

[35]

В общем случае обновление модуля полнодискового шифрования содержит обновленные версии компонентов модуля полнодискового шифрования. Обновление может быть получено в виде одного файла или нескольких файлов средством обновления модуля шифрования.

[36]

В случае когда необходимо установить обновление модуля полнодискового шифрования 110, выполняется расшифровка всех данных загрузочного диска 130 с помощью средства шифрования 140, обновление компонентов (файлов, веток реестра операционной системы, настроек) средства шифрования 140, изменение процесса загрузки компьютера для обеспечения запуска новой версии средства предзагрузочной проверки совместимости 150 загрузочного диска с модулем полнодискового шифрования 110 и выполнение полнодискового шифрования загрузочного диска 130 с помощью средства шифрования 140.

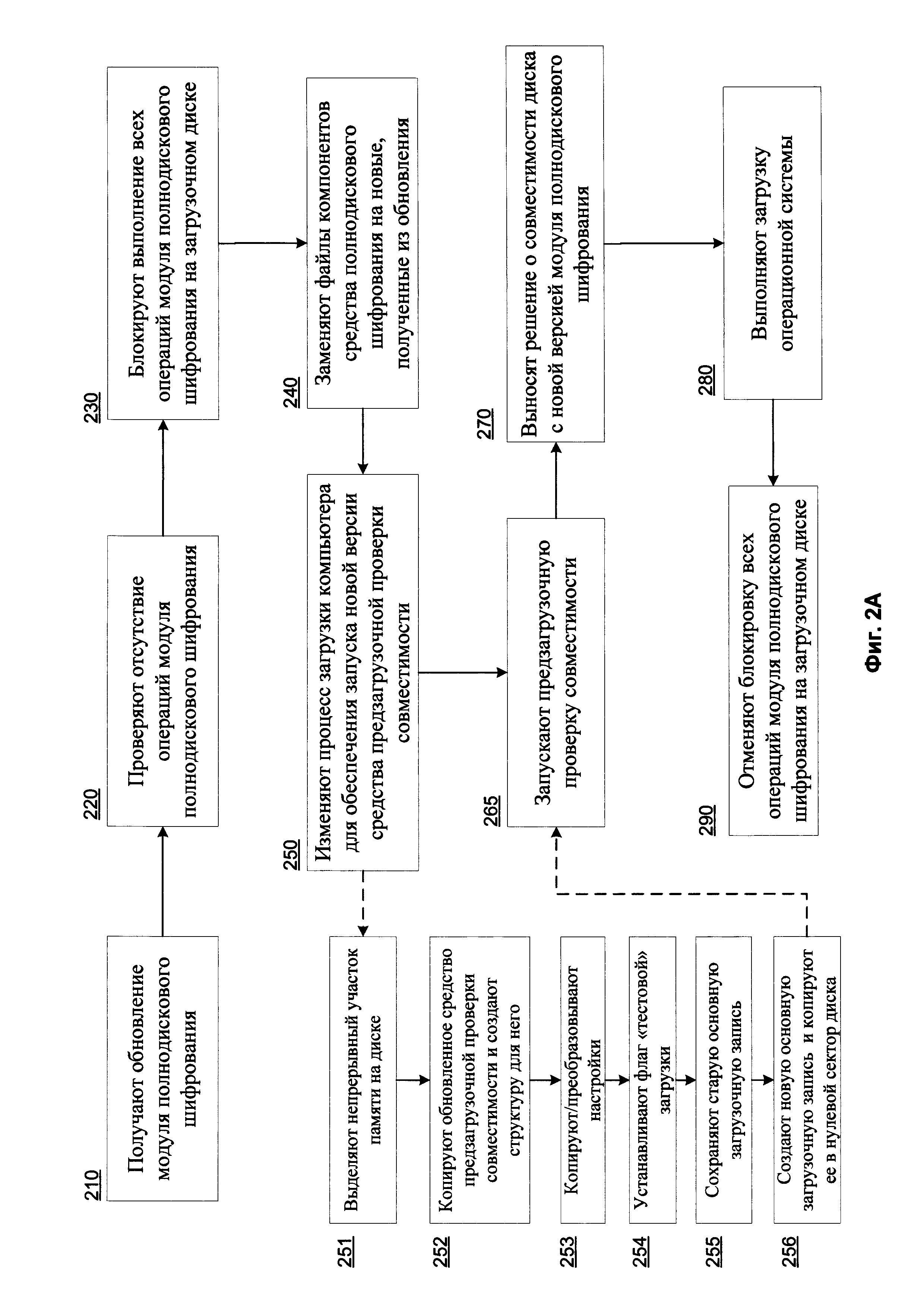
[37]

На Фиг. 2А изображен способ установки обновления модуля полнодискового шифрования. На начальном этапе 210 с помощью средства обновления модуля полнодискового шифрования 160 получают обновление модуля полнодискового шифрования. Обновление модуля полнодискового шифрования 110 может быть получено в виде одного или нескольких файлов:

[38]

- на переносном накопителе;

[39]

- с сервера локальной сети;

[40]

- из сети Интернет.

[41]

Далее, на этапе 220, начинают установку обновления модуля полнодискового шифрования 110, при этом проверяют отсутствие операций, выполняемых модулем полнодискового шифрования 110 на загрузочном диске. Операциями, выполняемыми модулем полнодискового шифрования, могут являться:

[42]

- выполнение шифрования средством шифрования;

[43]

- выполнение расшифровки средством шифрования.

[44]

Далее, на этапе 230, блокируют выполнение всех операций модуля полнодискового шифрования 110 на загрузочном диске 130.

[45]

Далее, на этапе 240, заменяют компоненты средства полнодискового шифрования на новые, полученные из обновления. Компонентами модуля полнодискового шифрования 110 могут являться:

[46]

- исполняемый файл;

[47]

- динамическая библиотека;

[48]

- драйвер;

[49]

- файл, содержащий ресурсы, используемые модулем полнодискового шифрования.

[50]

В одном из вариантов реализации могут быть заменены драйвера на обновленные и выполнен их запуск. В другом варианте реализации в расписание загрузки операционной системы добавляется замена файлов модуля полнодискового шифрования 110.

[51]

Далее, на этапе 250, изменяют процесс загрузки компьютера для обеспечения запуска новой версии средства предзагрузочной проверки совместимости 150 загрузочного диска 130 с новой версией модуля полнодискового шифрования 110.

[52]

Для этого:

[53]

а) на этапе 251 выделяют непрерывный участок памяти на загрузочном диске 130;

[54]

б) на этапе 252 копируют в непрерывный участок памяти на загрузочном диске 130 новую версию средства предзагрузочной проверки совместимости 150 и создают в нем структуру, которая хранит настройки средства предзагрузочной проверки совместимости 150, для новой версии средства предзагрузочной проверки совместимости 150;

[55]

в) на этапе 253 копируют, преобразовывая в случае необходимости, настройки (данные аутентификации пользователей, которые используются для последующей расшифровки данных на диске и загрузки операционной системы; флаги, используемые средством предзагрузочной проверки совместимости 150, клавиатурные раскладки; локализованные ресурсы помощи пользователю и т.п.) из структуры для текущей (старой) версии средства предзагрузочной проверки совместимости 150 в структуру для новой версии средства предзагрузочной проверки совместимости 150;

[56]

г) на этапе 254 устанавливают в структуре для новой версии средства предзагрузочной проверки совместимости 150 флаг, что следующая перезагрузка должна быть «тестовой»;

[57]

д) на этапе 255 сохраняют в структуре для новой версии средства предзагрузочной проверки совместимости 150 основную загрузочную запись (англ. master boot record, MBR) от текущей версии средства предзагрузочной проверки совместимости 150;

[58]

е) на этапе 256 создают основную загрузочную запись для новой версии средства предзагрузочной проверки совместимости 150 и копируют ее в нулевой сектор диска.

[59]

После выполнения всех действий можно считать, что новая версия средства предзагрузочной проверки совместимости 150 установлена на диск и, если произойдет перезагрузка, то она будет запущена.

[60]

В одном из вариантов реализации текущая версия средства предзагрузочной проверки совместимости 150 не удаляется для обеспечения возможности отмены обновления в случае выявления несовместимости загрузочного диска 130 с новой версией модуля полнодискового шифрования 110.

[61]

В одном из вариантов реализации для запуска новой версии средства предзагрузочной проверки совместимости 150 выполняют перезагрузку.

[62]

После запуска новая версия средства предзагрузочной проверки совместимости 150 определяет по установленному флагу, что режим «тестовый».

[63]

Далее, на этапе 265, запускают с использованием новой версии средства предзагрузочной проверки совместимости 150 проверку совместимости диска с новой версией модуля полнодискового шифрования 110 без расшифровывания и повторного зашифровывания данных.

[64]

Далее, на этапе 270, после выполнения проверки выносят решение о совместимости диска с новой версией модуля полнодискового шифрования.

[65]

В общем случае загрузочный диск 130 считается совместимым с новой версией модуля полнодискового шифрования 110 при выполнении всех условий:

[66]

- положительный результат аппаратной совместимости диска с аппаратным обеспечением компьютера;

[67]

- положительный результат преобразования данных аутентификации пользователей, совместимых с текущей версией средства предзагрузочной проверки совместимости, в данные аутентификации, совместимые с новой версией средства предзагрузочной проверки совместимости;

[68]

- соответствие диска политикам шифрования;

[69]

- соответствие диска политикам безопасности.

[70]

В одном из вариантов реализации может быть проверено состояние диска (например, показания S.M.A.R.T. или время наработки для твердотельного накопителя) и совместимость загрузочного диска 130 с аппаратным обеспечением компьютера (например, после применения полнодискового шифрования мог быть обновлен BIOS компьютера, что требует повторной проверки совместимости при обновлении модуля полнодискового шифрования 110). Стоит отметить, что в частном случае данные на диске могли быть зашифрованы ранее (например, несколько месяцев назад), а политики шифрования были изменены после этого. Поэтому в другом варианте реализации может проверяться соответствие диска политикам шифрования, которые установлены для обновляемого модуля полнодискового шифрования (например, не шифровать диски размером более 500 Гб, не шифровать диски, свободное место на которых менее 1 Гб, не шифровать диски, входящие в состав рейд-массива и т.п.). Также после шифрования данных на диске могли быть изменены политики безопасности, поэтому может проверяться соответствие диска политикам безопасности (например, не шифровать диски компьютеров какого-либо сегмента сети).

[71]

Далее, на этапе 280, выполняют аутентификацию пользователя и загрузку операционной системы. В общем случае, если после аутентификации пользователя операционная система загрузилась, то считается, что новая версия средства предзагрузочной проверки совместимости установлена успешно.

[72]

Далее, на этапе 290, отменяют блокировку всех операций модуля полнодискового шифрования на загрузочном диске 130. После загрузки операционной системы средство шифрования выполняет удаление старой версии средства предзагрузочной проверки совместимости 150. Также средство шифрования 140 удаляет флаг «тестового» режима. После этого установка обновления модуля полнодискового шифрования 110 считается успешно завершенной.

[73]

На Фиг. 2Б представлен способ отмены обновления в случае невозможности размещения новой версии средства предзагрузочной проверки совместимости.

[74]

Если на этапе 250 процесс загрузки компьютера для обеспечения запуска новой версии средства предзагрузочной проверки совместимости 150 загрузочного диска с новой версией модуля полно дискового шифрования 110 не был изменен (произошла ошибка на одном из этапов 251-256), то на этапе 260 необходимо отменить (англ. rollback) обновление, чтобы вернуть работоспособность модуля полнодискового шифрования. На этапе 261 возвращают старые версии файлов компонентов модуля шифрования 110. В одном из вариантов реализации могут быть заменены драйвера, входящие в состав модуля шифрования 110, на старую версию, и выполнен их запуск. В другом варианте реализации в расписание загрузки операционной системы добавляется замена уже обновленных файлов модуля полнодискового шифрования их старыми версиями. Далее, на этапе 262, запускают старую версию средства предзагрузочной проверки совместимости 150 (например, в результате перезагрузки компьютера). Далее на этапе 263 запускают средство шифрования 140. Средство шифрования 140 обнаруживает (например, по версиям файлов компонентов модуля полнодискового шифрования), что случилась отмена обновления, и на этапе 290 снимает блокировку операций модуля полнодискового шифрования 110 и работает в нормальном режиме.

[75]

На Фиг. 2В представлен способ отмены обновления в случае невозможности запуска операционной системы после обновления модуля полнодискового шифрования.

[76]

Если на этапе 281 запуск операционной системы не удался, то обновление модуля полнодискового шифрования считается несовместимым.

[77]

В случае неудачного запуска операционной системы средство предзагрузочной проверки совместимости 150 на этапе 282 добавляет в расписание загрузки операционной системы замену файлов компонентов модуля полнодискового шифрования 110 на старые (предыдущие), которые соответствуют модулю полнодискового шифрования до обновления. Далее, на этапе 283 новая версия средства предзагрузочной проверки совместимости 150 изменяет процесс загрузки компьютера для обеспечения запуска старой версии средства предзагрузочной проверки совместимости 150 загрузочного диска 130, соответствующей старой версии модуля полнодискового шифрования 110. Для этого оно копирует главную загрузочную запись от старой версии средства предзагрузочной проверки совместимости 150 в нулевой сектор диска. Далее, на этапе 284, происходит запуск старой версии средства предзагрузочной проверки совместимости 150 (например, в результате перезагрузки). Далее на этапе 281 происходит запуск операционной системы. На этапе 290 средство шифрования обнаруживает, что случилась отмена обновления, снимает блокировку операций модуля полнодискового шифрования и работает в нормальном режиме. С диска удаляется новая версия средства предзагрузочной проверки совместимости 150 и структура с его данными. Если запуск системы невозможен, на этапе 295 происходит восстановление системы с использованием утилит, предназначенных для восстановления процесса загрузки операционной системы, или с участием специалиста по информационной безопасности.

[78]

Фиг. 3 представляет пример компьютерной системы общего назначения, персональный компьютер или сервер 20, содержащий центральный процессор 21, системную память 22 и системную шину 23, которая содержит разные системные компоненты, в том числе память, связанную с центральным процессором 21. Системная шина 23 реализована, как любая известная из уровня техники шинная структура, содержащая, в свою очередь, память шины или контроллер памяти шины, периферийную шину и локальную шину, которая способна взаимодействовать с любой другой шинной архитектурой. Системная память содержит постоянное запоминающее устройство (ПЗУ) 24, память с произвольным доступом (ОЗУ) 25. Основная система ввода/вывода (BIOS) 26, содержит основные процедуры, которые обеспечивают передачу информации между элементами персонального компьютера 20, например, в момент загрузки операционной системы с использованием ПЗУ 24.

[79]

Персональный компьютер 20, в свою очередь, содержит жесткий диск 27 для чтения и записи данных, привод магнитных дисков 28 для чтения и записи на сменные магнитные диски 29 и оптический привод 30 для чтения и записи на сменные оптические диски 31, такие как CD-ROM, DVD-ROM и иные оптические носители информации. Жесткий диск 27, привод магнитных дисков 28, оптический привод 30 соединены с системной шиной 23 через интерфейс жесткого диска 32, интерфейс магнитных дисков 33 и интерфейс оптического привода 34 соответственно. Приводы и соответствующие компьютерные носители информации представляют собой энергонезависимые средства хранения компьютерных инструкций, структур данных, программных модулей и прочих данных персонального компьютера 20.

[80]

Настоящее описание раскрывает реализацию системы, которая использует жесткий диск 27, сменный магнитный диск 29 и сменный оптический диск 31, но следует понимать, что возможно применение иных типов компьютерных носителей информации 56, которые способны хранить данные в доступной для чтения компьютером форме (твердотельные накопители, флеш-карты памяти, цифровые диски, память с произвольным доступом (ОЗУ) и т.п.), которые подключены к системной шине 23 через контроллер 55.

[81]

Компьютер 20 имеет файловую систему 36, где хранится записанная операционная система 35, а также дополнительные программные приложения 37, другие программные модули 38 и данные программ 39. Пользователь имеет возможность вводить команды и информацию в персональный компьютер 20 посредством устройств ввода (клавиатуры 40, манипулятора «мышь» 42). Могут использоваться другие устройства ввода (не отображены): микрофон, джойстик, игровая консоль, сканнер и т.п. Подобные устройства ввода по своему обычаю подключают к компьютерной системе 20 через последовательный порт 46, который, в свою очередь, подсоединен к системной шине, но могут быть подключены иным способом, например при помощи параллельного порта, игрового порта или универсальной последовательной шины (USB). Монитор 47 или иной тип устройства отображения также подсоединен к системной шине 23 через интерфейс, такой как видеоадаптер 48. В дополнение к монитору 47, персональный компьютер может быть оснащен другими периферийными устройствами вывода (не отображены), например колонками, принтером и т.п.

[82]

Персональный компьютер 20 способен работать в сетевом окружении, при этом используется сетевое соединение с другим или несколькими удаленными компьютерами 49. Удаленный компьютер (или компьютеры) 49 являются такими же персональными компьютерами или серверами, которые имеют большинство или все упомянутые элементы, отмеченные ранее при описании существа персонального компьютера 20, представленного на Фиг. 3. В вычислительной сети могут присутствовать также и другие устройства, например маршрутизаторы, сетевые станции, пиринговые устройства или иные сетевые узлы.

[83]

Сетевые соединения могут образовывать локальную вычислительную сеть (LAN) 50 и глобальную вычислительную сеть (WAN). Такие сети применяются в корпоративных компьютерных сетях, внутренних сетях компаний и, как правило, имеют доступ к сети Интернет. В LAN- или WAN-сетях персональный компьютер 20 подключен к локальной сети 50 через сетевой адаптер или сетевой интерфейс 51. При использовании сетей персональный компьютер 20 может использовать модем 54 или иные средства обеспечения связи с глобальной вычислительной сетью, такой как Интернет. Модем 54, который является внутренним или внешним устройством, подключен к системной шине 23 посредством последовательного порта 46. Следует уточнить, что сетевые соединения являются лишь примерными и не обязаны отображать точную конфигурацию сети, т.е. в действительности существуют иные способы установления соединения техническими средствами связи одного компьютера с другим.

[84]

В заключение следует отметить, что приведенные в описании сведения являются примерами, которые не ограничивают объем настоящего изобретения, определенного формулой. Специалисту в данной области становится понятным, что могут существовать и другие варианты осуществления настоящего изобретения, согласующиеся с сущностью и объемом настоящего изобретения.

Как компенсировать расходы
на инновационную разработку
Похожие патенты