Изобретение относится к вибрационной технике, в частности к технике агропромышленного комплекса, и может быть использовано на зерноперерабатывающих предприятиях в технологическом и транспортном оборудовании. Согласно заявленному способу в четырехдебалансном вибровозбудителе, возбуждающем колебания силовых факторов по несимметричному закону для обеспечения симметричного закона колебаний, означающего равенство наибольших абсолютных значений силового фактора в положительном и отрицательном направлениях, изменяют начальное положение быстровращающихся дебалансов. Техническим результатом является варьирование скорости транспортирования и повышение эффективности процессов сепарирования зерновых смесей. 15 ил.
Способ регулирования параметров закона механических колебаний силовых факторов в центробежном вибровозбудителе, возбуждающем колебания по несимметричному закону, состоящем из четырех дебалансов, оси вращения которых расположены на общем основании, попарно имеющих одинаковые дисбалансы, и имеющих начальное положение, в котором их центробежные силы инерции создают максимальные по величине силовые факторы, и вращающихся с одинаковыми по величине угловыми скоростями, что обеспечивается передачей, синхронизирующей и согласовывающей по фазе вращение дебалансов с передаточным отношением n, равным отношению угловой скорости быстровращающихся дебалансов к угловой скорости медленновращающихся, отличающийся тем, что для обеспечения симметрии закона колебаний, означающей равенство наибольшего положительного значения силового фактора модулю его наибольшего отрицательного значения, изменяют начальное положение быстровращающихся дебалансов путем их поворота в любом направлении на угол, равный произведению 90° на дробное число из интервала значений от 0,5 до 3,5, с шагом, равным единице, при условии что передаточное отношение n является дробным числом, при умножении которого на два получают нечетное число.
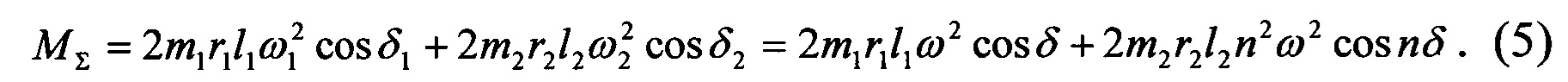
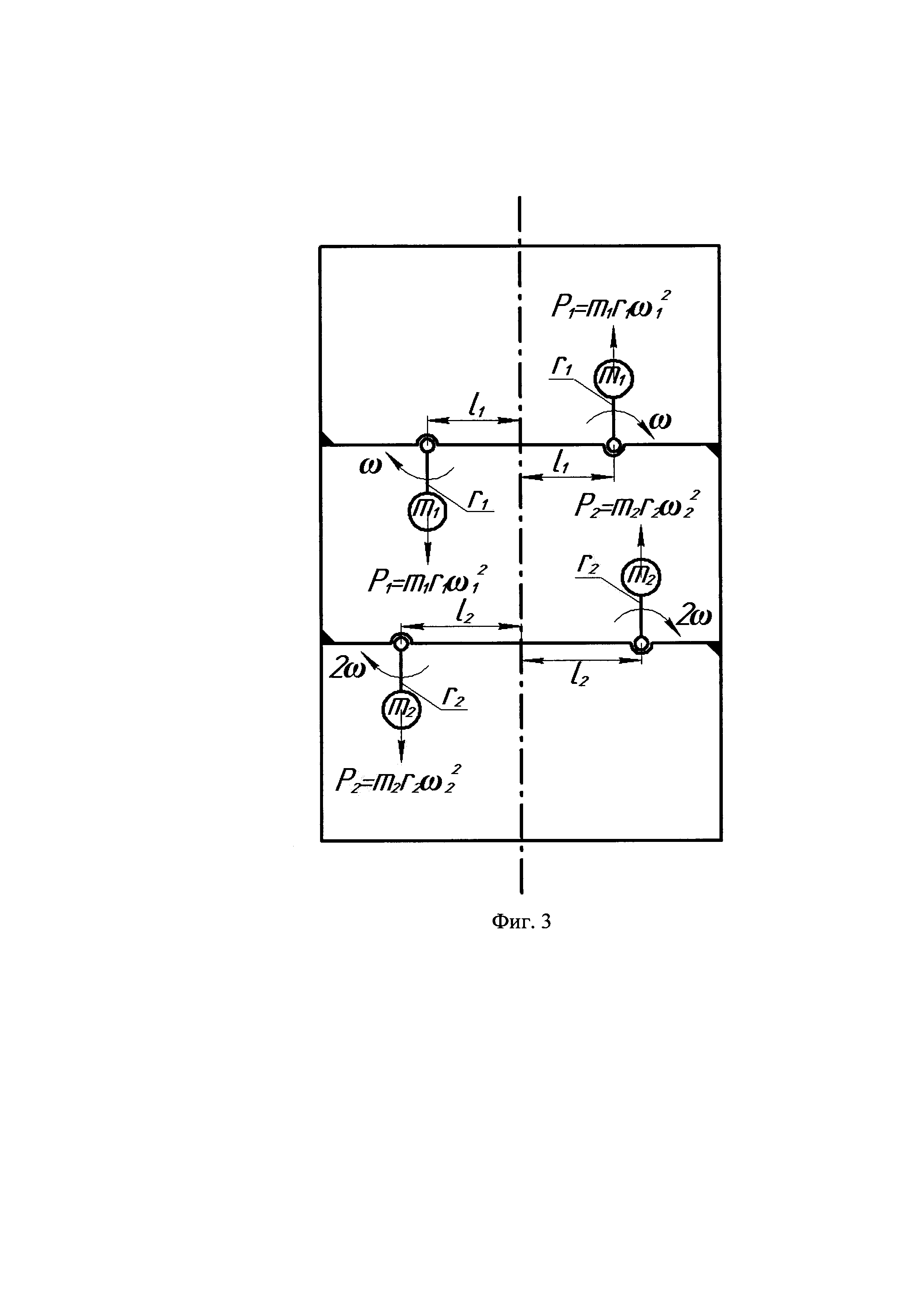
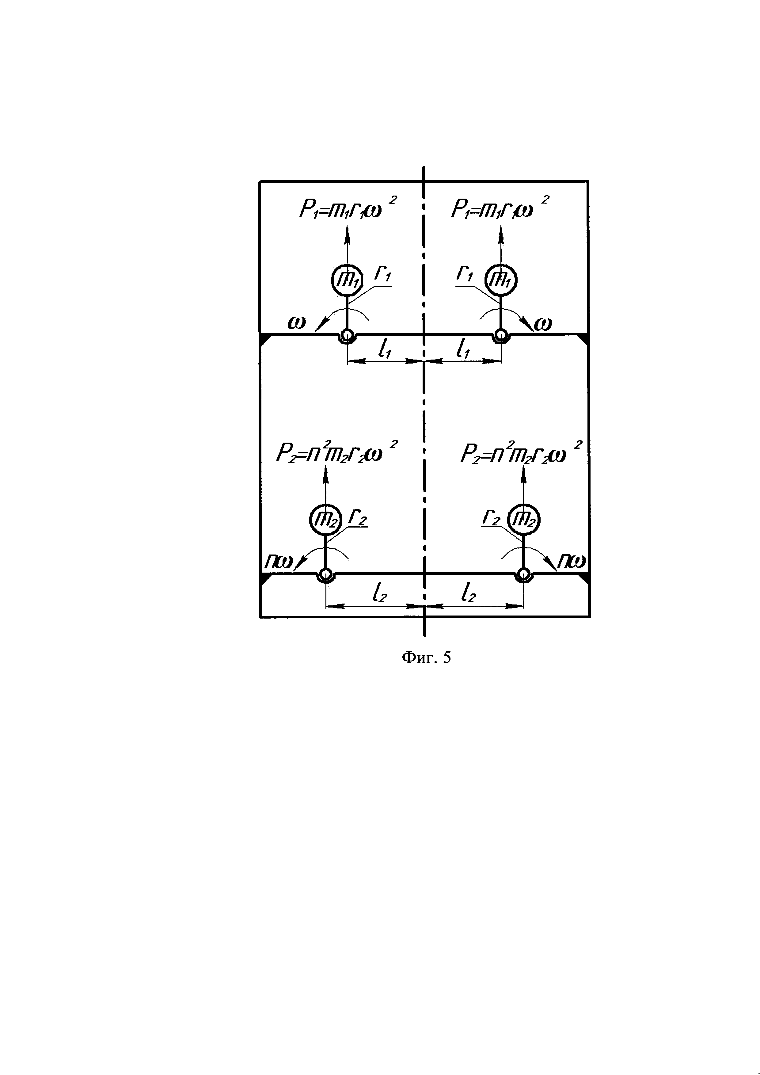
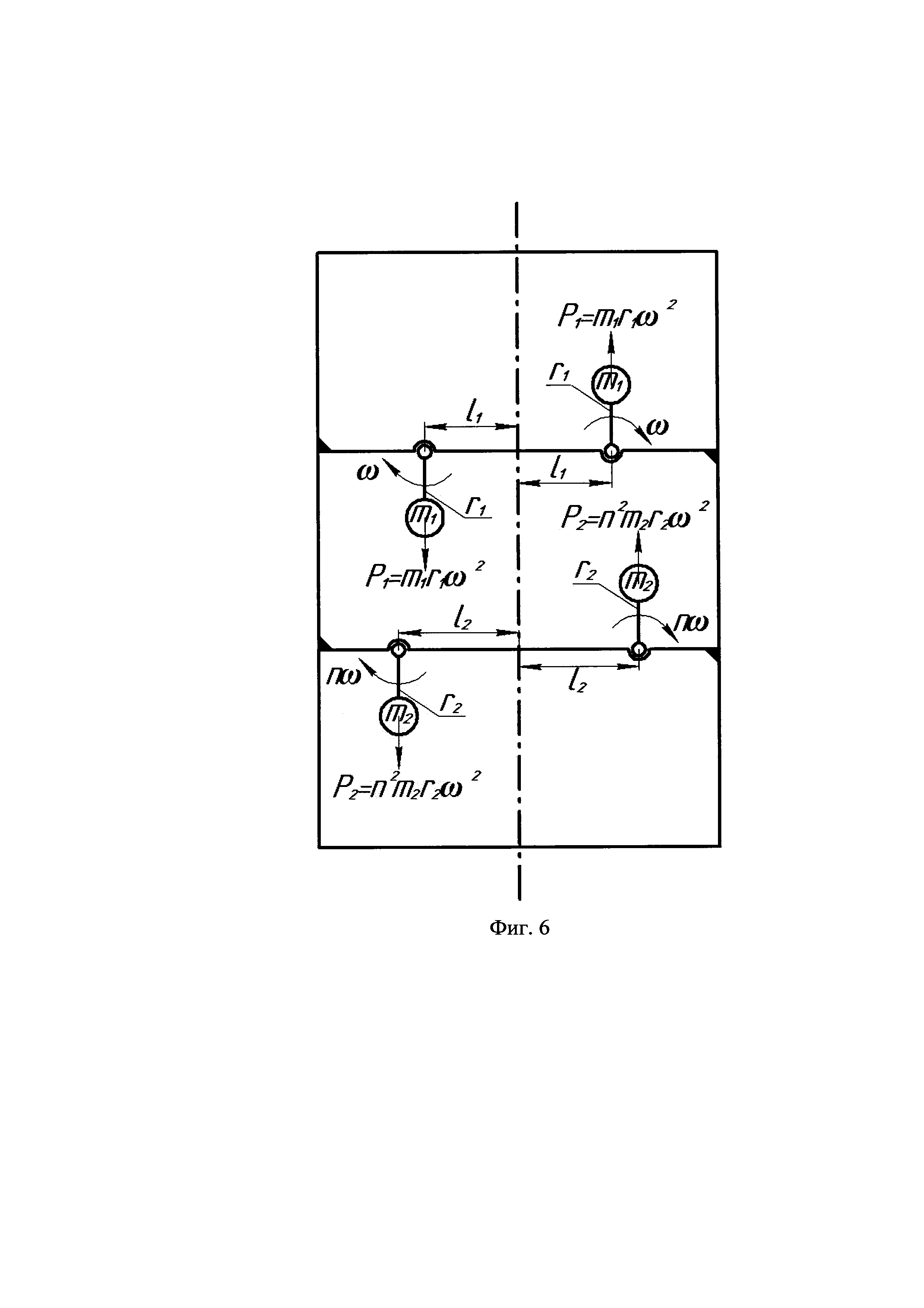
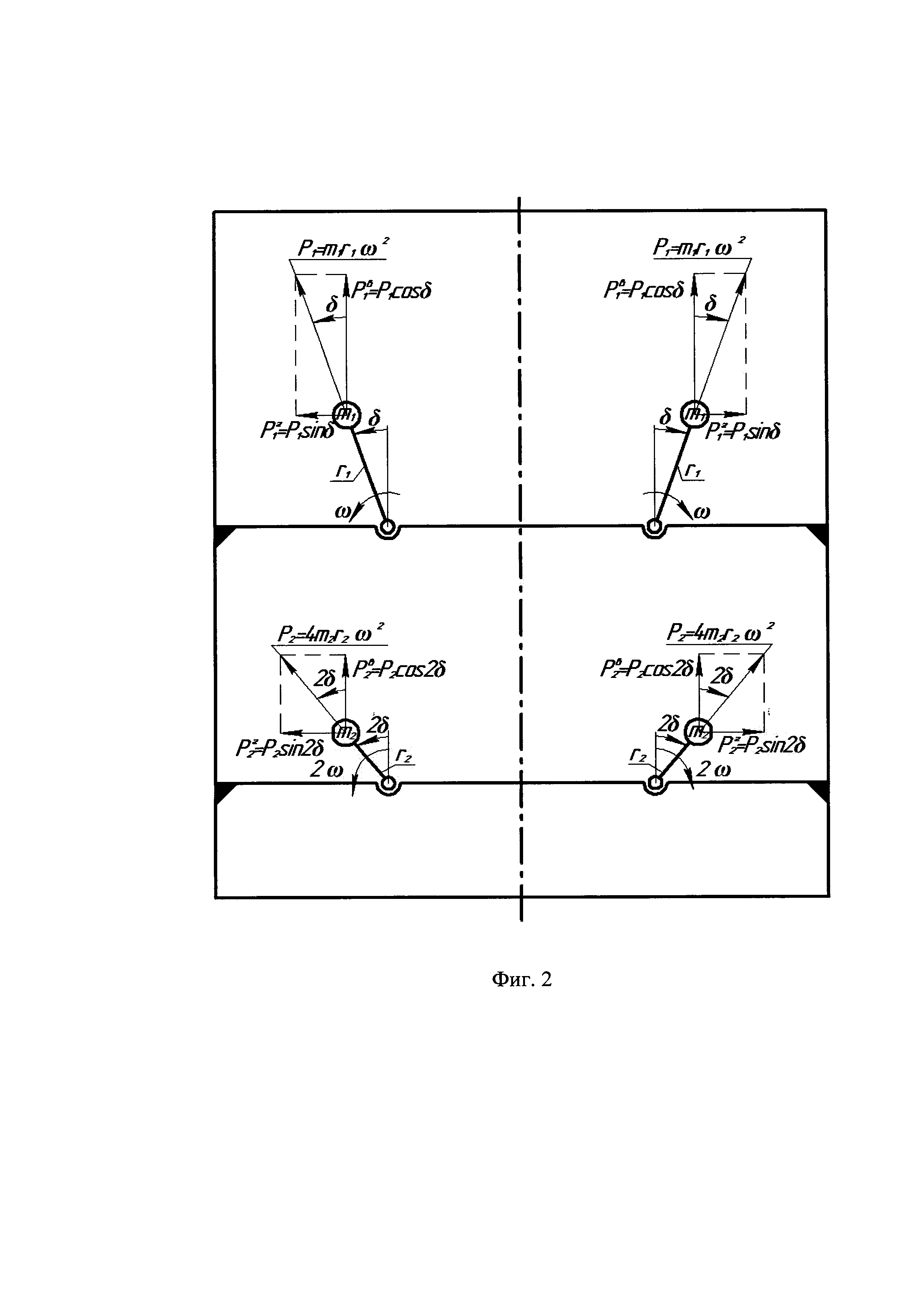
Изобретение относится к вибрационной технике, в частности к технике агропромышленного комплекса, и может быть использовано на зерноперерабатывающих предприятиях в технологическом и транспортном оборудовании. Кроме того, изобретение может быть использовано в других отраслях промышленности, связанных с переработкой сыпучих материалов. Известны способы возбуждения механических колебаний силовых факторов (силы и/или момента) с применением центробежных вибровозбудителей. При этом вибровозбудитель может содержать один или несколько дебалансов. Дебаланс представляет собой вращающееся неуравновешенное звено. Дисбалансом небаланса называют произведение неуравновешенной массы m на ее эксцентриситет r относительно оси вращения. Известен способ возбуждения негармонических (подчиняющихся несимметричному закону) колебаний силы [1] центробежным вибровозбудителем, содержащим четыре дебаланса, равномерно вращающихся вокруг параллельных осей (фиг. 1). Оси вращения дебалансов расположены на общем основании. Дебалансы попарно имеют одинаковые по величине угловые скорости противоположного направления. При этом величина угловой скорости первой пары дебалансов вдвое меньше величины угловой скорости второй пары дебалансов, то есть первая пара дебалансов вращается с угловой скоростью ω1=ω, а вторая с угловой скоростью - ω2=2ω. Дебалансы, вращающиеся с равными по величине угловыми скоростями, имеют одинаковые дисбалансы, то есть одинаковые по величине произведения неуравновешенной массы m на ее эксцентриситет r относительно оси вращения. Причем, дисбалансы дебалансов, вращающихся с частотой 2ω в четыре раза меньше величины дисбалансов дебалансов, вращающихся с частотой ω. Для упрощения дальнейших рассуждений условимся называть одноименными дебалансы, вращающиеся с равными по величине угловыми скоростями, а отрезок прямой, соединяющий оси вращения таких дебалансов, межосевым расстоянием одноименных дебалансов. Оси вращения одноименных дебалансов расположены симметрично относительно прямой, перпендикулярной их межосевому расстоянию. При этом оси вращения первой пары дебалансов и оси вращения второй пары дебалансов расположены симметрично относительно одной прямой. Поясним принцип действия такого центробежного вибровозбудителя. При равномерном вращении дебалансов развиваются центробежные силы инерции: Таким образом, создается сила, меняющаяся по негармоническому закону, направленная вдоль прямой, представляющей собой ось симметрии расположения осей вращения дебалансов. Зависимость результирующей силы от угла поворота дебалансов, описываемая уравнением (1), получена при условии, когда за начальное положение дебалансов принято такое их положение, при котором центробежные силы инерции первой и второй пар дебалансов одновременно создают максимальные по величине равнодействующие силы одинакового направления. Равнодействующие центробежных сил инерции первой и второй пар дебалансов в начальном положении соответственно равны PP1=2m1r1ω2 и PP2=8m2r2ω2. Очевидно, что при этом в начальном положении дебалансов вибровозбудитель возбуждает максимально возможную по величине силу. Следует заметить, что развиваемая таким вибровозбудителем сила способна сообщить основанию и связанному с ним рабочему органу прямолинейные негармонические колебания в том случае, если сила проходит через центр масс колеблемой системы. Негармоничность закона колебаний в данном случае означает неравенство наибольшего положительного значения ускорения рабочего органа абсолютной величине наибольшего отрицательного значения ускорения. Этот способ возбуждения колебаний силы реализован в конструкции машин с целью сообщения рабочему органу негармонических (несимметричных) прямолинейных колебаний. Известен способ возбуждения негармонических колебаний момента [2] центробежным вибровозбудителем, содержащим четыре дебаланса, вращающихся вокруг параллельных осей (фиг. 3). Оси вращения дебалансов расположены на общем основании. Дебалансы вращаются равномерно, попарно имеют одинаковые по величине и направлению угловые скорости и одинаковые дисбалансы. Вращение дебалансов синхронизировано и согласовано по фазе так чтобы одноименные дебалансы одновременно занимали положения, в которых развиваемые ими центробежные силы инерции были параллельны друг другу и направлены в противоположные стороны. Следовательно, центробежные силы инерции одноименных дебалансов создают пару сил, момент которой переменен по величине и направлению, а его величина и направление зависят от положения дебалансов. На рисунке (фиг. 4) показано произвольное положение дебалансов: дебалансы первой пары, вращающиеся с угловой скоростью ω1=ω, показаны при их повороте из начального положения на угол δ1=δ; дебалансы второй пары, вращающиеся с угловой скоростью ω2=2ω, показаны при их повороте из начального положения на угол δ2=2δ. Будем считать момент, направленный против часовой стрелки положительным. Как видно из рисунка (фиг. 4) в рассматриваемом положении силы инерции первой и второй пар дебалансов образуют пары сил, моменты которых положительны. Момент пары, создаваемой силами инерции медленно вращающихся дебалансов, равен Как видно, зависимость результирующего момента подчиняется негармоническому закону. Зависимость результирующего момента, описываемая уравнением (2), имеет место при условии: в начальном положении дебалансов центробежные силы инерции одноименных дебалансов создают максимальные по величине моменты одинакового (положительного) направления. Возбуждаемый таким вибровозбудителем результирующий момент может сообщить основанию, а, следовательно, и связанному с ним рабочему органу машины либо негармонические вращательные колебания, либо вращательно колебательное движение (вращение с наложенными на него вращательными колебаниями). Наиболее близким по технической сущности и достигаемому результату является способ возбуждения механических колебаний силовых факторов с прогнозируемыми параметрами [3] центробежным вибровозбудителем, содержащим четыре дебаланса, вращающихся вокруг параллельных осей. Оси вращения дебалансов расположены на общем основании. Дебалансы вращаются равномерно и попарно имеют одинаковые по величине угловые скорости. При этом величина угловой скорости первой пары дебалансов меньше величины угловой скорости второй пары дебалансов. Первая пара дебалансов вращается с угловой скоростью ω1=ω, а вторая с угловой скоростью ω2=nω, где n - передаточное отношение передачи, синхронизирующей и согласовывающей по фазе вращение дебалансов, равное отношению угловой скорости быстровращающихся дебалансов к угловой скорости медленновращающихся Дебалансы, вращающиеся с равными по величине угловыми скоростями, имеют одинаковые массы m и эксцентриситеты r относительно оси вращения. Оси вращения одноименных дебалансов, вращающихся с одинаковыми по величине угловыми скоростями, расположены симметрично относительно прямой, перпендикулярной их межосевому расстоянию. При этом оси вращения первой пары дебалансов и оси вращения второй пары дебалансов расположены симметрично относительно одной и той же прямой. На рисунке (фиг. 5) представлен вибровозбудитель, содержащий четыре дебаланса, предназначенный для возбуждения негармонических колебаний силы при условии: центробежные силы инерции первой и второй пар дебалансов в начальном положении развивают максимальные по величине силы одинакового направления. Зависимость возбуждаемой таким вибровозбудителем силы имеет вид Зависимость возбуждаемой силы в безразмерном выражении может быть представлена в виде где На рисунке (фиг. 6) представлен вибровозбудитель, содержащий четыре дебаланса, предназначенный для возбуждения негармонических колебаний момента при условии: центробежные силы инерции первой и второй пар дебалансов в начальном положении развивают максимальные по величине моменты одинакового направления. Зависимость возбуждаемого этим вибровозбудителем момента имеет вид Зависимость возбуждаемого момента в безразмерном выражении может быть представлена в виде где Как видно правые части уравнений (4) и (6) полностью совпадают при равенстве коэффициентов Такой четырехдебалансный вибровозбудитель в зависимости от начальной фазировки дебалансов и величины передаточного отношения передачи синхронизирующей и согласовывающей по фазе вращение дебалансов может создавать колебания силовых факторов (силы или момента) подчиняющихся либо несимметричному, либо симметричному закону. Вибровозбудитель возбуждает несимметричные колебания силовых факторов (силы или момента) в том случае, если одновременно выполняются следующие условия. В начальном положении центробежные силы инерции медленно и быстровращающихся дебалансов создают максимальные силовые факторы. Сумма полных чисел оборотов дебалансов первой и второй пар при их одновременном возвращении в начальное положение, то есть за кинематический цикл механизма вибровозбудителя, является нечетным числом. Очевидно, что второе условие выполняется при определенных значениях передаточного отношения передачи, синхронизирующей и согласовывающей по фазе вращение дебалансов. Второе условие выполняется, если передаточное отношение n передачи, синхронизирующей и согласовывающей по фазе вращение дебалансов, является дробным числом, состоящим из целой части, выраженной любым натуральным числом, и дробной части, равной пяти десятым. То есть передаточное отношение n является дробным числом вида n=i+0,5, где i - любое натуральное число. Такое дробное число можно охарактеризовать следующим образом: дробное число, при умножении которого на два получают нечетное число - 2n=2i+1. При таком значении передаточного отношения передачи, синхронизирующей и согласовывающей по фазе вращение дебалансов, в четырехдебалансном центробежном вибровозбудителе в течение кинематического цикла механизма вибровозбудителя медленновращающиеся дебалансы делают два оборота, а число полных оборотов быстровращающихся дебалансов равно нечетному числу, равному удвоенному значению передаточного отношения n. Следовательно, при таких значениях передаточного отношения n сумма полных чисел оборотов дебалансов при их одновременном возвращении в начальное положение является нечетным числом - 2i+1+2=2(i+1)+1. Вибровозбудитель возбуждает симметричные колебания силовых факторов при выполнении одного из следующих условий. В начальном положении центробежные силы инерции медленно и быстровращающихся дебалансов создают силовые факторы, равные нулю. Сумма полных чисел оборотов дебалансов первой и второй пар за кинематический цикл является четным числом. Реализация этого способа возбуждения механических колебаний силовых факторов с прогнозируемыми параметрами в приводах вибрационного технологического и транспортного оборудования для переработки зерна и других сыпучих материалов позволяет сообщать рабочим органам машин колебания с различными параметрами закона движения. То есть создать привод позволяющий, обеспечивать параметры закона колебаний рабочего органа в соответствии с осуществляемым в оборудовании процессом. Однако такой привод имеет один существенный недостаток: ограниченная область варьирования параметров закона колебаний силовых факторов. Так, для обеспечения симметричного и несимметричного законов колебаний рабочего органа необходимо либо создавать два различных вибропривода, либо обеспечивать в конструкции вибропривода возможность регулировки параметров колебаний путем изменения начального положения медленно и быстровращающихся дебалансов. Однако такая регулировка параметров (несимметрия или симметрия) закона колебаний в значительной степени усложняет конструкцию вибропривода и его обслуживание. Следовательно, использование известных способов сообщения рабочим органам машин движения по законам, параметры которых соответствуют виду осуществляемого в оборудовании процесса, сопровождается усложнением конструкции привода, а также созданием различных конструкций приводных механизмов. Реализация предлагаемого способа регулирования параметров закона колебаний силовых факторов в конструкциях оборудования для переработки зерна и других сыпучих материалов позволит создать унифицированный привод, в котором путем изменения начального положения быстровращающихся дебалансов может быть обеспечен либо симметричный, либо несимметричный закон колебаний рабочего органа. Известно, что причиной направленного в среднем движения частиц сыпучего тела по горизонтальной однородно-шероховатой поверхности, совершающей горизонтальные колебания, является несимметрия закона колебаний поверхности, выражающаяся в том, что наибольшее значение ускорения опорной поверхности в одном из направлений отличается по абсолютной величине от наибольшего значения ускорения в противоположном направлении. Средняя скорость виброперемещения является основным параметром, определяющим производительность транспортного оборудования, а в сепарирующем оборудовании - производительность и эффективность осуществляемого в этом оборудовании процесса. Средняя скорость виброперемещения влияет на эффективность процесса сепарирования через толщину слоя сыпучего материала и время его пребывания на рабочем органе. При неизменной длине рабочей поверхности (например, длина сита) увеличение средней скорости сыпучего тела уменьшает время протекания процесса сепарирования и толщину слоя. Уменьшение времени процесса сепарирования снижает его эффективность. Уменьшение толщины сыпучего тела до определенного предела, как правило, повышает эффективность процесса сепарирования. Дальнейшее уменьшение толщины слоя ниже определенного значения приводит к снижению эффективности процесса. Следовательно, в транспортном оборудовании, для увеличения его производительности, транспортирующему рабочему органу необходимо сообщать несимметричный закон колебаний. В процессах сепарирования действие вибраций на сыпучее тело проявляется в разрыхлении и самосортировании этого тела с одной стороны, и в подаче, обеспечивающей непрерывность процесса - с другой. Иногда эффективность процесса сепарирования определяется преимущественно самосортированием. Примерами таких процессов могут служить: очистка зерна от равновеликой минеральной примеси в камнеотделительных машинах; процесс ситового сепарирования, в котором проходового компонента немного, а толщина сыпучего тела во много раз превышает размеры частиц, то через сито просеиваются лишь частицы, находящиеся в нижнем слое, в который они попадают вследствие самосортирования. Если концентрация проходового компонента в исходной смеси велика, как, например, при очистке зерна от крупных примесей в сепараторе или при ситовом сепарировании зерносмеси с большой концентрацией мелкой фракции, то самосортирование не оказывает большого влияния на результаты процесса в целом и решающее значение приобретает просеивание. Согласно вышеизложенному в сепарирующих машинах параметры закона колебаний рабочего органа должны соответствовать виду осуществляемого в машине процесса. В случае необходимости закон колебаний рабочего органа должен обеспечивать эффективное самосортирование зерносмеси. Эффективность самосортирования находится в прямой зависимости от продолжительности воздействия вибраций на сыпучее тело. При осуществлении процесса сепарирования, эффективность которого определяется эффективностью процесса просеивания, закон колебаний рабочего органа должен обеспечивать оптимальную для просеивания скорость частиц сыпучего тела относительно ситовой поверхности. Следует заметить, что предлагаемый способ позволяет в зависимости от настройки вибровозбудителя обеспечивать возбуждение колебаний силовых факторов по несимметричному или симметричному закону. Возможность настройки вибровозбудителя на возбуждение либо несимметричных колебаний, либо симметричных колебаний силовых факторов в сочетании с наклоном рабочей поверхности к горизонтали и сообщением поверхности наклонных колебаний позволяет значительно расширить диапазон варьирования скорости виброперемещения. Это позволяет сделать вывод о возможности использования такого вибропривода в зависимости от его настройки, как в транспортном, так и в технологическом оборудовании. Техническая проблема изобретения - расширение арсенала технических средств для повышения эффективности процессов сепарирования зерновых смесей. Указанная техническая проблема решается предлагаемым способом возбуждения негармонических колебаний силовых факторов (силы или момента) по несимметричному закону центробежным вибровозбудителем, состоящим из четырех дебалансов, оси вращения которых расположены на общем основании, попарно имеющих одинаковые дисбалансы и имеющих начальное положение, в котором их центробежные силы инерции создают максимальные по величине силовые факторы, и вращающихся с одинаковыми по величине угловыми скоростями, что обеспечивается передачей, синхронизирующей и согласовывающей по фазе вращение дебалансов с передаточным отношением n, равным отношению угловой скорости быстровращающихся дебалансов к угловой скорости медленновращающихся, в котором, согласно изобретению, для обеспечения симметрии закона колебаний, означающей равенство наибольшего положительного значения силового фактора модулю его наибольшего отрицательного значения, изменяют начальное положение быстровращающихся дебалансов путем их поворота в любом направлении на угол, равный произведению 90° на дробное число из интервала значений от 0,5 до 3,5 с шагом, равным единице, при условии, что передаточное отношение n является дробным числом, при умножении которого на два получают нечетное число. Техническим результатом является варьирование скорости транспортирования и повышение технологической эффективности процессов сепарирования зерновых смесей. Для сообщения рабочим органам машин колебаний с параметрами, соответствующими осуществляемому процессу, применим центробежный вибровозбудитель с четырьмя дебалансами. Дисбалансы, то есть произведения неуравновешенной массы m на ее эксцентриситет r относительно оси вращения, двух дебалансов одной пары должны быть равны друг другу. Эти дебалансы должны иметь одинаковые по величине частоты вращения ω. Дисбалансы второй пары дебалансов также должны быть равны друг другу и могут отличаться по величине от дисбалансов первой пары дебалансов. Дебалансы второй пары должны иметь одинаковые по величине частоты вращения, но отличающиеся от частоты вращения первой пары дебалансов. Сохраним ранее принятую нумерацию дебалансов. Будем считать первой парой дебалансов дебалансы, вращающиеся с частотой ω1=ω, а второй парой - с частотой ω2=nω, n - дробное число вида n=i+0,5, где i - любое натуральное число. Такие дробные числа можно охарактеризовать следующим образом: дробное число, при умножении которого на два получают нечетное число 2n=2i+1. Заметим, что n>1, то есть вторая пара дебалансов вращается с большей частотой. Вращение дебалансов должно быть соответствующим образом синхронизировано и согласовано по фазе. Добиться этого можно посредством либо зубчатой (шестеренной) передачи, либо зубчатой ременной передачи, то есть передачи, исключающей проскальзывание ведущего и ведомого звеньев. Заметим, что отношение Такой вибровозбудитель позволяет получать различные законы колебаний силовых факторов (силы или момента). Эти силовые факторы, в зависимости от конструктивного исполнения (расположения) вибровозбудителя, либо передаются непосредственно на рабочий орган машины, либо на выходное звено исполнительного механизма, связанное с рабочим органом. Как отмечено выше, несимметрия закона колебаний силовых факторов означает - наибольшее положительное значение силового фактора не равно абсолютному значению его наибольшего отрицательного значения. Будем рассматривать такую начальную фазировку дебалансов, при которой вибровозбудитель возбуждает колебания силового фактора по несимметричному закону и передаточное отношение передачи, синхронизирующей и согласовывающей по фазе вращение дебалансов, является дробным числом вида i+0,5, где i - любое натуральное число. Как отмечено выше при такой фазировке дебалансов силы инерции медленно и быстровращающихся дебалансов в начальном положении должны создавать максимальные по величине силовые факторы. Очевидно, что в таком начальном положении силы инерции медленно и быстровращающихся дебалансов могут создавать силовые факторы одинакового или противоположного направления. Для определенности дальнейших рассуждений будем считать, что в начальном положении силы инерции медленно и быстровращающихся дебалансов создают максимальные по величине силовые факторы одинакового направления. Примем это направление за положительное. Такие условия начального положения дебалансов приняты потому, что эти условия наиболее просто реализуются на практике, так как направление центробежной силы инерции совпадает с направлением эксцентриситета дебаланса. Силы инерции одноименных дебалансов создают максимальный по величине силовой фактор, если они (силы инерции), а значит и эксцентриситеты, перпендикулярны прямой, соединяющей оси их вращения. Следует заметить, что, как отмечено выше, такой вибровозбудитель, содержащий четыре дебаланса, в зависимости от условий фазировки дебалансов может возбуждать либо колебания силы, либо колебания момента. При этом характеристики законов колебаний в безразмерном выражении совпадают при одинаковых значениях передаточного отношения Определим условия начальной фазировки быстровращающихся дебалансов, при которых характер закона колебаний силовых факторов меняется с несимметричного на симметричный. Очевидно, что для такой оценки влияния начальной фазировки быстровращающихся дебалансов необходимо сохранять неизменными установочные параметры вибровозбудителя, оказывающие влияние на характеристики закона колебаний. Такими параметрами являются: начальная фазировка медленновращающихся дебалансов; передаточное отношение Как условлено выше, исследовать влияние начальной фазировки быстровращающихся дебалансов будем в вибровозбудителе, предназначенном для возбуждения несимметричных колебаний силовых факторов, при условии, что передаточное отношение Изменим условия начальной фазировки быстровращающихся дебалансов путем их поворота из исходного начального положения на некоторый произвольный угол γ. На рисунке (фиг. 7) представлено новое начальное положение дебалансов в вибровозбудителе, предназначенном для возбуждения колебаний силы. Новое начальное положение дебалансов отличается от исходного начального положения тем, что быстровращающиеся дебалансы повернуты относительно исходного положения на произвольный угол γ в направлении их вращения. Тогда зависимость возбуждаемого силового фактора в безразмерном выражении при новом начальном положении дебалансов может быть представлена в виде где γ - угол отстройки быстровращающихся дебалансов от начального положения, в котором их силы инерции создают максимальный по величине силовой фактор. Определим значения угла γ, при которых такое изменение начального положения быстровращающихся дебалансов сопровождается изменением характера закона колебаний силового фактора с несимметричного на симметричный. Следует отметить, что, если передаточное отношение n передачи, синхронизирующей и согласовывающей по фазе вращение дебалансов, является дробным числом вида i+0,5, где i - любое натуральное число, то кинематический цикл механизма вибровозбудителя, то есть время, по истечении которого дебалансы возвращаются в начальное положение, соответствует двум оборотам медленновращающихся дебалансов. При этом число оборотов быстровращающихся дебалансов равно удвоенному значению передаточного отношения. При определении угла γ, следует иметь в виду, что так как тригонометрическая функция косинус является периодической функцией с периодом равным 360°, то угол γ может принимать значения в пределах от 0° до 360°. Это положение можно также объяснить следующим образом: при повороте дебалансов из исходного начального положения на угол, равный γ+360°, дебалансы займут такое же положение как при повороте на угол γ. Вибровозбудитель возбуждает колебания силовых факторов по симметричному закону, если в течение кинематического цикла дебалансы смогут занять положение, в котором силы инерции быстро и медленновращающихся дебалансов одновременно создают силовые факторы равные нулю. В этом случае должна иметь решение следующая система уравнений Определим значения угла γ, при которых система уравнений (8) имеет решение. Решением первого уравнения системы (8) являются следующие значения суммы углов где k=0,1,2, … - максимальное значение коэффициента зависит от величины передаточного отношения n передачи, синхронизирующей и согласовывающей по фазе вращение дебалансов. Так как медленновращающиеся дебалансы за кинематический цикл механизма вибровозбудителя делают два оборота, то корнями второго уравнения системы (8) являются следующие значения угла δ: δ=90°; δ=270°; δ=450° и δ=630°. Для определения значений угла γ была решена система уравнений (8) при последовательном рассмотрении каждого из четырех значений угла δ, являющихся решением второго уравнения системы. При этом учитывали, что угол γ принимает значения от 0° до 360°, то есть 0°<γ<360°. Анализ решения позволил предложить методику определения значений угла γ, отвечающих поставленному условию: при изменении начального положения быстровращающихся дебалансов путем их поворота из исходного начального положения на угол γ, закон колебаний силового фактора с несимметричного меняется на симметричный. Определим, какие значения принимает угол γ в случае, когда корень второго уравнения системы (8) равен δ=90°. Подставим значение δ=90° в уравнение (9) и после преобразований получим Как видно из уравнения (10), формула для определения значений угла γ содержит два сомножителя. Первый сомножитель равен 90°. Второй сомножитель это выражение, стоящее в круглых скобках правой части уравнения (10). В формулу для определения второго сомножителя входят передаточное отношение n передачи, синхронизирующей и согласовывающей по фазе вращение дебалансов, а также коэффициент k, зависящий от этого передаточного отношения n. Для упрощения дальнейших рассуждений обозначим Так как угол γ принимает значения от 0° до 360° (0°<γ<360°), то должно выполняться неравенство Рассмотрим выполнение условия После подстановки n=i+0,5 и преобразований получим Левая часть последнего неравенства является нечетным числом. Если целая часть i дробного числа n=i+0,5 является нечетным числом, то минимальное значение коэффициента k определяем из условия Решая уравнение (15) относительно kmin, получаем Выразим минимальное значение коэффициента kmin через передаточное отношение n передачи, синхронизирующей и согласовывающей по фазе вращение дебалансов. Для этого подставим в уравнение (16) i=n-0,5. После преобразований получим Если i четное число, то минимальное значение коэффициента k определяем из условия Из уравнения (18) получаем Рассмотрим выполнение второго условия неравенства (12), а именно условия После подстановки в неравенство (20) выражения передаточного отношения n=i+0,5 и преобразований получим Если i нечетное число, то максимальное значение коэффициента kmax определяем из условия Из уравнения (22) получаем Если i четное число, то максимальное значение коэффициента kmax определяем из условия Из уравнения (24) получаем Для определения минимальных и максимальных значений сомножителя С1 подставим в уравнение (11) соответствующие значения коэффициента k из уравнений (17), (19), (23) и (25). После преобразований получим: если целая часть i дробного числа n=i+0,5 является нечетным числом, то если целая часть i дробного числа n=i+0,5 является четным числом, то Как следует из равенств (26), (27), (28) и (29) в рассмотренном случае (δ=90°) минимальные и максимальные значения сомножителя С1 зависят от того каким числом нечетным или четным является целая часть i дробного числа n=i+0,5. Из представленных рассуждений можно сделать вывод о том, что в рассмотренном случае угол γ принимает следующие значения: γ=135° и γ=315°, если i нечетное число; γ=45° и γ=225°, если i четное число. Определим, какие значения принимает угол γ в случае, когда второе уравнение системы (8) имеет корень, равный δ=270°. После подстановки значения δ=270° в уравнение (9) и преобразований получим Обозначим Согласно условию 0°<γ<360° должно выполняться неравенство Рассмотрим выполнение условия После подстановки n=i+0,5 и преобразований неравенство (33) запишем в виде Если i нечетное число, то минимальное значение коэффициента kmin определяем из условия Из уравнения (35) получаем Если i четное число, то минимальное значение коэффициента kmin определяем из условия Из уравнения (37) получаем Рассмотрим выполнение второго условия неравенства (32), а именно условия После подстановки в неравенство (39) выражения передаточного отношения n=i+0,5 и преобразований получим Если i нечетное число, то максимальное значение коэффициента kmax определяем из условия Из уравнения (41) получаем Если i четное число, то максимальное значение коэффициента kmax определяем из условия Из уравнения (43) получаем Для определения минимальных и максимальных значений сомножителя С2 подставим в уравнение (31) соответствующие значения коэффициента k из уравнений (36), (38), (42) и (44). После преобразований получим: если i нечетное число если i четное число В рассмотренном случае (δ=270°) угол γ принимает следующие значения: γ=45° и γ=225°, если i нечетное число; γ=135° и γ=315°, если i четное число. Определим, какие значения принимает угол γ при условии, что корень второго уравнения системы (8) равен δ=450°. После подстановки δ=450° в уравнение (9) и преобразований получим Обозначим Согласно условию 0°<γ<360° должно выполняться неравенство Рассмотрим выполнение условия После подстановки n=i+0,5 и преобразований неравенство (52) запишем в виде Если i нечетное число, то минимальное значение коэффициента kmin определяем из условия Из уравнения (54) получаем Если i четное число, то минимальное значение коэффициента kmin определяем из условия Из уравнения (56)получаем Рассмотрим выполнение второго условия неравенства (51), а именно условия После подстановки в неравенство (58) выражения передаточного отношения n=i+0,5 и преобразований получим Если i нечетное число, то максимальное значение коэффициента kmax определяем из условия Из уравнения (60) получаем Если i четное число, то максимальное значение коэффициента kmax определяем из условия Из уравнения (62) получаем В рассмотренном случае (δ=450°) сомножитель С3 принимает следующие значения: при i нечетном C3min=1,5 и C3max=3,5; при i четном C3min=0,5 и Cmax=2,5. При этом, система уравнений (8) имеет решение при следующих значениях угла γ: при i нечетном γ=135° и γ=315°; при i четном γ=45° и γ=225°. Определим, какие значения принимает угол γ при условии, что корень второго уравнения системы (8) равен δ=630°. После подстановки δ=630° в уравнение (9) и преобразований получим Обозначим Согласно условию 0°<γ<360° должно выполняться неравенство Рассмотрим выполнение условия После подстановки n=i+0,5 и преобразований неравенство (67) запишем в виде При i нечетном минимальное значение коэффициента kmin определяем из условия Из уравнения (69) получаем При i четном минимальное значение коэффициента kmin определяем из условия Из уравнения (71) получаем Рассмотрим выполнение второго условия неравенства (66), а именно условия После подстановки в неравенство (73) выражения передаточного отношения n=i+0,5 и преобразований получим Если i нечетное число, то максимальное значение коэффициента kmax определяем из условия Из уравнения (75) получаем Если i четное число, то максимальное значение коэффициента kmax определяем из условия Из уравнения (77) получаем В рассмотренном случае (δ=630°), если целая часть i дробного числа n=i+0,5 является нечетным числом, то сомножитель С4 и угол γ принимает следующие значения: C4min0,5; C4max=2,5; γ=45° и γ=225°. Если i является четным числом, то сомножитель С4 и угол γ принимают следующие значения: C4min=1,5; Cmax=3,5; γ=135° и γ=315°. Результаты определения значений угла γ при всех четырех значениях корней второго уравнения системы (8) позволяют сделать следующий вывод. Система уравнений (8) имеет решение, если угол γ определен, во-первых, как произведение двух сомножителей: первый сомножитель равен 90°; второй сомножитель последователь принимает значения, равные дробным числам из интервала значений от 0,5 до 3,5 с шагом равным единице, во-вторых, при условии, что передаточное отношение n передачи, синхронизирующей и согласовывающей по фазе вращение дебалансов вибровозбудителя, является дробным числом, при умножении которого на два получают нечетное число. Представленные выводы соответствуют случаю, когда для изменения характера закона колебаний силового фактора с несимметричного на симметричный изменяют начальное положение быстровращающихся дебалансов путем их поворота на угол γ в направлении вращения. Следует заметить, что при определении значений угла γ за положительное направление отсчета угла было принято направление, совпадающее с направлением вращения дебалансов. Таким образом, представленные выше выводы соответствуют случаю определения положительных значений угла γ. Аналогичные выводы получены для случая изменения начального положения быстровращающихся дебалансов путем их поворота в направлении, противоположном направлению вращения дебалансов, то есть при повороте быстровращающихся дебалансов на угол - γ. Отметим, что в этом случае зависимость силового фактора в безразмерном выражении имеет вид Установлено, что характер закона колебаний силового фактора меняется с несимметричного на симметричный, если отрицательные значения угла γ по абсолютной величине равны положительным значениям угла, то есть каждому положительному значению угла γ соответствует равное ему по абсолютной величине отрицательное значение угла |-γ|. При этом, всякому положительному значению угла γ+ соответствует такое отрицательное значение угла γ-, что сумма абсолютных значений этих углов равна 360°. Из представленных выше рассуждений следует, что для любого положительного значения угла γ+ существует отрицательное значение угла γ-, при котором зависимость ƒ(δ)=cos(nδ-γ-)+ Для подтверждения предложенной выше методики определения значений угла γ были исследованы зависимости ƒ(δ)=cos(nδ+γ)+ На рисунках (фиг. 8), (фиг. 9), (фиг. 10), (фиг. 11), (фиг. 12), (фиг. 13) и (фиг. 14) в качестве примера показаны зависимости силового фактора для двух значений передаточного отношения n передачи, синхронизирующей и согласовывающей по фазе вращение дебалансов. На рисунках (фиг. 8), (фиг. 9), (фиг. 10), (фиг. 11) и (фиг. 12) представлены зависимости при передаточном отношении n, равном n=1,5 для всех значений угла γ, которые определены по предложенной методике. На рисунках (фиг. 13) и (фиг. 14) представлены зависимости при передаточном отношении n, равном n=2,5 для одного из рассчитанных значений угла γ. Представленные на указанных выше рисунках зависимости силового фактора соответствуют случаю, когда отношение максимальных силовых факторов, создаваемых силами инерции медленно и быстровращающихся дебалансов, равно единице, то есть при условии, когда коэффициент Результаты определения экстремумов зависимостей силового фактора при отрицательных значениях угла γ подтвердили полученный ранее вывод. Если передаточное отношение n является дробным числом вида n=i+0,5, где i - любое натуральное число, то угол γ имеет следующие отрицательные значения: -45°; -135°; -225° и -315°. Исследованиями зависимостей силового фактора для различных значений передаточного отношения n, являющихся дробным числом вида n=i+0,5, при указанных выше положительных и отрицательных значениях угла γ, установлено. Все исследованные зависимости силовых факторов является симметричными. Зависимость ƒ(δ)=cos(nδ+45°)+cosδ совпадает с зависимостью ƒ(δ)=cos(nδ-315°)+cosδ, так как в этом случае, во-первых, дебалансы занимают одно и тоже начальное положение при повороте быстровращающихся дебалансов из исходного начального положения либо на угол γ=45°, либо на угол γ=-315°, во-вторых, cos(nδ+45°)=cos(nδ-315°). Второе положение легко доказывается с помощью известных формул. По тем же причинам совпадают зависимости: ƒ(δ)=cos(nδ+135°)+cosδ и ƒ(δ)=cos(nδ-225°)+cosδ; ƒ(δ)=cos(nδ+225°)+cosδ и ƒ(δ)=cos(nδ-135°)+cosδ; ƒ(δ)=cos(nδ+315°)+cosδ и ƒ(δ)=cos(nδ-45)+cosδ. Таким образом, представленные выше рассуждения позволяют сделать следующий вывод. В центробежном вибровозбудителе, содержащем четыре дебаланса, вращающихся вокруг параллельных осей, расположенных на общем основании и имеющих попарно одинаковые по величине угловые скорости и дисбалансы, занимающих начальное положение, в котором их центробежные силы инерции создают максимальные по величине силовые факторы, что обеспечивается передачей, синхронизирующей и согласовывающей по фазе вращение дебалансов, с передаточным отношением, равным отношению угловой скорости быстровращающихся дебалансов к угловой скорости медленновращающихся, для изменения закона колебаний силового фактора с несимметричного на симметричный изменяют начальное положение быстровращающихся дебалансов путем их поворота в любом направлении на угол, равный произведению 90° на дробное число из интервала значений от 0,5 до 3,5 с шагом, равным единице, при условии, что передаточное отношение n является дробным числом, при умножении которого на два получают нечетное число. Предлагаемый способ регулирования параметров закона механических колебаний силовых факторов может быть использован с целью совершенствования транспортного и технологического оборудования зерноперерабатывающих предприятий. В случае использования предлагаемого способа в транспортном оборудовании устройство работает следующим образом. Оси вращения дебалансов располагают на общем основании (фиг. 15), жестко связанном с рабочей поверхностью транспортирующего устройства. На рисунке (фиг. 15) пунктиром показано начальное положение быстровращающихся дебалансов, соответствующее исходному начальному положению дебалансов, то есть положению, в котором силы инерции медленно и быстровращающихся дебалансов создают максимальные силовые факторы одинакового положительного направления. Такое начальное положение дебалансов на основании вибровозбудителя (фиг. 15) отмечено знаком «+». Как отмечено выше, при таком начальном положении дебалансов вибровозбудитель возбуждает колебания силового фактора по несимметричному закону. В этом случае несимметрия закона колебаний выражается в том, что максимальное положительное значение силового фактора больше максимального по абсолютной величине его отрицательного значения. На рисунке (фиг. 15) для случая, когда передаточное отношение n передачи, синхронизирующей и согласовывающей по фазе вращение дебалансов, является дробным числом вида n=i+0,5, где i - любое натуральное число на основании вибровозбудителя знаками 01, 02, 03 и 04 отмечены четыре различных начальных положения быстровращающихся дебалансов, при которых вибровозбудитель возбуждает колебания силового фактора (силы) по симметричному закону. При этом, симметрия закона колебаний означает, что максимальное положительное значение силового фактора равно максимальному по абсолютной величине его отрицательному значению. На рисунке (фиг. 15) быстровращающиеся дебалансы показаны в одном из четырех возможных начальных положений дебалансов, в котором закон колебаний силового фактора, возбуждаемого вибровозбудителем, симметричный. Следует отметить, что при конструктивном исполнении привода с использованием предлагаемого способа регулирования параметров закона механических колебаний силовых факторов достаточно использовать одно из четырех возможных начальных положений быстровращающихся дебалансов, позволяющих получать симметричный закон колебаний силового фактора. Таким положением должно быть выбрано положение, которое наиболее просто в конструктивном исполнении в данном конкретном оборудовании. При вращении дебалансов их центробежные силы инерции создают прямолинейно колеблющуюся результирующую силу. При этом, в зависимости от начальной фазировки дебалансов результирующая сила совершает колебания либо по несимметричному, либо по симметричному закону. Следовательно, вибропривод в зависимости от его настройки позволяет сообщать рабочей поверхности колебания по несимметричному или симметричному законам. Несимметрия закона колебаний рабочей поверхности означает, что наибольшее положительное значение ускорения поверхности не равно модулю наибольшего отрицательного ускорения. Если закон симметричен, то наибольшее положительное значение ускорения поверхности равно модулю наибольшего отрицательного значения ускорения. Зерновая смесь поступает на рабочую поверхность и под действием колебаний транспортируется вдоль нее. Скорость транспортирования определяет производительность транспортного оборудования. Следует отметить, что сообщение рабочей поверхности несимметричных колебаний при прочих одинаковых условиях сопровождается увеличением скорости транспортирования, а значит и производительности транспортного оборудования. Кроме того, возможность привода сообщать рабочей поверхности несимметричные или симметричные колебания в сочетании с наклоном поверхности к горизонтали и сообщением ей наклонных колебаний позволяет в значительной степени расширить диапазон варьирования скорости транспортирования. В случае применения предлагаемого способа в технологическом оборудовании для осуществления процессов сепарирования устройство работает следующим образом. Рассмотрим работу устройства на примере очистки зерновой смеси от крупных примесей при прямолинейных колебаниях ситовой поверхности. Исходная зерновая смесь непрерывным потоком поступает на ситовую поверхность, совершающую прямолинейные колебания. Колебания поверхности обеспечивают транспортирование зерновой смеси и ее самосортирование. В процессе самосортирования крупные примеси всплывают в верхний слой, а зерна основной культуры погружаются в нижний слой зернового потока. При движении зерна проходят над отверстиями ситовой поверхности и при наступлении благоприятных условий просеиваются. Так как при очистке зерна от крупных примесей исходная зерновая смесь состоит в основном из проходовых (зерно) частиц, то самосортирование не оказывает большого влияния на результаты процесса в целом и решающее значение имеет просеивание. Предлагаемый способ сообщения рабочей поверхности либо несимметричных, либо симметричных колебаний в сочетании с наклоном рабочей поверхности к горизонтали и сообщением ей наклонных колебаний позволяет обеспечить такую скорость зерновой смеси относительно ситовой поверхности, при которой создаются наиболее благоприятные условия для просеивания. Аналогичным образом могут быть созданы условия для наиболее эффективного осуществления процесса сепарирования, в котором определяющее значение имеет процесс самосортирования. Реализация предлагаемого способа регулирования параметров закона механических колебаний силовых факторов открывает перспективу создания унифицированного привода транспортного и технологического оборудования зерноперерабатывающих предприятий. Список литературы. 1. Patentschrift №955 756 (DFR), K1. 81 е, Gr. 53, Internal. K1. В 65 g, 10.01.1957. 2. RU 2528271 C2 30.10.2012. 3. RU 2528550C2 21.12.2012.
- центробежная сила инерции, развиваемая дебалансом первой пары;
- центробежная сила инерции, развиваемая дебалансом второй пары. На рисунке (фиг. 2) показано некоторое произвольное положение дебалансов после поворота из начального положения первой пары дебалансов на угол δ1=δ, второй пары - на угол δ2=2δ. Как видно из рисунка, горизонтальные составляющие сил инерции одноименных дебалансов взаимно уравновешивают друг друга. Вертикальные составляющие сил инерции дебалансов складываясь, образуют результирующую силу, зависимость которой от угла поворота дебалансов имеет вид
. Момент пары, создаваемой силами инерции быстровращающихся дебалансов, равен
Результирующий момент, возбуждаемый вибровозбудителем, равен алгебраической сумме моментов создаваемых центробежными силами инерции первой и второй пар дебалансов. Зависимость результирующего момента от угла поворота дебалансов имеет вид
.

- коэффициент, равный отношению максимального значения силы, создаваемой силами инерции медленновращающихся дебалансов, к максимальному значению силы, создаваемой силами инерции быстровращающихся дебалансов.

- коэффициент, равный отношению максимального значения момента, создаваемого силами инерции медленновращающихся дебалансов, к максимальному значению момента, создаваемого силами инерции быстровращающихся дебалансов.
является передаточным отношением передачи, синхронизирующей и согласовывающей по фазе вращение первой и второй пар дебалансов. При таких значениях передаточного отношения кинематический цикл механизма вибровозбудителя, то есть время, по истечении которого дебалансы возвращаются в начальное положение, соответствует двум оборотам медленновращающихся дебалансов. При этом число оборотов быстровращающихся дебалансов равно удвоенному значению передаточного отношения.
при одинаковых условиях начальной фазировки дебалансов и при одинаковых соотношениях максимального значения силового фактора, создаваемого силами инерции медленновращающихся дебалансов к максимальному значению силового фактора, создаваемого силами инерции быстровращающихся дебалансов. Выполнение последнего условия означает, что в уравнениях (4) и (6) коэффициенты а и b равны друг другу, то есть
соотношение максимальных силовых факторов, создаваемых силами инерции медленно и быстровращающихся дебалансов.
является дробным числом вида i+0,5, где i - любое натуральное число. Исходным начальным положением дебалансов является такое их положение, при котором силы инерции быстро и медленновращающихся дебалансов создают силовые факторы максимальные по величине одинакового направления (фиг. 5) и (фиг. 6). Следовательно, неизменным начальным положением медленновращающихся дебалансов является положение, в котором их центробежные силы инерции создают максимальный по величине силовой фактор в положительном направлении.







































































