патент
№ RU 2393270
МПК C23C16/513

СВЧ ПЛАЗМЕННЫЙ РЕАКТОР

Авторы:
Атежев Владимир Васильевич
Номер заявки
2008147516/02
Дата подачи заявки
03.12.2008
Опубликовано
27.06.2010
Страна
RU
Как управлять
интеллектуальной собственностью
Чертежи 
4
Реферат

Изобретение относится к СВЧ плазменным реакторам для плазмохимического синтеза вещества из газовой фазы. СВЧ плазменный реактор содержит герметичный осесимметричный радиальный волновод. В центральной части волновода установлены подложка, держатель подложки. Внешняя по отношению к подложке сторона держателя соединена с теплообменником. Между держателем подложки и теплообменником, с зазором по отношению к стенке реактора, установлен теплоотводящий элемент такой формы, что площадь сечения поперечного оси симметрии теплоотводящего элемента уменьшается с увеличением расстояния от подложки. Изобретение позволяет обеспечить равномерную температуру подложкодержателя за счет избирательного теплоотводящего элемента, что позволяет получать однородные качественные пленки материала в СВЧ плазменном реакторе без применения дополнительных устройств контроля и управления. 6 з.п. ф-лы, 4 ил.

Формула изобретения

1. СВЧ плазменный реактор, содержащий герметичный осесимметричный радиальный волновод, в центральной части которого на держателе установлена подложка, причем внешняя по отношению к подложке сторона держателя подложки соединена с теплообменником, отличающийся тем, что между держателем подложки и теплообменником, с зазором по отношению к стенке реактора установлен теплоотводящий элемент такой формы, площадь сечения, поперечного оси симметрии теплоотводящего элемента, которой уменьшается с увеличением расстояния от подложки.

2. СВЧ плазменный реактор по п.1, отличающийся тем, что теплопроводность материала держателя подложки выше теплопроводности материала теплоотводящего элемента.

3. СВЧ плазменный реактор по п.1, отличающийся тем, что зазор между теплоотводящим элементом и корпусом реактора является каналом откачки рабочей газовой смеси.

4. СВЧ плазменный реактор по любому из пп.1-3, отличающийся тем, что хотя бы часть стенки реактора, противоположная теплоотводящему элементу, выполнена с высоким коэффициентом отражения теплового излучения.

5. СВЧ плазменный реактор по любому из пп.1 и 3, отличающийся тем, что держатель подложки и теплоотводящий элемент выполнены интегрированно.

6. СВЧ плазменный реактор по любому из пп.1- 3, отличающийся тем, что теплоотводящий элемент и теплообменник выполнены интегрированно.

7. СВЧ плазменный реактор по любому из пп.1 и 3, отличающийся тем, что держатель подложки, теплоотводящий элемент и теплообменник выполнены интегрированно.

Описание

[1]

Предлагаемое техническое решение относится к СВЧ реакторам для плазмохимического синтеза материалов из газовой фазы.

[2]

Одной из задач является синтез углеродсодержащей пленки большой площади с высокой степенью однородности.

[3]

При формировании алмазной пленки в СВЧ реакторе с радиальным волноводом неоднородность распределения поля и, соответственно, энерговклада в плазму в зоне синтеза возрастает с увеличением подводимой мощности СВЧ энергии и диаметра образца. Для повышения равномерности роста пленки по всей поверхности подложки необходимо компенсировать неоднородности температуры, возникающие из-за неоднородности энерговклада в плазму.

[4]

Известен держатель подложки (заявка РСТ WO 9737375), в котором держатель подложки содержит множество термоэлектрических модулей, находящихся в тепловом контакте с поверхностью держателя подложки. Для поддержания необходимой однородности температуры по поверхности подложки требуется постоянный контроль температуры и управление термоэлектрическими модулями, что усложняет систему и снижает ее надежность.

[5]

Известен держатель подложки (Заявка РСТ WO 2007136023), в котором для выравнивания температуры подложки выполнены каналы с охлаждающим агентом. Однако для повышения однородности температуры поверхности требуется сложная герметичная структура каналов под подложкой. Кроме того, каналы выполнены дискретно, что ограничивает степень однородности температуры подложки.

[6]

Задачей изобретения является создание СВЧ плазменного реактора с высокой однородностью температурного поля в зоне синтеза образца.

[7]

СВЧ плазменный реактор, содержащий герметичный осесимметричный радиальный волновод, в центральной части которого установлены подложка, держатель подложки, внешняя по отношению к подложке сторона держателя подложки соединена с теплообменником, между держателем подложки и теплообменником, с зазором по отношению к стенке реактора, установлен теплоотводящий элемент такой формы, что площадь сечения поперечного оси симметрии теплоотводящего элемента уменьшается с увеличением расстояния от подложки. Синтез образца происходит на подложке в объемном разряде, который формируется электромагнитным полем радиального волновода реактора. Распределение температуры в зоне подложки определяется распределением плотности вводимой в разряд мощности, которая промодулирована в соответствии с рабочей длиной волны магнетрона. Подложка находится в контакте как с плазмой разряда, так и с держателем подложки. Теплоотводящий элемент выполнен такой формы, что площадь сечения поперечного оси симметрии теплоотводящего элемента уменьшается с увеличением расстояния от подложки. С учетом усредненных расстояний и поперечных сечений теплоотводящего элемента такая «Т-образная» форма имеет канал повышенного теплообмена между наиболее нагреваемой центральной зоной подложки и теплообменником и канал низкого уровня теплообмена между периферией подложки и теплообменником. Поэтому количество отводимого тепла от центральной части подложки, где амплитуда СВЧ поля наибольшая, также наибольшее. Так как от зоны с большей вкладываемой мощностью отводится большее количество тепла, то это способствует выравниванию температуры держателя подложки. Поскольку теплоотводящий элемент напрямую соединяет центральную зону подложки с периферийной зоной подложки, то происходит выравнивание температуры подложки и за счет теплообмена между этими зонами. Форма теплоотводящего элемента с уменьшающейся площадью поперечного сечения отводит тепло пропорционально распределению плотности мощности, вкладываемой в зоне подложки. Оптимальные размеры теплоотводящего элемента и параметры теплообменника выбираются из условий однородности температуры в зоне подложки при минимальном тепловом потоке между теплоотводящим элементом и теплообменником. Таким образом, созданы условия для более равномерного роста пленки без применения дополнительных устройств контроля и управления системой, что обеспечивает стабильность, надежность и высокий ресурс работы реактора.

[8]

Теплопроводность материала держателя подложки выше теплопроводности материала теплоотводящего элемента. Это позволяет более эффективно использовать затрачиваемую на технологический процесс энергию, так как радиальный тепловой поток от центра к периферии подложки вносит основной вклад в выравнивание температурных условий. Теплоотводящий элемент при этом производит отбор только некомпенсированной радиальным потоком части тепла.

[9]

Зазор между теплоотводящим элементом и стенкой реактора служит каналом откачки рабочей газовой смеси. В предложенной конструкции выведение отработанного, нагретого в разряде газа через радиальный зазор позволяет дополнительно нагревать периферийную зону теплоотводящего элемента. Это ведет к повышению температуры периферии подложки и выравниванию температурных условий во всей зоне синтеза. При этом повышается эффективность использования энергии.

[10]

Хотя бы часть стенки зазора, противоположная теплоотводящему элементу, выполнена с высоким коэффициентом отражения теплового излучения. Поскольку наибольшая энергия вкладывается в центральной части подложки, то периферийные части подложки оказываются менее нагретыми, и стенка, противоположная теплоотводящему элементу, выполненная с высоким коэффициентом отражения теплового излучения, позволяет отражать тепловое излучение реактора в менее нагретые периферические части держателя, тем самым дополнительно выравнивая распределение температуры держателя. Это способствует равномерности роста пленки по поверхности подложки большой площади без дополнительных затрат энергии.

[11]

Держатель подложки и теплоотводящий элемент выполнены интегрированно. Исполнение держателя подложки и теплоотводящего элемента в виде одного монолитного элемента уменьшает тепловое сопротивление между подложкой и теплопроводящим элементом, что в итоге снижает температурный градиент между центром и периферией подложки, а также упрощает конструкцию.

[12]

Теплоотводящий элемент и теплообменник выполнены интегрированно. Это уменьшает тепловое сопротивление между теплоотводящим элементом и теплообменником, что снижает время выхода на стационарный режим работы после включения реактора, уменьшает габариты и упрощает конструкцию.

[13]

Держатель подложки, теплоотводящий элемент и теплообменник выполнены интегрированно. Это снижает тепловое сопротивление между подложкой и теплообменником и упрощает конструкцию.

[14]

Техническим результатом предлагаемого технического решения является создание СВЧ плазменного реактора, обеспечивающего синтез качественных однородных пленок большой площади.

[15]

Описание чертежей

[16]

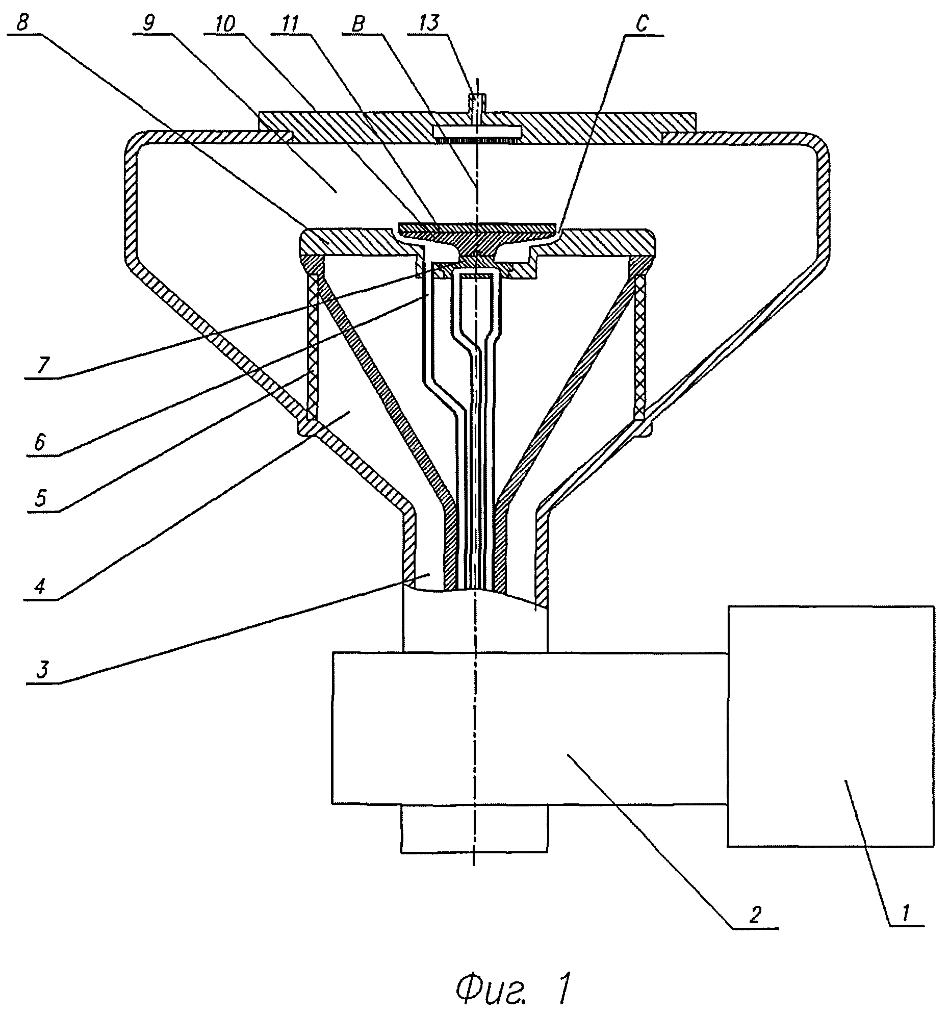
На фиг.1 представлена конструктивная схема поперечного сечения конструкции СВЧ плазменного реактора с радиальным волноводом.

[17]

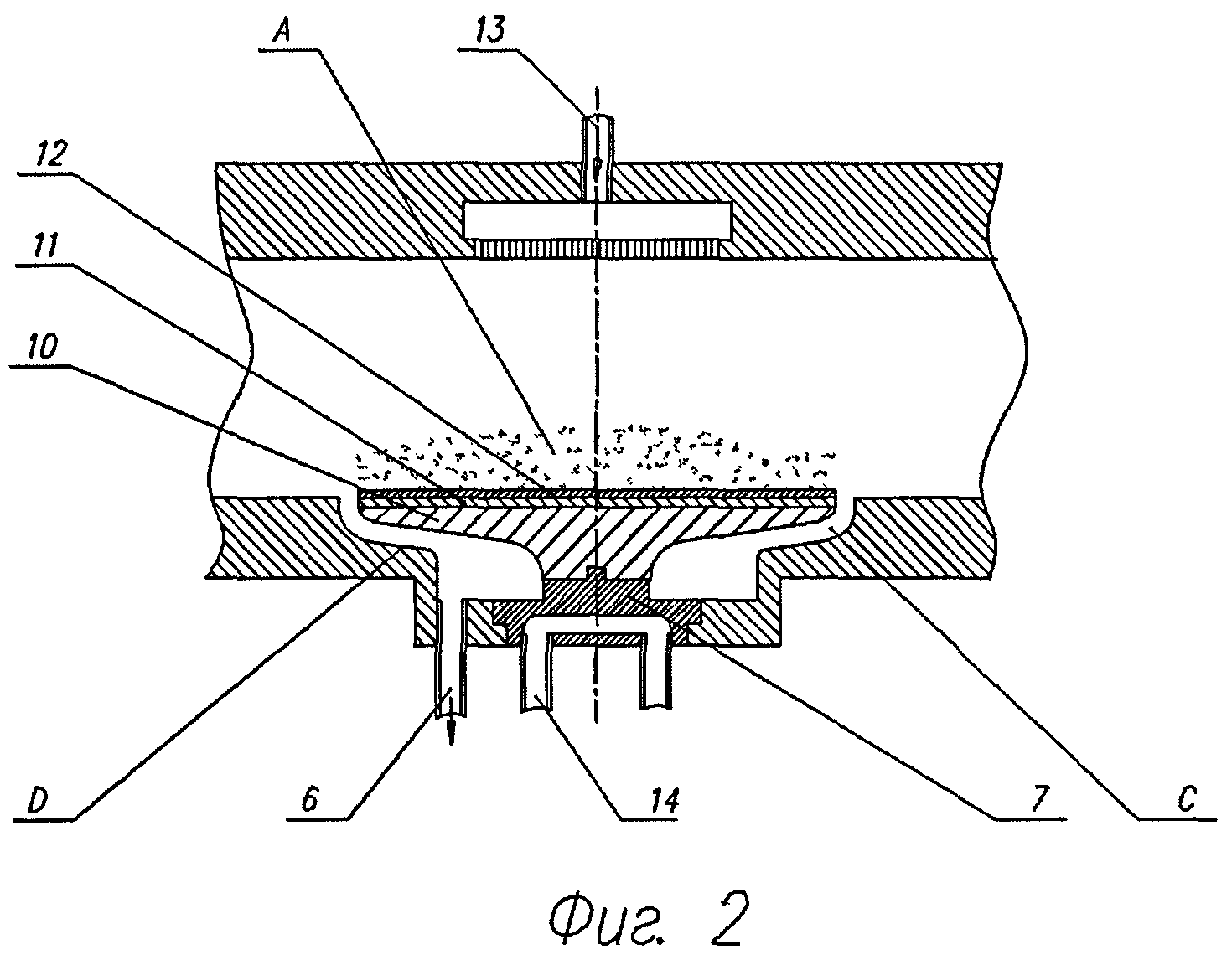
На фиг.2 представлено поперечное сечение узла, состоящего из подложки, держателя подложки, теплообменника и теплопроводящего элемента с увеличенным теплоотводом от центральной части подложки.

[18]

На фиг.3 представлено поперечное сечение держателя подложки, совмещенного с теплоотводящим элементом.

[19]

На фиг.4 представлено поперечное сечение теплоотводящего элемента, совмещенного с теплообменником.

[20]

СВЧ плазменный реактор по фиг.1, 2 содержит магнетрон 1, волноводы - прямоугольный 2, коаксиальный 3, коаксиальный конический 4 и радиальный 9. В центре герметичной осесимметричной камеры реактора, изолированной изолятором 5, расположена зона синтеза А, держатель подложки 11 и подложка 12. Держатель 11 установлен на теплообменнике 7 через теплопроводящий элемент 10. Держатель подложки 11, теплоотводящий элемент 7 и теплообменник имеют общую с радиальным волноводом ось симметрии В. Между теплоотводящим элементом 10 и стенкой реактора 8 имеется радиальный тепловой зазор С, который геометрически выполнен в виде короткозамкнутой полуволновой линии. Одной стороной зазора С является боковая поверхность теплоотводящего элемента 10, другой стороной является стенка реактора 8, удаленная от центра часть которой имеет теплоотражающую поверхность D. Трубопровод 13 служит для подачи, а трубопровод 6 и радиальный зазор С - для откачки рабочей газовой смеси. Подача хладагента в теплообменник 7 происходит по трубопроводу 14. Площадь поперечного оси симметрии В сечения теплоотводящего элемента 10 уменьшается с увеличением расстояния от держателя подложки 11. Теплоотводящий элемент 10 контактирует с теплообменником 7 в зоне оси симметрии.

[21]

СВЧ реактор работает следующим образом. В зоне синтеза А через трубопроводы 6, 13 и зазор С прокачивается рабочая газовая смесь при заданном давлении. От магнетрона 1, по волноводам 2, 3, 4, 9 в зону синтеза А поступает энергия, поддерживающая СВЧ разряд. Плазмохимические реакции, происходящие в разряде, синтезируют материал на поверхности подложки 12, установленной на держателе подложки 11.

[22]

В центральной части радиального волновода Е1 устанавливается максимальная напряженность поля, что является причиной неоднородности энерговклада в плазму. Газовая температура плазмы в зоне синтеза А и, соответственно, температура примыкающей к ней подложки 12 снижаются от центра Е1 к периферии Е2 подложки 10. Подложка и теплоотводящий элемент 10 часть тепла переносят радиально, от центральной зоны подложки Е1 к периферии подложки Е2, а избыточную часть тепла отводят от центра подложки в теплообменник 7. При этом благодаря описанной выше форме теплоотводящего элемента тепло из периферийной зоны Е2 в теплообменник 7 не переносится. Допустимый температурный градиент между центральной и периферийной зонами подложки достигается установкой соответствующего расхода и/или температуры хладагента в теплообменнике 7.

[23]

Увеличение теплопроводности материала подложки 11 по сравнению с теплопроводностью элемента 10 создает два канала отвода тепла из зоны наибольшего вклада мощности. Радиальный тепловой поток от центра к периферии подложки вносит основной вклад в выравнивание температурных условий. А теплоотводящий элемент при этом производит отбор на теплообменник только не скомпенсированной радиальным потоком части тепла. Это позволяет выравнивать температурные условия по всей поверхности подложки при эффективном расходовании энергии и обеспечивает равномерный рост пленки относительно больших размеров.

[24]

Прокачка рабочего газа через зазор С, с забором газа непосредственно из высокотемпературной зоны реактора, выравнивает температуру зоны синтеза за счет повышения температуры периферии держателя подложки 10 и, соответственно, периферии зоны подложки Е2 без дополнительного энерговклада.

[25]

Интегрированное исполнение 15 теплоотводящего элемента с держателем подложки и интегрированное исполнение 16 теплоотводящего элемента с теплообменником повышают эффективность использования энергии, снижает габариты и упрощает конструкцию СВЧ реактора.

Как компенсировать расходы
на инновационную разработку
Похожие патенты