Изобретение относится к технологии переработки растительного сырья, конкретно к способу получения биологически активных веществ и кормовой муки из древесной зелени различных пород. Способ включает измельчение древесной зелени в состоянии естественной влажности, прогрев перед подачей в экстрактор, противоточный процесс экстракции раствором этанола в течение 6-8 часов при температуре 20-40°C с последующей повторной его подачей в обрабатываемую зелень. Полученный экстракт выпаривают путем удаления этанола и воды. Этанол удаляют эжекторным насосом эжектированием охлажденным раствором этанола. Воду удаляют вакуумным водокольцевым насосом. Оборотную воду вакуумного водокольцевого насоса охлаждают эжектированием раствором этанола. Тепловую энергию эжектирующего раствора этанола отводят на выпаривание экстракта, на прогрев древесной зелени и экстрагента перед подачей в экстрактор. Остаточное давление, создаваемое эжекторным насосом, составляет 1,91-8,1 кПа, а остаточное давление, создаваемое вакуумным водокольцевым насосом, составляет 1,2-4,19 кПа. Отработанную зелень отжимают, подсушивают в разреженной среде путем удаления пара эжекторным насосом, с последующей конденсацией пара с выделением тепловой энергии и подачей ее на предварительный нагрев древесной зелени, и сушат до влажности 10-15%. После сушки древесную зелень измельчают и фасуют. Технический эффект: повышение выхода биологически активных веществ, получение качественной кормовой муки вследствие содержания в ней протеина и снижение энергозатрат более чем в два раза. 1 ил., 3 табл.
Способ комплексной переработки древесной зелени, включающий измельчение ее в состоянии естественной влажности, прогрев перед подачей в экстрактор, противоточный процесс экстракции, с последующей повторной подачей экстрагента в обрабатываемую зелень, отжим отработанной зелени, ее подсушку в разреженной среде, создаваемой путем удаления пара эжекторным насосом, с последующей конденсацией пара с выделением тепловой энергии и подачей ее на предварительный нагрев древесной зелени, сушку отработанной зелени до влажности 10-15%, с последующим ее измельчением и фасовкой, отличающийся тем, что экстракцию ведут раствором этанола в течение 6-8 часов при температуре 20-40°C, полученный экстракт выпаривают путем удаления этанола и воды, этанол удаляют эжекторным насосом эжектированием охлажденным раствором этанола, воду удаляют вакуумным водокольцевым насосом, оборотную воду вакуумного водокольцевого насоса охлаждают эжектированием раствором этанола, тепловую энергию эжектирующего раствора этанола отводят на выпаривание экстракта, на прогрев древесной зелени и экстрагента перед подачей в экстрактор, при этом остаточное давление, создаваемое эжекторным насосом, составляет 1,91-8,1 кПа, а остаточное давление, создаваемое вакуумным водокольцевым насосом, составляет 1,2-4,19 кПа.
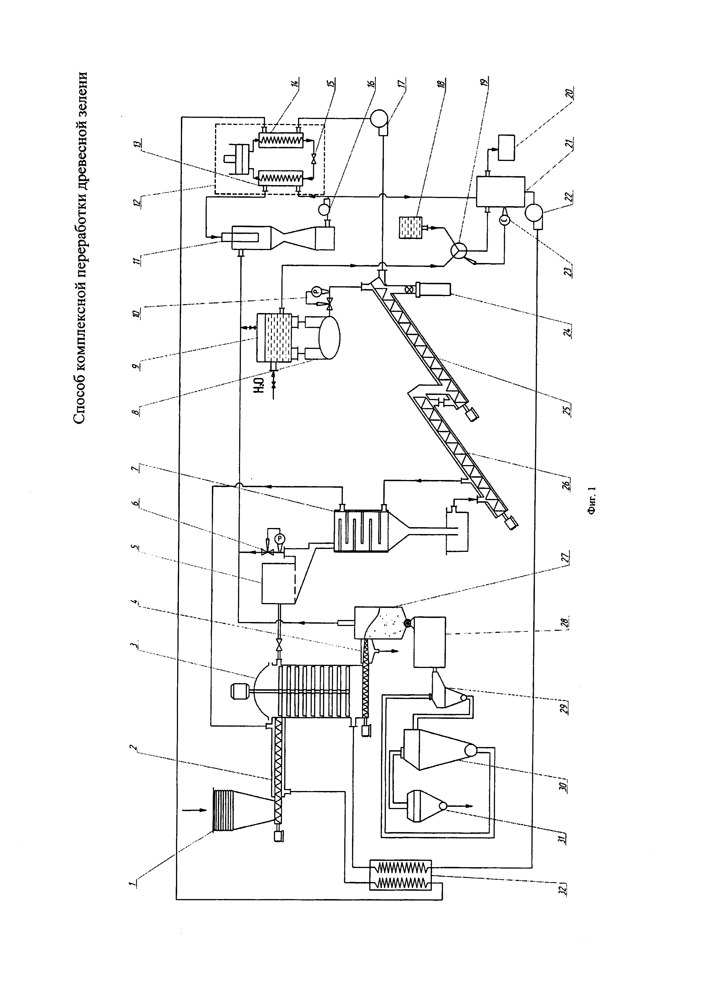
Изобретение относится к технологии переработки растительного сырья, конкретно к способу получения биологически активных веществ и кормовой муки из древесной зелени различных пород. Известен способ получения биологически активных веществ из растительного сырья, в котором в качестве экстрагента используют содержащиеся в обрабатываемом сырье газы и жидкость, нагрев древесной зелени осуществляют СВЧ-полем с получением смеси паров экстрагента и биологически активных веществ, при этом после выделения биологически активного вещества сконцентрированный экстрагент по меньшей мере один раз со стороны, противоположной выходу смеси паров, подают в обрабатываемое сырье для повторного взаимодействия с ним. Частные случаи выполнения способа После, по меньшей мере, одного повторного взаимодействия экстрагента с обрабатываемым сырьем в процессе нагрева СВЧ-полем в обрабатываемое сырье подают дополнительный экстрагент; в качестве дополнительного экстрагента используют спирт; на обрабатываемое сырье дополнительно воздействуют импульсным СВЧ-полем с частотой импульсов не менее 10 кГц и временем импульса не более 10 мкс, см. RU Патент №2029559, МПК 6 A61K 35/78, C11B 9/02, B01D 11/02, 1995. Недостатками данного способа являются высокие энергозатраты, неравномерный нагрев исходного сырья и разрушение биологически активных веществ при высоких температурах, создаваемых СВЧ-полем. Известен способ комплексной переработки вегетативной части тополя бальзамического, включающий обработку вегетативной части тополя бальзамического водой с выделением эфирного масла и твердого остатка, экстракцию твердого остатка ведут 94-96% этиловым спиртом с получением спиртового экстракта и шрота, обработку растительного сырья водой проводят путем гидродистилляции, спиртовой экстракт, после выделения из него восков, упаривают с получением липидного концентрата, шрот увлажняют кубовой жидкостью, полученной при гидродистилляции, и подвергают биодеструкции грибами рода Trichoderma. Преимущественное выполнение способа: биодеструкцию грибами рода Trichoderma проводят твердофазным способом при температуре (26±2)°C в течение 7-10 дней, см. RU Патент №2322501, МПК C12P 1/02 (2006.01), C11B 1/10 (2006.01), C11B 9/02 (2006.01), C11C 1/00 (2006.01), C09F 1/00 (2006.01), 2008. Недостатками данного способа являются низкая эффективность процесса, обусловленная длительностью процесса, дополнительными затратами на регенерацию экстрагента и недостаточным выходом биологически активных веществ. Наиболее близким по технической сущности является способ комплексной переработки древесной зелени, включающий измельчение ее в состоянии естественной влажности, прогрев перед подачей в экстрактор, противоточный процесс экстракции, с последующей повторной подачей экстрагента в обрабатываемую зелень, отжим отработанной зелени, ее подсушку в разреженной среде, создаваемой путем удаления пара эжекторным насосом, с последующей конденсацией пара с выделением тепловой энергии и подачей ее на предварительный нагрев древесной зелени, сушку отработанной зелени до влажности 10-15%, с последующим ее измельчением и фасовкой, в котором противоточный процесс экстракции ведут водяным паром при температуре 145-150°C, см. RU Патент №2404238, МПК C11B 9/02 (2006.01), 2009. Недостатками данного способа являются высокие энергозатраты, составляющие более 100 кВт⋅час на переработку древесной зелени 100 кг/час и недостаточный выход биологически активных веществ. Задачей изобретения является повышение выхода биологически активных веществ, получение кормовой муки с содержанием протеина, а также уменьшение энергозатрат. Техническая задача решается способом комплексной переработки древесной зелени, включающим измельчение ее в состоянии естественной влажности, прогрев перед подачей в экстрактор, противоточный процесс экстракции с последующей повторной подачей экстрагента в обрабатываемую зелень, отжим отработанной зелени, ее подсушку в разреженной среде, создаваемой путем удаления пара эжекторным насосом, с последующей конденсацией пара с выделением тепловой энергии и подачей ее на предварительный нагрев древесной зелени, сушку отработанной зелени до влажности 10-15% с последующим ее измельчением и фасовкой, в котором экстракцию ведут раствором этанола в течение 6-8 часов при температуре 20-40°С, полученный экстракт выпаривают путем удаления этанола и воды, этанол удаляют эжекторным насосом эжектированием охлажденным раствором этанола, воду удаляют вакуумным водокольцевым насосом, оборотную воду вакуумного водокольцевого насоса охлаждают эжектированием раствором этанола, тепловую энергию эжектирующего раствора этанола отводят на выпаривание экстракта, на прогрев древесной зелени и экстрагента перед подачей в экстрактор, при этом остаточное давление, создаваемое эжекторным насосом, составляет 1,91-8,1 кПа, а остаточное давление, создаваемое вакуумным водокольцевым насосом, составляет 1,2-4,19 кПа. Решение технической задачи позволяет повысить выход биологически активных веществ, получить более качественную кормовую муку, вследствие содержания в ней протеина, и снизить энергозатраты более чем в два раза. Для осуществления заявленного способа комплексной переработки древесной зелени представлена технологическая линия, см. Фиг. 1. Технологическая линия для комплексной переработки древесной зелени включает: загрузочную воронку 1, шнековый транспортер 2, тарельчатый экстрактор непрерывного типа 3, шнек-пресс 4, вакуум-фильтр 5, регулятор давления 6, выпарной аппарат 7, вакуумный водокольцевой насос 8, сборник оборотной воды 9, регулятор давления 10, эжекторный насос 11, компрессорный агрегат 12, который включает испаритель 13, конденсатор 14 и дроссилирующее устройство 15. Циркуляционный насос эжектирующегося агента 16, циркуляционный насос теплоносителя 17, емкость с этанолом 18, трехходовой кран с исполнительным механизмом 19, емкость для отбора излишнего экстрагента (раствора этанола) 20, сборник экстрагента 21, насос для подачи экстрагента 22, датчик концентрации экстрагента 23, сборник биологически активных веществ 24, вакуум-шнековые сушилки 25, 26, бункер отработанной зелени 27, аэрофонтанную сушилку 28, измельчитель 29, циклон 30, дозатор для фасовки кормовой муки 31, рекуперативный теплообменник 32. Комплексную переработку древесной зелени ведут следующим образом. Предварительно измельченную древесную зелень через загрузочную воронку 1, с помощью шнекового транспортера 2, снабженного рубашкой для прогрева древесной зелени, подают в экстрактор 3. Древесную зелень подают на верхние тарелки экстрактора 3, а экстрагент подают снизу, предварительно его нагревая в рекуперативном теплообменнике 32. Процесс экстракции ведут в течение 6-8 часов при температуре 20÷40°С 40÷70% раствором этанола. Отработанное сырье с нижних тарелок подают в шнек-пресс 4, где его отжимают и перемещают в бункер отработанной зелени 27, в котором происходит предварительная подсушка в разреженной среде, создаваемой путем удаления пара эжекторным насосом 11. Затем отработанную зелень подают в аэрофонтанную сушилку 28 и сушат до влажности в пределах 10-15%. После чего ее измельчают в измельчителе 29 и сепарируют в циклоне 30. Измельченную древесную зелень подают в дозатор готовой продукции - кормовой муки 31. Крупные частицы возвращаются из циклона 30 на доизмельчение в измельчитель 29. Полученный в экстракторе 3 экстракт подают в вакуум-фильтр 5, после чего отфильтрованный экстракт выпаривают в две стадии. На первой стадии экстракт растекается по обогреваемым полкам выпарного аппарата 7 и сгущается за счет удаления, преимущественно, этанола эжекторным насосом 11 эжектированием охлажденным раствором этанола. На второй стадии выпаривание ведут в вакуум-шнековых сушилках 26, 25, где удаляют вакуумным водокольцевым насосом 8, преимущественно, воду. Выделенные из экстракта биологически активные вещества собирают в сборнике 24. Оборотную воду вакуумного водокольцевого насоса в сборнике 9 охлаждают эжектированием раствором этанола. Паровую среду, удаленную при выпаривании экстракта, конденсируют в эжекторном насосе 11 охлажденным в испарителе 13 раствором этанола. Циркуляция эжектирующего раствора этанола происходит с помощью насоса 16, при этом тепловая энергия эжектирующего раствора этанола отнимается испарителем 13 компрессорного агрегата 12 и передается через его конденсатор 14 с помощью насоса 17 на выпаривание экстракта, на прогрев древесной зелени и экстрагента. Часть сконденсировавшейся паровой среды с помощью циркуляционного насоса 16 отправляют через сборник экстрагента 21 на повторную подачу экстрагента в обрабатываемую зелень. В сборник экстрагента 21 через управляемый трехходовой кран 19 подают этанол из бака 18 и воду из бака 9. Излишки экстрагента отводятся в емкость для отбора излишнего экстрагента 20. Для определения концентрации экстрагента используют датчик концентрации 23. Остаточное давление, создаваемое эжекторным насосом 9 в бункере отработанной зелени 27 и в выпарном аппарате 7, составляет 1,91-8,1 кПа и поддерживают регулятором давления 6. Остаточное давление вакуумного водокольцевого насоса 7, создаваемое в вакуум-шнековых сушилках 25, 26, составляет 1,2-4,19 кПа и поддерживается регулятором давления 10. Общие энергозатраты технологической линии составляют 40 кВт⋅час на переработку древесной зелени 100 кг/час. Данные по примерам конкретного выполнения способа комплексной переработки древесной зелени пихты, осины и ивы сведены в таблицах 1, 2 и 3, соответственно, где приведены режимные условия технологического процесса, выход биологически активных веществ, а также выход протеина в отработанной зелени. Энергозатраты по прототипу составляют 100 кВт⋅час, по заявляемому способу - 40 кВт⋅час. Где Т - температура процесса экстракции, τ - время проведения экстракции, С - концентрация раствора этанола, Рэ.н. - остаточное давление, создаваемое эжекторным насосом, Рв.в.н. - остаточное давление, создаваемое вакуумным водокольцевым насосом. Как видно из примеров конкретного выполнения, заявленный способ комплексной переработки древесной зелени позволяет из каждого вида древесной зелени получать биологически активные вещества: из пихты - эфирное масло и борнилацетат, из осины и ивы - фенолгликозиды, тогда как по прототипу биологически активные вещества получены только из пихты и в меньшем количестве. Эфирные масла и борнилацетат широко используются в пищевой, фармацевтической промышленности и медицине. Фенолгликозиды широко используются в фармацевтической промышленности. Наличие протеина в кормовой муке повышает ее усвояемость в организме животных. Заявленный способ комплексной переработки древесной зелени позволяет повысить выход биологически активных веществ, получить качественную кормовую муку вследствие содержания в ней протеина и снизить энергозатраты более чем в два раза.


