патент
№ RU 2602972
МПК G06F17/00

СИСТЕМА ДЛЯ УПРАВЛЕНИЯ ИНТЕЛЛЕКТУАЛЬНЫМИ РЕСУРСАМИ ПРЕДПРИЯТИЯ

Авторы:
Хлопцев Евгений Владимирович Сайфеева Эльмира Марселевна Арисланова Флюра Узбековна
Все (12)
Номер заявки
2015108721/08
Дата подачи заявки
12.03.2015
Опубликовано
20.11.2016
Страна
RU
Как управлять
интеллектуальной собственностью
Чертежи 
1
Реферат

[99]

Изобретение относится к области автоматизации процессов на предприятии. Технический результат заключается в сокращении времени обработки данных по определению экономического эффекта внедрения. Для этого разработан блок расчета экономического эффекта, содержащий базу данных, содержащую шаблоны для расчета экономического эффекта технического предложения; блок выбора шаблона, выполненный с возможностью выбора шаблона из базы данных; блок приема набора параметров, выполненный с возможностью приема от пользователя набора параметров, определяемых выбранным шаблоном; причем блок расчета экономического эффекта выполнен с возможностью расчета экономического эффекта на основании введенных параметров; причем набор параметров состоит из базового набора и расширенного набора, и блок расчета экономического эффекта выполнен с возможностью сравнивать экономический эффект, рассчитанный по базовому набору, с пороговой величиной и предоставлять возможность ввода расширенного набора при превышении пороговой величины для более точного расчета экономического эффекта. 4 з.п. ф-лы, 3 ил.

Формула изобретения

1. Система для управления интеллектуальными ресурсами предприятия, содержащая:
блок приема технических предложений, выполненный с возможностью приема технических предложений, разделения их на категории, отбора экономически эффективных технических предложений, полученных из блока расчета экономического эффекта, расчета вознаграждений, передачи технических предложений в блок учета;
блок расчета экономического эффекта, выполненный с возможностью расчета экономического эффекта технического предложения и выполненный с возможностью осуществлять связь с блоками приема технических предложений, внедрения, учета;
блок учета, выполненный с возможностью формировать документы для патентования отобранных технических предложений, полученных из блока приема технических предложений, ставить на учет запатентованные технические предложения и передавать их для внедрения на блок внедрения;
блок внедрения, выполненный с возможностью сообщать релевантную для внедрения информацию по отобранному техническому предложению в соответствующие подразделения предприятия, анализировать внедрение на основе обратной связи, полученной от соответствующего подразделения предприятия;
причем блок расчета экономического эффекта содержит:
- базу данных, содержащую шаблоны для расчета экономического эффекта технического предложения;
- блок выбора шаблона, выполненный с возможностью выбора шаблона из базы данных;
- блок приема набора параметров, выполненный с возможностью приема от пользователя набора параметров, определяемых выбранным шаблоном;
причем блок расчета экономического эффекта выполнен с возможностью расчета экономического эффекта на основании введенных параметров;
причем набор параметров состоит из базового набора и расширенного набора, и блок расчета экономического эффекта выполнен с возможностью сравнивать экономический эффект, рассчитанный по базовому набору, с пороговой величиной и предоставлять возможность ввода расширенного набора при превышении пороговой величины для более точного расчета экономического эффекта,
причем блок расчета экономического эффекта связан с блоком приема технических предложений, блоком учета и блоком внедрения, блок приема технических предложений связан с блоком учета, блок учета связан с блоком внедрения.

2. Система по п. 1, в которой блок приема набора параметров автоматически вводит параметры, известные из доступных источников информации.

3. Система по п. 1, в которой блок выбора шаблона выполнен с возможностью редактирования шаблона.

4. Система по п. 1, в которой блок расчета экономического эффекта выполнен с возможностью расчета экономического эффекта за определенный период времени.

5. Система по п. 1, причем техническими предложениями являются по меньшей мере предложения по улучшению работы предприятия, кайдзен-предложения, предложения по новаторской деятельности.

Описание

[1]

Область техники, к которой относится изобретение

[2]

Изобретение, в общем, относится к области автоматизации процессов на предприятии и, в частности, к системе для автоматизированного управления интеллектуальной собственностью предприятия на основании расчета экономического эффекта от внедрения результатов интеллектуальной деятельности (РИД) и использования объектов интеллектуальной собственности (ОИС).

[3]

Уровень техники

[4]

Очевидно, что для эффективной работы производственного предприятия необходимо эффективное управление не только материальной собственностью, но и интеллектуальной собственностью. Одним из ключевых аспектов управления интеллектуальной собственностью является внедрение результатов интеллектуальной деятельности и использование объектов интеллектуальной собственности. При этом наиболее важным критерием внедрения и использования тех или иных инноваций на производстве является наличие экономического эффекта от такого внедрения. Между тем, задача определения экономического эффекта является довольно сложной и требует от исполнителя значительного времени для ее решения по каждому отдельному случаю. Как правило, от исполнителя требуется собрать значительный массив релевантной информации и подобрать (разработать) подходящую методику расчета экономического эффекта на основании этих параметров.

[5]

Из уровня техники известно решение, раскрытое в патенте на полезную модель RU 108175 «Конкурсно-ориентированная система выявления, регистрации и продвижения на рынок результатов интеллектуальной деятельности» (патентообладатель: Солодкая Татьяна Михайловна (RU), опубл. 10.09.2011, МПК G06Q 30/00 (2006.01), G05B 15/00 (2006.01)). В полезной модели раскрыта конкурсно-ориентированная система выявления, регистрации и продвижения на рынок результатов интеллектуальной деятельности, которая относится к системам отраслевых инновационных структур, применяющих автоматизируемые информационные системы, с привлечением информационных и коммуникационных технологий, предназначенных для менеджмента функций инновационных компаний, и может быть использована для разработки и модернизации моделей бизнес-систем, основанных на использовании результатов интеллектуальной деятельности с последующим введением их в гражданский оборот в целях эффективного использования.

[6]

Однако в данном решении не раскрывается возможность эффективного управления интеллектуальными ресурсами и внедрением технических предложений благодаря расчету экономического эффекта и оценке внедрения технических предложений простым способом.

[7]

Из уровня техники известно решение, раскрытое в заявке на изобретение ЕР 1233357 (A1) «Компьютерная система, способ и компьютерный программный продукт для представления информации, касающейся экономических улучшений, связанных с использованием продуктов, относящихся к подшипникам и уплотнителям» (заявитель: SKF АВ [SE], опубл. 21.08.2002, МПК G05B 23/02; G06Q 10/00; G06Q 30/00). В заявке раскрыты система, способ и компьютерный программный продукт для представления пользователю информации, касающейся экономических улучшений или преимуществ, связанных с использованием конкретных продуктов, относящихся к подшипникам и уплотнениям, в сравнении с использованием других аналогичных продуктов. Эти объекты задействуют процессор, блок памяти, хранящий данные, специфичные для продукта, средство ввода для ввода данных, специфичных для завода, и дисплей или другое подходящее устройство для представления информации. Процессор выполнен с возможностью принимать специфичные для завода данные от средства ввода для вычисления, используя данные, специфичные для продукта, общий экономический эффект на основании экономии средств на ремонт и по меньшей мере одного из увеличившихся доходов от производительности и экономии энергии. Затем общий экономический эффект представляется посредством дисплея.

[8]

Однако в данном решении не раскрывается возможность эффективного управления интеллектуальными ресурсами и внедрением технических предложений, благодаря расчету экономического эффекта и оценке внедрения технических предложений простым способом.

[9]

Из уровня техники известно выбранное в качестве прототипа решение, раскрытое в заявке RU 2009120227, «Способ прогнозирования эффективности внедрения изобретений в технические разработки» (заявитель Открытое акционерное общество "Информационные спутниковые системы" имени академика М.Ф. Решетнева" (RU), опубл. 10.05.2010, МПК G06F 17/00 (2006.01)). В заявке раскрыт способ прогнозирования эффективности внедрения изобретений в технические разработки путем сравнительного анализа частных относительных показателей эффективности внедрения изобретений и их обобщенных показателей за установленный период времени Δτ, отличающийся тем, что частные относительные показатели эффективности внедрения изобретений и их обобщенные показатели вычисляют по формулам

[10]

[11]

или

[12]

[13]

[14]

где As,ij - j-e технико-экономические параметры s-x технических разработок, до внедрения в них i-x изобретений;

[15]

и s,ij - j-e улучшенные технико-экономические параметры s-x технических разработок, после внедрения в них i-x изобретений за период времени Δτ, например, за 1 год;

[16]

причем для вычисления каждого из значений показателя Пs,i,j выбирают ту формулу из (1) или (2), по которой указанный показатель имеет значение больше единицы, а оценку эффективности внедрения изобретений по результатам сравнительного анализа осуществляют исходя из ее прямой зависимости от значений показателей.

[17]

Однако в данном способе возникает сложность с прогнозированием эффективности внедрения в связи с тем, что от конечного пользователя требуется знание большого объема информации, то есть не раскрывается возможность расчета экономического эффекта и оценки внедрения технических предложений простым способом.

[18]

Раскрытие изобретения

[19]

В одном аспекте изобретения раскрыта система для управления интеллектуальными ресурсами предприятия, содержащая: блок приема технических предложений, выполненный с возможностью приема технических предложений, разделения их на категории, отбора экономически эффективных технических предложений, полученных из блока расчета экономического эффекта, расчета вознаграждений, передачи технических предложений в блок учета; блок расчета экономического эффекта, выполненный с возможностью расчета экономического эффекта технического предложения и выполненный с возможностью осуществлять связь с блоками приема технических предложений, расчета экономического эффекта, учета; блок учета, выполненный с возможностью формировать документы для патентования отобранных технических предложений, полученных из блока приема технических предложений, ставить на учет запатентованные технические предложения и передавать их для внедрения на блок внедрения; блок внедрения, выполненный с возможностью сообщать релевантную для внедрения информацию по запатентованному техническому предложению в соответствующие подразделения предприятия, анализировать внедрение на основе обратной связи, полученной от соответствующего подразделения предприятия; причем блок расчета экономического эффекта содержит: базу данных, содержащую шаблоны для расчета экономического эффекта технического предложения; блок выбора шаблона, выполненный с возможностью выбора шаблона из базы данных; блок приема набора параметров, выполненный с возможностью приема от пользователя набора параметров, определяемых выбранным шаблоном; причем блок расчета экономического эффекта выполнен с возможностью расчета экономического эффекта на основании введенных параметров; причем набор параметров состоит из базового набора и расширенного набора, и блок расчета экономического эффекта выполнен с возможностью сравнивать экономический эффект, рассчитанный по базовому набору, с пороговой величиной и предоставлять возможность ввода расширенного набора при превышении пороговой величины для более точного расчета экономического эффекта, причем блок расчета экономического эффекта связан с блоком приема технических предложений, блоком учета и блоком внедрения, блок приема технических предложений связан с блоком учета, блок учета связан с блоком внедрения.

[20]

В дополнительных аспектах раскрыто, что блок приема набора параметров автоматически вводит параметры, известные из доступных источников информации; блок выбора шаблона выполнен с возможностью редактирования шаблона; блок расчета экономического эффекта выполнен с возможностью расчета экономического эффекта за определенный период времени.

[21]

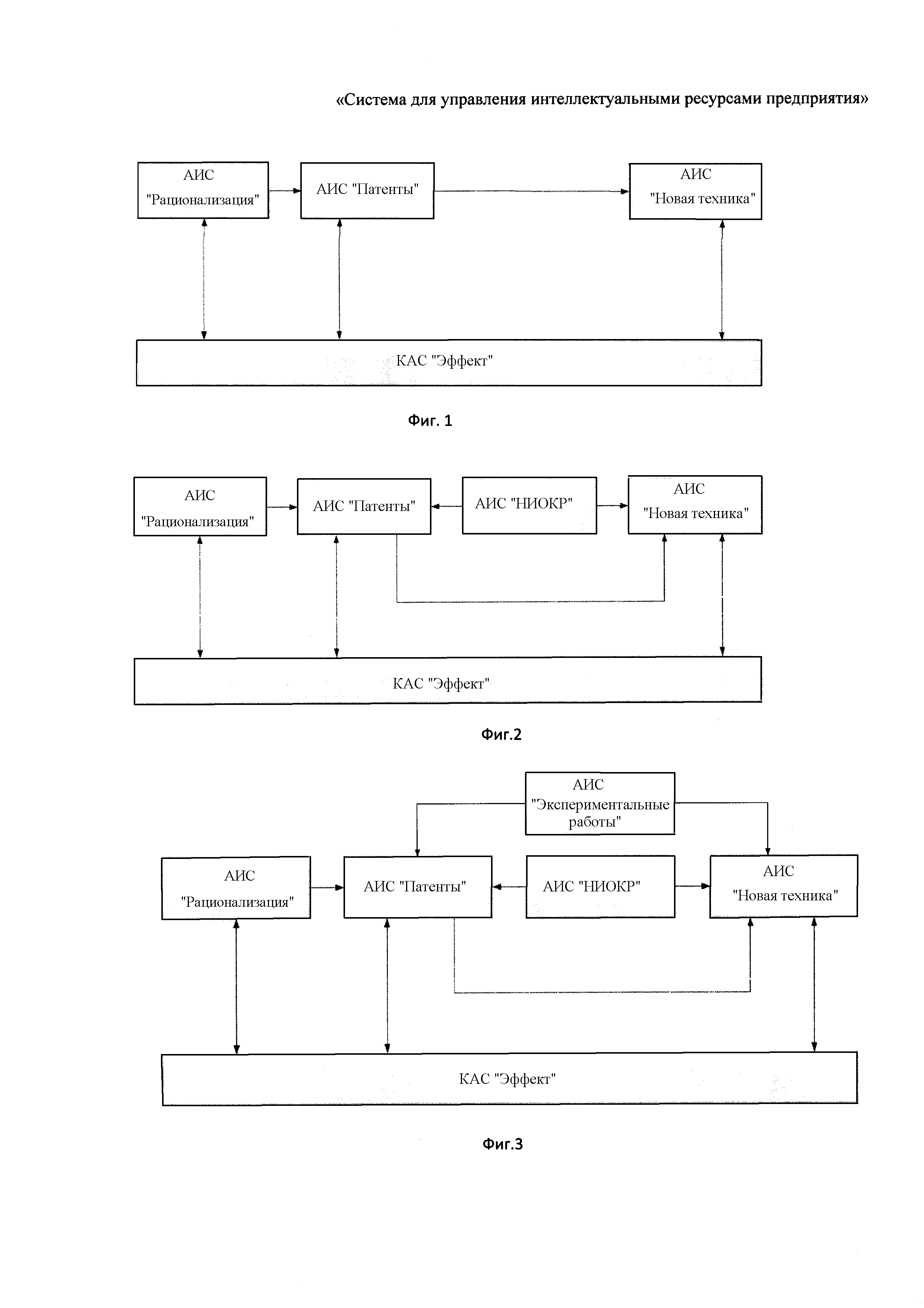
Основной задачей, решаемой заявленным изобретением, является эффективное управление интеллектуальными ресурсами предприятия благодаря упрощению и ускорению расчета экономического эффекта от внедрения технических предложений (например, результатов интеллектуальной деятельности на предприятии, инноваций или объектов интеллектуальной собственности) и ускорение внедрения инноваций, что также достигается благодаря упрощению расчета экономического эффекта от внедрения.

[22]

Сущность изобретения заключается в том, что на предприятии от рационализаторов и инноваторов в автоматизированной форме принимаются технические предложения, которые затем оцениваются с точки зрения их экономического эффекта от внедрения, причем для расчета экономического эффекта ответственному исполнителю предоставляется набор шаблонов для расчета экономического эффекта. Ответственный исполнитель выбирает наиболее релевантный для внедряемой инновации (технического предложения) шаблон. Затем на основании выбранного шаблона ответственный исполнитель вводит конкретный набор параметров (заданный для выбранного шаблона базовый набор), на основании которого блок расчета экономического эффекта грубо определяет экономический эффект, сравнивает его с порогом и в случае превышения заранее заданной пороговой величины предлагает ответственному исполнителю ввести расширенный набор параметров. В одном из вариантов применяется сравнение с двумя порогами: верхним и нижним. Если экономический эффект, рассчитанный после ввода базового набора параметров, превышает верхний порог, то это означает, что предложенная инновация гарантированно экономически эффективна, если упомянутый экономический эффект ниже нижнего порога, то это означает, что предложенная инновация гарантированно экономически неэффективна. В обоих этих случаях нет необходимости вводить расширенный набор параметров, так как он существенно не повлияет на итоговый результат. Если же упомянутый экономический эффект находится между нижним и верхним порогом, то система предлагает ввести расширенный набор параметров и более точно рассчитать экономический эффект.

[23]

Технический результат, достигаемый решением, заключается в сокращении времени обработки данных по определению экономического эффекта внедрения. Технический результат достигается благодаря наличию базы шаблонов для расчета экономической эффективности инноваций, из которой пользователю предоставляется список параметров, которые необходимо ввести для расчета экономической эффективности внедрения инноваций, а также благодаря двухступенчатой системе ввода параметров для расчета экономического эффекта.

[24]

Краткое описание чертежей

[25]

Фиг. 1 показывает блок-схему первого варианта системы управления интеллектуальными ресурсами предприятия.

[26]

Фиг. 2 показывает блок-схему второго варианта системы управления интеллектуальными ресурсами предприятия.

[27]

Фиг. 3 показывает блок-схему третьего варианта системы управления интеллектуальными ресурсами предприятия

[28]

Осуществление изобретения

[29]

В одном примерном варианте осуществления система для управления интеллектуальными ресурсами предприятия реализована на базе корпоративной сети предприятия, содержащей множество связанных посредством этой сети компьютеров (ПК). В примерном варианте осуществления первый ПК служит для приема технических предложений, второй ПК служит для расчета экономического эффекта, третий - для учета, четвертый - для способствования внедрению технических предложений. Понятно, что все эти ПК, связанные посредством любой известной сети связи (беспроводной, проводной и т.д.), могут обмениваться друг с другом информацией. В других вариантах осуществления количество ПК может быть меньше или больше описанного выше, что не изменяет сущности предложенного изобретения.

[30]

Рассмотрим подробнее работу каждого упомянутого блока заявленной системы.

[31]

Блок приема технических предложений (первый ПК) выполнен с возможностью в автоматическом или автоматизированном виде принимать технические предложения. Например, рационализатору предлагается заполнить форму описания его технического предложения, которую затем с помощью оператора или в полностью автоматическом режиме вводят в блок приема.

[32]

Форма должна содержать по меньшей мере часть из следующего: название технического предложения, область, к которой оно относится, краткое описание его сути, его технические параметры и характеристики, возможные способы технической реализации, предполагаемые необходимые ресурсы для его реализации и внедрения контактные данные автора и т.п.

[33]

После ввода в блок приема всех релевантных данных он их обрабатывает, при необходимости разделяет на категории, отправляет во второй ПК (блок расчета экономического эффекта).

[34]

Блок расчета экономического эффекта содержит набор шаблонов для расчета экономического эффекта, что само по себе значительно ускоряет определение экономического эффекта, так как не требуется разрабатывать методики под каждое конкретное рацпредложение.

[35]

Шаблон представляет собой некоторую методику или алгоритм, для их работы необходимы входные параметры, которые соответствующим образом обрабатываются, а на выходе получается значение экономического эффекта, например, в рублях, в рублях за период времени или какое-либо иное подходящее для отражения экономического эффекта значение.

[36]

Понятно, что входные параметры, представляющие собой набор (массив) значений, имеют разное влияние на итоговый экономический эффект, например, в области нефтедобычи затраты на покупку нового оборудования, как правило, значительно выше стоимости обучения персонала новым технологиям, экономия от продления срока службы высокоточных сложных агрегатов превышает затраты на их дополнительное обслуживание и т.д. Поэтому каждый шаблон, который зависит от области, к которой относится техническое решение, предложенное рационализатором или инноватором, содержит базовый набор параметров, которые в наибольшей степени влияют на экономический эффект, и расширенный набор параметров, который может быть значительно более большим по объему, но эти параметры значительно меньше влияют на итоговый экономический эффект.

[37]

Если бы для расчета экономического эффекта требовалось ввести все параметры (и базовый, и расширенный набор), то временные затраты для расчета экономического эффекта существенно возрастали. Во-первых, просто из-за того, что требовалось бы вводить больше параметров, во-вторых, потому что, как правило, сложнее правильно оценить параметры расширенного набора (очевидно, сложно оценить время настройки и адаптации нового сложного оборудования в существующем производственном процессе, фактический срок службы, стоимость и срок работы бригады по монтажу и т.п.). Между тем, обычно при автоматическом расчете той или иной величины, зависящей от множества входных параметров, требуется ввести все это множество.

[38]

Рассмотрим следующий пример: подано техническое решение по внедрению нового добывающего оборудования скважины. Базовый набор включает в себя стоимость нового оборудования, срок его эксплуатации, стоимость обслуживания, обеспечиваемый объем добычи, стоимость добываемого ресурса. Расширенный набор включает в себя стоимость демонтажа и утилизации старого оборудования, стоимость его обслуживания, стоимость доставки нового оборудования, стоимость переобучения персонала, стоимость монтажа нового оборудования, потери от простоя, изменение экологических показателей, выраженное в денежном отношении, изменение потребления энергии, количество обслуживающего персонала и т.д.

[39]

Понятно, что параметры базового набора определить легко, параметры расширенного набора потребуют у ответственного исполнителя большего времени, но если уже после ввода базового набора может стать понятно, что экономический эффект очень низок или же наоборот очень высок, то тратить время на поиск значений параметров расширенного набора не целесообразно. Есть смысл вводить все параметры, когда требуется более точный расчет для определения экономического эффекта.

[40]

То есть, благодаря тому, что устанавливаются пороговые значения экономической эффективности, после ввода базового набора предложенное изобретение сообщает исполнителю целесообразно ли вводить расширенный набор. Если предварительный расчет на основе базового набора показал эффективность выше первого порога, значит, техническое предложение стоит внедрять и нет необходимости вводить расширенный набор параметров, которые порой тяжело корректно оценить, если предварительный расчет на основе базового набора показал эффективность ниже второго порога (понятно, что второй порог ниже первого), значит, техническое предложение на стоит внедрять и нет необходимости вводить расширенный набор параметров.

[41]

Для более интенсивного развития предприятия в какой-либо целевой области, значения порогов могут быть заданы в зависимости от конкретной области. Например, если целевой областью является повышение добычи, то для решений этой области первый и/или второй пороги могут быть снижены. Таким образом можно создать условия, при которых большая часть технических предложений из целевой области будет внедрена. Аналогичное решение может быть использовано и в случае, когда используется только один первый порог.

[42]

Блок расчета экономического эффекта реализован на базе ПК, выполненного с возможностью связи с базой данных, содержащей шаблоны для расчета экономического эффекта инноваций. База данных может быть размещена в памяти ПК или на удаленном носителе информации. База данных может быть любой известной в уровне техники базой данных. Шаблоны для расчета экономического эффекта могут иметь ту или иную степень универсальности и обобщения, что не относится к сущности заявляемого технического решения.

[43]

Предпочтительно шаблоны в базе данных охватывают все области инновационной деятельности предприятия, для которого оценивается целесообразность внедрения инновации. Шаблоны могут содержать набор параметров для расчета экономического эффекта любого размера. Количество параметров определяется методикой расчета, частные варианты осуществления которой не рассматриваются подробно в данном изобретении. Сущность любой подобной методики сводится к расчету затрат на внедрение и расчету прибыли от внедрения. В первом приближении на основании их соотношения возможно сделать вывод о целесообразности внедрения инновации.

[44]

Параметры, влияющие на затраты и прибыль, для каждой области могут быть специфичными, но могут быть сформулированы и обобщенно, чтобы охватывать широкий спектр областей инноваций.

[45]

Еще один пример работы описываемого блока следующий:

[46]

Ответственный исполнитель получает первичную информацию об инновации, целесообразность (необходимость) внедрения которой следует оценить: область техники и/или более узкое направление, к которому относится инновация (для категоризации может использоваться, в частности, МПК), технические характеристики инновации (задействуемое в инновации аппаратное и программное обеспечение, стоимость обслуживания, количество обслуживающего персонала, потребляемая мощность и т.д.), предполагаемые преимущества от внедрения.

[47]

На основании первичной информации ответственный исполнитель выбирает в базе данных наиболее релевантный шаблон для расчета экономического эффекта инновации.

[48]

Далее ПК предлагает пользователю ввести ряд параметров, которые определяются выбранным шаблоном и необходимы для расчета экономического эффекта согласно методике, предварительно заложенной в шаблон при создании базы данных.

[49]

По завершении ввода всех требуемых параметров ПК рассчитывает экономический эффект и сравнивает его с предварительно заданным порогом экономического эффекта, определяющим необходимость внедрения инновации.

[50]

Порог может быть фиксированным, а может варьироваться в зависимости от области инновации, временных, географических, экологических и других параметров.

[51]

Оценка необходимости внедрения может зависеть не только от экономического эффекта, но и от других параметров, например наличия материально-технических, человеческих, денежных и прочих ресурсов.

[52]

В случае если ПК связан с сетью предприятия, в котором он работает, или содержит релевантные базы данных, он может предложить пользователю известные в сети значения требуемых параметров, которые определяются выбранным шаблоном расчета экономического эффекта.

[53]

Пользователю ПК при наличии у него соответствующих прав может быть дана возможность редактирования шаблона, предполагается, что такая возможность дана ограниченному числу пользователей.

[54]

ПК может вычислять экономический эффект за заданный период времени, например месяц, квартал, год и т.д.

[55]

Специалисту в области техники должно быть понятно, что вышеперечисленные функции могут выполняться отдельными блоками ПК, которые могут быть реализованы в едином аппаратно-программном блоке или разных аппаратно-программных блоках. Кроме того, они могут представлять собой программные, аппаратные или программно-аппаратные блоки.

[56]

Дополнительные цели, которые достигаются заявленной системой, в частности, блоком расчета экономического эффекта:

[57]

- Общая база данных;

[58]

- Унификация расчетов;

[59]

- Увеличение скорости доступа к данным.

[60]

Предложенная система способствует снижению трудоемкости проведения экономических расчетов, их унификации, созданию общей электронной базы данных, что позволяет эффективно анализировать статистические данные и извлекать из них полезные знания, делает доступ к данным быстрым и защищенным.

[61]

В системе может быть предусмотрена ролевая система безопасности, формирующая пользовательское окружение (интерфейс, набор прав доступа к объектам) в зависимости от роли пользователя. В системе предусмотрены по меньшей мере следующие роли:

[62]

- Администратор;

[63]

- Разработчик;

[64]

- Экономист.

[65]

Администратор автоматизирует процессы общей настройки и администрирования: назначение пользователям ролей и прав доступа, обеспечение настройки внешнего вида и набора функций, в зависимости от роли, обеспечение ведения протокола работы системы.

[66]

Разработчик обеспечивает автоматизацию процесса создания и изменения шаблонов методик расчетов по каждому техническому решению, формирует промежуточные расчеты выходных форм.

[67]

Экономисту предоставляется доступ к расчетам эффекта от внедрения технических решений, предложенных рационализатором или инноватором, новой техники.

[68]

Предложенная система автоматизирует следующие процессы: расчет экономического эффекта от внедрения, который осуществляется посредством ввода исходных данных в шаблоны методик расчета эффекта внедряемых технических предложений; хранение в базе данных электронных копий документов, подтверждающих результаты внедрения; проведение расчета экономического эффекта; формирование и подготовка отчетов; создание и изменение шаблонов методик расчетов по каждому предложенному техническому решению; формирование описательной части технических предложений, перечня исходных данных из структурированных справочников основных расчетных формул из исходных данных промежуточных расчетов выходных форм.

[69]

На основании предложенной системы существует возможность формирования централизованной справочной информации и сбора результатов расчета эффективности от инноваций и применению передовых технологий и оборудования в целом по предприятию.

[70]

Предложенная система дополнительно автоматизирует следующие процессы: внесение централизованной информации в соответствующие справочники, анализ и аудит экономических расчетов, подготовка оперативной, сводной информации о достигнутом эффекте внедрения.

[71]

При работе также используется информация из справочников (общий справочник параметров и справочник параметров предприятия), например Ставка налога на прибыль, Средняя цена реализации нефти без НДС и экспортной пошлины, Условно-переменная часть эксплуатационных затрат на добычу 1 тонны нефти, Ставка отчислений на социальное страхование (ЕСН) и т.д. Справочники эти периодические (содержат квартальные и годовые значения), поэтому перед началом расчета технических предложений за нужный период нужно убедиться, что информация в справочнике за данный период внесена.

[72]

В одном из вариантов осуществления от пользователя первоначально требуется ввести первый набор параметров (базовый набор), определяемых выбранным шаблоном для расчета экономического эффекта инноваций. Базовый набор представляет собой минимальный набор параметров, зная которые можно рассчитать экономический эффект. На основании базового набора устройство рассчитывает первое значение экономического эффекта (приближенное значение), затем оценивает необходимость внедрения инновации на основании по меньшей мере рассчитанного первого экономического эффекта.

[73]

Если на основании расчета видно, что эффект значительно ниже некоторого порогового значения или наоборот значительно выше некоторого порогового значения, то второй набор параметров (расширенный набор) не требуется вводить, так как он уже не повлияет существенно на оценку. Если же рассчитанный эффект находится в заданных близких к пороговому значению пределах, то пользователю предлагается ввести дополнительные параметры, чтобы наиболее точно рассчитать экономический эффект (второе значение экономического эффекта) и выдать более точную оценку. Базовый набор и дополнительный набор вместе составляют полный набор всех параметров, учитываемых при оценке необходимости внедрения инновации.

[74]

Когда блок расчета экономического эффекта получает значение экономического эффекта, он передает это значение в блок приема технических предложений, который отбирает экономически эффективные технические предложения и передает их в блок учета.

[75]

В блоке учета в автоматическом или автоматизированном режиме формируются документы для обеспечения защиты интеллектуальной собственности предприятия (технических решений, предложенных рационализаторами или инноваторами), форма защиты может быть различной: патент на изобретение или полезную модель, патент на промышленный образец или иная форма защиты. После получения защиты технические решения ставятся на учет, им присваивается номер, вся релевантная информация сохраняется в запоминающем устройстве. Далее техническое решение передается в блок внедрения для способствования его скорейшему внедрению.

[76]

Блоком внедрения может быть ПК ответственного исполнителя в подразделении предприятия, к которому относится техническое решение. Например, если техническое решение относится к добыче нефтепродуктов, то ответственным исполнителем будет инженер соответствующего подразделения. Ответственный исполнитель получает посредством своего ПК всю релевантную информацию по рацпредложению, в том числе опционально сроки по внедрению, после внедрения ответственный исполнитель посредством блока внедрения сообщает результаты внедрения на блок расчета экономического эффекта, который на основании этой полученной обратной связи вносит уточнения в шаблоны расчета экономического эффекта. Форма обратной связи может быть предоставлена ответственному исполнителю блоком внедрения. Использование такой формы позволит быстрее и легче обрабатывать обратную связь и корректировать расчеты экономического эффекта.

[77]

В одном из вариантов осуществления шаблоны расчета экономического эффекта требуют ввода параметров, которые могут быть получены из общедоступных источников информации или информации известной в корпоративной сети предприятия. Такая информация заполняется в шаблоне автоматически. Например, стоимость нефти, бензина, некоторого стандартного оборудования, стоимость тех или иных работ и т.п., контактные данные того или иного исполнителя, или ответственного лица, названия отделов или подразделений предприятия и т.п.

[78]

На фиг. 1 приведен пример реализации системы управления интеллектуальными ресурсами предприятия, в которой блок приема технических предложений обозначен как АИС «Рационализация», блок расчета экономического эффекта обозначен как КАС «Эффект», блок учета обозначен как АИС «Патенты», блок внедрения обозначен как АИС «Новая техника».

[79]

На фиг. 2 приведен другой пример реализации системы управления интеллектуальными ресурсами предприятия, в которой дополнительный блок АИС «НИОКР» представляет собой аппаратно-программный блок, который обеспечивает блок АИС «Патенты» (блок учета) и блок АИС «Новая техника» (блок внедрения) информацией о проведенных научно-исследовательских и опытно-конструкторских работах. Полученная информация может использоваться для получения патентной защиты и последующего внедрения либо для непосредственного внедрения разработок на предприятии. Блок АИС «НИОКР» обеспечивает возможность предоставлять информацию в некотором согласованном стандартизированном виде для удобства дальнейшей работы с ней.

[80]

В одном из вариантов осуществления возможно дополнить предложенную систему автоматизированной информационной системой (АИС) «Экспериментальные работы», предназначенной для автоматизации планирования, контроля хода исполнения и результатов завершения экспериментальных работ. Целью экспериментальных работ является подтверждение заявленной эффективности новых технологий и оборудования (кроме включенных в опытно-промышленные работы в рамках НИОКР и НТУ) в реальных условиях эксплуатации. АИС «Экспериментальные работы» позволяет:

[81]

- Формировать реестр экспериментальных работ предприятия.

[82]

- Анализировать успешность проведения экспериментальных работ для включения наиболее эффективных технологий в план внедрения новой техники и технологий предприятия.

[83]

- Получать внутренние и внешние отчетные формы, а также любую аналитическую информацию за счет генератора отчетов, содержащего набор логистических условий и фильтров.

[84]

- Формировать реестр завершенных экспериментальных работ для включения в План внедрения новой техники и передовой технологии.

[85]

АИС «Экспериментальные работы» обеспечивает:

[86]

- Учет, формирование и экспертизу заявок на включение в годовой план экспериментальных работ.

[87]

- Автоматизацию процессов согласования проектной, рабочей и отчетной документации.

[88]

- Анализ исполнения годового плана по экспериментальным работам.

[89]

- Формирование и хранение информации о результатах экспериментальных работ.

[90]

- Ролевой доступ к информации согласно иерархической структуре предприятия.

[91]

На фиг. 3 приведен другой пример реализации системы управления интеллектуальными ресурсами предприятия, в которой введен дополнительный блок АИС «Экспериментальные работы», который представляет собой аппаратно-программный блок, который обеспечивает блок АИС «Патенты» (блок учета) и блок АИС «Новая техника» (блок внедрения) информацией о проведенных экспериментальных работах. Полученная информация может использоваться для получения патентной защиты и последующего внедрения либо для непосредственного внедрения разработок на предприятии. Блок АИС «Экспериментальные работы» обеспечивает возможность предоставлять информацию в некотором согласованном стандартизированном виде для удобства дальнейшей работы с ней.

[92]

В одном из вариантов осуществления возможно дополнить предложенную систему, например, следующими автоматизированными информационными системами: идеи по улучшению, кайдзен-предложения, предложения по новаторской деятельности. В каждом из упомянутых блоков может быть реализован свой аппаратно-программный функционал, соответствующий выполняемому функционалу упомянутых АИС, соответствующим образом настраиваются и связи новых АИС с существующими аппаратно-программными блоками.

[93]

Варианты осуществления не ограничиваются описанными здесь вариантами осуществления, специалисту в области техники на основе информации, изложенной в описании, и знаний уровня техники станут очевидны и другие варианты осуществления изобретения, не выходящие за пределы сущности и объема данного изобретения.

[94]

В частности, возможен вариант, когда предложенная система или ее часть реализована на базе одного ПК или сервера и представляет собой единое устройство.

[95]

Способы, раскрытые здесь, содержат один или несколько этапов или действий для достижения описанного способа. Этапы и/или действия способа могут заменять друг друга, не выходя за пределы объема формулы изобретения. Другими словами, если не определен конкретный порядок этапов или действий, порядок и/или использование конкретных этапов и/или действий может изменяться, не выходя за пределы объема формулы изобретения.

[96]

В заявке не указано конкретное программное и аппаратное обеспечение для реализации блоков схем на фиг. 1, но специалисту в области техники должно быть понятно, что сущность изобретения не ограничена конкретной программной или аппаратной реализацией, и поэтому для осуществления изобретения могут быть использованы любые программные и аппаратные средства, известные в уровне техники. Так, аппаратные средства могут быть реализованы в одной или нескольких специализированных интегральных схемах, цифровых сигнальных процессорах, устройствах цифровой обработки сигналов, программируемых логических устройствах, программируемых пользователем вентильных матрицах, процессорах, контроллерах, микроконтроллерах, микропроцессорах, электронных устройствах, других электронных модулях, выполненных с возможностью осуществлять описанные в данном документе функции, компьютерах либо комбинации вышеозначенного.

[97]

Хотя отдельно не упомянуто, но очевидно, что, когда речь идет о хранении данных, программ и т.п., подразумевается наличие машиночитаемого носителя данных, примеры машиночитаемых носителей данных включают в себя постоянное запоминающее устройство, оперативное запоминающее устройство, регистр, кэш-память, полупроводниковые запоминающие устройства, магнитные носители, такие как внутренние жесткие диски и съемные диски, магнитооптические носители и оптические носители, такие как диски CD-ROM и цифровые универсальные диски (DVD), а также любые другие известные в уровне техники носители данных.

[98]

Несмотря на то, что примерные варианты осуществления были подробно описаны и показаны на сопроводительных чертежах, следует понимать, что такие варианты осуществления являются лишь иллюстративными и не предназначены ограничивать более широкое изобретение и что данное изобретение не должно ограничиваться конкретными показанными и описанными компоновками и конструкциями, поскольку различные другие модификации могут быть очевидны специалистам в соответствующей области.

Как компенсировать расходы
на инновационную разработку
Похожие патенты