патент
№ RU 2618249
МПК E21B43/27

Способ поинтервальной обработки продуктивного пласта в открытом горизонтальном стволе скважины

Авторы:
Махмутов Ильгизар Хасимович
Номер заявки
2016108858
Дата подачи заявки
11.03.2016
Опубликовано
03.05.2017
Страна
RU
Как управлять
интеллектуальной собственностью
Чертежи 
4
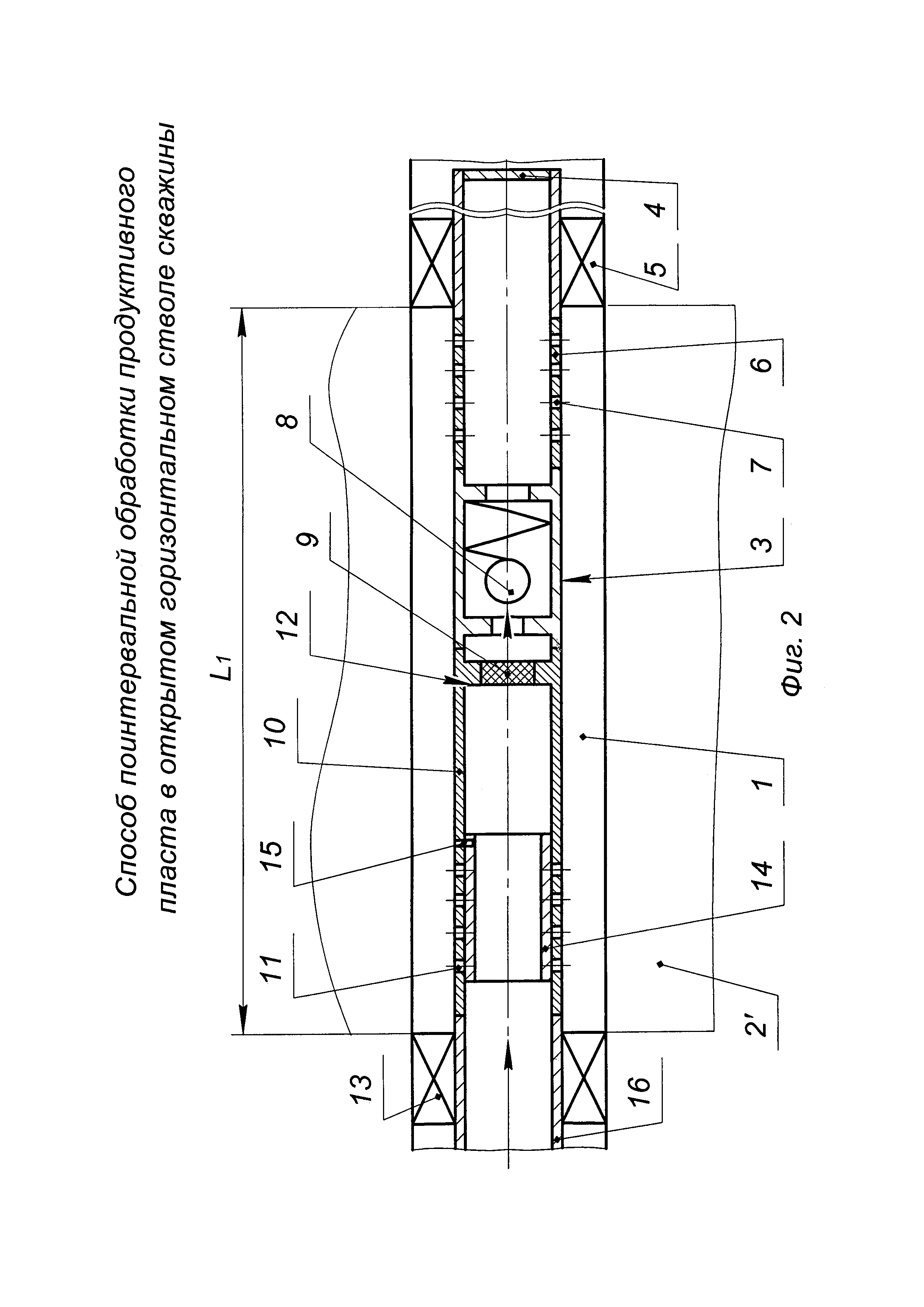
Реферат

Изобретение относится к нефтедобывающей промышленности. Технический результат - повышение продуктивности призабойной зоны, повышение надежности способа обработки, исключение разрушающего действия кислоты на уплотняющие элементы пакеров. В способе поинтервальной обработки продуктивного пласта в открытом горизонтальном стволе скважины определяют диаметры открытого горизонтального ствола скважины на границах каждого выявленного интервала с пониженной проницаемостью, собирают трубную компоновку, состоящую из заглушки, первого гидравлического пакера, первого патрубка с перфорированными отверстиями, импульсного пульсатора жидкости, разрушаемого клапана, второго патрубка с перфорированными отверстиями и внутренней кольцевой выборкой, второго гидравлического пакера, причем перфорированные отверстия второго патрубка перекрыты изнутри полой втулкой, зафиксированной срезным элементом. Затем спускают трубную компоновку на нижнем конце колонны труб в первый от забоя интервал с пониженной проницаемостью так, чтобы гидравлические пакеры трубной компоновки с обеих сторон открытого горизонтального ствола скважины перекрывали первый интервал с пониженной проницаемостью, закачивают по колонне труб технологическую жидкость и последовательно производят сначала одновременную посадку двух гидравлических пакеров, а затем срезают разрушаемый клапан, производят импульсную закачку соляной кислоты 15%-ной концентрации через перфорированные отверстия первого патрубка в первый интервал с пониженной проницаемостью. Затем на устье скважины в колонну труб устанавливают продавочную пробку и производят ее продавку под действием давления технологической жидкости в колонне труб, при этом продавочная пробка перемещается по колонне труб, садится на полую втулку, разрушает срезной элемент и перемещает полую втулку до упора во внутреннюю кольцевую выборку, при этом полая втулка фиксируется во втором перфорированном патрубке, производят выдержку скважины на реакцию, по окончании которой удаляют продукты реакции свабированием по колонне труб. После в форсированном режиме производят закачку обратной нефтекислотной эмульсии по колонне труб через перфорированные отверстия второго патрубка в первый интервал с пониженной проницаемостью, после чего производят выдержку скважины на реакцию, по окончании которой производят натяжение колонны труб вверх и распакеровывают оба гидравлических пакера трубной компоновки, производят прямую промывку и удаляют продукты реакции из первого интервала с пониженной проницаемостью, после чего извлекают колонну труб с трубной компоновкой из скважины. Для поинтервальной обработки оставшихся интервалов с пониженной проницаемостью каждый раз повторяют вышеописанные технологические операции, начиная с монтажа трубной компоновки и извлечением колонны труб с трубной компоновкой из скважины. 4 ил.

Формула изобретения

Способ поинтервальной обработки продуктивного пласта в открытом горизонтальном стволе скважины, включающий проведение геофизических исследований с определением пористости, проницаемости и нефтенасыщенности приствольной зоны, выделение интервалов с пониженной проницаемостью, определение степени кавернозности на их границах и диаметра ствола скважины по всей длине прохождения открытого горизонтального ствола в продуктивном пласте, установку на нижний конец колонны труб трубной компоновки с управляемыми через колонну труб гидравлическими пакерами на обоих концах, спуск в скважину колонны труб с трубной компоновкой в первый от забоя интервал открытого горизонтального ствола скважины с пониженной проницаемостью и перекрытие пакерами с обеих сторон интервала обработки продуктивного пласта с пониженной проницаемостью и закачку кислоты по колонне труб через трубную компоновку в пласт, выдержку скважины на реакцию, распакеровку обоих пакеров, проведение промывки и удаление продуктов реакции из ствола скважины, проведение последующих обработок интервалов открытого горизонтального ствола скважины с пониженной проницаемостью в направлении от забоя к устью, извлечение колонны труб с трубной компоновкой из скважины, отличающийся тем, что определяют диаметры открытого горизонтального ствола скважины на границах каждого выявленного интервала с пониженной проницаемостью, собирают трубную компоновку, состоящую из заглушки, первого гидравлического пакера, первого патрубка с перфорированными отверстиями, импульсного пульсатора жидкости, разрушаемого клапана, второго патрубка с перфорированными отверстиями и внутренней кольцевой выборкой, второго гидравлического пакера, причем перфорированные отверстия второго патрубка перекрыты изнутри полой втулкой, зафиксированной срезным элементом, затем спускают трубную компоновку на нижнем конце колонны труб в первый от забоя интервал с пониженной проницаемостью так, чтобы гидравлические пакеры трубной компоновки с обеих сторон открытого горизонтального ствола скважины перекрывали первый интервал с пониженной проницаемостью, закачивают по колонне труб технологическую жидкость и последовательно производят сначала одновременную посадку двух гидравлических пакеров, а затем срезают разрушаемый клапан, производят импульсную закачку соляной кислоты 15%-ной концентрации через перфорированные отверстия первого патрубка в первый интервал с пониженной проницаемостью, затем на устье скважины в колонну труб устанавливают продавочную пробку и производят ее продавку под действием давления технологической жидкости в колонне труб, при этом продавочная пробка перемещается по колонне труб, садится на полую втулку, разрушает срезной элемент и перемещает полую втулку до упора во внутреннюю кольцевую выборку, при этом полая втулка фиксируется во втором перфорированном патрубке, производят выдержку скважины на реакцию, по окончании которой удаляют продукты реакции свабированием по колонне труб, после чего в форсированном режиме производят закачку обратной нефтекислотной эмульсии по колонне труб через перфорированные отверстия второго патрубка в первый интервал с пониженной проницаемостью, затем производят выдержку скважины на реакцию, по окончании которой производят натяжение колонны труб вверх и распакеровывают оба гидравлических пакера трубной компоновки, производят прямую промывку и удаляют продукты реакции из первого интервала с пониженной проницаемостью, после чего извлекают колонну труб с трубной компоновкой из скважины, для поинтервальной обработки оставшихся интервалов с пониженной проницаемостью каждый раз повторяют вышеописанные технологические операции, начиная с монтажа трубной компоновки и извлечения колонны труб с трубной компоновкой из скважины.

Описание

[1]

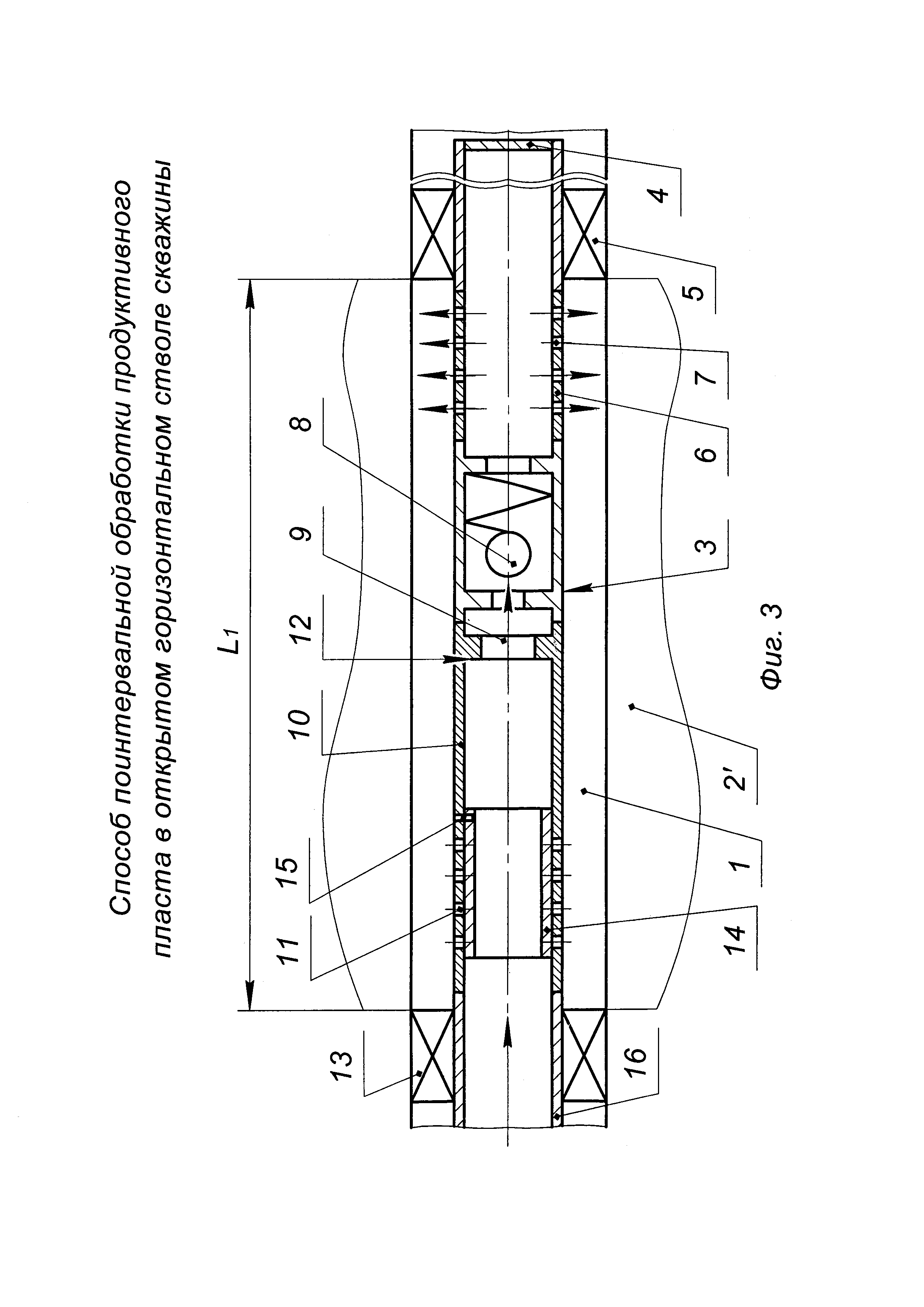
Изобретение относится к нефтедобывающей промышленности и предназначено для проведения поинтервальных обработок в карбонатных коллекторах с целью повышения продуктивности призабойной зоны открытого горизонтального ствола скважины.

[2]

Известен способ поинтервальной обработки призабойной зоны горизонтальной скважины (патент RU №2278966, МПК Е21В 43/27, опубл. 27.06.2006 г., бюл. №18), включающий поинтервальную закачку в призабойную зону раствора кислоты. При этом очередность обработки устанавливают от дальнего интервала к интервалу, ближайшему к вертикальному стволу скважины. Закачку ведут через колонну насосно-компрессорных труб (НКТ), при обработке очередного интервала перемещают конец колонны НКТ к обрабатываемому интервалу. После закачки раствора кислоты в каждый обрабатываемый интервал закачивают водный раствор эмульгатора. Закачку растворов кислоты и эмульгатора проводят с расходом 24-35 м3/сут и при давлении на устье на колонне НКТ 0,8-1,5 МПа. После чего проводят технологическую выдержку не более 3 ч и выполняют свабирование до депрессии на забое скважины не ниже 3 МПа.

[3]

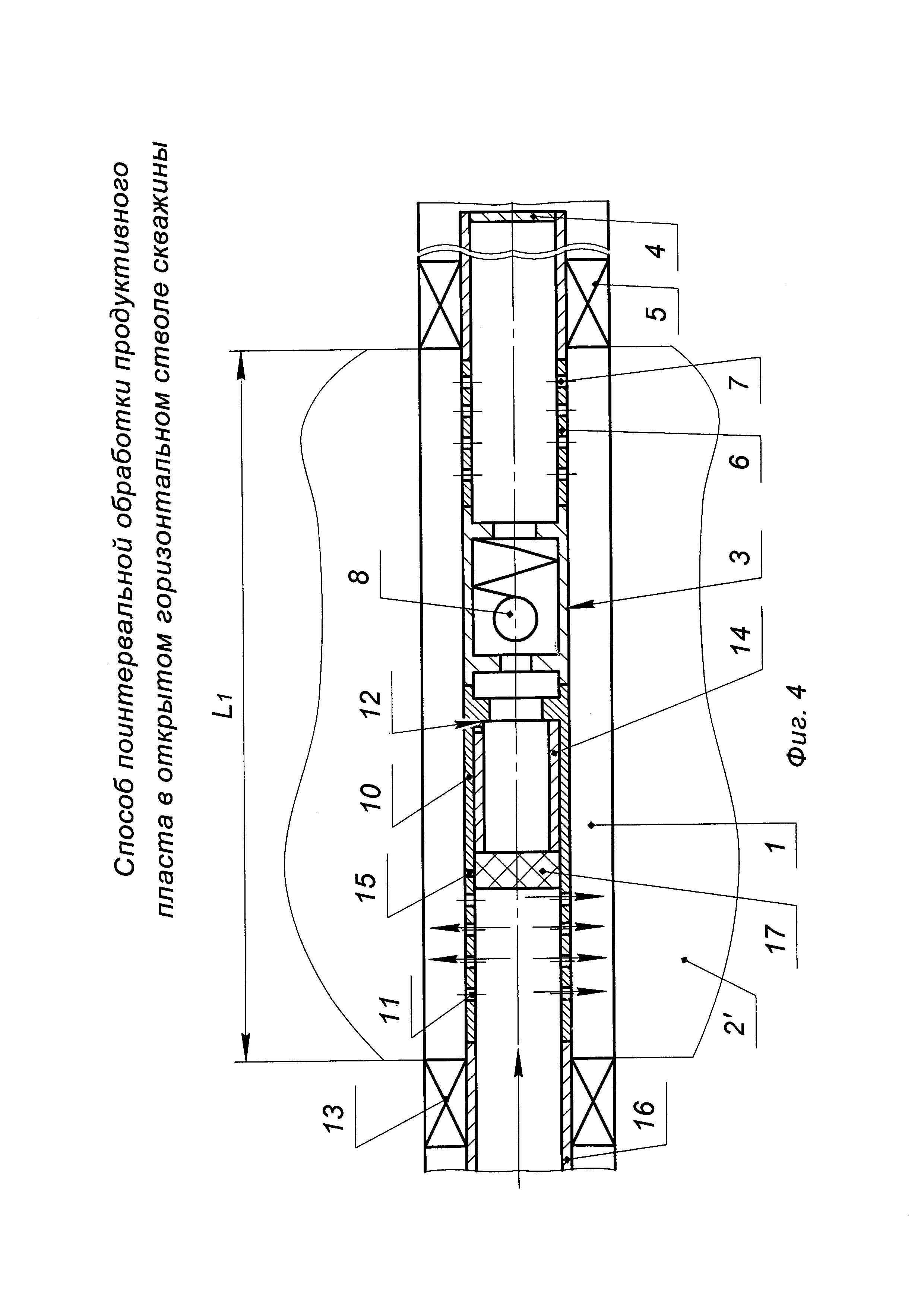
Недостатками данного способа являются:

[4]

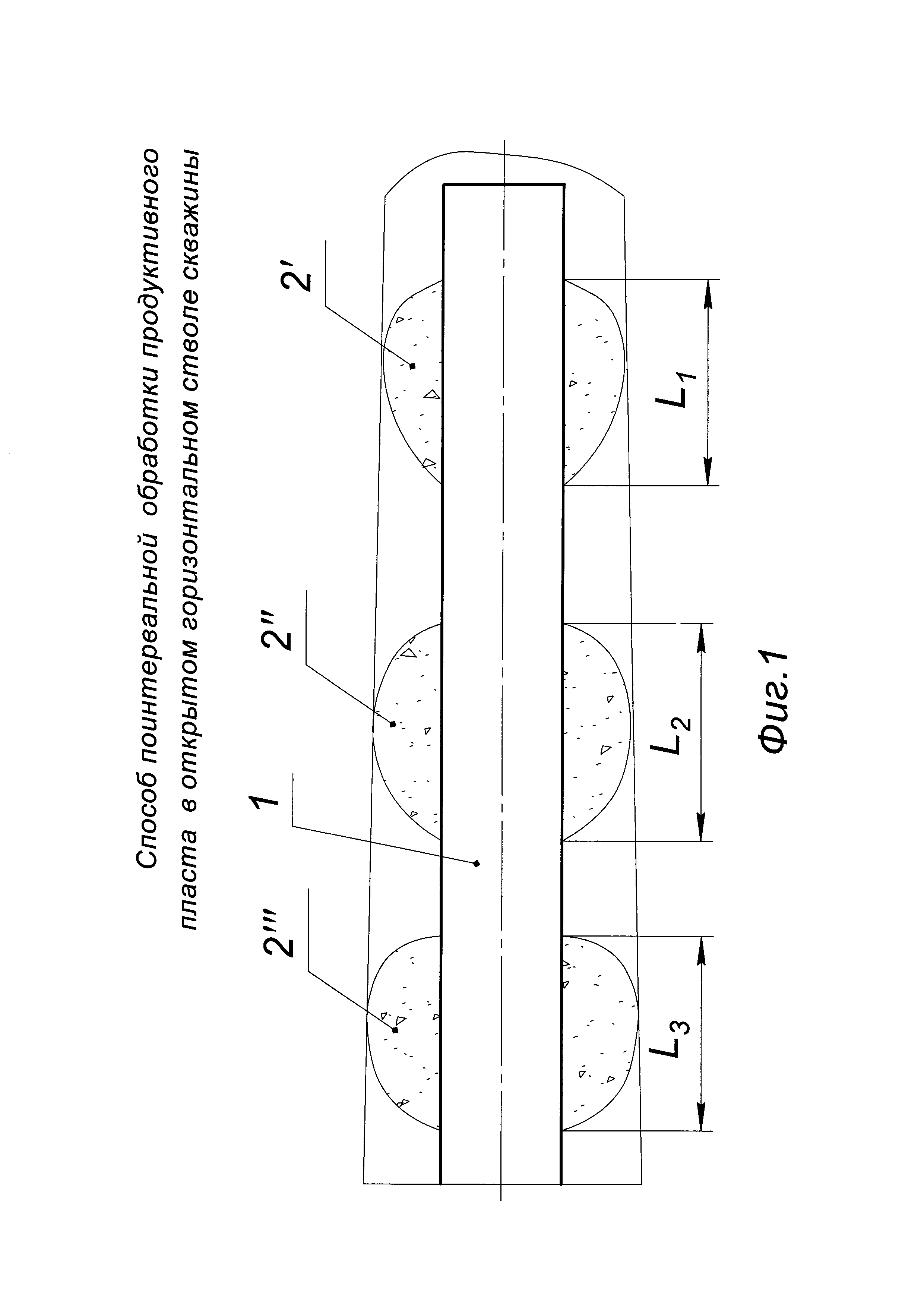
- во-первых, малая эффективность кислотной обработки с последующей закачкой эмульгатора в неоднородный по проницаемости коллектор, вскрытый горизонтальным стволом скважины, так как не учитывается проницаемость коллектора пласта и не выделяются интервалы с пониженной проницаемостью проведением геофизических исследований;

[5]

- во-вторых, низкое качество обработки горизонтального ствола скважины вследствие отсутствия герметичного отсечения обрабатываемых интервалов, поэтому обработка скважины происходит только в приствольной зоне пласта, вскрытого горизонтальной скважиной без проникновения вглубь пласта;

[6]

- в-третьих, большие затраты на химические реагенты (кислоту и эмульгаторы) и нерациональное их использование.

[7]

Наиболее близким по технической сущности является способ поинтервальной обработки продуктивного пласта через открытый горизонтальный ствол скважины (патент RU №2247832, МПК Е21В 43/27, опубл. 10.03.2005 г., бюл. №7), включающий спуск в скважину колонны труб с пакерами и клапаном на конце колонны, закачку кислоты по колонне труб, перекрытие пакерами интервала обработки пласта и задавку в него под давлением кислоты. По всей длине прохождения открытого горизонтального ствола через продуктивный пласт путем проведения геофизических исследований определяют пористость, проницаемость и нефтенасыщенность приствольной зоны, по которым устанавливают интервалы с пониженной проницаемостью, оценивают степень кавернозности на их концах и диаметр ствола. В нижнюю часть колонны труб перед спуском ее в скважину вводят трубную компоновку с управляемыми через колонну труб гидравлическими пакерами на обоих концах компоновки и с радиальным сквозным калиброванным каналом в трубе компоновки, а в качестве клапана на конце трубной компоновки устанавливают кольцевое седло под запорный шар. Спускают колонну труб с трубной компоновкой в горизонтальный ствол скважины до забоя, при незапакерованных пакерах производят промывку горизонтального ствола скважины. Вслед за этим через колонну труб в скважину закачивают кислоту в объеме, равном объему первого интервала обработки. После чего в колонну труб сбрасывают запорный шар, запакеровывают с обоих концов первый от забоя интервал открытого горизонтального ствола скважины с пониженной проницаемостью. Залавливают кислоту в пласт и оставляют скважину на реакции. Затем оба пакера распакеровывают, путем проведения обратной промывки удаляют продукты реакции из ствола скважины и одновременно поднимают запорный шар на поверхность скважины, после чего колонну труб с трубной компоновкой путем приподнятия переводят в обратном от забоя направлении в зону второго от забоя намеченного к обработке интервала с пониженной проницаемостью. Затем, как и при обработке первого интервала, начиная с операции промывки ствола скважины при незапакерованных пакерах и заканчивая операцией удаления продуктов реакции с подъемом запорного шара на поверхность скважины, производят аналогичные операции в указанной выше последовательности. При этом перевод колонны труб с трубной компоновкой от одного интервала с пониженной проницаемостью к другому для их обработки производят также путем приподнятия колонны труб с трубной компоновкой, причем запакеровывание пакеров на обоих концах подлежащего обработке интервала горизонтального ствола скважины с пониженной проницаемостью и задавливание кислоты в пласт производят одновременно.

[8]

Недостатками данного способа являются:

[9]

- во-первых, низкая эффективность обработки интервалов с пониженной проницаемостью в карбонатных коллекторах, вскрытых открытым горизонтальным стволом скважины, так как кислотная обработка этих интервалов происходит только в приствольной зоне пласта, вскрытого горизонтальной скважиной без проникновения вглубь продуктивного пласта, при этом обработка удаленных от ствола скважины зон пласта представляет определенные трудности из-за невозможности доставки соляной кислоты в глубину пласта. В результате высокой скорости реакции кислоты в карбонатной составляющей пласта в призабойной зоне выделяется вода, которая и проталкивается в глубину пласта очередной порцией кислоты;

[10]

- во-вторых, низкая надежность реализации способа, связанная с тем, что обработку интервалов с пониженной проницаемостью производят за одну спускоподъемную операцию колонны труб с трубной компоновкой в открытый горизонтальный ствол скважины без ее извлечения после обработки каждого интервала с пониженной проницаемостью, поэтому высока вероятность потери герметичности одного или обоих гидравлических пакеров и отказ в работе технологического оборудования. Кроме того, высока вероятность негерметичной посадки на седло запорного шара в горизонтальном стволе, при этом длина интервалов с пониженной проницаемостью различна, поэтому необходимо подбирать длину трубной компоновки по длине максимального интервала с пониженной проницаемостью, а это, в свою очередь, вызовет неэффективную закачку кислоты в других интервалах с пониженной проницаемостью;

[11]

- в-третьих, разрушающее действие кислоты на уплотняющие элементы пакеров в процессе их запакеровки, так как запакеровывание пакеров на обоих концах трубной компоновки и задавливание кислоты в пласт производят одновременно, поэтому уплотняющие элементы пакеров после их извлечения из скважины приходят в негодность для повторного использования, т.е. являются элементами одноразового использования, что приводит к удорожанию реализации способа.

[12]

Техническими задачами изобретения являются повышение эффективности и надежности поинтервальной обработки продуктивного пласта в открытом горизонтальном стволе скважины, а также исключение разрушающего действия кислоты на уплотняющие элементы пакеров в процессе их запакеровки.

[13]

Поставленные технические задачи решаются способом поинтервальной обработки продуктивного пласта в открытом горизонтальном стволе скважины, включающим проведение геофизических исследований с определением пористости, проницаемости и нефтенасыщенности приствольной зоны, выделение интервалов с пониженной проницаемостью, определение степени кавернозности на их границах и диаметра ствола скважины по всей длине прохождения открытого горизонтального ствола в продуктивном пласте, установку на нижний конец колонны труб трубной компоновки с управляемыми через колонну труб гидравлическими пакерами на обоих концах, спуск в скважину колонны труб с трубной компоновкой в первый от забоя интервал открытого горизонтального ствола скважины с пониженной проницаемостью и перекрытие пакерами с обеих сторон интервала обработки продуктивного пласта с пониженной проницаемостью и закачку кислоты по колонне труб через трубную компоновку в пласт, выдержку скважины на реакцию, распакеровку обоих пакеров, проведение промывки и удаление продуктов реакции из ствола скважины, проведение последующих обработок интервалов открытого горизонтального ствола скважины с пониженной проницаемостью в направлении от забоя к устью, извлечение колонны труб с трубной компоновкой из скважины.

[14]

Новым является то, что определяют диаметры открытого горизонтального ствола скважины на границах каждого выявленного интервала с пониженной проницаемостью, собирают трубную компоновку, состоящую из заглушки, первого гидравлического пакера, первого патрубка с перфорированными отверстиями, импульсного пульсатора жидкости, разрушаемого клапана, второго патрубка с перфорированными отверстиями и внутренней кольцевой выборкой, второго гидравлического пакера, причем перфорированные отверстия второго патрубка перекрыты изнутри полой втулкой, зафиксированной срезным элементом, затем спускают трубную компоновку на нижнем конце колонны труб в первый от забоя интервал с пониженной проницаемостью так, чтобы гидравлические пакеры трубной компоновки с обеих сторон открытого горизонтального ствола скважины перекрывали первый интервал с пониженной проницаемостью, закачивают по колонне труб технологическую жидкость и последовательно производят сначала одновременную посадку двух гидравлических пакеров, а затем срезают разрушаемый клапан, производят импульсную закачку соляной кислоты 15%-ной концентрации через перфорированные отверстия первого патрубка в первый интервал с пониженной проницаемостью, затем на устье скважины в колонну труб устанавливают продавочную пробку и производят ее продавку под действием давления технологической жидкости в колонне труб, при этом продавочная пробка перемещается по колонне труб, садится на полую втулку, разрушает срезной элемент и перемещает полую втулку до упора во внутреннюю кольцевую выборку, при этом полая втулка фиксируется во втором перфорированном патрубке, производят выдержку скважины на реакцию, по окончании которой удаляют продукты реакции свабированием по колонне труб, после чего в форсированном режиме производят закачку обратной нефтекислотной эмульсии по колонне труб через перфорированные отверстия второго патрубка в первый интервал с пониженной проницаемостью, после чего производят выдержку скважины на реакцию, по окончании которой производят натяжение колонны труб вверх и распакеровывают оба гидравлических пакера трубной компоновки, производят прямую промывку и удаляют продукты реакции из первого интервала с пониженной проницаемостью, после чего извлекают колонну труб с трубной компоновкой из скважины, для поинтервальной обработки оставшихся интервалов с пониженной проницаемостью каждый раз повторяют вышеописанные технологические операции, начиная с монтажа трубной компоновки и извлечения колонны труб с трубной компоновкой из скважины.

[15]

На фиг. 1-4 схематично и последовательно изображен предлагаемый способ поинтервальной обработки продуктивного пласта в открытом горизонтальном стволе.

[16]

Способ поинтервальной обработки продуктивного пласта в открытом горизонтальном стволе скважины осуществляют следующим образом.

[17]

В открытый горизонтальный ствол 1 (см. фиг. 1) скважины спускают геофизические приборы (на фиг. 1-4 не показаны) и производят исследования приствольной зоны открытого горизонтального ствола 1 (см. фиг. 1) скважины, определяя пористость, проницаемость и нефтенасыщенность пласта. Устанавливают интервалы с пониженной проницаемостью, оценивают степень кавернозности и диаметры ствола 1 на концах каждого выявленного интервала, например, выделяют три интервала с пониженной проницаемостью 2', 2ʺ, 2'ʺ.

[18]

На устье скважины производят сборку трубной компоновки 3 (см. фиг. 2), состоящей из заглушки 4, первого гидравлического пакера 5, первого патрубка 6 с перфорированными отверстиями 7, импульсного пульсатора жидкости 8, разрушаемого клапана 9, второго патрубка 10 с перфорированными отверстиями 11 и внутренней кольцевой выборкой 12 и второго гидравлического пакера 13. Перфорированные отверстия 11 второго патрубка 10 перекрыты изнутри полой втулкой 14, зафиксированной срезным элементом 15. Диаметры перфорированных отверстий 7 и 11 первого патрубка 6 и второго патрубка 10 соответственно равны, например, 8 мм и 15 мм, что обеспечивает закачку через них химических реагентов и свободный проход продуктов реакции при свабировании и промывке в процессе реализации способа.

[19]

Разрушаемый клапан 9, например, выполнен в виде резиновой мембраны, разрываемой при давлении 9,0 МПа.

[20]

В качестве импульсного пульсатора жидкости 8 может быть применено любое известное устройство для импульсной закачки жидкости в пласт, описанное в патенте RU №2241825, МПК Е21В 43/18, опубл. 10.12.2004 г., бюл. №34.

[21]

В качестве гидравлических пакеров 5 и 13 используют надувные пакеры, например, Казанского завода резинотехнических изделий «Кварт», Республика Татарстан, раздуваемые под действием давления в колонне труб 16 и позволяющие герметично отсекать интервалы с пониженной проницаемостью 2', 2ʺ, 2'ʺ в открытом горизонтальном стволе 1 скважины.

[22]

Размеры гидравлических пакеров 5 и 13, а также расстояние L1 между ними в составе трубной компоновки 3 в процессе сборке принимают с учетом степени кавернозности и диаметров ствола на концах интервала L1 с пониженной проницаемостью, например длина интервала L1 равна 30 м.

[23]

Спускают трубную компоновку 3 на нижнем конце колонны труб 16, например, на колонне НКТ диаметром 73 мм в первый от забоя интервал 2' (см. фиг. 1 и 2) длиной L1 с пониженной проницаемостью так, чтобы гидравлические пакеры 5 и 13 трубной компоновки 3 с обеих сторон открытого горизонтального ствола 1 скважины перекрывали интервал с пониженной проницаемостью.

[24]

При помощи насосного агрегата (на фиг. 1-4 не показан), например, цементировочного агрегата ЦА-320 закачивают по колонне труб 16 (см. фиг. 2) технологическую жидкость, например, сточную воду плотностью ρ=1100 кг/м3 и создают давление в колонне труб 16, при этом последовательно производят сначала одновременную посадку гидравлических пакеров 5 и 13, например, под давлением 6,0 МПа, затем продолжают повышать давление в колонне труб 16 и при достижении давления в колонне труб 16, равного 9,0 МПа, срезается разрушаемый клапан 9, т.е. разрывается резиновая мембрана.

[25]

Далее производят импульсную закачку соляной кислоты 15%-ной концентрации через перфорированные отверстия 7 диаметром 8 мм (см. фиг. 3) первого патрубка 6 в интервал 2' с пониженной проницаемостью, например, с расходом 10 м3/ч при давлении 12 МПа.

[26]

В результате импульсной закачки происходит очистка приствольной зоны и расширение трещин в приствольной зоне в интервале 2' открытого горизонтального ствола 1 скважины за счет реакции соляной кислоты с породой продуктивного пласта.

[27]

В процессе реализации способа используют кислоту соляную синтетическую техническую (HCl) по ГОСТ 857-95.

[28]

На устье скважины в колонну труб 16 устанавливают продавочную пробку 17 и производят ее продавку под действием давления технологической жидкости, например, сточной воды плотностью ρ=1100 кг/м3, при этом продавочная пробка 17 перемещается по колонне труб 16, воздействует на полую втулку 14 и разрушает срезной элемент 15 и перемещает полую втулку 14 до упора во внутреннюю кольцевую выборку 12, при этом полая втулка 14 фиксируется, например, с помощью стопорного кольца (на фиг. 1-4 не показано) во втором патрубке 10.

[29]

Затем производят выдержку скважины на реакцию, например, в течение 4 ч, по окончании которой удаляют продукты реакции свабированием по колонне труб 16 через перфорированные отверстия 11 (см. фиг. 3) диаметром 15 мм второго патрубка 10 из интервала 2' с пониженной проницаемостью при посаженных гидравлических пакерах 5 и 13. Свабирование осуществляют, например, с привлечением геофизического подъемника ПКС-5.

[30]

Затем в форсированном режиме с расходом, например, 70 м3/ч производят закачку обратной нефтекислотной эмульсии по колонне труб 16 (см. фиг. 4) через перфорированные отверстия 11 второго патрубка 10 в интервал 2' с пониженной проницаемостью длиной L1 с целью обработки удаленной зоны открытого горизонтального ствола 1 скважины.

[31]

Применение обратной нефтекислотной эмульсии позволяет отсрочить вступление кислоты в реакцию с породой в продуктивном пласте, сохраняя ее в дисперсном состоянии. Это позволяет доставлять кислоту до ее взаимодействия с породой в более удаленные участки пласта, где и происходит реакция обратной нефтекислотной эмульсии с породой продуктивного пласта.

[32]

В качестве обратной нефтекислотной эмульсии используют любой известный состав, например, описанный в патенте RU №2304711, МПК Е21В 43/27 «Способ приготовления обратной нефтекислотной эмульсии для обработки призабойной зоны скважины», опубл. 20.08.2007 г., бюл. №23.

[33]

После чего производят выдержку скважины на реакцию, например, 3 ч по окончании которой производят натяжение колонны труб 16 вверх, например, на 10 т и распакеровывают оба гидравлических пакера 5 и 13 трубной компоновки 3.

[34]

При импульсной закачке соляной кислоты за счет распространения колебаний с точки зрения фазовой скорости распространения колебаний и коэффициента поглощения в массиве пород пласта с учетом их собственных частот (глинистые сланцы, известняки, песчаники и т.д.) происходит расширение трещин в приствольной зоне пласта, что позволяет обратной нефекислотной эмульсии при ее последующей закачке проникнуть глубоко внутрь продуктивного пласта до взаимодействия с породой с минимальными сопротивлениями в приствольной зоне скважины.

[35]

Производят прямую промывку, т.е. закачивают технологическую жидкость, например, сточную воду плотностью ρ=1100 кг/м3 по колонне труб 16 через перфорированные отверстия второго патрубка в интервал L1 с пониженной проницаемостью и по межтрубному пространству (на фиг. 1-4 не показано) на устье скважины. Таким образом, удаляют продукты реакции из интервала L1 с пониженной проницаемостью.

[36]

Далее извлекают колонну труб 16 с трубной компоновкой 3 из скважины.

[37]

Для поинтервальной обработки оставшихся интервалов 2ʺ и 2'ʺ с пониженной проницаемостью соответственно длиной L2 и L3 каждый раз повторяют вышеописанные технологические операции, начиная с монтажа трубной компоновки 3 и извлечения колонны труб 16 с трубной компоновкой 3 из скважины, при этом длину трубной компоновки (расстояние между гидравлическими пакерами 5 и 13) каждый раз подбирают в зависимости от длины L2 и L3 соответственно.

[38]

Повышается эффективность поинтервальной обработки продуктивного пласта в открытом горизонтальном стволе скважины за счет поочередной обработки одного интервала сначала импульсной кислотной обработкой с целью очистки и расширения трещин в приствольной зоне открытого горизонтального ствола скважины, а затем глубокой обработки пласта путем форсированной закачки в этот же интервал с пониженной проницаемостью обратной нефтекислотной эмульсии.

[39]

Повышается надежность реализации способа за счет извлечения компоновки после обработки каждого интервала с пониженной проницаемостью, проведения ревизии, подгонки длины трубной компоновки под каждый отсекаемый интервал с пониженной проницаемостью.

[40]

Исключается разрушающее действие кислоты на уплотняющие элементы пакеров, так как их запакеровку производят на технологической жидкости (сточной воде), что позволяет после ревизии уплотняющих элементов пакеров применить их повторно.

[41]

Предлагаемый способ позволяет:

[42]

- повысить эффективность и надежность реализации способа;

[43]

- исключить разрушающее действие кислоты на уплотняющие элементы пакеров.

Как компенсировать расходы
на инновационную разработку
Похожие патенты