Изобретение относится к нефтедобывающей промышленности и, в частности, к установкам для закачки жидкости в пласт, вытеснения нефти и поддержания пластового давления. Технический результат – повышение надежности работы оборудования. Установка содержит устьевую арматуру, центробежный насос с электродвигателем, колонну насосно-компрессорных труб – НКТ. Колонна НКТ сообщена с выходом центробежного насоса. Имеется также пакер и трубка, которая сообщена с полостью колонны НКТ и выходом насоса. Устьевое устройство выполнено с заглушкой и предназначено для установки измерительных приборов и для доставки геофизического прибора в полость колонны НКТ. Кроме того, установка снабжена лифтовыми трубами. На них спущен в скважину центробежный насос с электродвигателем, соединенный выходом с лифтовыми трубами. Колонна НКТ соединена с устьевым устройством устьевой арматуры. Трубка выполнена с возможностью сообщения выхода насоса с колонной НКТ через лифтовые трубы и устьевое устройство с заглушкой, обеспечивающей возможность обработки призабойной зоны пласта через устьевое устройство и колонну НКТ. При потере герметичности пакера обеспечена возможность оборотной закачки жидкости из пласта в пласт через лифтовые трубы и колонну НКТ, а также обеспечена возможность обратного излива жидкости из пласта по колонне НКТ. 1 ил., 1 табл., 1 пр.
Установка для закачки жидкости в пласт, содержащая устьевую арматуру, центробежный насос с электродвигателем, колонну насосно-компрессорных труб - НКТ, сообщенную с выходом центробежного насоса, трубку, сообщенную с полостью колонны НКТ и выходом насоса, и пакер, устьевое устройство установки измерительных приборов, которое использовано и для доставки геофизического прибора в полость колонны НКТ, отличающаяся тем, что установка снабжена лифтовыми трубами, на которых спущен в скважину центробежный насос с электродвигателем, соединенный выходом с лифтовыми трубами, колонна НКТ соединена с устьевым устройством устьевой арматуры, а трубка выполнена с возможностью сообщения выхода насоса с колонной НКТ через лифтовые трубы и устьевое устройство, которое снабжено заглушкой, обеспечивающей возможность обработки призабойной зоны пласта через устьевое устройство и колонну НКТ, при этом при потере герметичности пакера обеспечена возможность оборотной закачки жидкости из пласта в пласт через лифтовые трубы и колонну НКТ, а также обеспечена возможность обратного излива жидкости из пласта по колонне НКТ.
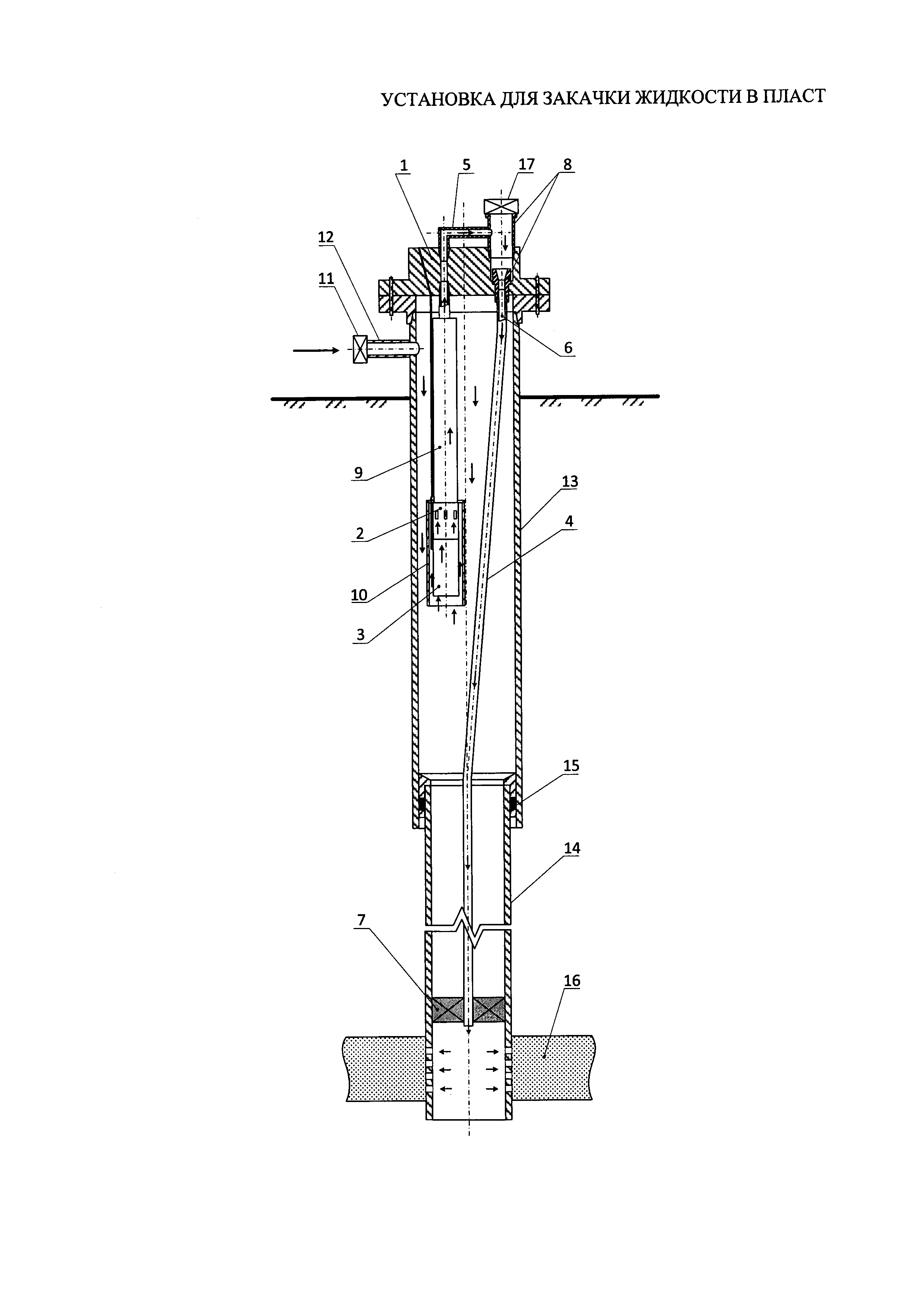
Изобретение относится к нефтедобывающей промышленности, в частности к установкам для закачки воды в пласт с целью вытеснения нефти и поддержания пластового давления. Известна установка для закачки жидкости в пласт (см. учебное пособие Ю.В. Зейгмана «Эксплуатация систем поддержания пластового давления при разработке нефтяных месторождений», Уфа: Изд-во УГНТУ, 2007. - С. 199-200), включающая шурф с погружным электроцентробежным насосом, сообщающимся водоводом с устьем нагнетательной скважины, предназначенным для закачки воды в продуктивный пласт нагнетательной скважины, с устьем и устьевой арматурой, обсадной колонной, запорно-регулирующей арматурой, колонной насосно-компрессорных труб. Недостатками известной установки являются большие капитальные затраты, связанные с бурением шурфа, сложность регулирования режимов закачки воды в нагнетательную скважину центробежным насосом по причине удаленности шурфа и нагнетательной скважины. Отсутствие пакера приводит к повышенной нагрузке на стенки эксплуатационной колонны нагнетательной скважины по причине давления, создаваемого насосом. Наиболее близкой по технической сущности и достигаемым результатам к предлагаемой является установка для закачки жидкости в пласт (патент РФ №58173, Е21В 43/20, опубл. в бюл. №31 от 10.11.2006), содержащая устьевую арматуру, центробежный насос с электродвигателем, колонну насосно-компрессорных труб (НКТ), соединенную с центробежным насосом посредством подвижного соединения, полый плунжер-цилиндр, обратный клапан, трубку, сообщающую полость колонны НКТ с датчиком давления, и пакер, отличающаяся тем, что она снабжена устройством для доставки геофизического прибора в полость колонны НКТ, имеющим геофизический кабель, один конец которого пропущен через трубку, сообщающую полость колонны НКТ с датчиком давления, и соединен с геофизическим прибором, а второй конец связан с устройством для перемещения геофизического кабеля, при этом обратный клапан смонтирован ниже подвижного соединения и его запорный орган выполнен в виде подпружиненной поворотной заслонки. Недостатками данной установки являются также большие капитальные затраты, связанные с удорожанием установки при комплектации ее необходимым дополнительным оборудованием: устройством для доставки геофизического кабеля, подвижным соединением, обратным клапаном, якорем. Регламентное проведение обработок призабойных зон - ОПЗ, например, соляной кислотой, закачка химреагентов, существенно сокращают срок службы центробежного насоса. Регламентное проведение очистки пласта обратным изливом из пласта возможно только после извлечения центробежного насоса из скважины. При эксплуатации центробежного насоса возникающие вибрация узлов насоса и пульсация колонны НКТ передаются на пакер, что приводит к потере герметичности пакера и, как следствие, к повышенной нагрузке на стенки эксплуатационной колонны из-за давления, создаваемого пластом. Определение объема закачки жидкости осуществляется расчетным способом; измерение давления, развиваемого насосом, осуществляется датчиком давления, находящимся в потоке жидкости, что создает дополнительные гидравлические сопротивления для работы центробежного насоса и снижает срок службы датчика давления. Высокая вероятность механического контакта при спуско-подъемных операциях в скважину геофизического кабеля, размещенного в трубке, с центробежным насосом и стенками эксплуатационной колонны, а также невозможность проведения всего комплекса геофизических исследований, например, для измерения пластового давления необходимо извлечь из скважины центробежный насос. Техническими задачами предлагаемого изобретения являются стабилизация режимов закачек воды за счет постоянства потока нагнетаемой центробежным насосом жидкости, и, как следствие, оптимизация энергетических затрат на закачку воды в скважину; качественное измерение параметров центробежного насоса: объема закачки жидкости и давления, развиваемого центробежным насосом за счет размещения измерительных приборов на устье скважины; снижение капитальных затрат при проведении геофизических исследований, закачке химреагентов и ОПЗ скважин, связанных с отсутствием необходимости извлечения центробежного насоса из скважины; увеличение срока службы пакера за счет снижения вибрации узлов центробежного насоса при его эксплуатации и снижения пульсации колонны НКТ путем гашения вибрации и пульсации в лифтовых трубах, трубке и устьевом устройстве; уменьшение и стабилизация нагрузки на стенки кондуктора и эксплуатационной колонны при потере герметичности пакера за счет обеспечения оборотной закачки жидкости центробежным насосом; увеличение срока службы и межремонтного периода центробежного насоса и установки для закачки жидкости в целом. Технические задачи решаются предлагаемой установкой для закачки жидкости в пласт, содержащей устьевую арматуру, центробежный насос с электродвигателем, колонну НКТ, сообщенную с выходом центробежного насоса, трубку, сообщенную с полостью колонны НКТ и выходом насоса, и пакер, устьевое устройство установки измерительных приборов, которое используется и для доставки геофизического прибора в полость колонны НКТ. Новым является то, что установка снабжена лифтовыми трубами, на которых спущен в скважину центробежный насос с электродвигателем, соединенный выходом с лифтовыми трубами, колонна НКТ соединена с устьевым устройством устьевой арматуры, а трубка выполнена с возможностью сообщения выхода насоса с колонной НКТ через лифтовые трубы и устьевое устройство, которое снабжено заглушкой, обеспечивающей возможность обработки призабойной зоны пласта через устьевое устройство и колонну НКТ, при этом при потере герметичности пакера обеспечена возможность оборотной закачки жидкости из пласта в пласт через лифтовые трубы и колонну НКТ, а также обеспечена возможность обратного излива жидкости из пласта по колонне НКТ. На чертеже представлена технологическая схема установки для закачки жидкости в пласт. Установка для закачки жидкости в пласт содержит устьевую арматуру 1, центробежный насос 2 с электродвигателем 3, колонну НКТ 4, сообщенную с выходом (не показан) центробежного насоса 2, трубку 5, сообщенную с полостью 6 колонны НКТ 4 и выходом насоса 2, и пакер 7, устьевое устройство 8 установки измерительных приборов, которое используется и для доставки геофизического прибора в полость 6 колонны НКТ 4. Центробежный насос 2 с электродвигателем 3 соединен выходом с лифтовыми трубами 9, на которых спущен в скважину, колонна НКТ 4 соединена с устьевым устройством 8 устьевой арматуры 1, а трубка 5 выполнена с возможностью сообщения выхода насоса 2 с колонной НКТ 4 через лифтовые трубы 9 и устьевое устройство 8. Подача жидкости осуществляется по водоводу (не показан) в пенал 10 насоса 2 через запорно-регулирующую арматуру 11 и патрубок 12. Скважина имеет следующую компоновку: кондуктор 13, эксплуатационная колонна 14 (на конструкцию скважины авторы не претендуют). При этом верхняя часть компоновки скважины состоит только из кондуктора 13 с укороченной эксплуатационной колонной 14, а герметичность зазора между кондуктором 13 и эксплуатационной колонной 14 осуществляется при помощи герметизирующего устройства 15. Данная компоновка позволяет разместить насос 2 с электродвигателем 3 без механического контакта с НКТ 4. Жидкость закачивается в пласт 16 через лифтовые трубы 9, трубку 5 и колонну НКТ 4 под пакер 7. Устьевое устройство 8 снабжено заглушкой 17. Установка для закачки жидкости в пласт работает следующим образом. Подача жидкости осуществляется по водоводу (не показан) через запорно-регулирующую арматуру 11 и патрубок 12 через скважину в пенал 10 на вход (не показан) насоса 2. Далее жидкость насосом 2 по лифтовым трубам 9, трубке 5, устьевому устройству 8 колонне НКТ 4 закачивается в пласт 16. Измерение параметров центробежного насоса 2 (например, объема закачки жидкости, давления, развиваемого центробежным насосом 2 и т.п.) осуществляется за счет размещения измерительных приборов (например, датчика расхода, датчика давления (на чертеже не показаны) и т.п.) на устьевой арматуре 1 (например, на трубке 5). При потере герметичности пакера 7 отмечается незначительное повышение давления на входе в центробежный насос 2, на стенки кондуктора 13 и эксплуатационной колонны 14 и обеспечивается стабилизация нагрузки на стенки кондуктора 13 и эксплуатационной колонны 14 скважины за счет обеспечения оборотной закачки жидкости из пласта 16 через лифтовые трубы 9, трубку 5, устьевое устройство 8, далее в полость 6 колонны НКТ 4 в пласт 16 центробежным насосом 2. Регламентное проведение ОПЗ, например, соляной кислотой, закачка химреагентов осуществляются путем подбивки специальной техники, например цементировочного агрегата, закачивающего соляную кислоту, химреагенты через открытую заглушку 17 устьевого устройства 8 и далее полость 6 колонны НКТ 4 в пласт 16 без извлечения центробежного насоса 2 из скважины. Регламентное проведение очистки пласта 16 обратным изливом жидкости осуществляется по полости 6 колонны НКТ 4 при остановленном центробежном насосе 2 после закрытия запорно-регулирующей арматуры 11 и открытия заглушки 17 устьевого устройства 8 в емкость водовоза (не показан). Пример конкретного выполнения. В пласт 16 нагнетательной скважины с трубами 13 и 14 в соответствии с заданием по закачке жидкости центробежным насосом 2 типа УЭЦН 400-1500 за определенный период времени - сутки (24 часа) необходимо закачать 360 м3 технологической жидкости (ρ=1120 кг/м3), за год (350 дней) - 126000 м3; 15 дней отпускается на регламентное обслуживание центробежного насоса 2 и его станции управления (не показана). В течение года произвели регламентную ОПЗ пласта 16 нагнетательной скважины соляной кислотой. Проведение ОПЗ нагнетательной скважины осуществляют путем подбивки специальной техники, например цементировочного агрегата типа ЦА-320, закачивающего соляную кислоту при открытии заглушки 17 устьевого устройства 8 и далее в полость 6 колонны НКТ 4 в пласт 16 без извлечения центробежного насоса 2 из скважины. В течение года провели регламентную очистку пласта 16 нагнетательной скважины обратным изливом жидкости. Проведение излива жидкости нагнетательной скважины из пласта 16 осуществляют по полости 6 колонны НКТ 4 при остановленном центробежном насосе 2 после закрытия запорно-регулирующей арматуры 11 и открытии заглушки 17 устьевого устройства 8 в емкость водовоза (не показан). В течение года провели регламентные геофизические исследования по измерению пластового давления пласта 16 нагнетательной скважины. Проведение измерения пластового давления пласта 16 нагнетательной скважины осуществляют путем подбивки специальной геофизической техники с глубинным манометром, например, типа АИС, который опускается на геофизическом кабеле (не показаны) через открытую заглушку 17 устьевого устройства 8 в полость 6 колонны НКТ 4 - без извлечения центробежного насоса 2 из скважины. Для размещения центробежного насоса 2 с электродвигателем 3, например, большой производительности, как в нашем примере - УЭЦН 400-1500, во избежание механического контакта с НКТ 4, проведения всего комплекса геофизических исследований, закачки химреагентов и ОПЗ верхняя часть компоновки скважины выполнена только из кондуктора 13 (на глубину, определяемую длиной опускаемого центробежного насоса 2 с электродвигателем 3) с укороченной эксплуатационной колонной 14 (на конструкцию скважины авторы не претендуют). При этом герметичность зазора между кондуктором 13 и эксплуатационной колонной 14 осуществляется при помощи герметизирующего устройства 15. В таблице представлены сравнительные показатели известной (наиболее близкого аналога) и предлагаемой установки для закачки жидкости в пласт. Из таблицы видно, что предлагаемая установка для закачки воды в пласт экономически эффективнее, чем известная установка. При дополнительных затратах 15 тыс.р. на три трубы по 10 м (одна труба - лифтовая, две трубы - для колонны НКТ) ежегодные затраты снижаются на 360 тыс.р. за счет снижения затрат при проведении геофизических исследований, ОПЗ и очистке пласта изливом. Обеспечивается увеличение срока службы пакера в 2 раза, насоса - в 1,5 раза за счет снижения вибрационных характеристик узлов центробежного насоса и пульсационных характеристик колонны НКТ. Обеспечивается стабилизация режимов закачек воды за счет постоянства потока нагнетаемой центробежным насосом жидкости, и, как следствие, снижение энергетических затрат на закачку воды - 230 тыс.р. При этом обеспечивается сохранение добычи нефти в целом по добывающим реагирующим скважинам и недопущение потерь нефти в объеме 290 тонн на сумму 2,6 млн.р. Технико-экономическая эффективность предлагаемой установки для закачки воды в пласт достигается за счет оптимизации энергетических затрат на закачку воды в скважины; снижения капитальных затрат при проведении геофизических исследований, закачке химреагентов и ОПЗ скважин, связанных с отсутствием необходимости извлечения центробежного насоса из скважины; увеличения срока службы пакера за счет снижения вибрации узлов центробежного насоса при его эксплуатации и снижения пульсации колонны НКТ; уменьшения и стабилизации нагрузки на стенки кондуктора и эксплуатационной колонны при потере герметичности пакера за счет обеспечения оборотной закачки жидкости центробежным насосом; увеличения срока службы и межремонтного периода центробежного насоса и установки для закачки жидкости в целом.