Изобретение относится к ракетной технике и может использоваться для подготовки ракетного топлива. Способ подготовки компонентов ракетного топлива для заправки двигательных установок ракетной техники включает процесс термостатирования и газонасыщения. Процесс термостатирования и газонасыщения производится в агрегате термостатирования и газонасыщения с использованием заправочной автоцистерны и вспомогательного оборудования. Процесс заключается в прокачке компонентов топлива по замкнутому контуру: заправочная автоцистерна – агрегат термостатирования и газонасыщения – заправочная автоцистерна. Заправочная автоцистерна представляет собой подвижный агрегат, обеспечивающий транспортирование и временное хранение компонентов топлива. В качестве вспомогательного оборудования используют холодильно-нагревательный центр и агрегат термического обезвреживания паров компонентов топлива. Техническим результатом изобретения является обеспечение заданных параметров температуры и газонасыщения компонентов топлива, повышение мобильности и простота эксплуатации. 2 ил., 1 табл.
Способ подготовки компонентов топлива для заправки двигательных установок ракетной техники, включающий процесс термостатирования и газонасыщения компонентов топлива, отличающийся тем, что процесс термостатирования и газонасыщения осуществляют в агрегате термостатирования и насыщения с использованием заправочной автоцистерны и вспомогательного оборудования путем прокачки компонентов топлива по замкнутому контуру: заправочная автоцистерна - агрегат термостатирования и насыщения - заправочная автоцистерна.
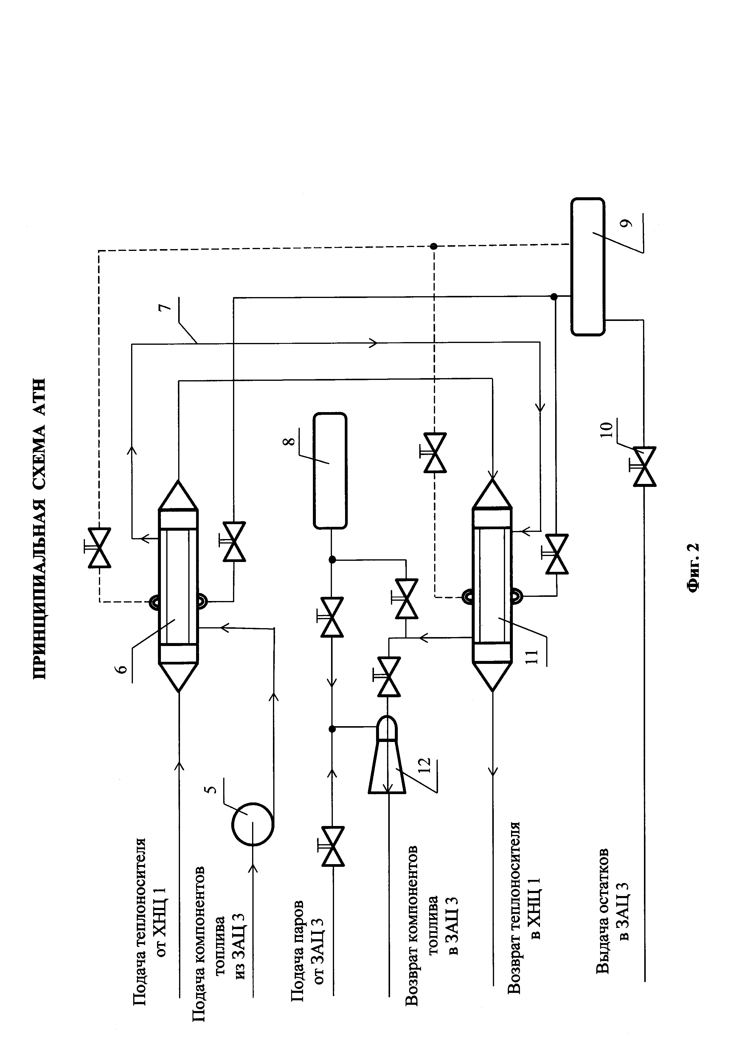
Предлагаемое изобретение относится к ракетной технике и может быть использовано при подготовке компонентов ракетного топлива, двигательные установки которой работают на высококипящих компонентах. Наиболее близким к предлагаемому изобретению является стартовый комплекс для предстартовой подготовки и пуска ракеты-носителя с космической головной частью (варианты), содержащий хранилища жидких ракетных горючих, сооружения для заправки и слива компонентов жидких ракетных горючих (патент номер RU 2318706 С1, B64G 5/00, 10.03.2008). Предлагаемый способ подготовки компонентов топлива (КТ) для заправки двигательных установок ракетной техники включает процесс термостатирования и газонасыщения компонентов топлива, при этом процесс термостатирования и газонасыщения осуществляют в агрегате термостатирования и насыщения (АТН) с использованием заправочной автоцистерны (ЗАЦ) и вспомогательного оборудования путем прокачки компонентов топлива по замкнутому контуру: заправочная автоцистерна - агрегат термостатирования и насыщения - заправочная автоцистерна. Сущность (задача) способа заключается в обеспечении заданных параметров температуры и газонасыщения компонентов топлива путем прокачки их через агрегат термостатирования и насыщения. Сущность изобретения поясняется «Схемой подготовки» (Фиг. 1) и «Принципиальной схемой АТН» (Фиг. 2). Агрегат термостатирования и насыщения представляет собой транспортируемый кузов-фургон с размещенным в нем технологическим оборудованием и органами управления. В качестве органов управления используются - щит питания, пульт управления, пневматический щит. В качестве технологического оборудования используются - сливная емкость (поз. 9), струйный насос (поз. 12), электронасосный агрегат (поз. 5), теплообменники Т1 (поз. 6) и Т2 (поз. 11). Все технологическое оборудование соединено между собой трубопроводами (поз. 7) с запорной арматурой (поз. 10). Теплоноситель от холодильно-нагревательного центра (ХНЦ) (поз. 1) подается на вход агрегата термостатирования и насыщения (АТН) (поз. 2), проходит через теплообменники Т1 и Т2 (поз. 6 и 11) и возвращается в ХНЦ (поз. 1). Компоненты топлива из заправочной автоцистерны (ЗАЦ) (поз. 3) поступают на вход АТН (поз. 2), где с помощью электронасосного агрегата (поз. 5) прокачиваются через теплообменники Т1 и Т2 (поз. 6, 11), в которых происходит либо их нагрев, либо их охлаждение. После теплообменника Т2 (поз. 11) компоненты топлива поступают в струйный насос (поз. 12), где происходит их газонасыщение одним из двух способов: - подачей азота из баллона (поз.8) в поток компонента; - эжектированием азота из азотной подушки ЗАЦ. Нагретые (охлажденные) и газонасыщенные компоненты топлива возвращаются в ЗАЦ (поз. 3). После завершения операций термостатирования и газонасыщения остатки компонентов топлива из теплообменников Т1 и Т2 (поз. 6, 11) выдавливаются азотом, поступающим из баллона (поз. 8) в сливную емкость (поз. 9), откуда поступают в ЗАЦ по отдельной магистрали трубопровода. Пары компонентов топлива из агрегата термостатирования и насыщения (поз. 2) поступают в агрегат термического обезвреживания паров компонентов топлива (поз. 4), в котором происходит их сжигание. Таким образом, мы видим, что технологическое оборудование обеспечивает термостатирование компонентов топлива, проходящего через теплообменники агрегата (теплоноситель в теплообменники подается от внешнего холодильно-нагревательного центра) и газонасыщение компонентов топлива одним из двух способов: - путем подачи азота непосредственно в поток жидкости; - за счет эжектирования азота из азотной подушки емкости ЗАЦ, в которой находится подготавливаемый компонент топлива с помощью струйного насоса агрегата термостатирования и насыщения с поддержанием в азотной подушке емкости соответствующего давления. В процессе подготовки компоненты топлива прокачиваются по замкнутому контуру: заправочная автоцистерна - агрегат термостатирования и насыщения - заправочная автоцистерна до достижения требуемых параметров температуры и газонасыщения. Заправочная автоцистерна представляет собой подвижный агрегат, обеспечивающий транспортирование и временное хранение компонентов топлива. В качестве вспомогательного оборудования используются: - холодильно-нагревательный центр, обеспечивающий охлаждение и/или нагрев теплоносителя и подачу его с заданным расходом в теплообменники агрегата термостатирования и насыщения (АТН). - агрегат термического обезвреживания паров компонентов топлива, в котором сжигаются образующиеся во время технологического процесса пары компонентов топлива. В процессе работ, проводимых по тематике АО «ВПК «НПО машиностроения» (тема «Стрела-С»), был проведен сравнительный анализ предлагаемого способа подготовки компонентов ракетного топлива и используемого в настоящее время. Выявлено следующее: Таким образом, предлагаемый способ подготовки компонентов ракетного топлива, обеспечивающий задание параметров температуры и газонасыщения компонентов топлива путем прокачки их через агрегат термостатирования и насыщения и заправочной автоцистерны, является более мобильным, простым в эксплуатации, удобным в работе, менее затратным и более экологически безопасным.
